EP4438909A1 - Working link, valve port independent control type multi-way valve, and engineering machine - Google Patents

Working link, valve port independent control type multi-way valve, and engineering machine Download PDF

Info

Publication number
EP4438909A1
EP4438909A1 EP22896974.7A EP22896974A EP4438909A1 EP 4438909 A1 EP4438909 A1 EP 4438909A1 EP 22896974 A EP22896974 A EP 22896974A EP 4438909 A1 EP4438909 A1 EP 4438909A1
Authority
EP
European Patent Office
Prior art keywords
oil
port
working
line
control
Prior art date
Legal status (The legal status is an assumption and is not a legal conclusion. Google has not performed a legal analysis and makes no representation as to the accuracy of the status listed.)
Pending
Application number
EP22896974.7A
Other languages
German (de)
French (fr)
Other versions
EP4438909A4 (en
Inventor
Hui Sun
Xiaojuan WANG
Canjie LIU
Zhenju SUN
Zhiwei Zhang
Current Assignee (The listed assignees may be inaccurate. Google has not performed a legal analysis and makes no representation or warranty as to the accuracy of the list.)
Jiangsu Advanced Construction Machinery Innovation Center Ltd
Original Assignee
Jiangsu Advanced Construction Machinery Innovation Center Ltd
Priority date (The priority date is an assumption and is not a legal conclusion. Google has not performed a legal analysis and makes no representation as to the accuracy of the date listed.)
Filing date
Publication date
Application filed by Jiangsu Advanced Construction Machinery Innovation Center Ltd filed Critical Jiangsu Advanced Construction Machinery Innovation Center Ltd
Publication of EP4438909A1 publication Critical patent/EP4438909A1/en
Publication of EP4438909A4 publication Critical patent/EP4438909A4/en
Pending legal-status Critical Current

Links

Images

Classifications

    • FMECHANICAL ENGINEERING; LIGHTING; HEATING; WEAPONS; BLASTING
    • F15FLUID-PRESSURE ACTUATORS; HYDRAULICS OR PNEUMATICS IN GENERAL
    • F15BSYSTEMS ACTING BY MEANS OF FLUIDS IN GENERAL; FLUID-PRESSURE ACTUATORS, e.g. SERVOMOTORS; DETAILS OF FLUID-PRESSURE SYSTEMS, NOT OTHERWISE PROVIDED FOR
    • F15B13/00Details of servomotor systems ; Valves for servomotor systems
    • F15B13/02Fluid distribution or supply devices characterised by their adaptation to the control of servomotors
    • FMECHANICAL ENGINEERING; LIGHTING; HEATING; WEAPONS; BLASTING
    • F15FLUID-PRESSURE ACTUATORS; HYDRAULICS OR PNEUMATICS IN GENERAL
    • F15BSYSTEMS ACTING BY MEANS OF FLUIDS IN GENERAL; FLUID-PRESSURE ACTUATORS, e.g. SERVOMOTORS; DETAILS OF FLUID-PRESSURE SYSTEMS, NOT OTHERWISE PROVIDED FOR
    • F15B13/00Details of servomotor systems ; Valves for servomotor systems
    • F15B13/02Fluid distribution or supply devices characterised by their adaptation to the control of servomotors
    • F15B13/04Fluid distribution or supply devices characterised by their adaptation to the control of servomotors for use with a single servomotor
    • F15B13/0401Valve members; Fluid interconnections therefor
    • F15B13/0402Valve members; Fluid interconnections therefor for linearly sliding valves, e.g. spool valves
    • FMECHANICAL ENGINEERING; LIGHTING; HEATING; WEAPONS; BLASTING
    • F15FLUID-PRESSURE ACTUATORS; HYDRAULICS OR PNEUMATICS IN GENERAL
    • F15BSYSTEMS ACTING BY MEANS OF FLUIDS IN GENERAL; FLUID-PRESSURE ACTUATORS, e.g. SERVOMOTORS; DETAILS OF FLUID-PRESSURE SYSTEMS, NOT OTHERWISE PROVIDED FOR
    • F15B11/00Servomotor systems without provision for follow-up action; Circuits therefor
    • F15B11/02Systems essentially incorporating special features for controlling the speed or actuating force of an output member
    • F15B11/04Systems essentially incorporating special features for controlling the speed or actuating force of an output member for controlling the speed
    • F15B11/042Systems essentially incorporating special features for controlling the speed or actuating force of an output member for controlling the speed by means in the feed line, i.e. "meter in"
    • FMECHANICAL ENGINEERING; LIGHTING; HEATING; WEAPONS; BLASTING
    • F15FLUID-PRESSURE ACTUATORS; HYDRAULICS OR PNEUMATICS IN GENERAL
    • F15BSYSTEMS ACTING BY MEANS OF FLUIDS IN GENERAL; FLUID-PRESSURE ACTUATORS, e.g. SERVOMOTORS; DETAILS OF FLUID-PRESSURE SYSTEMS, NOT OTHERWISE PROVIDED FOR
    • F15B11/00Servomotor systems without provision for follow-up action; Circuits therefor
    • F15B11/02Systems essentially incorporating special features for controlling the speed or actuating force of an output member
    • F15B11/04Systems essentially incorporating special features for controlling the speed or actuating force of an output member for controlling the speed
    • F15B11/05Systems essentially incorporating special features for controlling the speed or actuating force of an output member for controlling the speed specially adapted to maintain constant speed, e.g. pressure-compensated, load-responsive
    • FMECHANICAL ENGINEERING; LIGHTING; HEATING; WEAPONS; BLASTING
    • F15FLUID-PRESSURE ACTUATORS; HYDRAULICS OR PNEUMATICS IN GENERAL
    • F15BSYSTEMS ACTING BY MEANS OF FLUIDS IN GENERAL; FLUID-PRESSURE ACTUATORS, e.g. SERVOMOTORS; DETAILS OF FLUID-PRESSURE SYSTEMS, NOT OTHERWISE PROVIDED FOR
    • F15B11/00Servomotor systems without provision for follow-up action; Circuits therefor
    • F15B11/16Servomotor systems without provision for follow-up action; Circuits therefor with two or more servomotors
    • F15B11/161Servomotor systems without provision for follow-up action; Circuits therefor with two or more servomotors with sensing of servomotor demand or load
    • F15B11/163Servomotor systems without provision for follow-up action; Circuits therefor with two or more servomotors with sensing of servomotor demand or load for sharing the pump output equally amongst users or groups of users, e.g. using anti-saturation, pressure compensation
    • FMECHANICAL ENGINEERING; LIGHTING; HEATING; WEAPONS; BLASTING
    • F15FLUID-PRESSURE ACTUATORS; HYDRAULICS OR PNEUMATICS IN GENERAL
    • F15BSYSTEMS ACTING BY MEANS OF FLUIDS IN GENERAL; FLUID-PRESSURE ACTUATORS, e.g. SERVOMOTORS; DETAILS OF FLUID-PRESSURE SYSTEMS, NOT OTHERWISE PROVIDED FOR
    • F15B13/00Details of servomotor systems ; Valves for servomotor systems
    • F15B13/02Fluid distribution or supply devices characterised by their adaptation to the control of servomotors
    • F15B13/026Pressure compensating valves
    • FMECHANICAL ENGINEERING; LIGHTING; HEATING; WEAPONS; BLASTING
    • F15FLUID-PRESSURE ACTUATORS; HYDRAULICS OR PNEUMATICS IN GENERAL
    • F15BSYSTEMS ACTING BY MEANS OF FLUIDS IN GENERAL; FLUID-PRESSURE ACTUATORS, e.g. SERVOMOTORS; DETAILS OF FLUID-PRESSURE SYSTEMS, NOT OTHERWISE PROVIDED FOR
    • F15B13/00Details of servomotor systems ; Valves for servomotor systems
    • F15B13/02Fluid distribution or supply devices characterised by their adaptation to the control of servomotors
    • F15B13/04Fluid distribution or supply devices characterised by their adaptation to the control of servomotors for use with a single servomotor
    • F15B13/0416Fluid distribution or supply devices characterised by their adaptation to the control of servomotors for use with a single servomotor with means or adapted for load sensing
    • F15B13/0417Load sensing elements; Internal fluid connections therefor; Anti-saturation or pressure-compensation valves
    • FMECHANICAL ENGINEERING; LIGHTING; HEATING; WEAPONS; BLASTING
    • F15FLUID-PRESSURE ACTUATORS; HYDRAULICS OR PNEUMATICS IN GENERAL
    • F15BSYSTEMS ACTING BY MEANS OF FLUIDS IN GENERAL; FLUID-PRESSURE ACTUATORS, e.g. SERVOMOTORS; DETAILS OF FLUID-PRESSURE SYSTEMS, NOT OTHERWISE PROVIDED FOR
    • F15B13/00Details of servomotor systems ; Valves for servomotor systems
    • F15B13/02Fluid distribution or supply devices characterised by their adaptation to the control of servomotors
    • F15B13/04Fluid distribution or supply devices characterised by their adaptation to the control of servomotors for use with a single servomotor
    • F15B13/042Fluid distribution or supply devices characterised by their adaptation to the control of servomotors for use with a single servomotor operated by fluid pressure
    • F15B13/043Fluid distribution or supply devices characterised by their adaptation to the control of servomotors for use with a single servomotor operated by fluid pressure with electrically-controlled pilot valves
    • F15B13/0433Fluid distribution or supply devices characterised by their adaptation to the control of servomotors for use with a single servomotor operated by fluid pressure with electrically-controlled pilot valves the pilot valves being pressure control valves
    • FMECHANICAL ENGINEERING; LIGHTING; HEATING; WEAPONS; BLASTING
    • F15FLUID-PRESSURE ACTUATORS; HYDRAULICS OR PNEUMATICS IN GENERAL
    • F15BSYSTEMS ACTING BY MEANS OF FLUIDS IN GENERAL; FLUID-PRESSURE ACTUATORS, e.g. SERVOMOTORS; DETAILS OF FLUID-PRESSURE SYSTEMS, NOT OTHERWISE PROVIDED FOR
    • F15B21/00Common features of fluid actuator systems; Fluid-pressure actuator systems or details thereof, not covered by any other group of this subclass
    • F15B21/02Servomotor systems with programme control derived from a store or timing device; Control devices therefor
    • FMECHANICAL ENGINEERING; LIGHTING; HEATING; WEAPONS; BLASTING
    • F15FLUID-PRESSURE ACTUATORS; HYDRAULICS OR PNEUMATICS IN GENERAL
    • F15BSYSTEMS ACTING BY MEANS OF FLUIDS IN GENERAL; FLUID-PRESSURE ACTUATORS, e.g. SERVOMOTORS; DETAILS OF FLUID-PRESSURE SYSTEMS, NOT OTHERWISE PROVIDED FOR
    • F15B13/00Details of servomotor systems ; Valves for servomotor systems
    • F15B13/02Fluid distribution or supply devices characterised by their adaptation to the control of servomotors
    • F15B13/04Fluid distribution or supply devices characterised by their adaptation to the control of servomotors for use with a single servomotor
    • F15B13/042Fluid distribution or supply devices characterised by their adaptation to the control of servomotors for use with a single servomotor operated by fluid pressure
    • F15B13/043Fluid distribution or supply devices characterised by their adaptation to the control of servomotors for use with a single servomotor operated by fluid pressure with electrically-controlled pilot valves
    • F15B13/0435Fluid distribution or supply devices characterised by their adaptation to the control of servomotors for use with a single servomotor operated by fluid pressure with electrically-controlled pilot valves the pilot valves being sliding valves
    • FMECHANICAL ENGINEERING; LIGHTING; HEATING; WEAPONS; BLASTING
    • F15FLUID-PRESSURE ACTUATORS; HYDRAULICS OR PNEUMATICS IN GENERAL
    • F15BSYSTEMS ACTING BY MEANS OF FLUIDS IN GENERAL; FLUID-PRESSURE ACTUATORS, e.g. SERVOMOTORS; DETAILS OF FLUID-PRESSURE SYSTEMS, NOT OTHERWISE PROVIDED FOR
    • F15B13/00Details of servomotor systems ; Valves for servomotor systems
    • F15B2013/002Modular valves, i.e. consisting of an assembly of interchangeable components
    • FMECHANICAL ENGINEERING; LIGHTING; HEATING; WEAPONS; BLASTING
    • F15FLUID-PRESSURE ACTUATORS; HYDRAULICS OR PNEUMATICS IN GENERAL
    • F15BSYSTEMS ACTING BY MEANS OF FLUIDS IN GENERAL; FLUID-PRESSURE ACTUATORS, e.g. SERVOMOTORS; DETAILS OF FLUID-PRESSURE SYSTEMS, NOT OTHERWISE PROVIDED FOR
    • F15B2211/00Circuits for servomotor systems
    • F15B2211/30Directional control
    • F15B2211/305Directional control characterised by the type of valves
    • F15B2211/30525Directional control valves, e.g. 4/3-directional control valve
    • F15B2211/3053In combination with a pressure compensating valve
    • F15B2211/30535In combination with a pressure compensating valve the pressure compensating valve is arranged between pressure source and directional control valve
    • FMECHANICAL ENGINEERING; LIGHTING; HEATING; WEAPONS; BLASTING
    • F15FLUID-PRESSURE ACTUATORS; HYDRAULICS OR PNEUMATICS IN GENERAL
    • F15BSYSTEMS ACTING BY MEANS OF FLUIDS IN GENERAL; FLUID-PRESSURE ACTUATORS, e.g. SERVOMOTORS; DETAILS OF FLUID-PRESSURE SYSTEMS, NOT OTHERWISE PROVIDED FOR
    • F15B2211/00Circuits for servomotor systems
    • F15B2211/30Directional control
    • F15B2211/305Directional control characterised by the type of valves
    • F15B2211/3056Assemblies of multiple valves
    • F15B2211/30565Assemblies of multiple valves having multiple valves for a single output member, e.g. for creating higher valve function by use of multiple valves like two 2/2-valves replacing a 5/3-valve
    • FMECHANICAL ENGINEERING; LIGHTING; HEATING; WEAPONS; BLASTING
    • F15FLUID-PRESSURE ACTUATORS; HYDRAULICS OR PNEUMATICS IN GENERAL
    • F15BSYSTEMS ACTING BY MEANS OF FLUIDS IN GENERAL; FLUID-PRESSURE ACTUATORS, e.g. SERVOMOTORS; DETAILS OF FLUID-PRESSURE SYSTEMS, NOT OTHERWISE PROVIDED FOR
    • F15B2211/00Circuits for servomotor systems
    • F15B2211/30Directional control
    • F15B2211/31Directional control characterised by the positions of the valve element
    • F15B2211/3105Neutral or centre positions
    • F15B2211/3111Neutral or centre positions the pump port being closed in the centre position, e.g. so-called closed centre
    • FMECHANICAL ENGINEERING; LIGHTING; HEATING; WEAPONS; BLASTING
    • F15FLUID-PRESSURE ACTUATORS; HYDRAULICS OR PNEUMATICS IN GENERAL
    • F15BSYSTEMS ACTING BY MEANS OF FLUIDS IN GENERAL; FLUID-PRESSURE ACTUATORS, e.g. SERVOMOTORS; DETAILS OF FLUID-PRESSURE SYSTEMS, NOT OTHERWISE PROVIDED FOR
    • F15B2211/00Circuits for servomotor systems
    • F15B2211/30Directional control
    • F15B2211/31Directional control characterised by the positions of the valve element
    • F15B2211/3144Directional control characterised by the positions of the valve element the positions being continuously variable, e.g. as realised by proportional valves
    • FMECHANICAL ENGINEERING; LIGHTING; HEATING; WEAPONS; BLASTING
    • F15FLUID-PRESSURE ACTUATORS; HYDRAULICS OR PNEUMATICS IN GENERAL
    • F15BSYSTEMS ACTING BY MEANS OF FLUIDS IN GENERAL; FLUID-PRESSURE ACTUATORS, e.g. SERVOMOTORS; DETAILS OF FLUID-PRESSURE SYSTEMS, NOT OTHERWISE PROVIDED FOR
    • F15B2211/00Circuits for servomotor systems
    • F15B2211/30Directional control
    • F15B2211/32Directional control characterised by the type of actuation
    • F15B2211/327Directional control characterised by the type of actuation electrically or electronically
    • FMECHANICAL ENGINEERING; LIGHTING; HEATING; WEAPONS; BLASTING
    • F15FLUID-PRESSURE ACTUATORS; HYDRAULICS OR PNEUMATICS IN GENERAL
    • F15BSYSTEMS ACTING BY MEANS OF FLUIDS IN GENERAL; FLUID-PRESSURE ACTUATORS, e.g. SERVOMOTORS; DETAILS OF FLUID-PRESSURE SYSTEMS, NOT OTHERWISE PROVIDED FOR
    • F15B2211/00Circuits for servomotor systems
    • F15B2211/30Directional control
    • F15B2211/32Directional control characterised by the type of actuation
    • F15B2211/329Directional control characterised by the type of actuation actuated by fluid pressure
    • FMECHANICAL ENGINEERING; LIGHTING; HEATING; WEAPONS; BLASTING
    • F15FLUID-PRESSURE ACTUATORS; HYDRAULICS OR PNEUMATICS IN GENERAL
    • F15BSYSTEMS ACTING BY MEANS OF FLUIDS IN GENERAL; FLUID-PRESSURE ACTUATORS, e.g. SERVOMOTORS; DETAILS OF FLUID-PRESSURE SYSTEMS, NOT OTHERWISE PROVIDED FOR
    • F15B2211/00Circuits for servomotor systems
    • F15B2211/30Directional control
    • F15B2211/355Pilot pressure control
    • FMECHANICAL ENGINEERING; LIGHTING; HEATING; WEAPONS; BLASTING
    • F15FLUID-PRESSURE ACTUATORS; HYDRAULICS OR PNEUMATICS IN GENERAL
    • F15BSYSTEMS ACTING BY MEANS OF FLUIDS IN GENERAL; FLUID-PRESSURE ACTUATORS, e.g. SERVOMOTORS; DETAILS OF FLUID-PRESSURE SYSTEMS, NOT OTHERWISE PROVIDED FOR
    • F15B2211/00Circuits for servomotor systems
    • F15B2211/40Flow control
    • F15B2211/405Flow control characterised by the type of flow control means or valve
    • F15B2211/40507Flow control characterised by the type of flow control means or valve with constant throttles or orifices
    • FMECHANICAL ENGINEERING; LIGHTING; HEATING; WEAPONS; BLASTING
    • F15FLUID-PRESSURE ACTUATORS; HYDRAULICS OR PNEUMATICS IN GENERAL
    • F15BSYSTEMS ACTING BY MEANS OF FLUIDS IN GENERAL; FLUID-PRESSURE ACTUATORS, e.g. SERVOMOTORS; DETAILS OF FLUID-PRESSURE SYSTEMS, NOT OTHERWISE PROVIDED FOR
    • F15B2211/00Circuits for servomotor systems
    • F15B2211/40Flow control
    • F15B2211/405Flow control characterised by the type of flow control means or valve
    • F15B2211/40515Flow control characterised by the type of flow control means or valve with variable throttles or orifices
    • FMECHANICAL ENGINEERING; LIGHTING; HEATING; WEAPONS; BLASTING
    • F15FLUID-PRESSURE ACTUATORS; HYDRAULICS OR PNEUMATICS IN GENERAL
    • F15BSYSTEMS ACTING BY MEANS OF FLUIDS IN GENERAL; FLUID-PRESSURE ACTUATORS, e.g. SERVOMOTORS; DETAILS OF FLUID-PRESSURE SYSTEMS, NOT OTHERWISE PROVIDED FOR
    • F15B2211/00Circuits for servomotor systems
    • F15B2211/40Flow control
    • F15B2211/41Flow control characterised by the positions of the valve element
    • F15B2211/413Flow control characterised by the positions of the valve element the positions being continuously variable, e.g. as realised by proportional valves
    • FMECHANICAL ENGINEERING; LIGHTING; HEATING; WEAPONS; BLASTING
    • F15FLUID-PRESSURE ACTUATORS; HYDRAULICS OR PNEUMATICS IN GENERAL
    • F15BSYSTEMS ACTING BY MEANS OF FLUIDS IN GENERAL; FLUID-PRESSURE ACTUATORS, e.g. SERVOMOTORS; DETAILS OF FLUID-PRESSURE SYSTEMS, NOT OTHERWISE PROVIDED FOR
    • F15B2211/00Circuits for servomotor systems
    • F15B2211/40Flow control
    • F15B2211/415Flow control characterised by the connections of the flow control means in the circuit
    • F15B2211/41509Flow control characterised by the connections of the flow control means in the circuit being connected to a pressure source and a directional control valve
    • FMECHANICAL ENGINEERING; LIGHTING; HEATING; WEAPONS; BLASTING
    • F15FLUID-PRESSURE ACTUATORS; HYDRAULICS OR PNEUMATICS IN GENERAL
    • F15BSYSTEMS ACTING BY MEANS OF FLUIDS IN GENERAL; FLUID-PRESSURE ACTUATORS, e.g. SERVOMOTORS; DETAILS OF FLUID-PRESSURE SYSTEMS, NOT OTHERWISE PROVIDED FOR
    • F15B2211/00Circuits for servomotor systems
    • F15B2211/40Flow control
    • F15B2211/42Flow control characterised by the type of actuation
    • F15B2211/426Flow control characterised by the type of actuation electrically or electronically
    • FMECHANICAL ENGINEERING; LIGHTING; HEATING; WEAPONS; BLASTING
    • F15FLUID-PRESSURE ACTUATORS; HYDRAULICS OR PNEUMATICS IN GENERAL
    • F15BSYSTEMS ACTING BY MEANS OF FLUIDS IN GENERAL; FLUID-PRESSURE ACTUATORS, e.g. SERVOMOTORS; DETAILS OF FLUID-PRESSURE SYSTEMS, NOT OTHERWISE PROVIDED FOR
    • F15B2211/00Circuits for servomotor systems
    • F15B2211/40Flow control
    • F15B2211/42Flow control characterised by the type of actuation
    • F15B2211/428Flow control characterised by the type of actuation actuated by fluid pressure
    • FMECHANICAL ENGINEERING; LIGHTING; HEATING; WEAPONS; BLASTING
    • F15FLUID-PRESSURE ACTUATORS; HYDRAULICS OR PNEUMATICS IN GENERAL
    • F15BSYSTEMS ACTING BY MEANS OF FLUIDS IN GENERAL; FLUID-PRESSURE ACTUATORS, e.g. SERVOMOTORS; DETAILS OF FLUID-PRESSURE SYSTEMS, NOT OTHERWISE PROVIDED FOR
    • F15B2211/00Circuits for servomotor systems
    • F15B2211/40Flow control
    • F15B2211/455Control of flow in the feed line, i.e. meter-in control
    • FMECHANICAL ENGINEERING; LIGHTING; HEATING; WEAPONS; BLASTING
    • F15FLUID-PRESSURE ACTUATORS; HYDRAULICS OR PNEUMATICS IN GENERAL
    • F15BSYSTEMS ACTING BY MEANS OF FLUIDS IN GENERAL; FLUID-PRESSURE ACTUATORS, e.g. SERVOMOTORS; DETAILS OF FLUID-PRESSURE SYSTEMS, NOT OTHERWISE PROVIDED FOR
    • F15B2211/00Circuits for servomotor systems
    • F15B2211/50Pressure control
    • F15B2211/505Pressure control characterised by the type of pressure control means
    • F15B2211/50509Pressure control characterised by the type of pressure control means the pressure control means controlling a pressure upstream of the pressure control means
    • F15B2211/50518Pressure control characterised by the type of pressure control means the pressure control means controlling a pressure upstream of the pressure control means using pressure relief valves
    • FMECHANICAL ENGINEERING; LIGHTING; HEATING; WEAPONS; BLASTING
    • F15FLUID-PRESSURE ACTUATORS; HYDRAULICS OR PNEUMATICS IN GENERAL
    • F15BSYSTEMS ACTING BY MEANS OF FLUIDS IN GENERAL; FLUID-PRESSURE ACTUATORS, e.g. SERVOMOTORS; DETAILS OF FLUID-PRESSURE SYSTEMS, NOT OTHERWISE PROVIDED FOR
    • F15B2211/00Circuits for servomotor systems
    • F15B2211/50Pressure control
    • F15B2211/505Pressure control characterised by the type of pressure control means
    • F15B2211/50554Pressure control characterised by the type of pressure control means the pressure control means controlling a pressure downstream of the pressure control means, e.g. pressure reducing valve
    • FMECHANICAL ENGINEERING; LIGHTING; HEATING; WEAPONS; BLASTING
    • F15FLUID-PRESSURE ACTUATORS; HYDRAULICS OR PNEUMATICS IN GENERAL
    • F15BSYSTEMS ACTING BY MEANS OF FLUIDS IN GENERAL; FLUID-PRESSURE ACTUATORS, e.g. SERVOMOTORS; DETAILS OF FLUID-PRESSURE SYSTEMS, NOT OTHERWISE PROVIDED FOR
    • F15B2211/00Circuits for servomotor systems
    • F15B2211/50Pressure control
    • F15B2211/515Pressure control characterised by the connections of the pressure control means in the circuit
    • F15B2211/5159Pressure control characterised by the connections of the pressure control means in the circuit being connected to an output member and a return line
    • FMECHANICAL ENGINEERING; LIGHTING; HEATING; WEAPONS; BLASTING
    • F15FLUID-PRESSURE ACTUATORS; HYDRAULICS OR PNEUMATICS IN GENERAL
    • F15BSYSTEMS ACTING BY MEANS OF FLUIDS IN GENERAL; FLUID-PRESSURE ACTUATORS, e.g. SERVOMOTORS; DETAILS OF FLUID-PRESSURE SYSTEMS, NOT OTHERWISE PROVIDED FOR
    • F15B2211/00Circuits for servomotor systems
    • F15B2211/50Pressure control
    • F15B2211/52Pressure control characterised by the type of actuation
    • F15B2211/528Pressure control characterised by the type of actuation actuated by fluid pressure
    • FMECHANICAL ENGINEERING; LIGHTING; HEATING; WEAPONS; BLASTING
    • F15FLUID-PRESSURE ACTUATORS; HYDRAULICS OR PNEUMATICS IN GENERAL
    • F15BSYSTEMS ACTING BY MEANS OF FLUIDS IN GENERAL; FLUID-PRESSURE ACTUATORS, e.g. SERVOMOTORS; DETAILS OF FLUID-PRESSURE SYSTEMS, NOT OTHERWISE PROVIDED FOR
    • F15B2211/00Circuits for servomotor systems
    • F15B2211/60Circuit components or control therefor
    • F15B2211/605Load sensing circuits
    • F15B2211/6051Load sensing circuits having valve means between output member and the load sensing circuit
    • FMECHANICAL ENGINEERING; LIGHTING; HEATING; WEAPONS; BLASTING
    • F15FLUID-PRESSURE ACTUATORS; HYDRAULICS OR PNEUMATICS IN GENERAL
    • F15BSYSTEMS ACTING BY MEANS OF FLUIDS IN GENERAL; FLUID-PRESSURE ACTUATORS, e.g. SERVOMOTORS; DETAILS OF FLUID-PRESSURE SYSTEMS, NOT OTHERWISE PROVIDED FOR
    • F15B2211/00Circuits for servomotor systems
    • F15B2211/60Circuit components or control therefor
    • F15B2211/605Load sensing circuits
    • F15B2211/6051Load sensing circuits having valve means between output member and the load sensing circuit
    • F15B2211/6055Load sensing circuits having valve means between output member and the load sensing circuit using pressure relief valves
    • FMECHANICAL ENGINEERING; LIGHTING; HEATING; WEAPONS; BLASTING
    • F15FLUID-PRESSURE ACTUATORS; HYDRAULICS OR PNEUMATICS IN GENERAL
    • F15BSYSTEMS ACTING BY MEANS OF FLUIDS IN GENERAL; FLUID-PRESSURE ACTUATORS, e.g. SERVOMOTORS; DETAILS OF FLUID-PRESSURE SYSTEMS, NOT OTHERWISE PROVIDED FOR
    • F15B2211/00Circuits for servomotor systems
    • F15B2211/60Circuit components or control therefor
    • F15B2211/63Electronic controllers
    • F15B2211/6303Electronic controllers using input signals
    • F15B2211/6346Electronic controllers using input signals representing a state of input means, e.g. joystick position
    • FMECHANICAL ENGINEERING; LIGHTING; HEATING; WEAPONS; BLASTING
    • F15FLUID-PRESSURE ACTUATORS; HYDRAULICS OR PNEUMATICS IN GENERAL
    • F15BSYSTEMS ACTING BY MEANS OF FLUIDS IN GENERAL; FLUID-PRESSURE ACTUATORS, e.g. SERVOMOTORS; DETAILS OF FLUID-PRESSURE SYSTEMS, NOT OTHERWISE PROVIDED FOR
    • F15B2211/00Circuits for servomotor systems
    • F15B2211/60Circuit components or control therefor
    • F15B2211/635Circuits providing pilot pressure to pilot pressure-controlled fluid circuit elements
    • F15B2211/6355Circuits providing pilot pressure to pilot pressure-controlled fluid circuit elements having valve means
    • FMECHANICAL ENGINEERING; LIGHTING; HEATING; WEAPONS; BLASTING
    • F15FLUID-PRESSURE ACTUATORS; HYDRAULICS OR PNEUMATICS IN GENERAL
    • F15BSYSTEMS ACTING BY MEANS OF FLUIDS IN GENERAL; FLUID-PRESSURE ACTUATORS, e.g. SERVOMOTORS; DETAILS OF FLUID-PRESSURE SYSTEMS, NOT OTHERWISE PROVIDED FOR
    • F15B2211/00Circuits for servomotor systems
    • F15B2211/70Output members, e.g. hydraulic motors or cylinders or control therefor
    • F15B2211/705Output members, e.g. hydraulic motors or cylinders or control therefor characterised by the type of output members or actuators
    • F15B2211/7051Linear output members
    • F15B2211/7053Double-acting output members

Definitions

  • the invention relates to the field of hydraulic techniques, in particular to a working link, a valve port independent control type multi-way valve and an engineering machine.
  • the main engine of engineering machines is developing towards intelligence and environmental friendliness.
  • Existing engineering machines adopt multi-way valves of a traditional slide valve form to control an actuator, which has the defects of mechanical and fixed connection of an oil inlet and an oil outlet, control of the pressure or flow of only one cavity of the actuator, large pressure loss and poor state perception, and cannot meet the high-precision position/speed control requirements of electric control and intelligent assistance in the future, thus severely compromising the maneuverability, load adaptivity, operating stability and energy saving performance of the machine engine.
  • the valve port independent control technique can realize separate control over the pressure/flow of two cavities of the actuator, has the advantages of flexible control, high load adaptivity, low power consumption and accurate control, and represents the development direction of high-end hydraulic valves.
  • the multi-way valve is a multi-functional integrated valve which mainly comprises two or more reversing valves and integrates reversing valves, check valves, overload valves, oil supplementing valves and braking valves, and as a key part of the hydraulic system of engineering machines, is located between a pump and an actuating element and used for controlling the flow rate and direction of hydraulic oil to control the movement direction and speed of the actuating element of the engineering machines.
  • engineering machines generally adopt four types of multi-way valves: throttling-type multi-way valves, negative-flow multi-way valves, positive-flow multi-way valves and load-sensitive multi-way valves.
  • the flow of the throttling-type multi-way valves, the negative-flow multi-way valves and positive-flow multi-way valves is affected by the change of the load pressure; and in case of a complex action, the flow flows to the actuating element with a small load, such that the flow cannot be distributed as expected. Therefore, the hydraulic system of engineering machines with a high control precision requirement generally adopts the load-sensitive multi-way valve.
  • CMA90 and CMA200 multi-way valves of the Eaton Cooperation are the best and mostly commonly used two-core valve port independent control type multi-way valves on the present market, the principle diagram of which is shown in FIG. 1 .
  • 1' and 2' are main valve cores, the main valve core 1' controls oil to flow in via a port A, and the main valve core 2' control oil to flow out via a port B; and 3' and 4' are pilot valves, the pilot valve 3' controls the working state of the main valve core 1' and the pilot valve 4' controls the working state of the main valve core 2', such that separate control over the port A and the port B is realized.
  • the invention provides a working link, a valve port independent control type multi-way valve and an engineering machine.
  • the invention provides a working line.
  • the working link comprises:
  • an oil return port T1, an oil return port T2, an oil supply line and working oil lines are arranged on the valve body;
  • a first port overflow valve is arranged in the first working oil line, and a second port overflow valve is arranged in the second working oil line.
  • the pressure difference control module is configured as a compensation valve core.
  • the first pilot control unit has a first pilot control oil line and a second pilot control oil line, and the first pilot control oil line and the second pilot control oil line are connected to two control cavities of the first main valve core respectively; and the second pilot control unit has a third pilot control oil line, and the third pilot control oil line is connected to a spring cavity of the second main valve core.
  • the first pilot control unit comprises a first electric proportional pressure reducing valve and a second electric proportional pressure reducing valve
  • the first pilot control oil line is led out from an outlet of the first electric proportional pressure reducing valve
  • the second pilot control oil line is led out from an outlet of the second electric proportional pressure reducing valve
  • the second pilot control unit comprises a third electric proportional pressure reducing valve
  • the third pilot control oil line is led out from an outlet of the third electric proportional pressure reducing valve.
  • the first pilot control unit comprises a first electric proportional reversing valve, and the first pilot control oil line and the second pilot control oil line are led out from two outlets of the first electric proportional reversing valve respectively; and the second pilot control unit comprises a second electric proportional reversing valve, and the third pilot control oil line is led out from an outlet of the second electric proportional reversing valve.
  • the working link further comprises a control handle and a controller used for receiving a control signal from the control handle by means of a CAN bus, and the controller calculates a displacement of the first main valve core and/or the second main valve core according to the control signal and controls the first main valve core and/or the second main valve core to move by means of the corresponding first electric proportional reversing valve and/or second electric proportional reversing valve.
  • a first control and selection oil line, a second control and selection oil line and a third control and selection oil line are arranged on the valve body, the first control and selection oil line is used for connecting the inlet of the electric-control LS overflow valve and the first load-sensitive oil line, the second control and selection oil line is used for connecting the inlet of the electric-control LS overflow valve and the second load-sensitive oil line, and the third control and selection oil line is used for connecting the inlet of the electric-control LS overflow valve and the load feedback oil line.
  • the second main valve core is replaced with a plug; an LSA oil port, an LSB oil port and a load feedback oil passage are arranged on the first main valve core, the oil supply line is connected to the load feedback oil passage by means of the LSA oil port or the LSB oil port, a first load-sensitive oil line and a second load-sensitive oil line are arranged on the valve body, a first LS overflow valve is arranged on the first load-sensitive oil line, and a second LS overflow valve is arranged on the second load-sensitive oil line;
  • the application provides a valve port independent control type multi-way valve.
  • the valve port independent control type multi-way valve comprises one or more said working links as described above.
  • the application provides an engineering machine.
  • the engineering machine comprises the valve port independent control type multi-way valve as described above.
  • the working link can realize independent control over an oil inlet and an oil outlet, and can use a manual control mode, an electro-hydraulic proportion control mode, and a CAN bus control mode.
  • the problem of mechanical and fixed connection of an oil inlet and an oil outlet of a traditional multi-way valve is solved, and the degree of freedom of control is increased; the problem of complex and unstable control over an existing port-independent valve is solved; moreover, the structure is simple, the flow control precision is high, the cost is low, and switching between a port-independent valve and a traditional pre-compensation load-sensitive multi-way valve can be achieved by means of the combination of different accessories.
  • flow calculation control and pressure calculation control can be realized without changing the structure of the valve body; moreover, the second main valve core is replaced with a plug, and the pattern of a throttling opening in the first main valve core is changed, such that the function of a pre-compensation load-sensitive multi-way valve of a traditional structure can be achieved by means of the working link of this design.
  • a working link comprises a valve body, a first main valve core 1, a second main valve core 2 and a pilot control module, wherein an oil supply port P, a working oil port A and a working oil port B are arranged on the valve body, the first main valve core 1 is movably arranged in the valve body and used for controlling oil to flow out via the working oil port A and to return via the working oil port B or controlling oil to flow out via the working oil port B and to return via the working oil port A, the second main valve core 2 is movably arranged in the valve body and is used for controlling the quantity of oil entering the working link from the oil supply port P, and the pilot control module comprises a first pilot control unit used for controlling the first main valve core 1 to move and a second pilot control unit for controlling the second main valve core 2 to move.
  • an oil return port T1, an oil return port T2, an oil supply line and working oil lines are arranged on the valve body, the oil supply line is connected to the first main valve core 1 from the oil supply port P via the second main valve core 2, the working oil lines comprise a first working oil line and a second working oil line, the first working oil line is formed between the first main valve core 1 and the working oil port A, and the second working oil line is formed between the first main valve core 1 and the working oil port B; when the first main control core 1 controls oil to flow out via the working oil port A and to return via the working oil port B, the oil supply line is connected to the first working oil line, and the second working oil line is connected to the oil return port T2; when the first main valve core 1 controls oil to flow out via the working oil port B and to return via the working oil port A, the oil supply line is connected to the second working oil line, the first working oil line is connected to the oil return port T1; and a first port overflow valve 5.1 is arranged in the first working oil line, a second
  • the working line further comprises a pressure difference control module, which is arranged between the oil supply port P and the second main valve core 2 and used for controlling a pressure difference between an oil inlet and an oil outlet of the second main valve core 2 to be constant.
  • the pressure difference control module is configured as a compensation valve core 3.
  • the first pilot control unit has a first pilot control oil line and a second pilot control oil line, and the first pilot control oil line and the second pilot control oil line are connected to two control cavities of the first main valve core 1 respectively; and the second pilot control unit has a third pilot control oil line, and the third pilot control oil line is connected to a spring cavity of the second main valve core 2.
  • the first pilot control unit comprises a first electric proportional pressure reducing valve 4.1 and a second electric proportional pressure reducing valve 4.2
  • the first pilot control oil line is led out from an outlet of the first electric proportional pressure reducing valve 4.1
  • the second pilot control oil line is led out from an outlet of the second electric proportional pressure reducing valve 4.2
  • the second pilot control unit comprises a third electric proportional pressure reducing valve 4.3
  • the third pilot control oil line is led out from an outlet of the third electric proportional pressure reducing valve 4.3.
  • the compensation valve core 3 of the working link can be removed directly, pressure sensors are arranged at the oil inlet and the oil outlet, a displacement sensor is arranged on the second main valve core 2, and a flow-pressure difference control algorithm is used to control the flow of the actuator.
  • the flow passing through the second main valve core 2 is only related to the flow area of the second main valve core 2, the flow area of the second main valve core 2 depends on the displacement of the second main valve core 2, the displacement of the second main valve core 2 is determined by the third electric proportional pressure reducing valve 4.3, the third electric proportional pressure reducing valve 4.3 outputs a pilot control pressure in proportion to its control current to control the displacement of the second main valve core 2, and finally, the flow of the second main valve core 2 is controlled to be in proportion to the control current of the third electric proportional pressure reducing valve 4.3.
  • the first main valve core 1 After hydraulic oil passes through P2, the first main valve core 1 reverses, and the hydraulic oil reaches the working oil port A/B through the first main valve core 1.
  • the movement direction of the first main valve core 1 is controlled by the first electric proportional pressure reducing valve 4.1 and the second electric proportional pressure reducing valve 4.2.
  • the overlap, from P2 to the working oil port A/B, of the first main valve core 1 is less than the overlap, from the working oil port A/B to the return port T1/T2, of the first main valve core 1, thus ensuring that the flow area from P2 to the working oil port B/A is still large in a case where the flow area from the working oil port A/B to the return port T1/T2 is small.
  • the first main valve core 1 controls the oil inlet direction and the return restriction area
  • the second main valve core 2 controls the oil inlet flow, thus realizing separate control over the oil inlet and the oil outlet.
  • the compensation valve core 3 is arranged in front of the second main valve core 2, accurate flow control is realized based on the pre-compensation load-sensitive principle, and control is simple and stable.
  • the working link further comprises an electric-control LS overflow valve 9, an inlet of the electric-control LS overflow valve 9 is connected to the load feedback oil passage, the first load-sensitive oil line or the second load-sensitive oil line, a first control and selection oil line 8.1, a second control and selection oil line 8.2 and a third control and selection oil line 8.3 are arranged on the valve body, the first control and selection oil line 8.1 is used for connecting the inlet of the electric-control LS overflow valve 9 and the first load-sensitive oil line, the second control and selection oil line 8.2 is used for connecting the inlet of the electric-control LS overflow valve 9 and the second load-sensitive oil line, the third control and selection oil line 8.3 is used for connecting the inlet of the electric-control LS overflow valve 9 and the load feedback oil line (a radial oil passage in the axis of the first main valve core), and a check valve 7 is arranged between the load feedback oil passage and an LS oil passage on the valve body.
  • the first control and selection oil line 8.1, the second control and selection oil line 8.2 and the third control and selection oil line 8.3 are connected to an LSA oil passage, an LSB oil passage and an LS oil passage in a valve seat of the electric-control LS overflow valve 9, and the LSA oil passage, the LSB oil passage and the LS oil passage in the valve seat of the electric-control LS overflow valve 9 are connected to an oil inlet passage of the electric-control LS overflow valve 9.
  • the LSB oil passage and the LS oil passage in the valve seat of the electric-control LS overflow valve 9 can be blocked, only the LSA oil passage remains unblocked, and at this moment, the electric-control LS overflow valve 9 can remotely control the pressure of the LSA oil passage.
  • the pressure of the LSB oil passage and the pressure of the LS oil passage can be remotely controlled in the same way.
  • the first pilot control unit comprises a first electric proportional reversing valve 10.1, and the first pilot control oil line and the second pilot control oil line are led out from two outlets of the first electric proportional reversing valve 10.1 respectively;
  • the second pilot control unit comprises a second electric proportional reversing valve 10.2, and the third pilot control oil line is led out from an outlet of the second electric proportional reversing valve 10.2;
  • the working link further comprises a control handle and a controller used for receiving a control signal from the control handle by means of a CAN bus, and the controller calculates the displacement of the first main valve core 1 and/or the second main valve core 2 according to the control signal and controls the first main valve core 1 and/or the second main valve core 2 to move by means of the corresponding first electric proportional reversing valve 10.1 and/or second electric proportional reversing valve 10.2.
  • an end cover of the control handle sends out a signal, the signal is transmitted to the controller by means of the CAN bus, the controller calculates the desired displacement of the first main valve core 1 and the desired displacement of the second main valve core 2 and outputs control current signals to the corresponding first electric proportional reversing valve 10.1 and second electric proportional reversing valve 10.2, the first electric proportional reversing valve 10.1 and the second electric proportional reversing valve 10.2 start to reverse to drive the first main valve core 1 and the second main valve core 2 to move, and the displacement of the valve cores is monitored in real time by means of displacement sensors; and when the desired displacement of the corresponding valve core is satisfied, the corresponding first electric proportional reversing valve 10.1 and/or second electric proportional reversing valve 10.2 is controlled to be powered off.
  • the first electric proportional reversing valve 10.1 and the second electric proportional reversing valve 10.2 are powered on again. Therefore, the first electric proportional reversing valve 10.1 and the second electric proportional reversing valve 10.2 are power on and off frequently to maintain the first main valve core 1 and the second main valve core 2 at desired positions.
  • the first electric proportional reversing valve 10.1 and the second electric proportional reversing valve 10.2 are both three-position four-way reversing valves.
  • An LS oil port and a load feedback oil passage are arranged on the first main valve core 1, the oil supply line is connected to the load feedback oil passage by means of the LS oil port, a first load-sensitive oil line and a second load-sensitive oil line are arranged on the valve body, a first LS overflow valve 6.1 is arranged on the first load-sensitive oil line, and a second LS overflow valve 6.2 is arranged on the second load-sensitive oil line; when oil flows out via the working oil port A and returns via the working oil port B, the load feedback oil passage is connected to the first load-sensitive oil line; when oil flows out via the working oil port B and returns via the working oil port A, the load feedback oil passage is connected to the second load-sensitive oil line; when the pressure of the working oil port A or the working oil port B exceeds the pressure of the corresponding LS overflow valve, the corresponding LS overflow valve is turned on, the pressure of the working oil port A or the working oil port B further rises, the pressure of the corresponding LS oil line will not
  • a pressure measurement passage for the working oil port A, the working oil port B and P2 can be reserved on the valve body to measure the pressure of the working oil port A, the pressure of the working oil port B, the pressure of P and the pressure of P2, such that the flow and pressure of a main oil line are controlled by flow calculation control and pressure calculation control.
  • the second main valve core 2 in the above embodiments is replaced with a plug 12; in a case where an LSA oil port, an LSB oil port and a load feedback oil passage are arranged on the first main valve core 1, the oil supply line is connected to the load feedback oil passage by means of the LSA oil port or the LSB oil port, a first load-sensitive oil line and a second load-sensitive oil line are arranged on the valve body, a first LS overflow valve 6.1 is arranged on the first load-sensitive oil line, and a second LS overflow valve 6.2 is arranged on the second load-sensitive oil line; when oil flows out via the working oil port A and returns via the working oil port B, the LSA oil port is connected to the first load-sensitive oil line by means of the load feedback oil passage; when oil flows out via the working oil port B and returns via the working oil port A, the LSB oil port is connected to the second load-sensitive oil line by means of the load feedback oil passage; a high pressure from the working oil port
  • the working link provided by the invention is applied to a valve port impendent control type multi-way valve to realize separate control over an oil inlet and an oil outlet.
  • valve port impendent control type multi-way valve provided by the invention is applied to an engineering machine to improve the overall performance of the machine.
  • the working link can realize independent control over an oil inlet and an oil outlet, and can use a manual control mode, an electro-hydraulic proportion control mode, and a CAN bus control mode.
  • flow calculation control and pressure calculation control can be realized on the premise of not changing the structure of the valve body; moreover, the second main valve core is replaced with a plug, and the pattern of a throttling opening in the first main valve core is changed, such that the function of a pre-compensation load-sensitive multi-way valve of a traditional structure can be achieved by means of the working link of this design, thereby improving the performance of the valve port independent control type valve and even the performance of the engineering machine.

Landscapes

  • Engineering & Computer Science (AREA)
  • Physics & Mathematics (AREA)
  • Fluid Mechanics (AREA)
  • Mechanical Engineering (AREA)
  • General Engineering & Computer Science (AREA)
  • Chemical & Material Sciences (AREA)
  • Analytical Chemistry (AREA)
  • Fluid-Pressure Circuits (AREA)

Abstract

The invention relates to a working link, a valve port independent control type multi-way valve, and an engineering machine. The working link can realize independent control over an oil inlet and an oil outlet, and can use a manual control mode, an electro-hydraulic proportion control mode, and a CAN bus control mode. The problem of mechanical and fixed connection of an oil inlet and an oil outlet of a traditional multi-way valve is solved, and the degree of freedom of control is increased; the problem of complex and unstable control over an existing port-independent valve is solved; moreover, the structure is simple, the flow control precision is high, the cost is low, and switching between a port-independent valve and a traditional pre-compensation load-sensitive multi-way valve can be achieved. With the development of the sensor technology and the control technology, flow calculation control and pressure calculation control can be realized on the premise of not changing the structure of a valve body; moreover, a second main valve core is replaced with a plug, and the pattern of a throttling opening in a first main valve core is changed, such that the function of a pre-compensation load-sensitive multi-way valve of a traditional structure can be achieved by means of the working link, thereby improving the performance of the valve port independent control type valve and even the performance of the engineering machine.

Description

    BACKGROUND OF THE INVENTION 1. Technical Field
  • The invention relates to the field of hydraulic techniques, in particular to a working link, a valve port independent control type multi-way valve and an engineering machine.
  • 2. Description of Related Art
  • The main engine of engineering machines is developing towards intelligence and environmental friendliness. Existing engineering machines adopt multi-way valves of a traditional slide valve form to control an actuator, which has the defects of mechanical and fixed connection of an oil inlet and an oil outlet, control of the pressure or flow of only one cavity of the actuator, large pressure loss and poor state perception, and cannot meet the high-precision position/speed control requirements of electric control and intelligent assistance in the future, thus severely compromising the maneuverability, load adaptivity, operating stability and energy saving performance of the machine engine. The valve port independent control technique can realize separate control over the pressure/flow of two cavities of the actuator, has the advantages of flexible control, high load adaptivity, low power consumption and accurate control, and represents the development direction of high-end hydraulic valves.
  • The multi-way valve is a multi-functional integrated valve which mainly comprises two or more reversing valves and integrates reversing valves, check valves, overload valves, oil supplementing valves and braking valves, and as a key part of the hydraulic system of engineering machines, is located between a pump and an actuating element and used for controlling the flow rate and direction of hydraulic oil to control the movement direction and speed of the actuating element of the engineering machines.
  • At present, engineering machines generally adopt four types of multi-way valves: throttling-type multi-way valves, negative-flow multi-way valves, positive-flow multi-way valves and load-sensitive multi-way valves. The flow of the throttling-type multi-way valves, the negative-flow multi-way valves and positive-flow multi-way valves is affected by the change of the load pressure; and in case of a complex action, the flow flows to the actuating element with a small load, such that the flow cannot be distributed as expected. Therefore, the hydraulic system of engineering machines with a high control precision requirement generally adopts the load-sensitive multi-way valve.
  • CMA90 and CMA200 multi-way valves of the Eaton Cooperation are the best and mostly commonly used two-core valve port independent control type multi-way valves on the present market, the principle diagram of which is shown in FIG. 1. Wherein, 1' and 2' are main valve cores, the main valve core 1' controls oil to flow in via a port A, and the main valve core 2' control oil to flow out via a port B; and 3' and 4' are pilot valves, the pilot valve 3' controls the working state of the main valve core 1' and the pilot valve 4' controls the working state of the main valve core 2', such that separate control over the port A and the port B is realized.
  • Because the oil inlet and oil outlet of traditional multi-way valves are mechanically and fixedly connected, flow control of an oil inlet of the actuator and flow control of an oil outlet of the actuator are mutually influenced, and particularly, in a load condition, flow control cannot be realized, and resource waste will be caused. According to the CMA90 and CMA200 multi-way valves of the Eaton Cooperation, the port A and the port B are controlled separately, thus realizing the valve port independent control function; however, multiple temperature-pressure integrated sensors and displacement sensors are installed, control is realized based on flow calculation and pressure calculation, a control system is complex, and the control precision is affected by multiple parameters such as the viscosity of oil, leading to instability of the control system. In addition, the direction of oil ports of the CMA90 and CMA200 multi-way valves of the Eaton Cooperation is different from the direction of oil ports of traditional multi-way valves, and the cost of multiple sensors is high, so mass application of the CMA90 and CMA200 multi-way valves cannot be realized under the influence of multiple factors.
  • BRIEF SUMMARY OF THE INVENTION
  • In view of the defects existing in the prior art, the invention provides a working link, a valve port independent control type multi-way valve and an engineering machine.
  • In a first aspect, the invention provides a working line.
  • The working link comprises:
    • a valve body, formed with an oil supply port P, a working oil port A and a working oil port B;
    • a first main valve core, movably arranged in the valve body and used for controlling oil to flow out via the working oil port A and to return via the working oil port B or controlling oil to flow out via the working oil port B and to return via the working oil port A;
    • a second main valve core, movably arranged in the valve body and used for controlling the quantity of oil entering the working link from the oil supply port P; and
    • a pilot control module, comprising a first pilot control unit for controlling the first main valve core to move and a second pilot control unit for controlling the second main valve core to move.
  • Optionally, an oil return port T1, an oil return port T2, an oil supply line and working oil lines are arranged on the valve body;
    • the oil supply line is connected to the first main valve core from the oil supply port P via the second main valve core;
    • the working oil lines comprise a first working oil line and a second working oil line, the first working oil line is formed between the first main valve core and the working oil port A, and the second working oil line is formed between the first main valve core and the working oil port B;
    • when the first main control core controls oil to flow out via the working oil port A and to return via the working oil port B, the oil supply line is connected to the first working oil line, and the second working oil line is connected to the oil return port T2; when the first main valve core controls oil to flow out via the working oil port B and to return via the working oil port A, the oil supply line is connected to the second working oil line, the first working oil line is connected to the oil return port T1.
  • Optionally, a first port overflow valve is arranged in the first working oil line, and a second port overflow valve is arranged in the second working oil line.
  • Optionally, the working link further comprises a pressure difference control module, the pressure difference control module is arranged between the oil supply port P and the second main valve core and used for controlling a pressure difference between an oil inlet and an oil outlet of the second main valve core to be constant.
  • Optionally, the pressure difference control module is configured as a compensation valve core.
  • Optionally, the first pilot control unit has a first pilot control oil line and a second pilot control oil line, and the first pilot control oil line and the second pilot control oil line are connected to two control cavities of the first main valve core respectively; and the second pilot control unit has a third pilot control oil line, and the third pilot control oil line is connected to a spring cavity of the second main valve core.
  • Optionally, the first pilot control unit comprises a first electric proportional pressure reducing valve and a second electric proportional pressure reducing valve, the first pilot control oil line is led out from an outlet of the first electric proportional pressure reducing valve, and the second pilot control oil line is led out from an outlet of the second electric proportional pressure reducing valve; and the second pilot control unit comprises a third electric proportional pressure reducing valve, and the third pilot control oil line is led out from an outlet of the third electric proportional pressure reducing valve.
  • Optionally, the first pilot control unit comprises a first electric proportional reversing valve, and the first pilot control oil line and the second pilot control oil line are led out from two outlets of the first electric proportional reversing valve respectively; and the second pilot control unit comprises a second electric proportional reversing valve, and the third pilot control oil line is led out from an outlet of the second electric proportional reversing valve.
  • Optionally, the working link further comprises a control handle and a controller used for receiving a control signal from the control handle by means of a CAN bus, and the controller calculates a displacement of the first main valve core and/or the second main valve core according to the control signal and controls the first main valve core and/or the second main valve core to move by means of the corresponding first electric proportional reversing valve and/or second electric proportional reversing valve.
  • Optionally, an LS oil port and a load feedback oil passage are arranged on the first main valve core, the oil supply line is connected to the load feedback oil passage by means of the LS oil port, a first load-sensitive oil line and a second load-sensitive oil line are arranged on the valve body, a first LS overflow valve is arranged on the first load-sensitive oil line, and a second LS overflow valve is arranged on the second load-sensitive oil line;
    • when oil flows out via the working oil port A and returns via the working oil port B, the load feedback oil passage is connected to the first load-sensitive oil line;
    • when oil flows out via the working oil port B and returns via the working oil port A, the load feedback oil passage is connected to the second load-sensitive oil line.
  • Optionally, the working link further comprises an electric-control LS overflow valve, and an inlet of the electric-control LS overflow valve is connected to the load feedback oil passage, the first load-sensitive oil line or the second load-sensitive oil line.
  • Optionally, a first control and selection oil line, a second control and selection oil line and a third control and selection oil line are arranged on the valve body, the first control and selection oil line is used for connecting the inlet of the electric-control LS overflow valve and the first load-sensitive oil line, the second control and selection oil line is used for connecting the inlet of the electric-control LS overflow valve and the second load-sensitive oil line, and the third control and selection oil line is used for connecting the inlet of the electric-control LS overflow valve and the load feedback oil line.
  • Optionally, the second main valve core is replaced with a plug; an LSA oil port, an LSB oil port and a load feedback oil passage are arranged on the first main valve core, the oil supply line is connected to the load feedback oil passage by means of the LSA oil port or the LSB oil port, a first load-sensitive oil line and a second load-sensitive oil line are arranged on the valve body, a first LS overflow valve is arranged on the first load-sensitive oil line, and a second LS overflow valve is arranged on the second load-sensitive oil line;
    • when oil flows out via the working oil port A and returns via the working oil port B, the LSA oil port is connected to the first load-sensitive oil line by means of the load feedback oil passage;
    • when oil flows out via the working oil port B and returns via the working oil port A, the LSB oil port is connected to the second load-sensitive oil line by means of the load feedback oil passage.
  • In a second aspect, the application provides a valve port independent control type multi-way valve.
  • The valve port independent control type multi-way valve comprises one or more said working links as described above.
  • In a third aspect, the application provides an engineering machine.
  • The engineering machine comprises the valve port independent control type multi-way valve as described above.
  • Compared with the prior art, the technical solution of the invention has the following beneficial effects: the working link can realize independent control over an oil inlet and an oil outlet, and can use a manual control mode, an electro-hydraulic proportion control mode, and a CAN bus control mode. The problem of mechanical and fixed connection of an oil inlet and an oil outlet of a traditional multi-way valve is solved, and the degree of freedom of control is increased; the problem of complex and unstable control over an existing port-independent valve is solved; moreover, the structure is simple, the flow control precision is high, the cost is low, and switching between a port-independent valve and a traditional pre-compensation load-sensitive multi-way valve can be achieved by means of the combination of different accessories. With the development of the sensor technology and the control technology in the future, flow calculation control and pressure calculation control can be realized without changing the structure of the valve body; moreover, the second main valve core is replaced with a plug, and the pattern of a throttling opening in the first main valve core is changed, such that the function of a pre-compensation load-sensitive multi-way valve of a traditional structure can be achieved by means of the working link of this design.
  • BRIEF DESCRIPTION OF THE SEVERAL VIEWS OF THE DRAWINGS
    • FIG. 1 is a principle diagram of CMA90 and CMA200 multi-way valves of the Eaton Cooperation;
    • FIG. 2 is a principle diagram of Embodiment 1 of a working link according to the invention;
    • FIG. 3 is a schematic structural diagram of Embodiment 1 of the working link according to the invention;
    • FIG. 4 is a principle diagram of Embodiment 2 of the working link according to the invention;
    • FIG. 5 is a principle diagram of Embodiment 3 of the working link according to the invention;
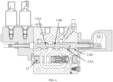
    • FIG. 6 is a schematic structural diagram of Embodiment 4 of the working link according to the invention.
  • In FIGS: 1, first main valve core; 2, second main valve core; 3, compensation valve core; 4.1, first electric proportional pressure reducing valve; 4.2, second electric proportional pressure reducing valve; 4.3, third electric proportional pressure reducing valve; 5.1, first port overflow valve; 5.2, second port overflow valve; 6.1, first LS overflow valve; 6.2, second LS overflow valve; 7, check valve; 8.1, first control and selection oil line; 8.2, second control and selection oil line; 8.3, third control and selection oil line; 9, electric-control LS overflow valve; 10.1, first electric proportional reversing valve; 10.2, second electric proportional reversing valve; 11, manual end cover; 12, plug.
  • DETAILED DESCRIPTION OF THE INVENTION
  • Illustrative embodiments of the invention are explained below in conjunction with the accompanying drawings, with various details to facilitate understanding, and all these details should be construed as illustrative merely. Therefore, those ordinarily skilled in the art should understand that various transformations and modifications can be made to the embodiments described here without departing from the scope and spirit of the invention. Similarly, for the sake of clarity and brevity, commonly known functions and structures are not described below.
  • Embodiment 1
  • As shown in FIG. 2 and FIG. 3, a working link comprises a valve body, a first main valve core 1, a second main valve core 2 and a pilot control module, wherein an oil supply port P, a working oil port A and a working oil port B are arranged on the valve body, the first main valve core 1 is movably arranged in the valve body and used for controlling oil to flow out via the working oil port A and to return via the working oil port B or controlling oil to flow out via the working oil port B and to return via the working oil port A, the second main valve core 2 is movably arranged in the valve body and is used for controlling the quantity of oil entering the working link from the oil supply port P, and the pilot control module comprises a first pilot control unit used for controlling the first main valve core 1 to move and a second pilot control unit for controlling the second main valve core 2 to move.
  • Specifically, an oil return port T1, an oil return port T2, an oil supply line and working oil lines are arranged on the valve body, the oil supply line is connected to the first main valve core 1 from the oil supply port P via the second main valve core 2, the working oil lines comprise a first working oil line and a second working oil line, the first working oil line is formed between the first main valve core 1 and the working oil port A, and the second working oil line is formed between the first main valve core 1 and the working oil port B; when the first main control core 1 controls oil to flow out via the working oil port A and to return via the working oil port B, the oil supply line is connected to the first working oil line, and the second working oil line is connected to the oil return port T2; when the first main valve core 1 controls oil to flow out via the working oil port B and to return via the working oil port A, the oil supply line is connected to the second working oil line, the first working oil line is connected to the oil return port T1; and a first port overflow valve 5.1 is arranged in the first working oil line, a second port overflow valve 5.2 is arranged in the second working oil line, and the first port overflow valve 5.1 and the second port overflow valve 5.2 are used for setting maximum working pressures of the working oil port A and the working oil port B to protect an actuator.
  • In some embodiments, the working line further comprises a pressure difference control module, which is arranged between the oil supply port P and the second main valve core 2 and used for controlling a pressure difference between an oil inlet and an oil outlet of the second main valve core 2 to be constant. In this embodiment, the pressure difference control module is configured as a compensation valve core 3.
  • In some embodiments, the first pilot control unit has a first pilot control oil line and a second pilot control oil line, and the first pilot control oil line and the second pilot control oil line are connected to two control cavities of the first main valve core 1 respectively; and the second pilot control unit has a third pilot control oil line, and the third pilot control oil line is connected to a spring cavity of the second main valve core 2.
  • In some embodiments, the first pilot control unit comprises a first electric proportional pressure reducing valve 4.1 and a second electric proportional pressure reducing valve 4.2, the first pilot control oil line is led out from an outlet of the first electric proportional pressure reducing valve 4.1, and the second pilot control oil line is led out from an outlet of the second electric proportional pressure reducing valve 4.2; and the second pilot control unit comprises a third electric proportional pressure reducing valve 4.3, and the third pilot control oil line is led out from an outlet of the third electric proportional pressure reducing valve 4.3.
  • Further, the first main valve core 1 is used for controlling an oil inlet direction and a return backpressure. The second main valve core 2 is used for controlling an oil inlet flow. A spring is arranged at one end of the compensation valve core 3, the pressure of an end, without the spring, of the compensation valve core 3 is an inlet pressure of the second main valve core 2, the pressure of the end, with the spring, of the compensation valve core 3 is an outlet pressure of the second main valve core 2, and the compensation valve core 3 is used for controlling the pressure difference between the oil inlet and the oil outlet of the second main valve core 2 to maintain the pressure difference between the oil inlet and the oil outlet of the second main valve core 2 approximately constant, thereby improving the control precision of the oil inlet flow. The first main valve core 1 and the second main valve core 2 work together to control the return backpressure and the oil inlet flow of the actuator separately so as to realize a valve port independent control function.
  • The compensation valve core 3 of the working link can be removed directly, pressure sensors are arranged at the oil inlet and the oil outlet, a displacement sensor is arranged on the second main valve core 2, and a flow-pressure difference control algorithm is used to control the flow of the actuator.
  • During the working process, the oil supply port P of the working link is connected to P1 by means of a throttling opening of the compensation valve core 3, P1 is connected to an oil inlet cavity of the second main valve core 2, the oil pressure from P1 reaches a spring-free cavity P3 of the compensation valve core 3 through an oil passage in the compensation valve core 3, P1 is connected to P2 by means of the second main valve core 2, the displacement of the second main valve core 2 is controlled by the third electric proportional pressure reducing valve 4.3, and the oil pressure from P2 reaches P4 through an oil passage in the first main valve core 1 and finally reaches a spring cavity of the compensation valve core 3, thus guaranteeing that the difference between the pressure of the second main valve core 2 in front of the throttling opening and the pressure of the second main valve core 2 behind the throttling opening is approximately constant. In this way, the flow passing through the second main valve core 2 is only related to the flow area of the second main valve core 2, the flow area of the second main valve core 2 depends on the displacement of the second main valve core 2, the displacement of the second main valve core 2 is determined by the third electric proportional pressure reducing valve 4.3, the third electric proportional pressure reducing valve 4.3 outputs a pilot control pressure in proportion to its control current to control the displacement of the second main valve core 2, and finally, the flow of the second main valve core 2 is controlled to be in proportion to the control current of the third electric proportional pressure reducing valve 4.3.
  • After hydraulic oil passes through P2, the first main valve core 1 reverses, and the hydraulic oil reaches the working oil port A/B through the first main valve core 1. The movement direction of the first main valve core 1 is controlled by the first electric proportional pressure reducing valve 4.1 and the second electric proportional pressure reducing valve 4.2. (1) When a current is applied to the first electric proportional pressure reducing valve 4.1, a generated pilot pressure reaches a spring cavity of a manual end cover 11 through an oil passage in the valve body, the first main valve core 1 moves towards a spring-free cavity, oil from P2 reaches the working oil port A, the working oil port B is connected to the return port T2, and the displacement of the first main valve core 1 is set according to a pressure required by the working oil port B; in a load condition where the working oil port B requires a high pressure, the displacement of the first main valve core 1 is decreased to reduce the flow area from the working oil port B to the return port T2, thus increasing the pressure of the working oil port B. (2) When a current is applied to the electric proportional pressure reducing valve 4.2, a generated pilot pressure reaches the spring-free cavity of the first main valve core 1 through an oil passage in the valve body, the first main valve core 1 moves towards the spring cavity, oil from P2 reaches the working oil port B, the working oil port A is connected to the return port T1, and the displacement of the first main valve core 1 is set according to a pressure required by the working oil port A; in a load condition where the working oil port A requires a high pressure, the displacement of the first main valve core 1 is decreased to reduce the flow area from the working oil port A to the return port T1, thus increasing the pressure of the working oil port A.
  • When a large backpressure from the working oil port A/B to the return port T1/T2 is needed, in order to prevent a large pressure loss from P2 to the working oil port B/A, the overlap, from P2 to the working oil port A/B, of the first main valve core 1 is less than the overlap, from the working oil port A/B to the return port T1/T2, of the first main valve core 1, thus ensuring that the flow area from P2 to the working oil port B/A is still large in a case where the flow area from the working oil port A/B to the return port T1/T2 is small.
  • That is, the first main valve core 1 controls the oil inlet direction and the return restriction area, and the second main valve core 2 controls the oil inlet flow, thus realizing separate control over the oil inlet and the oil outlet. The compensation valve core 3 is arranged in front of the second main valve core 2, accurate flow control is realized based on the pre-compensation load-sensitive principle, and control is simple and stable.
  • Embodiment 2
  • As shown in FIG. 4, the working link further comprises an electric-control LS overflow valve 9, an inlet of the electric-control LS overflow valve 9 is connected to the load feedback oil passage, the first load-sensitive oil line or the second load-sensitive oil line, a first control and selection oil line 8.1, a second control and selection oil line 8.2 and a third control and selection oil line 8.3 are arranged on the valve body, the first control and selection oil line 8.1 is used for connecting the inlet of the electric-control LS overflow valve 9 and the first load-sensitive oil line, the second control and selection oil line 8.2 is used for connecting the inlet of the electric-control LS overflow valve 9 and the second load-sensitive oil line, the third control and selection oil line 8.3 is used for connecting the inlet of the electric-control LS overflow valve 9 and the load feedback oil line (a radial oil passage in the axis of the first main valve core), and a check valve 7 is arranged between the load feedback oil passage and an LS oil passage on the valve body. The first control and selection oil line 8.1, the second control and selection oil line 8.2 and the third control and selection oil line 8.3 are connected to an LSA oil passage, an LSB oil passage and an LS oil passage in a valve seat of the electric-control LS overflow valve 9, and the LSA oil passage, the LSB oil passage and the LS oil passage in the valve seat of the electric-control LS overflow valve 9 are connected to an oil inlet passage of the electric-control LS overflow valve 9. When the pressure of the LSA oil passage needs to be remotely controlled, the LSB oil passage and the LS oil passage in the valve seat of the electric-control LS overflow valve 9 can be blocked, only the LSA oil passage remains unblocked, and at this moment, the electric-control LS overflow valve 9 can remotely control the pressure of the LSA oil passage. The pressure of the LSB oil passage and the pressure of the LS oil passage can be remotely controlled in the same way.
  • Embodiment 3
  • As shown in FIG. 5, the first pilot control unit comprises a first electric proportional reversing valve 10.1, and the first pilot control oil line and the second pilot control oil line are led out from two outlets of the first electric proportional reversing valve 10.1 respectively; the second pilot control unit comprises a second electric proportional reversing valve 10.2, and the third pilot control oil line is led out from an outlet of the second electric proportional reversing valve 10.2; and the working link further comprises a control handle and a controller used for receiving a control signal from the control handle by means of a CAN bus, and the controller calculates the displacement of the first main valve core 1 and/or the second main valve core 2 according to the control signal and controls the first main valve core 1 and/or the second main valve core 2 to move by means of the corresponding first electric proportional reversing valve 10.1 and/or second electric proportional reversing valve 10.2. In the working process, an end cover of the control handle sends out a signal, the signal is transmitted to the controller by means of the CAN bus, the controller calculates the desired displacement of the first main valve core 1 and the desired displacement of the second main valve core 2 and outputs control current signals to the corresponding first electric proportional reversing valve 10.1 and second electric proportional reversing valve 10.2, the first electric proportional reversing valve 10.1 and the second electric proportional reversing valve 10.2 start to reverse to drive the first main valve core 1 and the second main valve core 2 to move, and the displacement of the valve cores is monitored in real time by means of displacement sensors; and when the desired displacement of the corresponding valve core is satisfied, the corresponding first electric proportional reversing valve 10.1 and/or second electric proportional reversing valve 10.2 is controlled to be powered off. When the first main valve core 1 and the second main valve core 2 deviate from original positions due to leakage of the pilot oil lines of the first main valve core 1 and the second main valve core 2, the first electric proportional reversing valve 10.1 and the second electric proportional reversing valve 10.2 are powered on again. Therefore, the first electric proportional reversing valve 10.1 and the second electric proportional reversing valve 10.2 are power on and off frequently to maintain the first main valve core 1 and the second main valve core 2 at desired positions. The first electric proportional reversing valve 10.1 and the second electric proportional reversing valve 10.2 are both three-position four-way reversing valves.
  • An LS oil port and a load feedback oil passage are arranged on the first main valve core 1, the oil supply line is connected to the load feedback oil passage by means of the LS oil port, a first load-sensitive oil line and a second load-sensitive oil line are arranged on the valve body, a first LS overflow valve 6.1 is arranged on the first load-sensitive oil line, and a second LS overflow valve 6.2 is arranged on the second load-sensitive oil line; when oil flows out via the working oil port A and returns via the working oil port B, the load feedback oil passage is connected to the first load-sensitive oil line; when oil flows out via the working oil port B and returns via the working oil port A, the load feedback oil passage is connected to the second load-sensitive oil line; when the pressure of the working oil port A or the working oil port B exceeds the pressure of the corresponding LS overflow valve, the corresponding LS overflow valve is turned on, the pressure of the working oil port A or the working oil port B further rises, the pressure of the corresponding LS oil line will not rise anymore, the flow capacity of the compensation valve core 3 is reduced, and the flow of the actuator is decreased, thus fulfilling a safety protection effect; moreover, an LSA pressure measurement port and an LSB pressure measurement port can be arranged correspondingly to measure the pressure of corresponding LS oil lines.
  • In addition, a pressure measurement passage for the working oil port A, the working oil port B and P2 can be reserved on the valve body to measure the pressure of the working oil port A, the pressure of the working oil port B, the pressure of P and the pressure of P2, such that the flow and pressure of a main oil line are controlled by flow calculation control and pressure calculation control.
  • Embodiment 4
  • As shown in FIG. 6, the second main valve core 2 in the above embodiments is replaced with a plug 12; in a case where an LSA oil port, an LSB oil port and a load feedback oil passage are arranged on the first main valve core 1, the oil supply line is connected to the load feedback oil passage by means of the LSA oil port or the LSB oil port, a first load-sensitive oil line and a second load-sensitive oil line are arranged on the valve body, a first LS overflow valve 6.1 is arranged on the first load-sensitive oil line, and a second LS overflow valve 6.2 is arranged on the second load-sensitive oil line; when oil flows out via the working oil port A and returns via the working oil port B, the LSA oil port is connected to the first load-sensitive oil line by means of the load feedback oil passage; when oil flows out via the working oil port B and returns via the working oil port A, the LSB oil port is connected to the second load-sensitive oil line by means of the load feedback oil passage; a high pressure from the working oil port A or the working oil port B is guided to a spring cavity of a compensation valve as control oil, the compensation valve core 3 is provided with a spring, the pressure of a spring-free cavity is the same as the pressure of an oil inlet of the first main valve core 1, the pressure of a spring cavity is the same as the pressure of an oil outlet of the first main valve core 1, and a pressure difference between the oil inlet and the oil outlet of the first main valve core 1 is maintained approximately constant by means of the compensation valve, thus fulfilling the function of a traditional pre-compensation load-sensitive multi-way valve.
  • The working link provided by the invention is applied to a valve port impendent control type multi-way valve to realize separate control over an oil inlet and an oil outlet.
  • The valve port impendent control type multi-way valve provided by the invention is applied to an engineering machine to improve the overall performance of the machine.
  • Compared with the prior art, the working link, the valve port independent control type multi-way valve and the engineering machine provided by the embodiments of the invention have the following advantages: the working link can realize independent control over an oil inlet and an oil outlet, and can use a manual control mode, an electro-hydraulic proportion control mode, and a CAN bus control mode. The problem of mechanical and fixed connection of an oil inlet and an oil outlet of a traditional multi-way valve is solved, and the degree of freedom of control is increased; the problem of complex and unstable control over an existing port-independent valve is solved; moreover, the structure is simple, the flow control precision is high, the cost is low, and switching between a port-independent valve and a traditional pre-compensation load-sensitive multi-way valve can be achieved by means of the combination of different accessories. In addition, with the development of the sensor technology and the control technology in the future, flow calculation control and pressure calculation control can be realized on the premise of not changing the structure of the valve body; moreover, the second main valve core is replaced with a plug, and the pattern of a throttling opening in the first main valve core is changed, such that the function of a pre-compensation load-sensitive multi-way valve of a traditional structure can be achieved by means of the working link of this design, thereby improving the performance of the valve port independent control type valve and even the performance of the engineering machine.
  • The above specific embodiments are not intended to limit the protection scope of the invention. Those skilled in the art should understand that, various amendments, combinations, sub-combinations and substitutions can be made depending on design requirements and other factors. Any amendments, equivalent substitutions and improvements made based on the spirit and principle of the invention should also fall within the protection scope of the invention.

Claims (15)

  1. A working link, comprising:
    a valve body, formed with an oil supply port P, a working oil port A and a working oil port B;
    a first main valve core, movably arranged in the valve body and used for controlling oil to flow out via the working oil port A and to return via the working oil port B or controlling oil to flow out via the working oil port B and to return via the working oil port A;
    a second main valve core, movably arranged in the valve body and used for controlling the quantity of oil entering the working link from the oil supply port P; and
    a pilot control module, comprising a first pilot control unit for controlling the first main valve core to move and a second pilot control unit for controlling the second main valve core to move.
  2. The working link according to Claim 1, wherein an oil return port T1, an oil return port T2, an oil supply line and working oil lines are arranged on the valve body;
    the oil supply line is connected to the first main valve core from the oil supply port P via the second main valve core;
    the working oil lines comprise a first working oil line and a second working oil line, the first working oil line is formed between the first main valve core and the working oil port A, and the second working oil line is formed between the first main valve core and the working oil port B;
    when the first main control core controls oil to flow out via the working oil port A and to return via the working oil port B, the oil supply line is connected to the first working oil line, and the second working oil line is connected to the oil return port T2; when the first main valve core controls oil to flow out via the working oil port B and to return via the working oil port A, the oil supply line is connected to the second working oil line, the first working oil line is connected to the oil return port T1.
  3. The working link according to Claim 2, wherein a first port overflow valve is arranged in the first working oil line, and a second port overflow valve is arranged in the second working oil line.
  4. The working link according to Claim 1, further comprising a pressure difference control module, wherein the pressure difference control module is arranged between the oil supply port P and the second main valve core and used for controlling a pressure difference between an oil inlet and an oil outlet of the second main valve core to be constant.
  5. The working link according to Claim 4, wherein the pressure difference control module is configured as a compensation valve core.
  6. The working link according to Claim 1, wherein the first pilot control unit has a first pilot control oil line and a second pilot control oil line, and the first pilot control oil line and the second pilot control oil line are connected to two control cavities of the first main valve core respectively; and the second pilot control unit has a third pilot control oil line, and the third pilot control oil line is connected to a spring cavity of the second main valve core.
  7. The working link according to Claim 6, wherein the first pilot control unit comprises a first electric proportional pressure reducing valve and a second electric proportional pressure reducing valve, the first pilot control oil line is led out from an outlet of the first electric proportional pressure reducing valve, and the second pilot control oil line is led out from an outlet of the second electric proportional pressure reducing valve; and the second pilot control unit comprises a third electric proportional pressure reducing valve, and the third pilot control oil line is led out from an outlet of the third electric proportional pressure reducing valve.
  8. The working link according to Claim 6, wherein the first pilot control unit comprises a first electric proportional reversing valve, and the first pilot control oil line and the second pilot control oil line are led out from two outlets of the first electric proportional reversing valve respectively; and the second pilot control unit comprises a second electric proportional reversing valve, and the third pilot control oil line is led out from an outlet of the second electric proportional reversing valve.
  9. The working link according to Claim 8, further comprising a control handle and a controller used for receiving a control signal from the control handle by means of a CAN bus, wherein the controller calculates a displacement of the first main valve core and/or the second main valve core according to the control signal and controls the first main valve core and/or the second main valve core to move by means of the corresponding first electric proportional reversing valve and/or second electric proportional reversing valve.
  10. The working link according to Claim 1, wherein an LS oil port and a load feedback oil passage are arranged on the first main valve core, the oil supply line is connected to the load feedback oil passage by means of the LS oil port, a first load-sensitive oil line and a second load-sensitive oil line are arranged on the valve body, a first LS overflow valve is arranged on the first load-sensitive oil line, and a second LS overflow valve is arranged on the second load-sensitive oil line;
    when oil flows out via the working oil port A and returns via the working oil port B, the load feedback oil passage is connected to the first load-sensitive oil line;
    when oil flows out via the working oil port B and returns via the working oil port A, the load feedback oil passage is connected to the second load-sensitive oil line.
  11. The working link according to Claim 10, further comprising an electric-control LS overflow valve, wherein an inlet of the electric-control LS overflow valve is connected to the load feedback oil passage, the first load-sensitive oil line or the second load-sensitive oil line.
  12. The working link according to Claim 11, wherein a first control and selection oil line, a second control and selection oil line and a third control and selection oil line are arranged on the valve body, the first control and selection oil line is used for connecting the inlet of the electric-control LS overflow valve and the first load-sensitive oil line, the second control and selection oil line is used for connecting the inlet of the electric-control LS overflow valve and the second load-sensitive oil line, and the third control and selection oil line is used for connecting the inlet of the electric-control LS overflow valve and the load feedback oil line.
  13. The working link according to Claim 1, wherein the second main valve core is replaced with a plug; an LSA oil port, an LSB oil port and a load feedback oil passage are arranged on the first main valve core, the oil supply line is connected to the load feedback oil passage by means of the LSA oil port or the LSB oil port, a first load-sensitive oil line and a second load-sensitive oil line are arranged on the valve body, a first LS overflow valve is arranged on the first load-sensitive oil line, and a second LS overflow valve is arranged on the second load-sensitive oil line;
    when oil flows out via the working oil port A and returns via the working oil port B, the LSA oil port is connected to the first load-sensitive oil line by means of the load feedback oil passage;
    when oil flows out via the working oil port B and returns via the working oil port A, the LSB oil port is connected to the second load-sensitive oil line by means of the load feedback oil passage.
  14. A valve port independent control type multi-way valve, comprising one or more said working links according to any one of Claims 1-13.
  15. An engineering machine, comprising the valve port independent control type multi-way valve according to Claim 14.
EP22896974.7A 2021-11-23 2022-02-21 WORKING CONNECTION, VALVE PORT INDEPENDENT MULTI-WAY VALVE WITH CONTROL AND TECHNICAL MACHINE Pending EP4438909A4 (en)

Applications Claiming Priority (2)

Application Number Priority Date Filing Date Title
CN202111396252.7A CN114165495B (en) 2021-11-23 2021-11-23 Work-coupled, valve-port independent control multi-way valve and construction machinery
PCT/CN2022/077059 WO2023092871A1 (en) 2021-11-23 2022-02-21 Working link, valve port independent control type multi-way valve, and engineering machine

Publications (2)

Publication Number Publication Date
EP4438909A1 true EP4438909A1 (en) 2024-10-02
EP4438909A4 EP4438909A4 (en) 2025-06-18

Family

ID=80480080

Family Applications (1)

Application Number Title Priority Date Filing Date
EP22896974.7A Pending EP4438909A4 (en) 2021-11-23 2022-02-21 WORKING CONNECTION, VALVE PORT INDEPENDENT MULTI-WAY VALVE WITH CONTROL AND TECHNICAL MACHINE

Country Status (3)

Country Link
EP (1) EP4438909A4 (en)
CN (1) CN114165495B (en)
WO (1) WO2023092871A1 (en)

Families Citing this family (7)

* Cited by examiner, † Cited by third party
Publication number Priority date Publication date Assignee Title
CN115681262B (en) * 2022-10-27 2023-06-20 华东交通大学 Load-sensitive electrohydraulic conversion oil inlet module
CN116255371A (en) * 2022-12-22 2023-06-13 徐州重型机械有限公司 Cooperative control device and method for multi-way valve and multi-actuator
CN116733806B (en) * 2023-07-31 2025-10-03 圣邦集团有限公司 A multi-way valve with automatic oil replenishment function
CN118188620B (en) * 2024-01-30 2025-09-30 浙江大学 An electro-hydraulic control valve integrated module with multi-state self-monitoring function
CN118408055A (en) * 2024-06-27 2024-07-30 浙江大学 Position control assembly and explosion-proof reversing unit and multi-way reversing valve using same
CN118953203B (en) * 2024-10-16 2024-12-20 临工重机股份有限公司 Container overturning device, container overturning control method and hinged dumper
CN119616955B (en) * 2024-12-27 2025-11-21 北京天玛智控科技股份有限公司 Valve port independent type water-based proportional reversing valve and control method thereof

Family Cites Families (12)

* Cited by examiner, † Cited by third party
Publication number Priority date Publication date Assignee Title
US4353289A (en) * 1980-05-29 1982-10-12 Sperry Corporation Power transmission
DE502008002003D1 (en) * 2008-08-20 2011-01-20 Hawe Hydraulik Se Hydraulic control for a hydraulic motor
CN102506030B (en) * 2011-09-26 2014-11-19 三一重型装备有限公司 Multi-way valve and tunnel boring machine
CN105840574B (en) * 2015-01-16 2018-04-06 徐工集团工程机械股份有限公司 Load sensing multi-way valve and construction machinery hydraulic system
CN106762916B (en) * 2017-02-28 2018-09-04 徐工集团工程机械有限公司 Work connection, load sensing multi-way valve and engineering machinery
EP3752683B1 (en) * 2018-02-12 2023-06-28 Parker-Hannifin Corporation Hydraulic control valve configured to use a pilot signal as a substitute load-sense signal
CN108252979A (en) * 2018-03-19 2018-07-06 徐工集团工程机械有限公司 Hydraulic control valve and hydraulic system
DE102018003728A1 (en) * 2018-05-07 2019-11-07 Hydac Mobilhydraulik Gmbh Valve arrangement for supplying pressure medium to a hydraulic consumer
CN112714831B (en) * 2018-06-13 2023-07-14 派克汉尼汾(欧洲、中东和非洲)公司 Hydraulic valve device
CN109441905B (en) * 2018-12-26 2020-01-07 太原理工大学 A variable pressure differential load-sensing multi-way valve
CN109707688B (en) * 2018-12-29 2020-08-18 中国煤炭科工集团太原研究院有限公司 Flow anti-saturation load sensitive multi-way valve with front pressure compensator
CN113931892B (en) * 2021-09-28 2022-06-14 中联重科股份有限公司 Load-sensitive multi-way valve with independently controlled load port and hydraulic system

Also Published As

Publication number Publication date
WO2023092871A1 (en) 2023-06-01
EP4438909A4 (en) 2025-06-18
CN114165495A (en) 2022-03-11
CN114165495B (en) 2022-10-18

Similar Documents

Publication Publication Date Title
EP4438909A1 (en) Working link, valve port independent control type multi-way valve, and engineering machine
CN106382271B (en) The double spool PLC technology hydraulic valve and its method of a kind of high-speed switch valve pilot control
US20120224983A1 (en) Multi-way valve, hydraulic device and concrete pump vehicle
CN106762909B (en) A kind of hydraulic multitandem valve and its control method of high-speed switch valve pilot control
CN109882462B (en) Hydraulic control proportion and load sensitivity fusion variable pump and hydraulic control intelligent flow distribution system
CN112746996B (en) Load sensitive system and engineering hoisting machinery
CN109826836B (en) Intelligent variable pump and hydraulic control system
CN113931893A (en) Load-sensitive multi-way valve with independently controlled load port and hydraulic system
EP2670987B1 (en) Directional valve equipped with pressure control
CN117702856A (en) Electro-hydraulic steering accurate control device and method for engineering machinery
CN113915185B (en) Load port independent control load sensitive multi-way valve and hydraulic system
CN105822618A (en) Lifting valve plate of electric-hydraulic proportional multi-way valve of forklift
CN212429388U (en) A load-sensing multi-way valve group
CN109798272B (en) A compound variable pump and compound hydraulic control system
CN108716491B (en) Three-position five-way load port independent control multi-way valve with O-shaped neutral position function
CN113431127B (en) Main control valve, constant-variable hydraulic system and loader
CN203822733U (en) Full load sensitive multitandem valve used for caterpillar crane
CN107477160B (en) Hydraulic speed regulation system and engineering machinery
CN113931896A (en) Load port independent control load sensitive multi-way valve and hydraulic system
CN109519428B (en) Multi-hydraulic-pump composite control system, working coupler and engineering machinery
CN113931891B (en) Load port independent control load sensitive multi-way valve and hydraulic system
CN214367035U (en) Main control valve and hydraulic system meeting electric control and hydraulic control
CN113931892B (en) Load-sensitive multi-way valve with independently controlled load port and hydraulic system
CN212717425U (en) Hydraulic system and engineering machinery
CN114109941B (en) Integrated multifunctional hydraulic valve oil inlet linkage assembly and hydraulic valve

Legal Events

Date Code Title Description
STAA Information on the status of an ep patent application or granted ep patent

Free format text: STATUS: THE INTERNATIONAL PUBLICATION HAS BEEN MADE

PUAI Public reference made under article 153(3) epc to a published international application that has entered the european phase

Free format text: ORIGINAL CODE: 0009012

STAA Information on the status of an ep patent application or granted ep patent

Free format text: STATUS: REQUEST FOR EXAMINATION WAS MADE

17P Request for examination filed

Effective date: 20240529

AK Designated contracting states

Kind code of ref document: A1

Designated state(s): AL AT BE BG CH CY CZ DE DK EE ES FI FR GB GR HR HU IE IS IT LI LT LU LV MC MK MT NL NO PL PT RO RS SE SI SK SM TR

DAV Request for validation of the european patent (deleted)
DAX Request for extension of the european patent (deleted)
RIC1 Information provided on ipc code assigned before grant

Ipc: F15B 11/16 20060101ALI20250203BHEP

Ipc: F15B 11/05 20060101ALI20250203BHEP

Ipc: F15B 11/042 20060101ALI20250203BHEP

Ipc: F15B 21/02 20060101ALI20250203BHEP

Ipc: F15B 13/02 20060101AFI20250203BHEP

A4 Supplementary search report drawn up and despatched

Effective date: 20250515

RIC1 Information provided on ipc code assigned before grant

Ipc: F15B 11/16 20060101ALI20250509BHEP

Ipc: F15B 11/05 20060101ALI20250509BHEP

Ipc: F15B 11/042 20060101ALI20250509BHEP

Ipc: F15B 21/02 20060101ALI20250509BHEP

Ipc: F15B 13/02 20060101AFI20250509BHEP