EP4212039B1 - Aerosol generation device, method for heating a smoking article, and aerosol generation system - Google Patents

Aerosol generation device, method for heating a smoking article, and aerosol generation system Download PDF

Info

Publication number
EP4212039B1
EP4212039B1 EP23161447.0A EP23161447A EP4212039B1 EP 4212039 B1 EP4212039 B1 EP 4212039B1 EP 23161447 A EP23161447 A EP 23161447A EP 4212039 B1 EP4212039 B1 EP 4212039B1
Authority
EP
European Patent Office
Prior art keywords
aerosol
heater
smoking article
period
generation device
Prior art date
Legal status (The legal status is an assumption and is not a legal conclusion. Google has not performed a legal analysis and makes no representation as to the accuracy of the status listed.)
Active
Application number
EP23161447.0A
Other languages
German (de)
French (fr)
Other versions
EP4212039C0 (en
EP4212039A1 (en
Inventor
Manabu Yamada
Manabu Takeuchi
Yasunobu Inoue
Tateki SUMII
Kimitaka UCHII
Current Assignee (The listed assignees may be inaccurate. Google has not performed a legal analysis and makes no representation or warranty as to the accuracy of the list.)
Japan Tobacco Inc
Original Assignee
Japan Tobacco Inc
Priority date (The priority date is an assumption and is not a legal conclusion. Google has not performed a legal analysis and makes no representation as to the accuracy of the date listed.)
Filing date
Publication date
Application filed by Japan Tobacco Inc filed Critical Japan Tobacco Inc
Priority to EP23161447.0A priority Critical patent/EP4212039B1/en
Priority to HUE23161447A priority patent/HUE072072T2/en
Priority to ES23161447T priority patent/ES3034769T3/en
Priority to PL23161447.0T priority patent/PL4212039T3/en
Publication of EP4212039A1 publication Critical patent/EP4212039A1/en
Application granted granted Critical
Publication of EP4212039B1 publication Critical patent/EP4212039B1/en
Publication of EP4212039C0 publication Critical patent/EP4212039C0/en
Active legal-status Critical Current
Anticipated expiration legal-status Critical

Links

Images

Classifications

    • AHUMAN NECESSITIES
    • A24TOBACCO; CIGARS; CIGARETTES; SIMULATED SMOKING DEVICES; SMOKERS' REQUISITES
    • A24FSMOKERS' REQUISITES; MATCH BOXES; SIMULATED SMOKING DEVICES
    • A24F40/00Electrically operated smoking devices; Component parts thereof; Manufacture thereof; Maintenance or testing thereof; Charging means specially adapted therefor
    • A24F40/50Control or monitoring
    • A24F40/57Temperature control
    • AHUMAN NECESSITIES
    • A24TOBACCO; CIGARS; CIGARETTES; SIMULATED SMOKING DEVICES; SMOKERS' REQUISITES
    • A24FSMOKERS' REQUISITES; MATCH BOXES; SIMULATED SMOKING DEVICES
    • A24F40/00Electrically operated smoking devices; Component parts thereof; Manufacture thereof; Maintenance or testing thereof; Charging means specially adapted therefor
    • A24F40/50Control or monitoring
    • AHUMAN NECESSITIES
    • A24TOBACCO; CIGARS; CIGARETTES; SIMULATED SMOKING DEVICES; SMOKERS' REQUISITES
    • A24FSMOKERS' REQUISITES; MATCH BOXES; SIMULATED SMOKING DEVICES
    • A24F40/00Electrically operated smoking devices; Component parts thereof; Manufacture thereof; Maintenance or testing thereof; Charging means specially adapted therefor
    • A24F40/20Devices using solid inhalable precursors

Definitions

  • the present invention relates to an aerosol generation device, a method for heating a smoking article and an aerosol generation system.
  • Patent Literature 1 and Patent Literature 2 A non-combustion-type aerosol generation device, which is used in place of a prior-art combustion-type cigarette, for sucking aerosol generated by atomizing an aerosol forming base-material (a smoking article) by a heater has been known (Patent Literature 1 and Patent Literature 2).
  • Patent Literature 1 discloses an aerosol generation device which comprises a smoking article comprising a solid aerosol forming base-material, and a blade-type heater that is to be inserted in the aerosol forming base-material when it is used. The heater heats the aerosol forming base-material from the inside thereof.
  • Patent Literature 2 discloses an aerosol generation device which comprises a smoking article comprising a solid aerosol forming base-material, and a cylinder-type heater that is to be positioned in an outer periphery part of the aerosol forming base-material when it is used. The heater heats the aerosol forming base-material from the outer periphery side.
  • EP 3 062 644 A2 relates to an apparatus to heat smokable material to volatilise at least one component of the smokable material.
  • the apparatus has a housing and a plurality of heater segments longitudinally arranged within the housing for heating smokable material contained within the apparatus. At least one heater segment is arranged so as to heat smokable material contained within the at least one heater segment more quickly than at least one other heater segment heats smokable material contained within the at least one other heater segment.
  • a user can easily recognize a specific stage, i.e., one of an initial period, an intermediate period, and a final period of a suction allowable period, that the user is presently in, by visually recognizing a position of the cigarette where the cigarette is burning.
  • a specific stage i.e., one of an initial period, an intermediate period, and a final period of a suction allowable period
  • the delivery profile of main aerosol components described in Patent Literature 1 exhibits increase in an initial period of operation of a heater, and, thereafter, maintains the delivery profile in a constant state until the heater is stopped.
  • a specific period i.e., one of an initial period, an intermediate period, and a final period of a suction allowable period, that the user is presently in.
  • a heater which is constructed to be able to heat an outer periphery of a smoking article comprising an aerosol source, is controlled in such a manner that a delivery profile of aerosol in a predetermined suction allowable period comprises one or plural maximum values in a period between a start point and an end point in the suction allowable period.
  • the delivery profile of aerosol increases first, has a maximum value thereafter, and decreases thereafter.
  • a user can recognize a specific period, i.e., one of an initial period, an intermediate period, and a final period of a suction allowable period, that the user is presently in, based on sensation felt when sucking aerosol.
  • Fig. 1 is a figure showing a flavor inhaler according to an embodiment.
  • Fig. 2 is a figure showing the flavor inhaler in which a smoking article is inserted.
  • Fig. 3 is a figure showing an internal construction of the flavor inhaler shown in Fig. 2 .
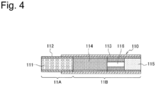
  • Fig. 4 is a figure showing an internal construction of the smoking article shown in Fig. 2 .
  • Fig. 5 is a block diagram of the flavor inhaler.
  • the flavor inhaler 100 may be a non-combustion-type flavor inhaler for generating, without a combustion process, aerosol from a smoking article.
  • the flavor inhaler 100 may be a portable device.
  • the flavor inhaler 100 comprises a smoking article 110 including an aerosol source, and an aerosol generation device 120 for generating aerosol from the smoking article 110.
  • the smoking article 110 is an exchangeable cartridge which may include an aerosol source and a flavor source, and has a column shape extending in a longitudinal direction.
  • the smoking article 110 may be constructed to generates aerosol and flavor components when it is heated in the state that it is inserted in the aerosol generation device 120.
  • the smoking article 110 comprises a base material part 11A, which comprises a filling article 111 and first rolling paper 112 by which the filling article 111 is wound, and a suction opening part 11B which forms an end part opposite to the base material part 11A.
  • the base material part 11A and the suction opening part 11B are connected by second rolling paper 113 which is different from the first rolling paper 112.
  • the suction opening part 11B in Fig. 4 comprises a paper tube part 114, a filter part 115, a hollow segment part 116 positioned between the paper tube part 114 and the filter part 115.
  • the hollow segment part 116 comprises a filling layer including one or plural hollow channels, and a plug wrapper for covering the filling layer. Since the density of filled fibers in the filling layer is high, air and aerosol flows through the hollow channel only, and almost no air and aerosol flows through the filling layer, when suction action is performed.
  • the flavor generation article 110 if it is desired to lower a decrease in the quantity of the aerosol components due to filtering in the filter part 115, it is effective to shorten the length of the filter part 115 and replace that part by the hollow segment part 116, for increasing the quantity of delivery of the aerosol.
  • the suction opening part 11B in Fig. 4 is constructed by using three segments; however, in the present embodiment, the suction opening part 11B may be constructed by using one or two segments, or may be constructed by using four or more segments. For example, it is possible to omit the hollow segment part 116, and form the suction opening part 11B by arranging the paper tube part 114 and the filter part 115 adjacent to each other.
  • the length in the longitudinal direction of the smoking article 110 it is preferable to set it to 40-90 mm, more preferable to set it to 50-75 mm, and still more preferably to set it to 50-60 mm.
  • the circumference of the smoking article 110 it is preferable to set it to 15-25 mm, more preferable to set it to 17-24 mm, and still more preferably to set it to 20-23 mm.
  • the length of the base material part 11A may be 20 mm
  • the length of the first rolling paper 112 may be 20 mm
  • the length of the hollow segment part 116 may be 8 mm
  • the length of the filter part 115 may be 7 mm; however, the length of each of the above segments may be changed appropriately, according to suitability to manufacture, required quality, and so on.
  • the filling article 111 in the smoking article 110 may comprise an aerosol source which generates aerosol when heat of predetermined temperature is applied thereto.
  • the kind of the aerosol source is not specifically limited, and extracted material and/or components thereof, that are obtained from various natural products, may be selected as an aerosol source according to a use. Glycerin, propylene glycol, triacetin, 1,3-butanediol, and a mixture thereof, for example, can be listed as aerosol sources.
  • the aerosol source content of the filling article 111 is not specifically limited; and, in view of generation of sufficient quantity of aerosol and satisfactory addition of fragrance inhaling taste, the aerosol source content is usually equal to or greater than 5 weight percent, and, preferably, equal to or greater than 10 weight percent, and is usually equal to or less than 50 weight percent, and, preferably, equal to or less than 20 weight percent.
  • the filling article 111 in the smoking article 110 in the present embodiment may comprise shredded tobacco as a flavor source.
  • the material of shredded tobacco is not specifically limited, and publicly known material such as a lamina, a stem, and so on may be used as the material.
  • the range of the content of the filling article 111 in the smoking article 110, in the case that the circumference is 22 mm and the length is 20 mm, is, for example, 200-400 mg, and, preferably, 250-320 mg.
  • the water content of the filling article 111 is, for example, 8-18 weight percent, and, preferably, 10-16 weight percent.
  • the water content is that explained above, occurrence of staining at the time of rolling is suppressed, and suitability to rolling at the time of manufacture of the base part 11A is made satisfactory.
  • the size, the preparation method, and so on of the shredded tobacco used as the filling article 111 There is no special limitation with respect to the size, the preparation method, and so on of the shredded tobacco used as the filling article 111.
  • dried tobacco leaves cut into pieces, each having the width of 0.8-1.2 mm may be used.
  • dried tobacco leaves are crushed and uniformized to become particles, regarding which the average particle size is 20-200 ⁇ m, and the particles are processed to become a sheet, and the sheet cut into pieces, each having the width of 0.8-1.2 mm, may be used.
  • the above sheet formed via the sheet process may be processed to gather it, and the gathered sheet may be used as the filling article 111.
  • the filling article 111 may comprise one kind or two or more kinds of flavors.
  • the kinds of flavors are not specifically limited; however, in view of provision of satisfactory smoke flavor, a flavor is menthol, preferably.
  • each sheet of the first and second rolling paper 112 and 113 may be constructed by use of base paper which has the basis weight of, for example, 20-65 gsm, and, preferably, 25-45 gsm.
  • the thickness of each sheet of the first and second rolling paper 112 and 113 is not specifically limited; however, in view of rigidness, gas permeability, and easiness of adjustment at the time of paper manufacture, the thickness is set to 10-100 ⁇ m, and, preferably, set to 20-75 ⁇ m, and, more preferably, set to 30-50 ⁇ m.
  • filler may be included in the rolling paper 112 and 113 in the filling article 111.
  • the filler content may be equal to or greater than 10 weight percent and less than 60 weight percent, and, preferably, 15-45 weigh percent, with respect to the total weight of the rolling paper 112 and 113.
  • basis weight 25-45 gsm
  • paper including filler such as that explained above presents a white color that is preferable in view of appearance of paper used as rolling paper of the smoking article 110, and is able to keep its whiteness permanently.
  • the ISO whiteness of rolling paper can be raised to 83 % or more, for example.
  • the rolling paper 112 and 113 have the tensile strength of 8N/15mm or more.
  • the tensile strength can be increased by reducing the filler content. Specifically, the tensile strength can be increased by reducing the filler content to that less than the upper limit of the filler content that has been shown with respect to each range of the basis weight illustrated in the above description.
  • Fig. 3 is referred to; and the aerosol generation device 120 comprises an insertion hole 130 to which the smoking article 110 can be inserted. That is, the aerosol generation device 120 comprises an inner-side cylindrical member 132 which is a component of the insertion hole 130.
  • the inner-side cylindrical member 132 may be constructed by a thermal conduction component such as aluminum, stainless steel (SUS), or the like, for example.
  • the aerosol generation device 120 may comprise a lid part 140 for covering the insertion hole 130.
  • the lid part 140 may be constructed to be able to slide between a state that the insertion hole 130 is closed (refer to Fig. 1 ) and a state that the insertion hole 130 is exposed (refer to Fig. 2 ).
  • the aerosol generation device 120 may comprise an air flow path 160 which communicates with the insertion hole 130.
  • An end of the air flow path 160 is connected to the insertion hole 130, and the other end of the air flow path 160 communicates with the outside (the air outside) of the aerosol generation device 120 via a part different from the insertion hole 130.
  • the aerosol generation device 120 may comprise a lid part 170 for covering an end of the air flow path 160 on a side where the air flow path 160 communicates with the outside air.
  • the lid part 170 may be brought to a state that the end on the outside air communicating side of the air flow path 160 is covered thereby, and a state that the air flow path 160 is exposed.
  • the lid part 170 does not block the air flow path 160 airtightly, even in the state that it covers the air flow path 160. That is, it is constructed that, even in the state that the air flow path 160 is being covered by the lid part 170, the outside air is allowed to flow into the air flow path 160 via a part near the lid part 170.
  • a user holds an end part of the smoking article 110, specifically, the suction opening part 11B in Fig. 4 , in the user's mouth and performs a suction action.
  • the outside air flows into the air flow path 160.
  • the air flown into the air flow path 160 is guided to the inside of the mouth of the user via the smoking article 110 in the insertion hole 130.
  • a user is allowed to clean the inside of the air flow path 160 in the inner-side cylindrical member 132 by using a cleaning device such as a brush.
  • the above cleaning device may be inserted from the side of the top lid part 140 in Fig. 3 to the inside of the air flow path 160, or may be inserted from the side of the bottom lid part 170 to the inside of the air flow path 160.
  • the aerosol generation device 120 may be provided with a temperature sensor in the air flow path 160 or on a wall part which is a component of the air flow path 160.
  • the temperature sensor may be a thermistor, a thermocouple, or the like, for example.
  • the aerosol generation device 120 comprises a battery 10, a control unit 20, and a heater 30.
  • the battery stores electric power that is to be used in the aerosol generation device 120.
  • the battery 10 may be a chargeable/dischargeable secondary battery.
  • the battery may be a lithium-ion battery, for example.
  • the heater 30 may be installed in a position around the inner-side cylindrical member 132.
  • the space in which the heater 30 is housed and the space in which the battery 10 is housed may be separated by a partition wall 180. In the above case, it is possible to suppress the air heated by the heater from entering the space for housing the battery 10. Thus, increase in temperature of the battery 10 can be suppressed.
  • the heater 30 may have a cylindrical shape that make it possible to heat the periphery of the column-shape smoking article 110.
  • the heater 30 may be a film heater, for example.
  • the film heater may comprise a pair of film-shape substrates and a resistance heating element positioned between the pair of film-shape substrates.
  • the film-shape substrate be constructed by use of material having excellent heat resistance and electric insulation, and, typically, the film-shape substrate is constructed by using polyimide.
  • the resistance heating element be constructed by use of one or two or more of copper, nickel alloy, chromium alloy, stainless steel, platinum-rhodium, and so on, and the resistance heating element may be formed by using stainless-steel base material, for example. Further, for connection to an electric power source via a flexible printed circuit (FPC), connection parts and lead parts thereof of the resistance heating element may be copper plated.
  • FPC flexible printed circuit
  • Fig. 6 is a schematic enlarged view of the region 5R in Fig. 3 , and a cross-section view of the heater 30 and parts around it.
  • the heater 30 is the above-explained film heater, and is wound around the periphery of the inner-side cylindrical member 132 which can accept the smoking article 110. That is, the heater 30 is wound in such a manner that it forms a cylinder shape surrounding the inner-side cylindrical member 132. As a result, the heater 30 surrounds the outer periphery of the smoking article, and can heat the smoking article 110 from the outside thereof.
  • a heat-shrinkable tube 136 may be installed on the outer side of the heater 30.
  • the heater 30 be installed in the heat-shrinkable tube 136.
  • the heat-shrinkable tube 136 is a tube 136 which shrinks in a radius direction when heat is applied, and may be constructed by use of thermoplastic elastomer, for example.
  • the heater 30 is pushed to the inner-side cylindrical member 132.
  • adhesion between the heater 30 and the inner-side cylindrical member 132 is enhanced, so that heat conductivity from the heater 30 to the smoking article 220 via the inner-side cylindrical member 132 is improved.
  • the aerosol generation device 120 may comprise a heat insulating material 138 having a cylindrical shape, on the outer side in the radius direction of the heater 30, preferably, on the outer side of the heat-shrinkable tube 136. It is preferable that the heat insulating material 138 be positioned to surround the outer periphery of the heater 30.
  • the heat insulating material 138 may fulfill a role to prevent the temperature of the outer surface of the housing of the aerosol generation device 120 from reaching excessively high temperature, by blocking the heat from the heater 30.
  • the heat insulating material 138 may be constructed by using aerogel, such as silica aerogel, carbon aerogel, alumina aerogel, or the like, for example.
  • the aerogel used as the heat insulating material 138 may be silica aerogel which has a high heat insulation property and can be manufactured by spending a relatively low cost.
  • the heat insulating material 138 may be fiber-type heat insulating material such as glass wool, rock wool, or the like, or may be a foam-type heat insulating material such as urethane foam or phenol foam.
  • the heat insulating material 138 may be a vacuum insulating material.
  • the insulating material 138 may be installed in a position between the inner-side cylindrical member 132 facing the smoking article 110 and an outer-side cylindrical member 134 on the outer side of the insulating material 138.
  • the outer-side cylindrical member 134 may be constructed by using a heat conducting member which comprises aluminum or stainless steel (SUS), for example. It is preferable that the insulating material 138 be installed in a closed space.
  • Fig. 7 is a figure schematically showing positional relationship, in an axis-line direction, between the base part 11A in the smoking article 110 and the heater 30 and the inner-side cylindrical member 132 in the aerosol generation device 120, in the flavor inhaler 100.
  • the axis-line in the present case means the center axis of the insertion hole 130 in the aerosol generation device 120, and, when the smoking article 110 is inserted in the insertion hole 130, the axis-line and the center axis of the smoking article 110 partially overlap with each other (refer to Fig. 3 , also).
  • the length D0 of the heater 30 in the axis-line direction can be set to that shorter than the length L0 of the base part 11A in the axis-line direction in the smoking article 110 (D0 ⁇ L0). Further, the ratio of the length D0 to the length L0 (D0/L0) may be 0.70-0.90, preferably, 0.75-0.85, and, typically, 0.80. Thus, in the case that the length L0 of the base part 11A is 20 mm, the length D0 of the heater 30 may be 14-18 mm, preferably, 15-17 mm, and, typically, 16 mm.
  • the upstream end of the base member 11A may protrude toward the upstream side above the upstream end of the heater 30 by the length of D1.
  • the upstream side and the downstream side in the present case correspond to the upstream side and the downstream side of the flow of air passing through the inside of the air flow path 160 as a result of suction action by a user (refer to Fig. 3 , also).
  • the part, which protrudes from the heater 30, of the base part 11A does not have the heater 30 on the outer side in the radius direction of the base part 11A, so that the temperature in the inside thereof may become somewhat lower, compared with the temperature of the other part of the base part 11A.
  • the ratio of the protruded length D1 to the whole length L0 of the base part 11A may be 0.25-0.40, preferably, 0.30-0.35, and typically, 0.325.
  • the protruded length D1 may be 5-8 mm, preferably, 6-7 mm, and, typically, 6.5 mm.
  • the downstream end of the heater 30 may protrude toward the downstream side below the downstream end of the base part 11A by the length of D2.
  • the ratio of the protruded length D2 of the heater 30 to the length L0 of the base part 11A may be 0.075-0.175, preferably, 0.1-0.15, and typically, 0.125.
  • the protruded length D2 of the heater 30 may be 1.5-3.5 mm, preferably, 2-3 mm, and, typically, 2.5 mm.
  • the position of the upstream end of the inner-side cylindrical member 132 and the position of the upstream end of the base part 11A in the axis-line direction may roughly coincide with each other.
  • the downstream end of the inner-side cylindrical member 132 may protrude toward the downstream side below the downstream end of the base part 11A by the length of D3.
  • the ratio of the protruded length D3 of the inner-side cylindrical member 132 to the protruded length D2 of the heater 30 may be 2.6-3.4, preferably, 2.8-3.2, and, more preferably, 3.0.
  • the protruded length D3 of the inner-side cylindrical member 132 may be 6.5-8.5 mm, preferably, 7.0-8.0 mm, and, typically, 7.5 mm.
  • the control unit 20 may comprise a control board, a CPU, a memory, and so on.
  • the CPU and the memory are components for constructing the control part 22 which controls the heater 30 for heating an aerosol source.
  • the control unit 20 has a notification part 40 for reporting a variety of information to a user.
  • the notification part 40 may be a light emitting element such as an LED or a vibrating element, or a combination thereof.
  • the control part 22 when it has detected an activation request issued by a user, starts supply of electric power from the battery 10 to the heater 30.
  • the user's activation request is generated, for example, as a result of manipulation of a push button or a slide-type switch by a user, or a suction action by a user.
  • the user's activation request is generated as a result of pressing of the push button 150. More specifically, the user's activation request is generated as a result of pressing of the push button 150 during the state that the lid part 140 is being opened.
  • the user's activation request may be generated when a suction action by a user is detected.
  • a suction action by a user may be detected by a temperature sensor such as that explained above.
  • a heating profile is a graph showing time variation of target temperature in controlling of the heater.
  • a delivery profile is a graph showing time variation of the quantity of main aerosol components per single suction action, that is delivered to the inside of the mouth of a user when the user has performed the suction action by using the smoking article 110.
  • Fig. 8 is a figure showing a heating profile of the heater 30 and a delivery profile of main aerosol components.
  • the vertical axis in Fig. 8 represents the temperature of the heater or the quantity of delivery of main aerosol components.
  • the horizontal axis in Fig. 8 represents time.
  • main aerosol components refers to visible aerosol components which are generated when various aerosol sources included in a smoking article is heated to have temperature above predetermined temperature.
  • the aerosol sources included in a smoking article are propylene glycol and glycerin.
  • the smoking article comprises a flavor source such as tobacco or the like
  • an aerosol component originated from the flavor source is included in the main aerosol components.
  • an aerosol component originated from moisture included in the smoking article is not regarded as an object to be included in the main aerosol components.
  • the delivery profile of the main aerosol components may be measured by using a method such as that explained below.
  • an aerosol generation device with respect to which a delivery profile of main aerosol components should be measured, is prepared.
  • suction from a suction opening part of the smoking article by using an automatic smoking device (that is manufactured by Borgwaldt KC Inc., for example), is performed.
  • the heater 30 is heated according to a control method defined with respect to the prepared aerosol generation device.
  • suction conditions conditions equivalent to HCI conditions (HCI; health Canada Intense) defined by Health Canada are adopted.
  • the suction conditions are as follows: the quantity of suction, 27.5 ml per second; suction time, 2 seconds per single action; and the interval between suction actions, 20 seconds.
  • the aerosol sucked by the automatic smoking device under the above suction conditions is collected by a Cambridge filter (for example, CM-133 manufactured by Borgwaldt KC Inc.). Specifically, smoke, that has passed through the above Cambridge filter, is collected in 10mL of methanol which has been cooled to -70 degrees Celsius by using a dry ice-isopropanol refrigerant.
  • a Cambridge filter for example, CM-133 manufactured by Borgwaldt KC Inc.
  • the 10 mL of methanol solution, in which the tobacco smoke has been collected, and an internal standard solution (0.05 mg/mL of pentadecane-d32, 50 ml/L of d-1-ethanol, 2 mL/L of anethole, and 4 mL/L of 1,3-butanediol) are added to the Cambridge filter, and it is shook for 30 minutes, and contained components are extracted.
  • an internal standard solution 0.05 mg/mL of pentadecane-d32, 50 ml/L of d-1-ethanol, 2 mL/L of anethole, and 4 mL/L of 1,3-butanediol
  • the delivery profile of the main aerosol components comprises an initial period Q1, an intermediate period Q2, and a final period Q3.
  • the initial period Q1 is a period during that a gradient with respect to the main aerosol components relative to time gradually increases.
  • the initial period Q1 is a period during that the quantity of increase in the quantity of delivery of the main aerosol components per each suction action increases gradually.
  • the gradient of the delivery profile of the main aerosol components is an absolute value of a slope of each point on the curve which forms the delivery profile.
  • the gradient of the delivery profile of the main aerosol components can be defined by using the following method, for example.
  • the delivery profile of the main aerosol components on the time axis is derived discretely.
  • the gradient of the delivery profile of the main aerosol components may be defined, with respect to plotted points that are adjacent to each other on the time axis, by a value obtained by dividing a difference in the delivery profile of the main aerosol components by a difference in time between the plotted points.
  • the gradient of the delivery profile of the main aerosol components may be derived, for example, by using an approximate curve derived based on discrete plotting.
  • an analytic formula of the approximate curve is defined, the gradient of the delivery profile of the main aerosol components can be defined by calculating a differential value of the analytic formula.
  • An approximate curve such as that explained above may be derived, for example, by using a polynomial expression or by using a trigonometric function.
  • the start point S0 of the delivery profile is defined by the start point of the aerosol suction allowable period (the suction allowable period) (refer to Fig. 9 ). Specifically, the start point S0 of the delivery profile is defined by reporting of a start of the suction allowable period (the timing T2 in Fig. 9 ) that will be explained later.
  • the boundary S1 between the initial period Q1 and the intermediate period Q2 may be defined by a point whereat the gradient of the main aerosol components in the initial period Q1 becomes the largest.
  • the boundary S1 between the initial period Q1 and the intermediate period Q2 is a point whereat decreasing of the first time in the gradient of the main aerosol components in the whole delivery profile starts.
  • the boundary S1 between the initial period Q1 and the intermediate period Q2 may be defined by a point of inflection.
  • the final period Q3 is a period during that a gradient with respect to the main aerosol components relative to time gradually decreases.
  • the final period Q3 is a period during that the quantity of decrease in the quantity of delivery of the main aerosol components per each suction action decreases gradually.
  • the end point S3 of the delivery profile is defined by the end point of the aerosol suction allowable period (the suction allowable period) (refer to Fig. 9 ). Specifically, the end point S3 of the delivery profile is defined by timing when a report of an end of the suction allowable period is provided (the timing T7 in Fig. 9 ).
  • the boundary S2 between the intermediate period Q2 and the final period Q3 may be defined by a point whereat the gradient of the main aerosol components in the final period Q3 becomes the largest.
  • the boundary S2 between the intermediate period Q2 and the final period Q3 is a point whereat decreasing of the last time in the gradient of the main aerosol components in the whole delivery profile starts.
  • the boundary S2 between the intermediate period Q2 and the final period Q3 may be defined by a point of inflection.
  • the intermediate period Q2 is a period between the initial period Q1 and the final period Q3.
  • the intermediate period Q2 includes one or plural maximum values that are larger than the start point and the end point of the delivery profile. In the delivery profile shown in Fig. 8 , the intermediate period Q2 includes a single maximum value (the largest value).
  • the quantity of delivery of aerosol increases in a period from the initial period Q1 to the intermediate period Q2, has the maximum value in the intermediate period Q2, and decreases in a period from the intermediate period Q2 to the final period Q3.
  • a user can recognize a specific period, i.e., one of the initial period Q1, the intermediate period Q2, and the final period Q3 of the suction allowable period, that the user is presently in, based on sensation felt when sucking aerosol.
  • the gradient with respect to the main aerosol components relating to time gradually increases, so that the delivery profile has a downwardly convex shape.
  • the delivery profile has an upwardly convex shape.
  • the quantity of delivery of aerosol may drastically change at the time of transition from the initial period Q1 to the intermediate period Q2.
  • the gradient with respect to the main aerosol components relating to time gradually decreases, so that the delivery profile has a downwardly convex shape.
  • the quantity of delivery of aerosol may drastically change at the time of transition from the intermediate period Q2 to the final period Q3.
  • the intermediate period Q2 is longer than each of the initial period Q1 and the final period Q3. More preferably, the intermediate period Q2 is equal to or longer than a sum of the initial period Q1 and the final period Q3.
  • the intermediate period Q2 may be 50-60% of the whole period, and each of the initial period Q1 and the final period Q3 may be 20-25% of the whole period. According to the above construction, the period, during that the quantity of delivery of main aerosol components is large, becomes relatively long, so that a user can suck the main aerosol components for a relatively long period.
  • the quantity of delivery of the main aerosol components at the end point S3 in the final period Q3 be larger than the quantity of delivery of the main aerosol components at the start point S0. In the above case, it is possible to suppress an excessive decrease in the quantity of delivery of the aerosol in the final period Q3. According to the above construction, decreasing of the quantity of delivery of the main aerosol components to a low level during the suction allowable period can be prevented, and, especially, the quantity of delivery of a high level can be maintained until the end of the final period Q2.
  • the largest value of the gradient relating to the main aerosol components in the final period Q3 be smaller than the largest value of the gradient relating to the main aerosol components in the first period Q1.
  • the speed of increase of the main aerosol components in the initial period Q1 becomes relatively high, so that the quantity of aerosol delivery can be brought to a high level in a relatively early stage in the suction allowable period.
  • the gradient relating to the main aerosol components in the final period Q3 is small, so that the speed of decrease of the main aerosol components in the final period Q3 becomes relatively low.
  • drastic decrease in the quantity of aerosol delivery in the final period Q3 can be suppressed.
  • the quantity of aerosol delivery of a high level can be maintained for a relatively long period.
  • the smallest value of the gradient relating to the main aerosol components in the final period Q3 be smaller than the smallest value of the gradient relating to the main aerosol components in the initial period Q1. Since the smallest value of the gradient relating to the main aerosol components in the final period Q3 is small, the speed of decrease of the main aerosol components in the final period Q3 becomes relatively low. Thus, drastic decrease in the quantity of aerosol delivery in the final period Q3 can be suppressed.
  • the intermediate period Q2 may comprise a stable period SP wherein the absolute value of the gradient relating to the main aerosol components is smaller than the smallest value of the gradient relating to the main aerosol components in the initial period Q1 and smaller than the smallest value of the gradient relating to the main aerosol components in the final period Q3. That is, the stable period SP is a period wherein change in the quantity of delivery of main aerosol components per each suction action is relatively small.
  • the stable period SP be longer than each of the initial period Q1 and the final period Q3.
  • the quantity of delivery of main aerosol components is large, and change in the quantity of delivery is small.
  • the stable period SP is longer than each of the initial period Q1 and the final period Q3, the main aerosol components can be supplied stably for a relatively long period in the intermediate period Q2.
  • the stable period SP be 50-60% of the intermediate period Q2. According to the above construction, the main aerosol components can be supplied stably for a relatively long period in the intermediate period Q2.
  • the control part 22 of the aerosol generation device 120 may be constructed to control the heater 30 to realize the above-explained delivery profile of the main aerosol components.
  • the delivery profile of the main aerosol components is dependent, mainly, on the heating profile of the heater 30.
  • Fig. 9 shows an example of a heating profile of a heater. It should be reminded that the heating profile shown in Fig. 9 is an example that is appropriate for realizing the above-explained delivery profile of the main aerosol components, and the heating profile is not necessarily limited to the above heating profile.
  • the heating profile is a graph showing time variation of target temperature in controlling of the heater 30.
  • Temperature control of the heater 30 can be realized by using publicly known feedback control, for example.
  • the control part 22 of the aerosol generation device 120 can supply electric power from the battery 22 to the heater 30 in the forms of pulses according to pulse width modulation (PWM) or pulse frequency modulation (PFM).
  • PWM pulse width modulation
  • PFM pulse frequency modulation
  • the control part 22 can perform temperature control of the heater 30 by adjusting the duty ratio of the electric power pulses.
  • the control part 22 may measure or estimate temperature of the heater 30, and, based on a difference between the measured or estimated temperature of the heater 30 and a target temperature, or the like, control the electric power supplied to the heater 30, for example, control the above-explained duty ratio.
  • the feedback control may be PID control, for example.
  • the temperature of the heater can be quantitatively determined, for example, by measuring or estimating an electric resistance value of a heating resistor which is a component of the heater 30. This is because the electric resistance value of the heating resistor changes in response to temperature.
  • the electric resistance value of the heating resistor can be estimated, for example, by measuring the quantity of voltage drop in the heating resistor.
  • the quantity of voltage drop in the heating resistor can be measured by a voltage sensor which measures a potential difference applied to the heating resistor.
  • the temperature of the sensor may be measured by a temperature sensor installed in a position near the heater 30.
  • supply of electric power to the heater 30 may be controlled in such a manner that the actual temperature of the heater 30 approaches a target temperature in the heating profile.
  • the heating profile includes a part whereat the target temperature rapidly changes, there may be a case that, in a part such as the above part, separation between the actual temperature of the heater 30 and the target temperature becomes large temporarily.
  • a broken line In the heating profile illustrated in Fig. 9 , each of parts, whereat separation between the actual temperature of the heater 30 and the target temperature is large, is shown by using a broken line.
  • the control part 22 when supply of electric power from the battery 10 to the heater 30 is started in response to reception of an activation request from a user, the control part 22 first controls the temperature of the heater 30 to bring it to a first target temperature TA1 during a first period P1. That is, the control part 22 heats the heater 30 to raise temperature from initial temperature to the first target temperature TA1. In the first period P1, after the temperature of the heater 30 has reached the first target temperature TA1, the control part 22 performs control to maintain the temperature of the heater 30 at the first target temperature TA1.
  • the first target temperature TA1 may be 225-240 degrees Celsius, preferably, and 230 degrees Celsius, typically.
  • the speed of raising of temperature of the heater 30 can be increased by setting the first target temperature TA1 in the first period P1 to relatively high temperature. By increasing the speed of raising of temperature of the heater 30, the period from a start of supply of electric power to the heater 30 to the time when suction of aerosol becomes possible can be shortened.
  • the control part 22 may be constructed to report, to a user, a state that a suction allowable period has started, in a period that is in the first period P1 and during that the temperature of the heater 30 is being maintained at the first target temperature TA1. Reporting of the state that the suction allowable period has started may be performed by controlling the notification part 40, and, for example, may be performed by performing a control process to change the color of light emitted from a light emitting element such as an LED or the like, a control process to change a light emitting pattern, or a control process to drive a vibration element, or a control process comprising a combination of the above control processes.
  • reporting of the state that the suction allowable period has started is performed at timing T2. More specifically, reporting of the state that the suction allowable period has started may be performed at either timing T2 when a predetermined period P1b has elapsed since the time when the temperature of the heater 30 has reached the first target temperature, or timing when a predetermined period has elapsed since the time when supply of electric power to the heater 30 has started, that occurs earlier.
  • the predetermined period P1b may be 20-26 seconds, preferably, and 23 seconds, typically.
  • control part 22 may be constructed to report, in the latter half of the first period P1, the state that the suction allowable period has started.
  • the latter half of the first period P1 means a period after the center of the first period P1.
  • the control part 22 operates to proceed the period to a second period P2 that will be explained later.
  • the predetermined period P1c may be 5-15 seconds, preferably, and 10 seconds, typically. According to the above construction, the probability of occurrence of an event that a user performs a suction action of the first time during the first period P1 becomes high. In the above case, it is possible to bring a user to perform a suction action of the first time, during a period that the heater temperature is maintained at temperature near the first target temperature TA1 that is the highest temperature in the heating profile.
  • the first period P1 changes due to the states of heating, ambient temperature, and so on of the heater 30 and the smoking article 110; however, it may typically be that in the range of 35-55 seconds.
  • the control part 22 be constructed to be able to change the length of the first period P1, based on the speed of raising of the temperature of the heater 30 in the first period P1.
  • the initial temperature rising period P1a in the first period P1 may be constructed to be changeable, based on the speed of raising of the temperature of the heater 30.
  • the control part 22 be constructed to change the length of the first period P1 to become shorter, as the period from a start of heating of the heater 30 to the time when the temperature has reached predetermined temperature becomes shorter.
  • the first period P1 ends when a predetermined period (P1b+P1c) has elapsed since the time when the temperature of the heater 30 has reached the first target temperature TA1. That is, if the speed of raising of the temperature of the heater 30 is high, the period P1, that is from the time T0 when supply of electric power to the heater 30 is started to the time when the temperature of the heater 30 reaches the first target temperature TA1, becomes short.
  • the predetermined period (P1b+P1c) may be 25-41 seconds, preferably, and 33 seconds, typically.
  • variable range of the firs period P1 more specifically, the variable range of the period (P1a+P1b) that ends when a start of the suction allowable period is reported, have a predetermined upper limit value.
  • the upper limit value of the period (P1a+P1b), that is from a start of supply of electric power T0 to the time of reporting of a start of the suction allowable period T2 is 40-60 seconds, preferably, and 50 seconds, typically. According to the above construction, it is possible to prevent the control part 22 continuing preheating without transition to the second period P2, in the case that the temperature of the heater 30 does not reach the first target temperature TA1.
  • the control part 22 controls the temperature of the heater 30 to change it to a second target temperature TA2 that is lower than the first target temperature TA1. That is, the control part 22 controls the heater 30 to lower the temperature of the heater 30 from the first target temperature TA1, and maintain the temperature at the second target temperature TA2.
  • the second target temperature TA2 may be that in the range of 190-210 degrees Celsius, preferably, and 200 degrees Celsius, typically.
  • the second period P2 may be that in the range of 105-160 seconds, preferably, and 130 seconds, typically. It is preferable that the second period P2 be longer than each of the first period P1 and a third period P3 that will be explained later. Since the second period is a period during that temperature higher than that in the third period P3 is maintained, the second period is a period during that the aerosol is stably supplied. Thus, the period, during that the aerosol can be stably supplied, can be made relatively long.
  • the control part 22 may have a first off period, that is from the end of the first period P1 to an early period in the second period P2, for stopping supply of electric power to the heater 30.
  • a first off period that is from the end of the first period P1 to an early period in the second period P2, for stopping supply of electric power to the heater 30.
  • the control part 22 can continue measurement of temperature of the heater 30 even in the first off period.
  • the control par 22 may be constructed to resume supply of electric power to the heater 30 when the temperature of the heater 30 has decreased and reached temperature near the second target temperature TA2.
  • the first off period be a time interval during that a general user cannot perform two or more times of suction actions. If a user performs two or more times of suction actions during the off period, the temperature of the heater 30 may be lowered drastically, and may become that much lower than the second target temperature TA2. In the above case, there may be a risk that the quantity of aerosol generated from the smoking article 110 is reduced. If it is supposed that a time interval between usual suction actions by a general user is approximately 20 seconds, it is preferable that the first off period be that in the range of 15-20 seconds, for example.
  • the first target temperature TA1 and the second target temperature TA2 may be set in such a manner that lowering of temperature from the first target temperature TA1 to the second target temperature TA2 as a result of natural cooling during the first off period is completed in the above time range.
  • the control part 22 may be constructed to measure elapsed time of the first off period, and, when the first off period has reached a predetermined upper limit value, forcibly resume supply of electric power to the heater 30. It is preferable that the upper limit value of the first off period in the above case be 15-20 seconds.
  • the control part 22 controls the temperature of the heater 30 to change it to a third target temperature TA3 that is lower than the second target temperature TA2. That is, the control part 22 controls the heater 30 to further lower the temperature of the heater 30 from the second target temperature TA2, and maintain the temperature at the third target temperature TA3.
  • the third target temperature TA3 may be that in the range of 175-190 degrees Celsius, preferably, and 185 degrees Celsius, typically.
  • the third period P3 may be that in the range of 30-90 seconds, preferably, and 60 seconds, typically.
  • a temperature difference ( ⁇ T12) between the first target temperature TA1 and the second target temperature TA2 be larger than a temperature difference ( ⁇ T23) between the second target temperature TA2 and the third target temperature TA3.
  • the consumed electric power of the heater 30 in the second period P2 is larger than that in the third period p3, so that electric power consumption through the whole period can be reduced when the temperature difference ( ⁇ T12) at the time of transition from the first period P1 to the second period P2 is set to that larger than the temperature difference ( ⁇ T23) at the time of transition from the second period P2 to the third period P3.
  • ⁇ T12/ ⁇ 23 be larger than 1.
  • ⁇ T12/ ⁇ 23 have a predetermined upper limit value.
  • the upper limit value of ⁇ T12/ ⁇ 23 may be 2.5, for example.
  • ⁇ T12/ ⁇ 23 may be 1.0-2.5, preferably, and 2.0, typically.
  • the control part 22 may have a second off period, that is from the end of the second period P2 to an early period in the third period P3, for stopping supply of electric power to the heater 30.
  • a second off period that is from the end of the second period P2 to an early period in the third period P3, for stopping supply of electric power to the heater 30.
  • the control part 22 can continue measurement of temperature of the heater 30 even in the second off period.
  • the control par 22 may be constructed to resume supply of electric power to the heater 30 when the temperature of the heater 30 has decreased and reached temperature near the third target temperature TA3.
  • the second off period be a time interval during that a general user cannot perform two or more times of suction actions, and that the second off period be that in the range of 15-20 seconds.
  • the second target temperature TA2 and the third target temperature TA3 may be set in such a manner that lowering of temperature from the second target temperature TA2 to the third target temperature TA3 as a result of natural cooling during the second off period is completed in the above time range.
  • the control part 22 may be constructed to measure elapsed time of the second off period, and, when the second off period has reached a predetermined upper limit value, forcibly resume supply of electric power to the heater 30.
  • the temperature difference ( ⁇ T12) between the first target temperature TA1 and the second target temperature TA2 be larger than the temperature difference ( ⁇ T23) between the second target temperature TA2 and the third target temperature TA3; and the above relationship is preferable in view of setting of the first off period and the second off period to make them have values close to each other.
  • the speed of lowering of temperature in a high temperature range is faster than that in a low temperature range in the case of natural cooling; thus, for setting the first off period and the second off period as close as possible to each other, it is necessary to set the temperature difference ( ⁇ T12) between the first target temperature TA1 and the second target temperature TA2, that belongs to the high temperature range, to that relatively large.
  • the first off period always becomes shorter than the second off period, so that it becomes theoretically impossible to set the two off periods equal to each other.
  • the ratio of the difference between the first target temperature TA1 and the second target temperature TA2 to the difference between the second target temperature TA2 and the third target temperature TA3 be less than 2.5.
  • the reason that above construction is adopted is to allow stable generation of aerosol during a middle stage in the puff allowable period, by preventing the difference between the first target temperature TA1 and the second target temperature TA2 from becoming excessively large.
  • the heater 30 at the third target temperature TA3 without going through the stage of the second target temperature TA2 after the first target temperature TA1.
  • the period (the second off period) required to change the temperature from the first target temperature TA1 to the third target temperature TA3 becomes relatively long. Since supply of electric power to the heater 30 is stopped during the period required to reach the third target temperature TA3 from the first target temperature TA1, there may be a risk that the temperature of the heater 30 may become that much lower than the third target temperature, if a user performs plural times of suction actions during the above period.
  • the time required for transition from one target temperature to the other target temperature can be shortened.
  • duration of an off period during that supply of electric power to the heater 30 is stopped, becomes shorter, so that it becomes possible to prevent excessive lowering of temperature of a smoking article due to plural times of suction actions, and prevent unstable generation of aerosol due thereto.
  • the control part 22 stops supply of electric power to the heater 30 at the time when the third period P3 ends.
  • the control part 22 reports an end of the suction allowable period at timing T7 when a predetermined period has elapsed since supply of electric power to the heater 30 is stopped (timing T6). That is, even in the time after supply of electric power to the heater 30 is stopped, a user is prompted to perform an aerosol suction action, until a predetermined period has elapsed, to allow the user to taste the aerosol by using remaining heat of the heater 30 and the smoking article 110.
  • reporting of the end of the suction allowable period may be performed by the notification part 40, and, for example, may be performed by performing a control process to change the color of light emitted from a light emitting element such as an LED or the like, a control process to change a light emitting pattern, or a control process to drive a vibration element, or a control process comprising a combination of the above control processes.
  • a control process to change the color of light emitted from a light emitting element such as an LED or the like
  • a control process to change a light emitting pattern or a control process to drive a vibration element, or a control process comprising a combination of the above control processes.
  • the heater 30 went through the first period P1, the second period P2, and the third period P3 in the heating profile, heat from the heater 30 has been transferred sufficiently to the inside of the smoking article 110.
  • a certain quantity of aerosol can be generated by using remaining heat of the heater 30 and the smoking article 110.
  • generation of aerosol becomes unstable in the fourth period P4, so that it is preferable that the fourth period P4 be a time interval during that a user does not perform two or more times of suction actions.
  • the fourth period P4 is preferably 5-15 seconds, and, typically 10 seconds.
  • control part 22 may report a state that the suction allowable period is drawing to an end, at timing T5 that is earlier, by a predetermined period Pe, than timing T7 when the end of the suction allowable period is reported.
  • Reporting such as that explained above may be performed, for example, 20-40 seconds before the end of the suction allowable period.
  • Reporting such as that explained above may be performed by the notification part 40, and, for example, may be performed by performing a control process to change the color of light emitted from a light emitting element such as an LED or the like, a control process to change a light emitting pattern, or a control process to drive a vibration element, or a control process comprising a combination of the above control processes.
  • the control part 22 stops supply of electric power to the heater 30 at the time of the end of the third period P3.
  • the control part 22 may stop supply of electric power to the heater 30, even in the second period P2 or the third period P3 in the case that the number of times of suction actions by a user exceeds a predetermined number of times.
  • a puff action by a user may be detected by the above-explained temperature sensor, for example.
  • the delivery profile of the main aerosol components may mainly be dependent on the heating profile of the heater 30.
  • the delivery profile of the main aerosol components may basically be a profile corresponding to a temperature profile of the inside of the smoking article 110.
  • the temperature profile of the inside of the smoking article 110 follows the hating profile of the heater 30, so that it generally tends to have a shape that is time-delayed relative to the heating profile.
  • the first target temperature TA1 in the first period P1 to the highest temperature throughout the heating profile, it becomes easier to form an ascending curve having a steep gradient in the initial period Q1 in the delivery profile of the main aerosol components.
  • the temperature of the heater 30 at the second target temperature TA2 during the most part of the second period P2 that follows the first period P1, it becomes easier to form the stable period SP, during that change per suction action is small, in the intermediate period Q2 in the delivery profile of the main aerosol components.
  • the temperature of the heater 30 controls it to the third target temperature TA3 that is lower than the second target temperature TA2 during the third period P3 that follows the second period P2, it becomes easier to form a descending curve in the final period Q3 in the delivery profile of the main aerosol components.
  • the temperature difference T23 between the second target temperature TA2 and the third target temperature TA3 small, it becomes easier to form a descending curve having a more gentle gradient in the final period Q3 in the delivery profile of the main aerosol components.
  • the delivery profile of the main aerosol components is mainly dependent on the heating profile of the heater 30.
  • the delivery profile of the main aerosol components may change according to factors such as the shape of the heater 30, presence/absence and the shape of the heat insulating material 138, the size of the smoking article 110, the degree of contact between the heater 30 and the smoking article 110, the position of the heating part of the heater 30 relative to the smoking article 110, and so on.
  • the heating profile of the heater 30 and the above factors may be combined appropriately.
  • the heater 30 has a cylindrical shape surrounding an outer periphery of a column-shape smoking article, it is hard for the heat transferred to the smoking article 110 to dissipate to the outside, so that it becomes easier for the delivery profile of the main aerosol components to follow the heating profile of the heater 30.
  • the cylindrical heat insulating material 138 is positioned on the outer side in a radius direction of the heater 30, it is hard for the heat transferred to the smoking article 110 to dissipate to the outside, so that it becomes easier for the delivery profile of the main aerosol components to follow the heating profile of the heater 30.
  • the speed of increase of the delivery profile in the initial period Q1 becomes relatively high, so that the overall ascending curve of the delivery profile in the initial period Q1 may have more steep gradients.
  • the speed of decrease of the delivery profile in the final period Q3 becomes relatively low, so that the overall descending curve of the delivery profile in the final period Q3 may have more gentle gradients.
  • the size of the smoking article 110 more specifically, the diameter of the smoking article 110
  • transfer of the heat from the outer side of the smoking article 110 to the inner side of the smoking article 110 becomes easier.
  • the diameter of the smoking article 110 is made smaller, it becomes easier for the delivery profile of the main aerosol components to follow the heating profile of the heater 30.
  • the degree of contact between the heater 30 and the smoking article 110 is made high when they are used, it becomes easier for the heat from the heater 30 to be transferred to the smoking article 110. That is, if the space between the smoking article 110 and the insertion hole 130 is set smaller in the state that the smoking article 110 is being inserted in the insertion hole 130, it becomes easier for the delivery profile of the main aerosol components to follow the heating profile of the heater 30.
  • the delivery profile of the main aerosol components may be dependent on positional relationship between the smoking article 110 and the heater 30.
  • the heater 30 be positioned in such a manner that it extends, in the smoking article 110, from the base part 11A which comprises the aerosol source to the paper tube part 114 which does not comprise the aerosol source. According to the above construction, it becomes easier for the heat from the heater 30 to be transferred sufficiently to the end surface on the downstream side and the place near thereof of the base material 11A, so that it becomes easier for the delivery profile of the main aerosol components to follow the heating profile of the heater 30.
  • the inner-side cylindrical member 132 which has an inner peripheral surface which comes in contact with the smoking article 110 and an outer peripheral surface which comes in contact with the heater 3, be positioned in such a manner that it extends from the base part 11A which comprises the aerosol source to the paper tube part 114 which does not comprise the aerosol source.
  • the downstream end of the inner-side cylindrical member 132 protrude toward the downstream side below the downstream end of the heater 30.
  • the heating part 31 of the heater 30 is a part which is heated actively.
  • the heating part 31 of the heater 30 refers to the heating resistor.
  • the delivery profile of the main aerosol components may be caused by components constructing the smoking article 110. More specifically, the quantity of moisture in the smoking article 110 may have influence on the speed of increase in the initial period Q1 in the delivery profile of the main aerosol components. For example, in the case that the quantity of moisture in the smoking article 110 is relatively large, the heat from the heater 30 may be used for vaporizing the moisture instead of heating the aerosol source, and the above matter may become a factor to lower the speed of increase in the delivery profile of the main aerosol components. As a result, the part of the delivery profile corresponding to the initial period Q1, as a whole, may have more gentle gradients. As explained above, the aerosol originated from the moisture in the smoking article 110 does not include the main aerosol components, usually.
  • the above-explained desired delivery profile of the main aerosol components may be realized.
  • a control flow for realizing the heating profile and/or the delivery profile of the main aerosol components, that have been explained above, can be performed by the control part 22. That is, the present invention may include a program for making the flavor inhaler 100 and/or the aerosol generation device 120 perform the above-explained method, and a storage medium in which the program is stored.
  • a storage medium such as that explained above may be a non-transient storage medium.

Landscapes

  • Cigarettes, Filters, And Manufacturing Of Filters (AREA)
  • Manufacture Of Tobacco Products (AREA)

Description

    TECHNICAL FIELD
  • The present invention relates to an aerosol generation device, a method for heating a smoking article and an aerosol generation system.
  • BACKGROUND ART
  • A non-combustion-type aerosol generation device, which is used in place of a prior-art combustion-type cigarette, for sucking aerosol generated by atomizing an aerosol forming base-material (a smoking article) by a heater has been known (Patent Literature 1 and Patent Literature 2).
  • Patent Literature 1 discloses an aerosol generation device which comprises a smoking article comprising a solid aerosol forming base-material, and a blade-type heater that is to be inserted in the aerosol forming base-material when it is used. The heater heats the aerosol forming base-material from the inside thereof.
  • Patent Literature 2 discloses an aerosol generation device which comprises a smoking article comprising a solid aerosol forming base-material, and a cylinder-type heater that is to be positioned in an outer periphery part of the aerosol forming base-material when it is used. The heater heats the aerosol forming base-material from the outer periphery side.
  • Unlike a prior-art combustion-type cigarette, change in appearance corresponding to a suction action by a user is small in each of the aerosol generation devices disclosed in Patent Literature 1 and Patent Literature 2, so that there is a case that it is difficult for a user to intuitively understand the stage, in a suction allowable period, that the user is presently in.
  • EP 3 062 644 A2 relates to an apparatus to heat smokable material to volatilise at least one component of the smokable material. In one exemplary embodiment, the apparatus has a housing and a plurality of heater segments longitudinally arranged within the housing for heating smokable material contained within the apparatus. At least one heater segment is arranged so as to heat smokable material contained within the at least one heater segment more quickly than at least one other heater segment heats smokable material contained within the at least one other heater segment.
  • CITATION LIST PATENT LITERATURE
  • SUMMARY OF INVENTION
  • The object is achieved by the subject matter of the independent claims. Advantageous embodiments are defined by the dependent claims.
  • BRIEF DESCRIPTION OF DRAWINGS
    • [Fig. 1] Fig. 1 is a figure showing a flavor inhaler according to an embodiment.
    • [Fig. 2] Fig. 2 is a figure showing the flavor inhaler in which a smoking article is inserted.
    • [Fig. 3] Fig. 3 is a figure showing an internal construction of the flavor inhaler shown in Fig. 2.
    • [Fig. 4] Fig. 4 is a figure showing an internal construction of the smoking article shown in Fig. 2.
    • [Fig. 5] Fig. 5 is a block diagram of the flavor inhaler.
    • [Fig. 6] Fig. 6 is a schematic enlarged view of the region 5R in Fig. 3.
    • [Fig. 7] Fig. 7 is a figure schematically showing positional relationship between a base-material part of a smoking article and a heater and an inner-side cylindrical member of an aerosol generation device.
    • [Fig. 8] Fig. 8 is a figure showing a heating profile of a heater and a delivery profile of main aerosol components.
    • [Fig. 9] Fig. 9 is a figure showing a heating profile of a heater.
    DESCRIPTION OF EMBODIMENTS
  • In the following description, embodiments will be explained. In this regard, in the following descriptions of the figures, the same or similar symbols are assigned to the same or similar parts. It should be reminded that the figures are drawn in a schematic manner, so that ratios between respective sizes and so on may be different from actual ratios and so on.
  • Thus, specific sizes and so on should be judged by taking the following description into consideration. Further, it is a matter of course that, in the figures, relationship and ratios between sizes in one figure may be different from those in other figures.
  • [Outline of Disclosure]
  • In the case of a prior-art combustion-type cigarette, a user can easily recognize a specific stage, i.e., one of an initial period, an intermediate period, and a final period of a suction allowable period, that the user is presently in, by visually recognizing a position of the cigarette where the cigarette is burning. However, in many aerosol generation devices, it is not possible to visually check a state of heating of a smoking article, since the most part of the smoking article is hidden in the inside of a heater or other members.
  • The delivery profile of main aerosol components described in Patent Literature 1 exhibits increase in an initial period of operation of a heater, and, thereafter, maintains the delivery profile in a constant state until the heater is stopped. Thus, it is difficult for a user to intuitively feel, based on sensation felt when performing suction action, a specific period, i.e., one of an initial period, an intermediate period, and a final period of a suction allowable period, that the user is presently in.
  • In a present embodiment, a heater, which is constructed to be able to heat an outer periphery of a smoking article comprising an aerosol source, is controlled in such a manner that a delivery profile of aerosol in a predetermined suction allowable period comprises one or plural maximum values in a period between a start point and an end point in the suction allowable period.
  • That is, the delivery profile of aerosol increases first, has a maximum value thereafter, and decreases thereafter. Thus, a user can recognize a specific period, i.e., one of an initial period, an intermediate period, and a final period of a suction allowable period, that the user is presently in, based on sensation felt when sucking aerosol.
  • (Flavor inhaler)
  • In the following description, a flavor inhaler according to an embodiment will be explained. Fig. 1 is a figure showing a flavor inhaler according to an embodiment. Fig. 2 is a figure showing the flavor inhaler in which a smoking article is inserted. Fig. 3 is a figure showing an internal construction of the flavor inhaler shown in Fig. 2. Fig. 4 is a figure showing an internal construction of the smoking article shown in Fig. 2. Fig. 5 is a block diagram of the flavor inhaler.
  • The flavor inhaler 100 may be a non-combustion-type flavor inhaler for generating, without a combustion process, aerosol from a smoking article. Specifically, the flavor inhaler 100 may be a portable device.
  • The flavor inhaler 100 comprises a smoking article 110 including an aerosol source, and an aerosol generation device 120 for generating aerosol from the smoking article 110.
  • The smoking article 110 is an exchangeable cartridge which may include an aerosol source and a flavor source, and has a column shape extending in a longitudinal direction. The smoking article 110 may be constructed to generates aerosol and flavor components when it is heated in the state that it is inserted in the aerosol generation device 120.
  • In the embodiment shown in Fig. 4, the smoking article 110 comprises a base material part 11A, which comprises a filling article 111 and first rolling paper 112 by which the filling article 111 is wound, and a suction opening part 11B which forms an end part opposite to the base material part 11A. The base material part 11A and the suction opening part 11B are connected by second rolling paper 113 which is different from the first rolling paper 112. In this regard, it is possible to connect the base material part 11A and the suction opening part 11B by using the first rolling paper 112, i.e., by omitting the second rolling paper 113.
  • The suction opening part 11B in Fig. 4 comprises a paper tube part 114, a filter part 115, a hollow segment part 116 positioned between the paper tube part 114 and the filter part 115. For example, the hollow segment part 116 comprises a filling layer including one or plural hollow channels, and a plug wrapper for covering the filling layer. Since the density of filled fibers in the filling layer is high, air and aerosol flows through the hollow channel only, and almost no air and aerosol flows through the filling layer, when suction action is performed. Regarding the flavor generation article 110, if it is desired to lower a decrease in the quantity of the aerosol components due to filtering in the filter part 115, it is effective to shorten the length of the filter part 115 and replace that part by the hollow segment part 116, for increasing the quantity of delivery of the aerosol.
  • The suction opening part 11B in Fig. 4 is constructed by using three segments; however, in the present embodiment, the suction opening part 11B may be constructed by using one or two segments, or may be constructed by using four or more segments. For example, it is possible to omit the hollow segment part 116, and form the suction opening part 11B by arranging the paper tube part 114 and the filter part 115 adjacent to each other.
  • In the embodiment shown in Fig. 4, regarding the length in the longitudinal direction of the smoking article 110, it is preferable to set it to 40-90 mm, more preferable to set it to 50-75 mm, and still more preferably to set it to 50-60 mm. Regarding the circumference of the smoking article 110, it is preferable to set it to 15-25 mm, more preferable to set it to 17-24 mm, and still more preferably to set it to 20-23 mm. Further, in the longitudinal direction of the smoking article 110, the length of the base material part 11A may be 20 mm, the length of the first rolling paper 112 may be 20 mm, the length of the hollow segment part 116 may be 8 mm, and the length of the filter part 115 may be 7 mm; however, the length of each of the above segments may be changed appropriately, according to suitability to manufacture, required quality, and so on.
  • In the present embodiment, the filling article 111 in the smoking article 110 may comprise an aerosol source which generates aerosol when heat of predetermined temperature is applied thereto. The kind of the aerosol source is not specifically limited, and extracted material and/or components thereof, that are obtained from various natural products, may be selected as an aerosol source according to a use. Glycerin, propylene glycol, triacetin, 1,3-butanediol, and a mixture thereof, for example, can be listed as aerosol sources. The aerosol source content of the filling article 111 is not specifically limited; and, in view of generation of sufficient quantity of aerosol and satisfactory addition of fragrance inhaling taste, the aerosol source content is usually equal to or greater than 5 weight percent, and, preferably, equal to or greater than 10 weight percent, and is usually equal to or less than 50 weight percent, and, preferably, equal to or less than 20 weight percent.
  • The filling article 111 in the smoking article 110 in the present embodiment may comprise shredded tobacco as a flavor source. The material of shredded tobacco is not specifically limited, and publicly known material such as a lamina, a stem, and so on may be used as the material. The range of the content of the filling article 111 in the smoking article 110, in the case that the circumference is 22 mm and the length is 20 mm, is, for example, 200-400 mg, and, preferably, 250-320 mg. The water content of the filling article 111 is, for example, 8-18 weight percent, and, preferably, 10-16 weight percent. In the case that the water content is that explained above, occurrence of staining at the time of rolling is suppressed, and suitability to rolling at the time of manufacture of the base part 11A is made satisfactory. There is no special limitation with respect to the size, the preparation method, and so on of the shredded tobacco used as the filling article 111. For example, dried tobacco leaves cut into pieces, each having the width of 0.8-1.2 mm, may be used. Alternatively, dried tobacco leaves are crushed and uniformized to become particles, regarding which the average particle size is 20-200 µm, and the particles are processed to become a sheet, and the sheet cut into pieces, each having the width of 0.8-1.2 mm, may be used. Further, the above sheet formed via the sheet process may be processed to gather it, and the gathered sheet may be used as the filling article 111. Further, the filling article 111 may comprise one kind or two or more kinds of flavors. The kinds of flavors are not specifically limited; however, in view of provision of satisfactory smoke flavor, a flavor is menthol, preferably.
  • In the present embodiment, each sheet of the first and second rolling paper 112 and 113 may be constructed by use of base paper which has the basis weight of, for example, 20-65 gsm, and, preferably, 25-45 gsm. The thickness of each sheet of the first and second rolling paper 112 and 113 is not specifically limited; however, in view of rigidness, gas permeability, and easiness of adjustment at the time of paper manufacture, the thickness is set to 10-100 µm, and, preferably, set to 20-75 µm, and, more preferably, set to 30-50 µm.
  • In the present embodiment, filler may be included in the rolling paper 112 and 113 in the filling article 111. The filler content may be equal to or greater than 10 weight percent and less than 60 weight percent, and, preferably, 15-45 weigh percent, with respect to the total weight of the rolling paper 112 and 113. In the present embodiment, it is preferable that the filler be 15-45 weight percent, with respect to a preferable range of basis weight (25-45 gsm). For example, calcium carbonate, titanium dioxide, kaolin, and so on may be used as filler. Paper including filler such as that explained above presents a white color that is preferable in view of appearance of paper used as rolling paper of the smoking article 110, and is able to keep its whiteness permanently. By including a large quantity of filler such as that explained above, the ISO whiteness of rolling paper can be raised to 83 % or more, for example. Further, in view of practicality in terms of use of it as rolling paper in the smoking article 110, it is preferable that the rolling paper 112 and 113 have the tensile strength of 8N/15mm or more. The tensile strength can be increased by reducing the filler content. Specifically, the tensile strength can be increased by reducing the filler content to that less than the upper limit of the filler content that has been shown with respect to each range of the basis weight illustrated in the above description.
  • Here, Fig. 3 is referred to; and the aerosol generation device 120 comprises an insertion hole 130 to which the smoking article 110 can be inserted. That is, the aerosol generation device 120 comprises an inner-side cylindrical member 132 which is a component of the insertion hole 130. The inner-side cylindrical member 132 may be constructed by a thermal conduction component such as aluminum, stainless steel (SUS), or the like, for example.
  • Further, the aerosol generation device 120 may comprise a lid part 140 for covering the insertion hole 130. The lid part 140 may be constructed to be able to slide between a state that the insertion hole 130 is closed (refer to Fig. 1) and a state that the insertion hole 130 is exposed (refer to Fig. 2).
  • The aerosol generation device 120 may comprise an air flow path 160 which communicates with the insertion hole 130. An end of the air flow path 160 is connected to the insertion hole 130, and the other end of the air flow path 160 communicates with the outside (the air outside) of the aerosol generation device 120 via a part different from the insertion hole 130.
  • The aerosol generation device 120 may comprise a lid part 170 for covering an end of the air flow path 160 on a side where the air flow path 160 communicates with the outside air. The lid part 170 may be brought to a state that the end on the outside air communicating side of the air flow path 160 is covered thereby, and a state that the air flow path 160 is exposed.
  • The lid part 170 does not block the air flow path 160 airtightly, even in the state that it covers the air flow path 160. That is, it is constructed that, even in the state that the air flow path 160 is being covered by the lid part 170, the outside air is allowed to flow into the air flow path 160 via a part near the lid part 170.
  • In the state that the smoking article 110 is being inserted in the flavor inhaler 100, a user holds an end part of the smoking article 110, specifically, the suction opening part 11B in Fig. 4, in the user's mouth and performs a suction action. As a result of the suction action by the user, the outside air flows into the air flow path 160. The air flown into the air flow path 160 is guided to the inside of the mouth of the user via the smoking article 110 in the insertion hole 130.
  • In the state that the insertion hole 130 is not covered by the lid part 130 and the smoking article 110 is not inserted therein, i.e., in the state that the inner space of the inner-side cylindrical member 132 and the air flow path 160 are exposed, a user is allowed to clean the inside of the air flow path 160 in the inner-side cylindrical member 132 by using a cleaning device such as a brush. The above cleaning device may be inserted from the side of the top lid part 140 in Fig. 3 to the inside of the air flow path 160, or may be inserted from the side of the bottom lid part 170 to the inside of the air flow path 160.
  • The aerosol generation device 120 may be provided with a temperature sensor in the air flow path 160 or on a wall part which is a component of the air flow path 160. The temperature sensor may be a thermistor, a thermocouple, or the like, for example. When a user has performed a suction action via the suction opening part 11B of the smoking article 110, the temperature of the inside of the air flow path 160 or the temperature of the wall part which is a component of the air flow path 160 decreases, due to effect of air flowing through the air flow path 160 in the direction from the side of the lid part 170 to the side of the heater 30. The temperature sensor detects an inhalation action of a user by measuring the decrease in the temperature.
  • The aerosol generation device 120 comprises a battery 10, a control unit 20, and a heater 30. The battery stores electric power that is to be used in the aerosol generation device 120. The battery 10 may be a chargeable/dischargeable secondary battery. The battery may be a lithium-ion battery, for example.
  • The heater 30 may be installed in a position around the inner-side cylindrical member 132. The space in which the heater 30 is housed and the space in which the battery 10 is housed may be separated by a partition wall 180. In the above case, it is possible to suppress the air heated by the heater from entering the space for housing the battery 10. Thus, increase in temperature of the battery 10 can be suppressed.
  • It is preferable that the heater 30 have a cylindrical shape that make it possible to heat the periphery of the column-shape smoking article 110. The heater 30 may be a film heater, for example. The film heater may comprise a pair of film-shape substrates and a resistance heating element positioned between the pair of film-shape substrates. It is preferable that the film-shape substrate be constructed by use of material having excellent heat resistance and electric insulation, and, typically, the film-shape substrate is constructed by using polyimide. It is preferable that the resistance heating element be constructed by use of one or two or more of copper, nickel alloy, chromium alloy, stainless steel, platinum-rhodium, and so on, and the resistance heating element may be formed by using stainless-steel base material, for example. Further, for connection to an electric power source via a flexible printed circuit (FPC), connection parts and lead parts thereof of the resistance heating element may be copper plated.
  • Fig. 6 is a schematic enlarged view of the region 5R in Fig. 3, and a cross-section view of the heater 30 and parts around it. In the example shown in Fig. 6, the heater 30 is the above-explained film heater, and is wound around the periphery of the inner-side cylindrical member 132 which can accept the smoking article 110. That is, the heater 30 is wound in such a manner that it forms a cylinder shape surrounding the inner-side cylindrical member 132. As a result, the heater 30 surrounds the outer periphery of the smoking article, and can heat the smoking article 110 from the outside thereof.
  • Preferably, a heat-shrinkable tube 136 may be installed on the outer side of the heater 30. In other words, it is preferable that the heater 30 be installed in the heat-shrinkable tube 136. The heat-shrinkable tube 136 is a tube 136 which shrinks in a radius direction when heat is applied, and may be constructed by use of thermoplastic elastomer, for example. As a result of effect of shrinking of the heat-shrinkable tube 136, the heater 30 is pushed to the inner-side cylindrical member 132. As a result, adhesion between the heater 30 and the inner-side cylindrical member 132 is enhanced, so that heat conductivity from the heater 30 to the smoking article 220 via the inner-side cylindrical member 132 is improved.
  • The aerosol generation device 120 may comprise a heat insulating material 138 having a cylindrical shape, on the outer side in the radius direction of the heater 30, preferably, on the outer side of the heat-shrinkable tube 136. It is preferable that the heat insulating material 138 be positioned to surround the outer periphery of the heater 30. The heat insulating material 138 may fulfill a role to prevent the temperature of the outer surface of the housing of the aerosol generation device 120 from reaching excessively high temperature, by blocking the heat from the heater 30. The heat insulating material 138 may be constructed by using aerogel, such as silica aerogel, carbon aerogel, alumina aerogel, or the like, for example. For example, the aerogel used as the heat insulating material 138 may be silica aerogel which has a high heat insulation property and can be manufactured by spending a relatively low cost. In this regard, the heat insulating material 138 may be fiber-type heat insulating material such as glass wool, rock wool, or the like, or may be a foam-type heat insulating material such as urethane foam or phenol foam. Alternatively, the heat insulating material 138 may be a vacuum insulating material.
  • The insulating material 138 may be installed in a position between the inner-side cylindrical member 132 facing the smoking article 110 and an outer-side cylindrical member 134 on the outer side of the insulating material 138. The outer-side cylindrical member 134 may be constructed by using a heat conducting member which comprises aluminum or stainless steel (SUS), for example. It is preferable that the insulating material 138 be installed in a closed space.
  • Fig. 7 is a figure schematically showing positional relationship, in an axis-line direction, between the base part 11A in the smoking article 110 and the heater 30 and the inner-side cylindrical member 132 in the aerosol generation device 120, in the flavor inhaler 100. The axis-line in the present case means the center axis of the insertion hole 130 in the aerosol generation device 120, and, when the smoking article 110 is inserted in the insertion hole 130, the axis-line and the center axis of the smoking article 110 partially overlap with each other (refer to Fig. 3, also).
  • The length D0 of the heater 30 in the axis-line direction can be set to that shorter than the length L0 of the base part 11A in the axis-line direction in the smoking article 110 (D0<L0). Further, the ratio of the length D0 to the length L0 (D0/L0) may be 0.70-0.90, preferably, 0.75-0.85, and, typically, 0.80. Thus, in the case that the length L0 of the base part 11A is 20 mm, the length D0 of the heater 30 may be 14-18 mm, preferably, 15-17 mm, and, typically, 16 mm.
  • The upstream end of the base member 11A may protrude toward the upstream side above the upstream end of the heater 30 by the length of D1. The upstream side and the downstream side in the present case correspond to the upstream side and the downstream side of the flow of air passing through the inside of the air flow path 160 as a result of suction action by a user (refer to Fig. 3, also). The part, which protrudes from the heater 30, of the base part 11A does not have the heater 30 on the outer side in the radius direction of the base part 11A, so that the temperature in the inside thereof may become somewhat lower, compared with the temperature of the other part of the base part 11A. Thus, generation of aerosol in the upstream end and a place near thereof of the base material 11A can be suppressed, so that it is possible to prevent aerosol generated in the above places from being condensed and from flowing backward in the air flow path 160. The aerosol generated in the other part of the base part 11A may be condensed in the upstream end and a place near thereof of the base part 11A.
  • The ratio of the protruded length D1 to the whole length L0 of the base part 11A (D1/L0) may be 0.25-0.40, preferably, 0.30-0.35, and typically, 0.325. Thus, in the case that the whole length L0 of the base part 11A is 20 mm, the protruded length D1 may be 5-8 mm, preferably, 6-7 mm, and, typically, 6.5 mm.
  • The downstream end of the heater 30 may protrude toward the downstream side below the downstream end of the base part 11A by the length of D2. Thus, it is possible to sufficiently heat the downstream end and a place near thereof of the base part 11A, so that it is possible to prevent shortage of the quantity of generated aerosol and occurrence of condensation of aerosol in the above places. The ratio of the protruded length D2 of the heater 30 to the length L0 of the base part 11A (D2/L0) may be 0.075-0.175, preferably, 0.1-0.15, and typically, 0.125. Thus, in the case that the length L0 of the base part 11A is 20 mm, the protruded length D2 of the heater 30 may be 1.5-3.5 mm, preferably, 2-3 mm, and, typically, 2.5 mm.
  • The position of the upstream end of the inner-side cylindrical member 132 and the position of the upstream end of the base part 11A in the axis-line direction may roughly coincide with each other. On the other hand, similar to the case of the downstream end of the heater 30, the downstream end of the inner-side cylindrical member 132 may protrude toward the downstream side below the downstream end of the base part 11A by the length of D3. Thus, in addition to the downstream end and a place near thereof of the base part 11A, it is possible to heat the upstream end and a place near thereof of the paper tube part 114, so that it is possible to prevent aerosol generated from the base part 11A from being excessively cooled and condensed in the upstream end and the place near thereof of the paper tube part 114. The ratio of the protruded length D3 of the inner-side cylindrical member 132 to the protruded length D2 of the heater 30 (D3/D2) may be 2.6-3.4, preferably, 2.8-3.2, and, more preferably, 3.0. Thus, in the case that the protruded length D2 of the heater is 2.5 mm, the protruded length D3 of the inner-side cylindrical member 132 may be 6.5-8.5 mm, preferably, 7.0-8.0 mm, and, typically, 7.5 mm.
  • When Fig. 5 is referred to, the control unit 20 may comprise a control board, a CPU, a memory, and so on. The CPU and the memory are components for constructing the control part 22 which controls the heater 30 for heating an aerosol source. Further, the control unit 20 has a notification part 40 for reporting a variety of information to a user. For example, the notification part 40 may be a light emitting element such as an LED or a vibrating element, or a combination thereof.
  • The control part 22, when it has detected an activation request issued by a user, starts supply of electric power from the battery 10 to the heater 30. The user's activation request is generated, for example, as a result of manipulation of a push button or a slide-type switch by a user, or a suction action by a user. In the present embodiment, the user's activation request is generated as a result of pressing of the push button 150. More specifically, the user's activation request is generated as a result of pressing of the push button 150 during the state that the lid part 140 is being opened. Alternatively, the user's activation request may be generated when a suction action by a user is detected. For example, a suction action by a user may be detected by a temperature sensor such as that explained above.
  • Next, a delivery profile of main aerosol components relating to an aerosol generation device will be explained by using Fig. 8. In the present embodiment, a heating profile is a graph showing time variation of target temperature in controlling of the heater. Further, a delivery profile is a graph showing time variation of the quantity of main aerosol components per single suction action, that is delivered to the inside of the mouth of a user when the user has performed the suction action by using the smoking article 110. Fig. 8 is a figure showing a heating profile of the heater 30 and a delivery profile of main aerosol components. The vertical axis in Fig. 8 represents the temperature of the heater or the quantity of delivery of main aerosol components. The horizontal axis in Fig. 8 represents time.
  • In this regard, the expression "main aerosol components" refers to visible aerosol components which are generated when various aerosol sources included in a smoking article is heated to have temperature above predetermined temperature. Typically, the aerosol sources included in a smoking article are propylene glycol and glycerin. Further, in the case that the smoking article comprises a flavor source such as tobacco or the like, an aerosol component originated from the flavor source is included in the main aerosol components. On the other hand, in the present embodiment, an aerosol component originated from moisture included in the smoking article is not regarded as an object to be included in the main aerosol components.
  • The delivery profile of the main aerosol components may be measured by using a method such as that explained below. First, an aerosol generation device, with respect to which a delivery profile of main aerosol components should be measured, is prepared. Next, in a state that a smoking article has been inserted in the aerosol generation device, suction from a suction opening part of the smoking article, by using an automatic smoking device (that is manufactured by Borgwaldt KC Inc., for example), is performed. When performing the above process, the heater 30 is heated according to a control method defined with respect to the prepared aerosol generation device. Regarding suction conditions, conditions equivalent to HCI conditions (HCI; health Canada Intense) defined by Health Canada are adopted. Specifically, the suction conditions are as follows: the quantity of suction, 27.5 ml per second; suction time, 2 seconds per single action; and the interval between suction actions, 20 seconds.
  • The aerosol sucked by the automatic smoking device under the above suction conditions is collected by a Cambridge filter (for example, CM-133 manufactured by Borgwaldt KC Inc.). Specifically, smoke, that has passed through the above Cambridge filter, is collected in 10mL of methanol which has been cooled to -70 degrees Celsius by using a dry ice-isopropanol refrigerant. The 10 mL of methanol solution, in which the tobacco smoke has been collected, and an internal standard solution (0.05 mg/mL of pentadecane-d32, 50 ml/L of d-1-ethanol, 2 mL/L of anethole, and 4 mL/L of 1,3-butanediol) are added to the Cambridge filter, and it is shook for 30 minutes, and contained components are extracted.
  • Extraction of the contained components has been performed with respect to each of suction actions. As a result, the quantity of main aerosol components delivered from the aerosol generation device to the automatic smoking device, with respect to each suction action, is defined. By plotting the quantity of the main aerosol components delivered during the time that each suction action has been performed, the delivery profile of the main aerosol components, on the time axis, can be derived discretely. It should be reminded that, in Fig. 8, the discretely derived delivery profile has been drawn in a continuous manner by using an approximate curve.
  • In the present embodiment, the delivery profile of the main aerosol components comprises an initial period Q1, an intermediate period Q2, and a final period Q3. The initial period Q1 is a period during that a gradient with respect to the main aerosol components relative to time gradually increases. In other words, the initial period Q1 is a period during that the quantity of increase in the quantity of delivery of the main aerosol components per each suction action increases gradually.
  • In this regard, the gradient of the delivery profile of the main aerosol components is an absolute value of a slope of each point on the curve which forms the delivery profile. The gradient of the delivery profile of the main aerosol components can be defined by using the following method, for example. As explained above, the delivery profile of the main aerosol components on the time axis is derived discretely. In the above case, the gradient of the delivery profile of the main aerosol components may be defined, with respect to plotted points that are adjacent to each other on the time axis, by a value obtained by dividing a difference in the delivery profile of the main aerosol components by a difference in time between the plotted points.
  • Alternatively, the gradient of the delivery profile of the main aerosol components may be derived, for example, by using an approximate curve derived based on discrete plotting. In the above case, if an analytic formula of the approximate curve is defined, the gradient of the delivery profile of the main aerosol components can be defined by calculating a differential value of the analytic formula. An approximate curve such as that explained above may be derived, for example, by using a polynomial expression or by using a trigonometric function.
  • In the present embodiment, the start point S0 of the delivery profile is defined by the start point of the aerosol suction allowable period (the suction allowable period) (refer to Fig. 9). Specifically, the start point S0 of the delivery profile is defined by reporting of a start of the suction allowable period (the timing T2 in Fig. 9) that will be explained later.
  • Further, the boundary S1 between the initial period Q1 and the intermediate period Q2 may be defined by a point whereat the gradient of the main aerosol components in the initial period Q1 becomes the largest. In other words, the boundary S1 between the initial period Q1 and the intermediate period Q2 is a point whereat decreasing of the first time in the gradient of the main aerosol components in the whole delivery profile starts. In the case that the delivery profile is approximated by using a continuous approximate curve, the boundary S1 between the initial period Q1 and the intermediate period Q2 may be defined by a point of inflection.
  • The final period Q3 is a period during that a gradient with respect to the main aerosol components relative to time gradually decreases. In other words, the final period Q3 is a period during that the quantity of decrease in the quantity of delivery of the main aerosol components per each suction action decreases gradually.
  • In the present embodiment, the end point S3 of the delivery profile is defined by the end point of the aerosol suction allowable period (the suction allowable period) (refer to Fig. 9). Specifically, the end point S3 of the delivery profile is defined by timing when a report of an end of the suction allowable period is provided (the timing T7 in Fig. 9).
  • Further, the boundary S2 between the intermediate period Q2 and the final period Q3 may be defined by a point whereat the gradient of the main aerosol components in the final period Q3 becomes the largest. In other words, the boundary S2 between the intermediate period Q2 and the final period Q3 is a point whereat decreasing of the last time in the gradient of the main aerosol components in the whole delivery profile starts. In the case that the delivery profile is approximated by using a continuous approximate curve, the boundary S2 between the intermediate period Q2 and the final period Q3 may be defined by a point of inflection.
  • The intermediate period Q2 is a period between the initial period Q1 and the final period Q3. The intermediate period Q2 includes one or plural maximum values that are larger than the start point and the end point of the delivery profile. In the delivery profile shown in Fig. 8, the intermediate period Q2 includes a single maximum value (the largest value).
  • According to the above-explained aerosol delivery profile, the quantity of delivery of aerosol increases in a period from the initial period Q1 to the intermediate period Q2, has the maximum value in the intermediate period Q2, and decreases in a period from the intermediate period Q2 to the final period Q3. Thus, a user can recognize a specific period, i.e., one of the initial period Q1, the intermediate period Q2, and the final period Q3 of the suction allowable period, that the user is presently in, based on sensation felt when sucking aerosol.
  • Further, in the initial period Q1, the gradient with respect to the main aerosol components relating to time gradually increases, so that the delivery profile has a downwardly convex shape. On the other hand, in the intermediate period Q2, the delivery profile has an upwardly convex shape. Thus, the quantity of delivery of aerosol may drastically change at the time of transition from the initial period Q1 to the intermediate period Q2. Further, in the final period Q3, the gradient with respect to the main aerosol components relating to time gradually decreases, so that the delivery profile has a downwardly convex shape. Thus, the quantity of delivery of aerosol may drastically change at the time of transition from the intermediate period Q2 to the final period Q3. Thus, a user will be able to more easily recognize, based on sensation felt when sucking aerosol, transition from the initial period Q1 to the intermediate period Q2 and transition from the intermediate period Q2 to the final period Q3.
  • Preferably, the intermediate period Q2 is longer than each of the initial period Q1 and the final period Q3. More preferably, the intermediate period Q2 is equal to or longer than a sum of the initial period Q1 and the final period Q3. For example, the intermediate period Q2 may be 50-60% of the whole period, and each of the initial period Q1 and the final period Q3 may be 20-25% of the whole period. According to the above construction, the period, during that the quantity of delivery of main aerosol components is large, becomes relatively long, so that a user can suck the main aerosol components for a relatively long period.
  • It is preferable that the quantity of delivery of the main aerosol components at the end point S3 in the final period Q3 be larger than the quantity of delivery of the main aerosol components at the start point S0. In the above case, it is possible to suppress an excessive decrease in the quantity of delivery of the aerosol in the final period Q3. According to the above construction, decreasing of the quantity of delivery of the main aerosol components to a low level during the suction allowable period can be prevented, and, especially, the quantity of delivery of a high level can be maintained until the end of the final period Q2.
  • It is preferable that the largest value of the gradient relating to the main aerosol components in the final period Q3 be smaller than the largest value of the gradient relating to the main aerosol components in the first period Q1. In the above case, the speed of increase of the main aerosol components in the initial period Q1 becomes relatively high, so that the quantity of aerosol delivery can be brought to a high level in a relatively early stage in the suction allowable period. On the other hand, the gradient relating to the main aerosol components in the final period Q3 is small, so that the speed of decrease of the main aerosol components in the final period Q3 becomes relatively low. Thus, drastic decrease in the quantity of aerosol delivery in the final period Q3 can be suppressed. According to the above construction, the quantity of aerosol delivery of a high level can be maintained for a relatively long period.
  • It is preferable that the smallest value of the gradient relating to the main aerosol components in the final period Q3 be smaller than the smallest value of the gradient relating to the main aerosol components in the initial period Q1. Since the smallest value of the gradient relating to the main aerosol components in the final period Q3 is small, the speed of decrease of the main aerosol components in the final period Q3 becomes relatively low. Thus, drastic decrease in the quantity of aerosol delivery in the final period Q3 can be suppressed.
  • The intermediate period Q2 may comprise a stable period SP wherein the absolute value of the gradient relating to the main aerosol components is smaller than the smallest value of the gradient relating to the main aerosol components in the initial period Q1 and smaller than the smallest value of the gradient relating to the main aerosol components in the final period Q3. That is, the stable period SP is a period wherein change in the quantity of delivery of main aerosol components per each suction action is relatively small.
  • It is preferable that the stable period SP be longer than each of the initial period Q1 and the final period Q3. In the stable period SP, the quantity of delivery of main aerosol components is large, and change in the quantity of delivery is small. Thus, in the case that the stable period SP is longer than each of the initial period Q1 and the final period Q3, the main aerosol components can be supplied stably for a relatively long period in the intermediate period Q2. Further, it is preferable that the stable period SP be 50-60% of the intermediate period Q2. According to the above construction, the main aerosol components can be supplied stably for a relatively long period in the intermediate period Q2.
  • It should be reminded that the above-explained delivery profile and advantages thereof are those found as a result of diligent study by the inventors relating to the subject application.
  • The control part 22 of the aerosol generation device 120 may be constructed to control the heater 30 to realize the above-explained delivery profile of the main aerosol components. In this regard, the delivery profile of the main aerosol components is dependent, mainly, on the heating profile of the heater 30.
  • Fig. 9 shows an example of a heating profile of a heater. It should be reminded that the heating profile shown in Fig. 9 is an example that is appropriate for realizing the above-explained delivery profile of the main aerosol components, and the heating profile is not necessarily limited to the above heating profile.
  • As explained above, the heating profile is a graph showing time variation of target temperature in controlling of the heater 30. Temperature control of the heater 30 can be realized by using publicly known feedback control, for example. Specifically, the control part 22 of the aerosol generation device 120 can supply electric power from the battery 22 to the heater 30 in the forms of pulses according to pulse width modulation (PWM) or pulse frequency modulation (PFM). In the above case, the control part 22 can perform temperature control of the heater 30 by adjusting the duty ratio of the electric power pulses.
  • In the feedback control, the control part 22 may measure or estimate temperature of the heater 30, and, based on a difference between the measured or estimated temperature of the heater 30 and a target temperature, or the like, control the electric power supplied to the heater 30, for example, control the above-explained duty ratio. The feedback control may be PID control, for example. The temperature of the heater can be quantitatively determined, for example, by measuring or estimating an electric resistance value of a heating resistor which is a component of the heater 30. This is because the electric resistance value of the heating resistor changes in response to temperature. The electric resistance value of the heating resistor can be estimated, for example, by measuring the quantity of voltage drop in the heating resistor. The quantity of voltage drop in the heating resistor can be measured by a voltage sensor which measures a potential difference applied to the heating resistor. In the other example, the temperature of the sensor may be measured by a temperature sensor installed in a position near the heater 30.
  • As explained above, in the present embodiment, supply of electric power to the heater 30 may be controlled in such a manner that the actual temperature of the heater 30 approaches a target temperature in the heating profile. In this regard, since there may be a case that the heating profile includes a part whereat the target temperature rapidly changes, there may be a case that, in a part such as the above part, separation between the actual temperature of the heater 30 and the target temperature becomes large temporarily. In the heating profile illustrated in Fig. 9, each of parts, whereat separation between the actual temperature of the heater 30 and the target temperature is large, is shown by using a broken line.
  • In the heating profile shown in Fig. 9, when supply of electric power from the battery 10 to the heater 30 is started in response to reception of an activation request from a user, the control part 22 first controls the temperature of the heater 30 to bring it to a first target temperature TA1 during a first period P1. That is, the control part 22 heats the heater 30 to raise temperature from initial temperature to the first target temperature TA1. In the first period P1, after the temperature of the heater 30 has reached the first target temperature TA1, the control part 22 performs control to maintain the temperature of the heater 30 at the first target temperature TA1.
  • The first target temperature TA1 may be 225-240 degrees Celsius, preferably, and 230 degrees Celsius, typically.
  • The speed of raising of temperature of the heater 30 can be increased by setting the first target temperature TA1 in the first period P1 to relatively high temperature. By increasing the speed of raising of temperature of the heater 30, the period from a start of supply of electric power to the heater 30 to the time when suction of aerosol becomes possible can be shortened.
  • The control part 22 may be constructed to report, to a user, a state that a suction allowable period has started, in a period that is in the first period P1 and during that the temperature of the heater 30 is being maintained at the first target temperature TA1. Reporting of the state that the suction allowable period has started may be performed by controlling the notification part 40, and, for example, may be performed by performing a control process to change the color of light emitted from a light emitting element such as an LED or the like, a control process to change a light emitting pattern, or a control process to drive a vibration element, or a control process comprising a combination of the above control processes.
  • In the example shown in Fig. 9, reporting of the state that the suction allowable period has started is performed at timing T2. More specifically, reporting of the state that the suction allowable period has started may be performed at either timing T2 when a predetermined period P1b has elapsed since the time when the temperature of the heater 30 has reached the first target temperature, or timing when a predetermined period has elapsed since the time when supply of electric power to the heater 30 has started, that occurs earlier. The predetermined period P1b may be 20-26 seconds, preferably, and 23 seconds, typically.
  • Preferably, the control part 22 may be constructed to report, in the latter half of the first period P1, the state that the suction allowable period has started. The latter half of the first period P1 means a period after the center of the first period P1.
  • At timing T3 when predetermined period P1c has elapsed since the timing Ts when a start of the suction allowable period was reported, the control part 22 operates to proceed the period to a second period P2 that will be explained later. The predetermined period P1c may be 5-15 seconds, preferably, and 10 seconds, typically. According to the above construction, the probability of occurrence of an event that a user performs a suction action of the first time during the first period P1 becomes high. In the above case, it is possible to bring a user to perform a suction action of the first time, during a period that the heater temperature is maintained at temperature near the first target temperature TA1 that is the highest temperature in the heating profile.
  • The first period P1 changes due to the states of heating, ambient temperature, and so on of the heater 30 and the smoking article 110; however, it may typically be that in the range of 35-55 seconds. In this regard, it is preferable that the control part 22 be constructed to be able to change the length of the first period P1, based on the speed of raising of the temperature of the heater 30 in the first period P1. More specifically, the initial temperature rising period P1a in the first period P1 may be constructed to be changeable, based on the speed of raising of the temperature of the heater 30. Specifically, it is preferable that the control part 22 be constructed to change the length of the first period P1 to become shorter, as the period from a start of heating of the heater 30 to the time when the temperature has reached predetermined temperature becomes shorter.
  • In the present embodiment, the first period P1 ends when a predetermined period (P1b+P1c) has elapsed since the time when the temperature of the heater 30 has reached the first target temperature TA1. That is, if the speed of raising of the temperature of the heater 30 is high, the period P1, that is from the time T0 when supply of electric power to the heater 30 is started to the time when the temperature of the heater 30 reaches the first target temperature TA1, becomes short. The predetermined period (P1b+P1c) may be 25-41 seconds, preferably, and 33 seconds, typically.
  • As explained above, in the case that the speed of raising of the temperature of the heater 30 is high, consumption of electric power used during a preheating period can be reduced, by shortening the preheating period.
  • It is preferable that the variable range of the firs period P1, more specifically, the variable range of the period (P1a+P1b) that ends when a start of the suction allowable period is reported, have a predetermined upper limit value. For example, the upper limit value of the period (P1a+P1b), that is from a start of supply of electric power T0 to the time of reporting of a start of the suction allowable period T2, is 40-60 seconds, preferably, and 50 seconds, typically. According to the above construction, it is possible to prevent the control part 22 continuing preheating without transition to the second period P2, in the case that the temperature of the heater 30 does not reach the first target temperature TA1.
  • Next, during the second period P2 following the first period P1, the control part 22 controls the temperature of the heater 30 to change it to a second target temperature TA2 that is lower than the first target temperature TA1. That is, the control part 22 controls the heater 30 to lower the temperature of the heater 30 from the first target temperature TA1, and maintain the temperature at the second target temperature TA2.
  • The second target temperature TA2 may be that in the range of 190-210 degrees Celsius, preferably, and 200 degrees Celsius, typically. The second period P2 may be that in the range of 105-160 seconds, preferably, and 130 seconds, typically. It is preferable that the second period P2 be longer than each of the first period P1 and a third period P3 that will be explained later. Since the second period is a period during that temperature higher than that in the third period P3 is maintained, the second period is a period during that the aerosol is stably supplied. Thus, the period, during that the aerosol can be stably supplied, can be made relatively long.
  • By lowering the target temperature in the second period P2, it becomes possible to reduce electric power consumed in the second period P2.
  • The control part 22 may have a first off period, that is from the end of the first period P1 to an early period in the second period P2, for stopping supply of electric power to the heater 30. By setting the first off period, lowering of temperature from the first target temperature TA1 to the second target temperature TA2 can be completed in the shortest period of time. The control part 22 can continue measurement of temperature of the heater 30 even in the first off period. In the above case, the control par 22 may be constructed to resume supply of electric power to the heater 30 when the temperature of the heater 30 has decreased and reached temperature near the second target temperature TA2.
  • It is preferable that the first off period be a time interval during that a general user cannot perform two or more times of suction actions. If a user performs two or more times of suction actions during the off period, the temperature of the heater 30 may be lowered drastically, and may become that much lower than the second target temperature TA2. In the above case, there may be a risk that the quantity of aerosol generated from the smoking article 110 is reduced. If it is supposed that a time interval between usual suction actions by a general user is approximately 20 seconds, it is preferable that the first off period be that in the range of 15-20 seconds, for example. The first target temperature TA1 and the second target temperature TA2 may be set in such a manner that lowering of temperature from the first target temperature TA1 to the second target temperature TA2 as a result of natural cooling during the first off period is completed in the above time range. Alternatively, the control part 22 may be constructed to measure elapsed time of the first off period, and, when the first off period has reached a predetermined upper limit value, forcibly resume supply of electric power to the heater 30. It is preferable that the upper limit value of the first off period in the above case be 15-20 seconds.
  • Next, during the third period P3 that follows the second period P2, the control part 22 controls the temperature of the heater 30 to change it to a third target temperature TA3 that is lower than the second target temperature TA2. That is, the control part 22 controls the heater 30 to further lower the temperature of the heater 30 from the second target temperature TA2, and maintain the temperature at the third target temperature TA3. The third target temperature TA3 may be that in the range of 175-190 degrees Celsius, preferably, and 185 degrees Celsius, typically. The third period P3 may be that in the range of 30-90 seconds, preferably, and 60 seconds, typically. By further lowering the target temperature in the third period P3, it becomes possible to reduce electric power consumed in the third period P3.
  • It is preferable that a temperature difference (ΔT12) between the first target temperature TA1 and the second target temperature TA2 be larger than a temperature difference (ΔT23) between the second target temperature TA2 and the third target temperature TA3. The consumed electric power of the heater 30 in the second period P2 is larger than that in the third period p3, so that electric power consumption through the whole period can be reduced when the temperature difference (ΔT12) at the time of transition from the first period P1 to the second period P2 is set to that larger than the temperature difference (ΔT23) at the time of transition from the second period P2 to the third period P3. Thus, it is preferable that ΔT12/Δ23 be larger than 1. On the other hand, in the case that Δ12 is made excessively large compared with Δ23, the target temperature TA2 in the second period P2, that is set by taking stable supply of aerosol into consideration, becomes relatively low, so that there may be a risk that supply of aerosol in the second period P2 becomes unstable. Thus, it is preferable that ΔT12/Δ23 have a predetermined upper limit value. The upper limit value of ΔT12/Δ23 may be 2.5, for example. ΔT12/Δ23 may be 1.0-2.5, preferably, and 2.0, typically.
  • The control part 22 may have a second off period, that is from the end of the second period P2 to an early period in the third period P3, for stopping supply of electric power to the heater 30. By setting the second off period, lowering of temperature from the second target temperature TA2 to the third target temperature TA3 can be completed in the shortest period of time. The control part 22 can continue measurement of temperature of the heater 30 even in the second off period. In the above case, the control par 22 may be constructed to resume supply of electric power to the heater 30 when the temperature of the heater 30 has decreased and reached temperature near the third target temperature TA3. Similar to the first off period, it is preferable that the second off period be a time interval during that a general user cannot perform two or more times of suction actions, and that the second off period be that in the range of 15-20 seconds. The second target temperature TA2 and the third target temperature TA3 may be set in such a manner that lowering of temperature from the second target temperature TA2 to the third target temperature TA3 as a result of natural cooling during the second off period is completed in the above time range. Alternatively, the control part 22 may be constructed to measure elapsed time of the second off period, and, when the second off period has reached a predetermined upper limit value, forcibly resume supply of electric power to the heater 30.
  • As explained above, it is preferable that the temperature difference (ΔT12) between the first target temperature TA1 and the second target temperature TA2 be larger than the temperature difference (ΔT23) between the second target temperature TA2 and the third target temperature TA3; and the above relationship is preferable in view of setting of the first off period and the second off period to make them have values close to each other. According to the Newton's law of cooling, the speed of lowering of temperature in a high temperature range is faster than that in a low temperature range in the case of natural cooling; thus, for setting the first off period and the second off period as close as possible to each other, it is necessary to set the temperature difference (ΔT12) between the first target temperature TA1 and the second target temperature TA2, that belongs to the high temperature range, to that relatively large. If it is supposed that the temperature difference (ΔT12) between the first target temperature TA1 and the second target temperature TA2 is set to that equal to the temperature difference (ΔT23) between the second target temperature TA2 and the third target temperature TA3, or if it is supposed that the temperature difference (ΔT12) of the former is set to that smaller than the temperature difference (ΔT23) of the latter, the first off period always becomes shorter than the second off period, so that it becomes theoretically impossible to set the two off periods equal to each other.
  • Further, it is preferable that the ratio of the difference between the first target temperature TA1 and the second target temperature TA2 to the difference between the second target temperature TA2 and the third target temperature TA3 be less than 2.5. The reason that above construction is adopted is to allow stable generation of aerosol during a middle stage in the puff allowable period, by preventing the difference between the first target temperature TA1 and the second target temperature TA2 from becoming excessively large.
  • It should be reminded that, in view of reduction of electric power consumption, there may be a case that it is preferable to control the heater 30 at the third target temperature TA3 without going through the stage of the second target temperature TA2 after the first target temperature TA1. However, in the above case, the period (the second off period) required to change the temperature from the first target temperature TA1 to the third target temperature TA3 becomes relatively long. Since supply of electric power to the heater 30 is stopped during the period required to reach the third target temperature TA3 from the first target temperature TA1, there may be a risk that the temperature of the heater 30 may become that much lower than the third target temperature, if a user performs plural times of suction actions during the above period. By going through the second target temperature T2 that is set between the first target temperature TA1 and the third target temperature TA3 before transitioning from the first target temperature TA1 to the third target temperature TA3, the time required for transition from one target temperature to the other target temperature can be shortened. According to the above construction, duration of an off period, during that supply of electric power to the heater 30 is stopped, becomes shorter, so that it becomes possible to prevent excessive lowering of temperature of a smoking article due to plural times of suction actions, and prevent unstable generation of aerosol due thereto.
  • The control part 22 stops supply of electric power to the heater 30 at the time when the third period P3 ends. Next, the control part 22 reports an end of the suction allowable period at timing T7 when a predetermined period has elapsed since supply of electric power to the heater 30 is stopped (timing T6). That is, even in the time after supply of electric power to the heater 30 is stopped, a user is prompted to perform an aerosol suction action, until a predetermined period has elapsed, to allow the user to taste the aerosol by using remaining heat of the heater 30 and the smoking article 110. In this regard, reporting of the end of the suction allowable period may be performed by the notification part 40, and, for example, may be performed by performing a control process to change the color of light emitted from a light emitting element such as an LED or the like, a control process to change a light emitting pattern, or a control process to drive a vibration element, or a control process comprising a combination of the above control processes.
  • After the heater 30 went through the first period P1, the second period P2, and the third period P3 in the heating profile, heat from the heater 30 has been transferred sufficiently to the inside of the smoking article 110. Thus, in a period from the end of the third period P3 to the end of the suction allowable period, that is, in a fourth period P4 in Fig. 8, a certain quantity of aerosol can be generated by using remaining heat of the heater 30 and the smoking article 110. In this regard, similar to the cases of the first off period and the second off period, generation of aerosol becomes unstable in the fourth period P4, so that it is preferable that the fourth period P4 be a time interval during that a user does not perform two or more times of suction actions. Thus, the fourth period P4 is preferably 5-15 seconds, and, typically 10 seconds.
  • Further, the control part 22 may report a state that the suction allowable period is drawing to an end, at timing T5 that is earlier, by a predetermined period Pe, than timing T7 when the end of the suction allowable period is reported. Reporting such as that explained above may be performed, for example, 20-40 seconds before the end of the suction allowable period. Reporting such as that explained above may be performed by the notification part 40, and, for example, may be performed by performing a control process to change the color of light emitted from a light emitting element such as an LED or the like, a control process to change a light emitting pattern, or a control process to drive a vibration element, or a control process comprising a combination of the above control processes.
  • In the above-explained embodiment, the control part 22 stops supply of electric power to the heater 30 at the time of the end of the third period P3. In addition, the control part 22 may stop supply of electric power to the heater 30, even in the second period P2 or the third period P3 in the case that the number of times of suction actions by a user exceeds a predetermined number of times. A puff action by a user may be detected by the above-explained temperature sensor, for example.
  • Fig. 8 will be referred to, again. The delivery profile of the main aerosol components may mainly be dependent on the heating profile of the heater 30. Specifically, the delivery profile of the main aerosol components may basically be a profile corresponding to a temperature profile of the inside of the smoking article 110. The temperature profile of the inside of the smoking article 110 follows the hating profile of the heater 30, so that it generally tends to have a shape that is time-delayed relative to the heating profile.
  • Thus, by setting the first target temperature TA1 in the first period P1 to the highest temperature throughout the heating profile, it becomes easier to form an ascending curve having a steep gradient in the initial period Q1 in the delivery profile of the main aerosol components. Also, by maintaining the temperature of the heater 30 at the second target temperature TA2 during the most part of the second period P2 that follows the first period P1, it becomes easier to form the stable period SP, during that change per suction action is small, in the intermediate period Q2 in the delivery profile of the main aerosol components. Further, by controlling the temperature of the heater 30 to direct it to the third target temperature TA3 that is lower than the second target temperature TA2 during the third period P3 that follows the second period P2, it becomes easier to form a descending curve in the final period Q3 in the delivery profile of the main aerosol components. Especially, by making the temperature difference T23 between the second target temperature TA2 and the third target temperature TA3 small, it becomes easier to form a descending curve having a more gentle gradient in the final period Q3 in the delivery profile of the main aerosol components. As explained above, by performing control of the heater 30 according to the heating profile illustrated in Fig. 8, it becomes easier to form an upwardly convex curve, as a whole, having a maximum point in the intermediate period Q2, it becomes easier to form an ascending curve having a steep gradient in the initial period Q1, and it becomes easier to form a descending curve having a gentle gradient in the final period Q3, in the delivery profile of the main aerosol components.
  • As explained above, the delivery profile of the main aerosol components is mainly dependent on the heating profile of the heater 30. However, the delivery profile of the main aerosol components may change according to factors such as the shape of the heater 30, presence/absence and the shape of the heat insulating material 138, the size of the smoking article 110, the degree of contact between the heater 30 and the smoking article 110, the position of the heating part of the heater 30 relative to the smoking article 110, and so on. Thus, for realizing a desired delivery profile of the main aerosol components, the heating profile of the heater 30 and the above factors may be combined appropriately.
  • For example, in the case that the heater 30 has a cylindrical shape surrounding an outer periphery of a column-shape smoking article, it is hard for the heat transferred to the smoking article 110 to dissipate to the outside, so that it becomes easier for the delivery profile of the main aerosol components to follow the heating profile of the heater 30. similarly, in the case that the cylindrical heat insulating material 138 is positioned on the outer side in a radius direction of the heater 30, it is hard for the heat transferred to the smoking article 110 to dissipate to the outside, so that it becomes easier for the delivery profile of the main aerosol components to follow the heating profile of the heater 30. In the above case, the speed of increase of the delivery profile in the initial period Q1 becomes relatively high, so that the overall ascending curve of the delivery profile in the initial period Q1 may have more steep gradients. On the other hand, the speed of decrease of the delivery profile in the final period Q3 becomes relatively low, so that the overall descending curve of the delivery profile in the final period Q3 may have more gentle gradients.
  • Further, if the size of the smoking article 110, more specifically, the diameter of the smoking article 110, is made smaller, transfer of the heat from the outer side of the smoking article 110 to the inner side of the smoking article 110 becomes easier. Thus, if the diameter of the smoking article 110 is made smaller, it becomes easier for the delivery profile of the main aerosol components to follow the heating profile of the heater 30.
  • Further, if the degree of contact between the heater 30 and the smoking article 110 is made high when they are used, it becomes easier for the heat from the heater 30 to be transferred to the smoking article 110. That is, if the space between the smoking article 110 and the insertion hole 130 is set smaller in the state that the smoking article 110 is being inserted in the insertion hole 130, it becomes easier for the delivery profile of the main aerosol components to follow the heating profile of the heater 30.
  • Further, the delivery profile of the main aerosol components may be dependent on positional relationship between the smoking article 110 and the heater 30. When Fig. 7 is referred to again, it is preferable that the heater 30 be positioned in such a manner that it extends, in the smoking article 110, from the base part 11A which comprises the aerosol source to the paper tube part 114 which does not comprise the aerosol source. According to the above construction, it becomes easier for the heat from the heater 30 to be transferred sufficiently to the end surface on the downstream side and the place near thereof of the base material 11A, so that it becomes easier for the delivery profile of the main aerosol components to follow the heating profile of the heater 30. Further, it is preferable that the inner-side cylindrical member 132, which has an inner peripheral surface which comes in contact with the smoking article 110 and an outer peripheral surface which comes in contact with the heater 3, be positioned in such a manner that it extends from the base part 11A which comprises the aerosol source to the paper tube part 114 which does not comprise the aerosol source. Especially, it is preferable that the downstream end of the inner-side cylindrical member 132 protrude toward the downstream side below the downstream end of the heater 30. According to the above construction, it is possible to sufficiently heat, in addition to the downstream end surface of the base part 11A, the upstream end surface and a place near thereof of the paper tube part 114, and, thus, it is possible to suppress condensation of aerosol in the above part, so that the above matter becomes a factor for increasing the delivery profile over all. In this regard, the heating part 31 of the heater 30 is a part which is heated actively. In the case of a heater comprising a heating resistor, the heating part 31 of the heater 30 refers to the heating resistor.
  • Further, the delivery profile of the main aerosol components may be caused by components constructing the smoking article 110. More specifically, the quantity of moisture in the smoking article 110 may have influence on the speed of increase in the initial period Q1 in the delivery profile of the main aerosol components. For example, in the case that the quantity of moisture in the smoking article 110 is relatively large, the heat from the heater 30 may be used for vaporizing the moisture instead of heating the aerosol source, and the above matter may become a factor to lower the speed of increase in the delivery profile of the main aerosol components. As a result, the part of the delivery profile corresponding to the initial period Q1, as a whole, may have more gentle gradients. As explained above, the aerosol originated from the moisture in the smoking article 110 does not include the main aerosol components, usually.
  • By appropriately setting the heating profile of the heater 30 by taking the factors such as those explained above, which have influence on the delivery profile, into consideration, the above-explained desired delivery profile of the main aerosol components may be realized.
  • (Program and Storage Medium)
  • A control flow for realizing the heating profile and/or the delivery profile of the main aerosol components, that have been explained above, can be performed by the control part 22. That is, the present invention may include a program for making the flavor inhaler 100 and/or the aerosol generation device 120 perform the above-explained method, and a storage medium in which the program is stored. A storage medium such as that explained above may be a non-transient storage medium.

Claims (16)

  1. An aerosol generation device (120) comprising:
    a heater (30) configured to heat an outer periphery of a smoking article (110) comprising an aerosol source, and
    a control part (22) configured to control the heater (30);
    wherein the control part (22) is configured to control the heater (30) in such a manner that a delivery profile of aerosol in a predetermined suction allowable period comprises one or more maximum values in a period between a start point (T2) and an end point (T7) in the suction allowable period,
    wherein the smoking article (110) comprises an aerosol existing region (11A) including the aerosol source, and an aerosol non-existing region (11B) positioned downstream the aerosol existing region (11A) in the direction of flow of generated aerosol;
    characterized in that, when the smoking article (110) is inserted into the aerosol generation device (120), a heating part of the heater (30) is arranged to extend from the aerosol existing region (11A) of the smoking article (110) to the aerosol non-existing region (11B) of the smoking article (110).
  2. The aerosol generation device (120) according to claim 1, wherein the aerosol non-existing region (11B) of the smoking article (110) comprises a paper tube part (114) and a filter part (115).
  3. The aerosol generation device (120) according to claim 2, wherein the paper tube part (114) and the filter part (115) are adjacent to each other.
  4. The aerosol generation device (120) according to any of claims 2 or 3, wherein the heating part of the heater (30) is arranged to extend from the aerosol existing region (11A) of the smoking article (110) to the paper tube part (114) of the aerosol non-existing region (11B).
  5. The aerosol generation device (120) according to claim 1 or 2, wherein
    the heater (30) is configured to thermally contact the outer periphery of the smoking article (110) to heat the outer periphery of the smoking article (110), and
    is positioned to heat the smoking article (110) from the aerosol existing region of the smoking article to the aerosol non-existing region of the smoking article.
  6. The aerosol generation device (120) according to claim 1 or 2, wherein
    the heater (30) is a film heater wound around the outer periphery of the smoking article (110) to heat the outer periphery of the smoking article (110), and
    is positioned to heat the smoking article (110) from the aerosol existing region of the smoking article to the aerosol non-existing region of the smoking article.
  7. The aerosol generation device (120) according to claim 5 or 6, further comprising an inner-cycle cylindrical member (132) configured to accept the smoking article (110).
  8. The aerosol generation device (120) according to any one of claims 1 to 7, further comprising a heat insulating material (138) positioned around the heating part of the heater (30).
  9. The aerosol generation device (120) according to claim 8, wherein the heat insulating material (138) is constructed by using aerogel.
  10. The aerosol generation device (120) according to claims 8 or 9, wherein the heat insulating material (138) is a fiber-type heat insulating material, a foam-type insulating material, or a vacuum insulating material.
  11. The aerosol generation device (120) according to any one of claims 1 to 10, wherein the heating part of the heater (30) has a cylindrical shape surrounding the outer periphery of the smoking article (110) which has a column shape.
  12. The aerosol generation device (120) according to any one of claims 1 to 11, wherein the heating part is a resistance heating element.
  13. The aerosol generation device (120) according to any one of claims 1 to 12, wherein the heating part of the heater (30) protrudes toward the downstream side below a downstream end of the aerosol existing region (11A) by a protruded length (D2) of 1.5-3.5 mm.
  14. The aerosol generation device (120) according to claim 13, wherein a ratio of the protruded length (D2) of the heating part of the heater (30) to a length (L0) of the aerosol existing region (11A) of the smoking article (120) is 0.075-0.175.
  15. A method for heating a smoking article (110) comprising an aerosol source by use of an aerosol generation device (120), the aerosol generation device (120) comprising
    a heater (30) configured to heat an outer periphery of the smoking article (120) and
    a control part (22) configured to control the heater (30),
    the smoking article comprising
    an aerosol existing region (11A) including the aerosol source and
    an aerosol non-existing region (11B) positioned downstream the aerosol existing region (11A) in the direction of flow of generated aerosol,
    the method comprising:
    arranging, when the smoking article (110) is inserted into the aerosol generation device (120), a heating part of the heater (30) to extend from the aerosol existing region (11A) of the smoking article (110) to the aerosol non-existing region (11B) of the smoking article (110),
    heating simultaneously the aerosol existing region (11A) and at least a portion of the aerosol non-existing region (11B) in the aerosol existing region side, and
    controlling the heater (30) in such a manner that a delivery profile of aerosol in a predetermined suction allowable period comprises one or more maximum values in a period between a start point (T2) and an end point (T7) in the suction allowable period.
  16. An aerosol generation system (100) comprising:
    a smoking article (110) comprising an aerosol source, and
    an aerosol generation device (120) according to any one of claims 1 to 14.
EP23161447.0A 2018-03-06 2018-10-26 Aerosol generation device, method for heating a smoking article, and aerosol generation system Active EP4212039B1 (en)

Priority Applications (4)

Application Number Priority Date Filing Date Title
EP23161447.0A EP4212039B1 (en) 2018-10-26 2018-10-26 Aerosol generation device, method for heating a smoking article, and aerosol generation system
HUE23161447A HUE072072T2 (en) 2018-10-26 2018-10-26 Aerosol generation device, method for heating a smoking article, and aerosol generation system
ES23161447T ES3034769T3 (en) 2018-03-06 2018-10-26 Aerosol generation device, method for heating a smoking article, and aerosol generation system
PL23161447.0T PL4212039T3 (en) 2018-10-26 2018-10-26 Aerosol generation device, method for heating a smoking article, and aerosol generation system

Applications Claiming Priority (3)

Application Number Priority Date Filing Date Title
EP23161447.0A EP4212039B1 (en) 2018-10-26 2018-10-26 Aerosol generation device, method for heating a smoking article, and aerosol generation system
EP18937682.5A EP3871527B1 (en) 2018-10-26 2018-10-26 Control unit, aerosol generation device, method and program for controlling heater
PCT/JP2018/039918 WO2020084775A1 (en) 2018-10-26 2018-10-26 Control unit, aerosol generation device, method and program for controlling heater, and smoking article

Related Parent Applications (2)

Application Number Title Priority Date Filing Date
EP18937682.5A Division-Into EP3871527B1 (en) 2018-10-26 2018-10-26 Control unit, aerosol generation device, method and program for controlling heater
EP18937682.5A Division EP3871527B1 (en) 2018-10-26 2018-10-26 Control unit, aerosol generation device, method and program for controlling heater

Publications (3)

Publication Number Publication Date
EP4212039A1 EP4212039A1 (en) 2023-07-19
EP4212039B1 true EP4212039B1 (en) 2025-05-07
EP4212039C0 EP4212039C0 (en) 2025-05-07

Family

ID=70330670

Family Applications (3)

Application Number Title Priority Date Filing Date
EP25211403.8A Pending EP4659606A2 (en) 2018-10-26 2018-10-26 Control unit, aerosol generation device, method and program for controlling heater
EP23161447.0A Active EP4212039B1 (en) 2018-03-06 2018-10-26 Aerosol generation device, method for heating a smoking article, and aerosol generation system
EP18937682.5A Active EP3871527B1 (en) 2018-10-26 2018-10-26 Control unit, aerosol generation device, method and program for controlling heater

Family Applications Before (1)

Application Number Title Priority Date Filing Date
EP25211403.8A Pending EP4659606A2 (en) 2018-10-26 2018-10-26 Control unit, aerosol generation device, method and program for controlling heater

Family Applications After (1)

Application Number Title Priority Date Filing Date
EP18937682.5A Active EP3871527B1 (en) 2018-10-26 2018-10-26 Control unit, aerosol generation device, method and program for controlling heater

Country Status (7)

Country Link
EP (3) EP4659606A2 (en)
JP (3) JPWO2020084775A1 (en)
CN (1) CN112969376A (en)
HU (1) HUE072072T2 (en)
PL (1) PL4212039T3 (en)
TW (1) TW202015563A (en)
WO (1) WO2020084775A1 (en)

Families Citing this family (19)

* Cited by examiner, † Cited by third party
Publication number Priority date Publication date Assignee Title
WO2024053965A1 (en) * 2022-09-05 2024-03-14 Kt&G Corporation Aerosol generating device and operating method thereof
CN115666297A (en) * 2020-07-09 2023-01-31 日本烟草产业株式会社 Main body unit of aerosol-generating device, and non-combustion type suction device
CN115666290A (en) * 2020-07-09 2023-01-31 日本烟草产业株式会社 Main unit of aerosol generating device, aerosol generating device, and non-combustion inhaler
CN213587421U (en) * 2020-08-13 2021-07-02 深圳市合元科技有限公司 Aerosol generating device
KR102522678B1 (en) * 2020-12-31 2023-04-17 주식회사 케이티앤지 Aerosol generating device
US12520880B2 (en) 2021-01-18 2026-01-13 Altria Client Services Llc Heat-not-burn (HNB) aerosol-generating devices including energy based heater control, and methods of controlling a heater
US11789476B2 (en) 2021-01-18 2023-10-17 Altria Client Services Llc Heat-not-burn (HNB) aerosol-generating devices including intra-draw heater control, and methods of controlling a heater
KR20230169225A (en) 2021-04-26 2023-12-15 니뽄 다바코 산교 가부시키가이샤 flavor aspirator
WO2022238338A1 (en) * 2021-05-10 2022-11-17 Jt International S.A. Aerosol generating device comprising two heating elements
CN117615676A (en) 2021-07-14 2024-02-27 日本烟草产业株式会社 Scent inhaler and heater manufacturing method
JP7595173B2 (en) * 2021-07-21 2024-12-05 日本たばこ産業株式会社 Aerosol Generation System
JP7698726B2 (en) 2021-10-08 2025-06-25 日本たばこ産業株式会社 flavor aspirator
KR20240065274A (en) 2021-10-08 2024-05-14 니뽄 다바코 산교 가부시키가이샤 Flavor aspirator and method of manufacturing the flavor aspirator
KR102871035B1 (en) * 2022-10-14 2025-10-15 주식회사 이노아이티 Heating boost aerosol-generating device
EP4613137A1 (en) 2022-10-31 2025-09-10 Japan Tobacco Inc. Smoking-relevant information management system
CN120265158A (en) * 2022-12-16 2025-07-04 日本烟草产业株式会社 Flavor inhaler and method for making a flavor inhaler
JPWO2024261957A1 (en) 2023-06-22 2024-12-26
WO2024261954A1 (en) 2023-06-22 2024-12-26 日本たばこ産業株式会社 Method for producing flavor generator and flavor generator
KR20260003214A (en) 2023-06-22 2026-01-06 니뽄 다바코 산교 가부시키가이샤 Smoking articles and methods for manufacturing smoking articles

Family Cites Families (13)

* Cited by examiner, † Cited by third party
Publication number Priority date Publication date Assignee Title
KR102030512B1 (en) * 2011-04-22 2019-10-10 총 코오퍼레이션 Medicant delivery system
RS57598B1 (en) * 2011-09-06 2018-11-30 British American Tobacco Investments Ltd Heating smokable material
TWI546023B (en) * 2011-10-27 2016-08-21 菲利浦莫里斯製品股份有限公司 Electrically operated aerosol generating system with aerosol production control
KR102029510B1 (en) * 2011-10-27 2019-10-07 필립모리스 프로덕츠 에스.에이. Aerosol Generating System with Improved Aerosol Production
TWI608805B (en) 2012-12-28 2017-12-21 菲利浦莫里斯製品股份有限公司 Heated aerosol-generating device and method for generating aerosol with consistent properties
GB2519101A (en) * 2013-10-09 2015-04-15 Nicoventures Holdings Ltd Electronic vapour provision system
JP6267793B2 (en) * 2013-10-29 2018-01-24 ブリティッシュ アメリカン タバコ (インヴェストメンツ) リミテッドBritish American Tobacco (Investments) Limited Device for heating smoking material
US11696604B2 (en) * 2014-03-13 2023-07-11 Rai Strategic Holdings, Inc. Aerosol delivery device and related method and computer program product for controlling an aerosol delivery device based on input characteristics
KR20240124442A (en) * 2015-02-06 2024-08-16 필립모리스 프로덕츠 에스.에이. Improved extractor for an aerosol-generating device
AR109120A1 (en) 2016-07-26 2018-10-31 British American Tobacco Investments Ltd APPARATUS FOR HEATING FUMABLE MATERIAL
JP6704454B2 (en) * 2016-07-27 2020-06-03 日本たばこ産業株式会社 Flavor suction device
CA3267356A1 (en) * 2017-03-30 2025-06-02 Kt & G Corporation Aerosol generating apparatus and cradle capable of receiving same
EP3610746B1 (en) * 2017-04-11 2025-12-03 KT & G Corporation Aerosol generating device

Also Published As

Publication number Publication date
WO2020084775A1 (en) 2020-04-30
EP3871527B1 (en) 2025-12-17
JPWO2020084775A1 (en) 2021-10-14
JP7623422B2 (en) 2025-01-28
JP2025061372A (en) 2025-04-10
CN112969376A (en) 2021-06-15
EP3871527A1 (en) 2021-09-01
TW202015563A (en) 2020-05-01
EP4659606A2 (en) 2025-12-10
HUE072072T2 (en) 2025-10-28
JP2023103468A (en) 2023-07-26
EP4212039C0 (en) 2025-05-07
EP3871527A4 (en) 2022-06-22
EP4212039A1 (en) 2023-07-19
PL4212039T3 (en) 2025-09-01

Similar Documents

Publication Publication Date Title
EP4212039B1 (en) Aerosol generation device, method for heating a smoking article, and aerosol generation system
EP3871530B1 (en) Control unit, aerosol generation device, and method and program for controlling heater
EP3871531A1 (en) Control unit, aerosol generation device, method and program for controlling heater, and smoking article
JP7772882B2 (en) Electronic smoking articles including heating devices that implement a solid aerosol source, and associated devices and methods
KR102918246B1 (en) Aerosol generating device and heating chamber for aerosol generating device
KR102894626B1 (en) Aerosol generating device and heating chamber for aerosol generating device
KR102881210B1 (en) Aerosol generating device and heating chamber for aerosol generating device
TWI824054B (en) Aerosol delivery device and control body
KR102884879B1 (en) Aerosol generating device and heating chamber for aerosol generating device
KR102881212B1 (en) Aerosol generating device and heating chamber for aerosol generating device
CN111726996B (en) Aerosol generating device, control method thereof, and computer-readable recording medium
KR20210075112A (en) Aerosol-generating device and heating chamber for aerosol-generating device
KR20250162963A (en) Aerosol generation device and heating chamber therefor
RU2852216C2 (en) Aerosol-generating device, method of heating smoking article using aerosol-generating device and aerosol-generating system containing smoking article comprising aerosol source, and aerosol-generating device
RU2772840C1 (en) Control unit, aerosol generation device, heater control method, computer readable data medium and smoking product
JP7190554B2 (en) Control unit, aerosol generator, method and program for controlling heater, and smoking article
RU2772162C1 (en) Control unit, an aerosol generating device, a method and a computer-readable data carrier for controlling the heater, as well as a smoking product
ES3034769T3 (en) Aerosol generation device, method for heating a smoking article, and aerosol generation system
JP2026021490A (en) Electronic smoking articles including heating devices that implement a solid aerosol source, and associated devices and methods

Legal Events

Date Code Title Description
PUAI Public reference made under article 153(3) epc to a published international application that has entered the european phase

Free format text: ORIGINAL CODE: 0009012

STAA Information on the status of an ep patent application or granted ep patent

Free format text: STATUS: REQUEST FOR EXAMINATION WAS MADE

17P Request for examination filed

Effective date: 20230313

AC Divisional application: reference to earlier application

Ref document number: 3871527

Country of ref document: EP

Kind code of ref document: P

AK Designated contracting states

Kind code of ref document: A1

Designated state(s): AL AT BE BG CH CY CZ DE DK EE ES FI FR GB GR HR HU IE IS IT LI LT LU LV MC MK MT NL NO PL PT RO RS SE SI SK SM TR

STAA Information on the status of an ep patent application or granted ep patent

Free format text: STATUS: EXAMINATION IS IN PROGRESS

17Q First examination report despatched

Effective date: 20240416

GRAP Despatch of communication of intention to grant a patent

Free format text: ORIGINAL CODE: EPIDOSNIGR1

STAA Information on the status of an ep patent application or granted ep patent

Free format text: STATUS: GRANT OF PATENT IS INTENDED

RIC1 Information provided on ipc code assigned before grant

Ipc: A24F 40/20 20200101ALN20241028BHEP

Ipc: A24F 40/57 20200101ALI20241028BHEP

Ipc: A24F 40/50 20200101AFI20241028BHEP

INTG Intention to grant announced

Effective date: 20241129

GRAS Grant fee paid

Free format text: ORIGINAL CODE: EPIDOSNIGR3

GRAA (expected) grant

Free format text: ORIGINAL CODE: 0009210

STAA Information on the status of an ep patent application or granted ep patent

Free format text: STATUS: THE PATENT HAS BEEN GRANTED

AC Divisional application: reference to earlier application

Ref document number: 3871527

Country of ref document: EP

Kind code of ref document: P

AK Designated contracting states

Kind code of ref document: B1

Designated state(s): AL AT BE BG CH CY CZ DE DK EE ES FI FR GB GR HR HU IE IS IT LI LT LU LV MC MK MT NL NO PL PT RO RS SE SI SK SM TR

REG Reference to a national code

Ref country code: GB

Ref legal event code: FG4D

REG Reference to a national code

Ref country code: CH

Ref legal event code: EP

REG Reference to a national code

Ref country code: DE

Ref legal event code: R096

Ref document number: 602018081867

Country of ref document: DE

REG Reference to a national code

Ref country code: IE

Ref legal event code: FG4D

U01 Request for unitary effect filed

Effective date: 20250606

U07 Unitary effect registered

Designated state(s): AT BE BG DE DK EE FI FR IT LT LU LV MT NL PT RO SE SI

Effective date: 20250616

REG Reference to a national code

Ref country code: ES

Ref legal event code: FG2A

Ref document number: 3034769

Country of ref document: ES

Kind code of ref document: T3

Effective date: 20250822

PG25 Lapsed in a contracting state [announced via postgrant information from national office to epo]

Ref country code: NO

Free format text: LAPSE BECAUSE OF FAILURE TO SUBMIT A TRANSLATION OF THE DESCRIPTION OR TO PAY THE FEE WITHIN THE PRESCRIBED TIME-LIMIT

Effective date: 20250807

PG25 Lapsed in a contracting state [announced via postgrant information from national office to epo]

Ref country code: HR

Free format text: LAPSE BECAUSE OF FAILURE TO SUBMIT A TRANSLATION OF THE DESCRIPTION OR TO PAY THE FEE WITHIN THE PRESCRIBED TIME-LIMIT

Effective date: 20250507

PG25 Lapsed in a contracting state [announced via postgrant information from national office to epo]

Ref country code: RS

Free format text: LAPSE BECAUSE OF FAILURE TO SUBMIT A TRANSLATION OF THE DESCRIPTION OR TO PAY THE FEE WITHIN THE PRESCRIBED TIME-LIMIT

Effective date: 20250807

PG25 Lapsed in a contracting state [announced via postgrant information from national office to epo]

Ref country code: IS

Free format text: LAPSE BECAUSE OF FAILURE TO SUBMIT A TRANSLATION OF THE DESCRIPTION OR TO PAY THE FEE WITHIN THE PRESCRIBED TIME-LIMIT

Effective date: 20250907

REG Reference to a national code

Ref country code: HU

Ref legal event code: AG4A

Ref document number: E072072

Country of ref document: HU

REG Reference to a national code

Ref country code: GR

Ref legal event code: EP

Ref document number: 20250401584

Country of ref document: GR

Effective date: 20251009

REG Reference to a national code

Ref country code: CH

Ref legal event code: U11

Free format text: ST27 STATUS EVENT CODE: U-0-0-U10-U11 (AS PROVIDED BY THE NATIONAL OFFICE)

Effective date: 20251101

U20 Renewal fee for the european patent with unitary effect paid

Year of fee payment: 8

Effective date: 20251028

PGFP Annual fee paid to national office [announced via postgrant information from national office to epo]

Ref country code: HU

Payment date: 20251103

Year of fee payment: 8

PGFP Annual fee paid to national office [announced via postgrant information from national office to epo]

Ref country code: GB

Payment date: 20251022

Year of fee payment: 8

PG25 Lapsed in a contracting state [announced via postgrant information from national office to epo]

Ref country code: SM

Free format text: LAPSE BECAUSE OF FAILURE TO SUBMIT A TRANSLATION OF THE DESCRIPTION OR TO PAY THE FEE WITHIN THE PRESCRIBED TIME-LIMIT

Effective date: 20250507

PGFP Annual fee paid to national office [announced via postgrant information from national office to epo]

Ref country code: GR

Payment date: 20251022

Year of fee payment: 8

PGFP Annual fee paid to national office [announced via postgrant information from national office to epo]

Ref country code: CH

Payment date: 20251101

Year of fee payment: 8

PGFP Annual fee paid to national office [announced via postgrant information from national office to epo]

Ref country code: CZ

Payment date: 20251020

Year of fee payment: 8

PGFP Annual fee paid to national office [announced via postgrant information from national office to epo]

Ref country code: PL

Payment date: 20251020

Year of fee payment: 8

PG25 Lapsed in a contracting state [announced via postgrant information from national office to epo]

Ref country code: SK

Free format text: LAPSE BECAUSE OF FAILURE TO SUBMIT A TRANSLATION OF THE DESCRIPTION OR TO PAY THE FEE WITHIN THE PRESCRIBED TIME-LIMIT

Effective date: 20250507

PGFP Annual fee paid to national office [announced via postgrant information from national office to epo]

Ref country code: ES

Payment date: 20251216

Year of fee payment: 8

PLBI Opposition filed

Free format text: ORIGINAL CODE: 0009260