EP3727075B1 - Insulating device backpack - Google Patents

Insulating device backpack Download PDF

Info

Publication number
EP3727075B1
EP3727075B1 EP18830667.4A EP18830667A EP3727075B1 EP 3727075 B1 EP3727075 B1 EP 3727075B1 EP 18830667 A EP18830667 A EP 18830667A EP 3727075 B1 EP3727075 B1 EP 3727075B1
Authority
EP
European Patent Office
Prior art keywords
insulating device
outer shell
inner liner
insulating
closure
Prior art date
Legal status (The legal status is an assumption and is not a legal conclusion. Google has not performed a legal analysis and makes no representation as to the accuracy of the status listed.)
Active
Application number
EP18830667.4A
Other languages
German (de)
French (fr)
Other versions
EP3727075A1 (en
Inventor
Jeffrey Charles Munie
Kyle Edward Rogers
Donald Edward Desroches
John Loudenslager
Derek G. Sullivan
Alex Baires
Current Assignee (The listed assignees may be inaccurate. Google has not performed a legal analysis and makes no representation or warranty as to the accuracy of the list.)
Yeti Coolers LLC
Original Assignee
Yeti Coolers LLC
Priority date (The priority date is an assumption and is not a legal conclusion. Google has not performed a legal analysis and makes no representation as to the accuracy of the date listed.)
Filing date
Publication date
Priority claimed from US15/845,737 external-priority patent/US10781028B2/en
Application filed by Yeti Coolers LLC filed Critical Yeti Coolers LLC
Publication of EP3727075A1 publication Critical patent/EP3727075A1/en
Application granted granted Critical
Publication of EP3727075B1 publication Critical patent/EP3727075B1/en
Active legal-status Critical Current
Anticipated expiration legal-status Critical

Links

Images

Classifications

    • AHUMAN NECESSITIES
    • A45HAND OR TRAVELLING ARTICLES
    • A45FTRAVELLING OR CAMP EQUIPMENT: SACKS OR PACKS CARRIED ON THE BODY
    • A45F3/00Travelling or camp articles; Sacks or packs carried on the body
    • A45F3/04Sacks or packs carried on the body by means of two straps passing over the two shoulders
    • AHUMAN NECESSITIES
    • A45HAND OR TRAVELLING ARTICLES
    • A45CPURSES; LUGGAGE; HAND CARRIED BAGS
    • A45C11/00Receptacles for purposes not provided for in groups A45C1/00-A45C9/00
    • A45C11/20Lunch or picnic boxes or the like
    • AHUMAN NECESSITIES
    • A45HAND OR TRAVELLING ARTICLES
    • A45CPURSES; LUGGAGE; HAND CARRIED BAGS
    • A45C13/00Details; Accessories
    • A45C13/008Details; Accessories for making water- or air-tight
    • AHUMAN NECESSITIES
    • A45HAND OR TRAVELLING ARTICLES
    • A45CPURSES; LUGGAGE; HAND CARRIED BAGS
    • A45C13/00Details; Accessories
    • A45C13/10Arrangement of fasteners
    • A45C13/1023Arrangement of fasteners with elongated profiles fastened by sliders
    • A45C13/103Arrangement of zip-fasteners
    • AHUMAN NECESSITIES
    • A45HAND OR TRAVELLING ARTICLES
    • A45FTRAVELLING OR CAMP EQUIPMENT: SACKS OR PACKS CARRIED ON THE BODY
    • A45F3/00Travelling or camp articles; Sacks or packs carried on the body
    • A45F3/02Sacks or packs carried on the body by means of one strap passing over the shoulder
    • AHUMAN NECESSITIES
    • A45HAND OR TRAVELLING ARTICLES
    • A45FTRAVELLING OR CAMP EQUIPMENT: SACKS OR PACKS CARRIED ON THE BODY
    • A45F3/00Travelling or camp articles; Sacks or packs carried on the body
    • A45F3/02Sacks or packs carried on the body by means of one strap passing over the shoulder
    • A45F2003/025Sacks or packs carried on the body by means of one strap passing over the shoulder and one additional strap around the waist
    • AHUMAN NECESSITIES
    • A45HAND OR TRAVELLING ARTICLES
    • A45FTRAVELLING OR CAMP EQUIPMENT: SACKS OR PACKS CARRIED ON THE BODY
    • A45F3/00Travelling or camp articles; Sacks or packs carried on the body
    • A45F3/04Sacks or packs carried on the body by means of two straps passing over the two shoulders
    • A45F2003/045Sacks or packs carried on the body by means of two straps passing over the two shoulders and one additional strap around the waist

Definitions

  • the present disclosure relates generally to non-rigid, portable, insulated devices or containers useful for keeping food and beverages cool or warm, and, more particularly, an insulating device with a waterproof closure.
  • Coolers are designed to keep food and beverages at lower temperatures.
  • Containers may be composed of rigid materials such as metal or plastics or flexible materials such as fabric or foams.
  • Coolers can be designed to promote portability.
  • rigid containers can be designed to incorporate wheels that facilitate ease of transport or coolers can be designed in smaller shapes to allow individuals to carry the entire device.
  • Non-rigid containers can be provided with straps and/or handles and may in certain instances be made of lighter weight materials to facilitate mobility.
  • Non-rigid coolers that maximize portability can be designed with an aperture on the top that allows access to the interior contents of the cooler. The aperture can also be provided with a closure.
  • US 2007/164063 A1 discloses an insulating device backpack, comprising:an outer shell having a cuboidal shape, further comprising a first sidewall defining a front portion of the insulating device backpack and a second sidewall and a third sidewall defining side portions of the insulating device backpack, and a fourth sidewall defining a back portion of the insulating device backpack, further comprising an insulating layer, the insulating layer providing insulation for the storage compartment and also comprising a back panel support structure externally coupled to the fourth sidewall of the outer shell;and shoulder straps that allow the insulating device to be carried as a backpack,the shoulder strap being coupled to the back panel support structure, further comprising an opening configured to allow access to the storage compartment and a closure adapted to substantially seal the opening, the closure being substantially waterproof so as to resist liquid from exiting the opening when the insulating device backpack is in any orientation, wherein the opening extends through the first sidewall, the second sidewall, the third sidewall, and at least a portion of the fourth sidewall
  • aspects of the disclosure herein may relate to insulating devices having one or more of (1) a waterproof closure (2) an outer shell, (3) an inner liner, (4) an insulating layer floating freely in between the outer shell and the inner liner, or (5) a waterproof storage compartment.
  • FIGS. 1-4 depict an exemplary insulating device 10 that can be configured to keep desired contents stored cool or warm for an extended period of time.
  • the insulating device can generally include an outer shell 501, a closure 301, an insulating layer 502, and an inner liner 500.
  • the inner liner 500 forms a chamber or receptacle 504 for receiving the desired contents therein.
  • various handles, straps, and webs e.g. 210, 212, 218, 224) can also be included on the insulating device 10 for carrying, holding, or securing the insulating device 10.
  • the insulating device 10 can be configured to keep desired contents stored in the receptacle 504 cool or warm for an extended period of time.
  • the insulating device 10 can also be designed to maintain water inside the inner chamber or receptacle 504, and the insulating device 10 can be configured to be water "resistant" from the outside in.
  • the insulating device 10 can be formed "water tight" inside the inner liner 500, and water cannot leak into the inner liner 500 from the outside or out from the inside of the inner liner 500 when the closure 301 is in the closed position.
  • Fig. 4 depicts a bottom view of the insulating device 10.
  • the insulating device 10 may include a base 215 and a base support ridge 400.
  • the base support ridge 400 can provide structural integrity and support to the insulating device 10 when the insulating device 10 is placed onto a surface.
  • the top of the outer shell 501 has a first perimeter circumference (T cir ) and the bottom of the outer shell 501 has a second perimeter circumference or a base perimeter 401 (B cir ).
  • the circumference of the top of the outer shell 501 can be equal to the circumference on the bottom when folded into a cylinder, and B cir can be equal to T cir .
  • the first circumference and the second circumference can both have an oval shape to form an elongated or elliptical cylinder.
  • the top outer layer can have a length of 59,69cm (23.5 inches) and a width of 13.97cm (5.5 inches).
  • the length to width ratio of the top outer layer 501a can be approximately 4.3.
  • the base 215 can have a length of 50.8cm (20.0 inches) and a width of 31.115cm (12.25 inches). Therefore, the length to width ratio of the base 215 is approximately 1.6.
  • the length to width ratio of the upper wall can be greater than the length to width ratio of the base.
  • the inner layer or inner liner 500 can be formed of a top inner liner portion or first inner liner portion 500a, an inner layer mid portion or second portion 500b, and an inner layer bottom portion 500c.
  • the top inner liner portion 500a, the inner layer mid portion 500b, and the inner layer bottom portion 500c are secured together, by for example welding, to form the chamber 504.
  • the chamber 504 can be a "dry bag," or vessel for storing contents.
  • a tape such as a TPU tape can be placed over the seams joining the sections of the chamber 504.
  • the inner liner 500 can, thus, either maintain liquid in the chamber 504 of the insulating device 10 or prevent liquid contents from entering into the chamber 504 of the insulating device 10. In one example, as will be described in further detail below, the inner liner 500 can be suspended in the insulating device 10 by only the closure 301.
  • the insulating layer 502 can be located between the inner liner 500 and the outer shell 501, and can be formed as an insulator to assist in maintaining the internal temperature of the receptacle 504.
  • the insulating layer 502 can be a free floating layer that is not attached directly to the outer shell 501 or the inner liner 500.
  • the insulating layer 502 can be formed of a first portion 502a and a second portion or base portion 502b.
  • the first portion 502a and the second portion 502b can be formed of an insulating foam material as will be described in further detail below.
  • the first portion 502a can have a rectangular shape that maintains its form when folded into a cylinder and placed in between the inner liner 500 and the outer shell 501 and when encased from above by the outer shell 501.
  • the insulating layer 502 maintains its shape which results in the basic oval-cylindrical shape of the insulating device 10. Therefore, similar to the outer shell 501, the top of the insulating layer 502 has a first perimeter circumference, and the bottom of the insulating layer 502 has a second perimeter circumference.
  • the first perimeter circumference of the insulating layer 502 can be equal to the second perimeter circumference of the insulating layer 502.
  • the base portion 502b can be included to provide additional insulation along the insulating device 10 at base 215.
  • the base portion 502b can be formed as an oval shape to close off a lower opening 506 formed by the cylindrical shape of the insulating layer 502.
  • the bottom portion of the insulating device 10 can include an additional base support layer 505, which adds to the insulation and the structural integrity of the insulating device 10.
  • the base support layer 505 may also provide additional protection around the bottom of the insulating device 10.
  • the base support layer 505 can be formed from EVA foam.
  • the base support layer 505 may include a certain design such as a logo or name that can be molded or embossed directly into the material.
  • the base support ridge 400 which provides structural integrity and support to the insulating device 10 can also be molded or embossed directly into the base support layer 505.
  • the base support layer 505 and the base portion 502b can be detached for ease of assembly.
  • the outer shell 501 can be formed of a top outer layer portion or first shell portion 501a, an outer layer or second outer shell portion 501b, and a bottom or third shell portion 501c.
  • the outer shell 501 provides a covering for the insulating device 10.
  • the insulating layer 502 can be suspended freely within the outer shell 501.
  • any of the layers could be secured or formed as a one-piece integral structure.
  • the outer shell 501 can be configured to support one or more optional handles or straps (e.g. 210, 212, 218).
  • the outer shell 501 can also include multiple reinforcement areas or patches 220 that are configured to assist in structurally supporting the optional handles or straps (e.g. 210, 212, 218).
  • the handles or straps (e.g. 210, 212, 218) and other attachments can be stitched using threads 222, however these threads 222 do not, in one example, extend through the outer shell 501 into the insulating layer 502. Rather, the threads are sewn to the patches 220, and the patches 220 can be RF welded to the outer shell 501 or by any other method disclosed herein.
  • the first outer shell portion 501a may be attached to the second shell portion 501b by stitching 510.
  • the first outer shell portion 501a can be attached to the second shell portion 501b using any known method, e.g., polymer welding, stitching, or other adhesive around the entire perimeter of the second shell portion 501b.
  • the base support layer 505 which can be formed from EVA foam, can be secured to bottom or third shell portion 501c by lamination.
  • the second shell portion 501b can be secured to the third shell portion 501c and the base support layer 505 by polymer welding (e.g. RF welding), stitching, or adhesives.
  • the insulating device 10 can include two carry handles 210 that are connected to the frontside 216 of the insulating device 10 and the backside 217 of the insulating device 10.
  • a shoulder strap 218 can be attached via plastic or metal clip to the ring 214 attached to side handles 212 to facilitate carrying insulating device 10 over the shoulder.
  • the insulating device 10 may also include side handles 212 on each end of the cooler. The side handles 212 provide the user with another option for grasping and carrying the insulating device.
  • Carry handles 210 may also form a slot for receiving rings 214 near the bottom of the attachment point of the carry handles to the insulating device 10.
  • the rings 214 can be secured to the carry handles 210 and the attachment points 213 by stitching, adhesive, or polymer welding and can be used to help secure or tie down the insulating device 10 to another structure such as a vehicle, vessel, camping equipment, and the like or various objects such as keys, water bottle bottles, additional straps, bottle openers, tools, other personal items, and the like.
  • webbing formed as loops 507 can be sewn onto the straps forming the handles 210 on the back of the insulating device 10.
  • the loops 224 can be used to attach items (e.g., carabineers, dry bags) to the insulating device 10.
  • the side handles 212 can also provide the user with another option for securing the insulating device 10 to a structure.
  • the carry handles 210, side handles 212, shoulder strap 218 and attachment points 213 can be constructed of nylon webbing.
  • Other materials may include polypropylene, neoprene, polyester, Dyneema, Kevlar, cotton fabric, leather, plastics, rubber, or rope.
  • the carry handles 210 and side handles 212 can be attached to the outer shell by stitching, adhesive, or polymer welding.
  • the shoulder strap 218 can be attached to the insulating device 10 at attachment points 213.
  • the attachment points 213 can be straps that also form a slot for receiving rings 214.
  • the rings 214 can provide for the attachment of the shoulder strap 218.
  • the rings 214 can be Acetal D-rings.
  • Rings 214 in can be plastic, metal, ceramic, glass, alloy, polypropylene, neoprene, polyester, Dyneema, and Kevlar, cotton fabric, leather, plastics, rubber, or rope.
  • Rings 214 can include other shapes, sizes, and configurations other than a "D" shape. Examples include round, square, rectangular, triangular, or rings with multiple attachment points. Additionally, pockets or other storage spaces can be attached to the outside of the insulating device 10 in addition to the carry handles 210 and side handles 212.
  • the closure 301 can be substantially waterproof or a barrier to prevent liquid contents from either entering or exiting the insulating device. Additionally, the closure 301 can be impervious to liquid such that insulating device 10 liquid penetration is prevented at any orientation of the insulating device 10. Also maintaining the closure 301 in flat plane can assist in providing a water tight seal.
  • Figs. 3A-3C depicts top views of the insulating device 10, and depicts the top outer layer or the first outer shell portion 501a and the closure 301.
  • the top outer layer 501a depicted in Fig. 3A can be secured to the closure 301.
  • the closure 301 can be a waterproof zipper assembly and can be watertight up to 48263.3 Pa (7 psi) above atmospheric pressure during testing with compressed air.
  • the water tightness of the closure 301 can be from 34473.8 Pa to 62052.8 Pa (5 to 9 psi) above atmospheric pressure and in other examples, the water tightness of the closure 301 can be from 13789.5 Pa to 96526 Pa (2 to 14 psi) above atmospheric pressure.
  • the waterproof zipper assembly can include a slider body 303 and pull-tab 302.
  • Fig. 3B shows a magnified view of the closure 301 that includes bottom stop 304 and teeth or a chain 305.
  • the waterproof zipper assembly can be constructed with plastic or other non-metallic teeth 305 to prevent injury when retrieving food or beverages from the inner chamber 504.
  • the closure 301 is open or unzipped and an aperture 512 formed in the outer shell 501 and the inner liner 500 is open and reveals the inner liner 500 and the inner chamber 504.
  • the closure or seal 301 can include various sealing devices in addition to the depicted waterproof zipper assembly in Figs. 3A-3C .
  • Velcro, snaps, buckles, zippers, excess material that is folded multiple times to form a seal such as a roll-down seal, seals, metal or plastic clamps and combinations thereof could be used to seal the inner liner 500 and the outer shell 501.
  • Figs. 8A and 8B depict another exemplary insulating device 1010, which has similar features and functions as the example discussed above in relation to Figs. 1A-5B in which like reference numerals refer to the same or similar elements.
  • a loop patch 1015 can be provided on the front of the bag.
  • the loop patch 1015 can be configured to receive many types of items or a corresponding group of hooks, which can be placed onto the surface anywhere on various items, such as fishing lures, keys, bottle openers, card holders, tools, other personal items, and the like.
  • the loop patch 1015 can include a logo, company name, personalization, or other customization.
  • the loop patch 1015 can be formed of by needle loops and can have a high cycle life of over 10,000 closures.
  • the loop patch can be washable and UV resistant to prevent discoloration.
  • the loop patch can be selected based on a desired sheer and peel strength depending on the types of materials that are to be secured to the insulating device 1010.
  • a strip 1013 of material can be provided along the bottom of the bag, which can provide additional strength and reinforcement to the outer shell 1501, and may enhance the aesthesis of the insulating device 1010.
  • step 602 first the portions used to form the inner liner 500, the outer shell 501, and the insulating layer 502 can be formed or cut to size.
  • step 604 a top cap assembly 300 can be assembled to the closure 301.
  • step 606 the inner liner 500 can be formed, and in step 608, the top cap assembly 300 can be welded to the inner liner 500.
  • step 610 the outer shell 501 can be formed.
  • step 612 the insulation layer 502 can be assembled, and in step 616, the insulation layer 502 can be placed into the inner liner.
  • step 618 the top cap assembly 300 can be secured to the outer shell 501.
  • inner liner top portions or first inner liner portions 500a and top outer layer 501a that form the top cap assembly 300 can be formed or cut to size.
  • Fig. 7C shows a second portion or base portion 502b of the insulating layer 502 being cut or formed to size from stock foam.
  • the base portion 502b is cut from the stock foam 530, by cutting tool 700.
  • the cutting tool 700 can be formed in the shape of the base portion 502b.
  • the top outer layer 501a and the top inner liner portion 500a can be secured to the closure 301 to form the top cap assembly 300, and the top outer layer 501a and the top inner liner portion 500a can be secured to the closure 301 in a flat, horizontal plane.
  • the top outer layer 501a can be attached by polymer welding or adhesive to closure 301.
  • the closure 301 can be provided with a first flange 301a and a second flange 301b, which can form waterproof zipper tape 306.
  • the top outer layer 501a can be attached directly to the top surfaces of the first flange 301a and the second flange 301b of the closure 301.
  • the first flange 301a and the second flange 301b can be RF welded to the underside of the top outer layer 501a.
  • the top inner liner portion 500a can be provided with tabs 515. Tabs 515 can assist in the assembly process to keep the outer strips of the top inner liner portion 500a in place during assembly and can be removed after the top cap assembly 300 is formed.
  • the top inner liner portion 500a can be attached to the structure of the insulating device 10 as shown schematically in Fig. 5B .
  • the top inner liner portion 500a can be attached to the bottom of the closure 301.
  • a first end 540a and a second end 540b of the top inner liner portion 500a can be attached to undersides of the first flange 301a and the second flange 301b.
  • the top inner liner portion 500a and the top outer layer 501a can be attached to the closure 301 by polymer welding or adhesive.
  • Polymer welding includes both external and internal methods. External or thermal methods can include hot gas welding, hot wedge welding, hot plate welding, infrared welding and laser welding.
  • Internal methods may include mechanical and electromagnetical welds.
  • Mechanical methods may include spine welding, stir welding, vibration welding, and ultrasonic welding.
  • Electromagnetical methods may include resistance, implant, electrofusion welding, induction welding, dielectric welding, RF (Radio Frequency) welding, and microwave welding. The welding can be conducted in a flat or horizontal plane to maximize the effectiveness of the polymer welding to the construction materials. As a result, a rugged watertight seam can be created that prevents water or fluids from escaping from or into the inner chamber 504.
  • the polymer welding technique to connect the top inner liner portion 500a to the bottom of the closure 301 can include RF welding.
  • the RF welding technique provides a waterproof seam that prevents water or any other fluid from penetrating the seam at pressure up to 48263.3 Pa (7 psi) above atmospheric pressure.
  • the insulating device 10, therefore, can be inverted or submerged in water and leakage is prevented both into and out of the internal chamber 504 formed by inner liner 500.
  • the insulating device 10 can be submerged under water to a depth of about 4.88 m (16 feet) before water leakage occurs. However, it is contemplated that this depth could range from about 3.35 m to 6.4 m ( 11 feet to 21 feet) or 1.524 m to 9.7536 m (5 feet to 32 feet) before any leakage occurs.
  • the inner layer mid-portion 500b can be formed by RF welding. As shown in Fig. 7F , the inner layer mid-portion 500b can be formed of a rectangular sheet of material. The inner layer mid-portion 500b can also be secured to the inner layer bottom portion 500c in a subsequent step not shown.
  • the inner layer mid portion 500b and the inner layer bottom portion 500c can be secured to the top cap assembly 300 using an RF welding operation.
  • the second shell portion 501b and the third shell portion 501c which supports the base support layer 505, can be RF welded to construct the outer shell 501 for the insulating device 10.
  • the top outer layer 501a can be sewed to the perimeter of the second shell portion 501b to form the outer shell 501 of the insulating device.
  • a fabric binding can be used to cover the stitched seam edges of the second shell portion 501b and the top outer layer 501a. This assists in closing or joining the outer shell 501 around the insulating layer 502.
  • the insulating layer 502 can be constructed.
  • the first portion 502a of the insulating layer 502 can be formed into a rectangular shape and can be secured at the smaller sides of the rectangular shape using double sided tape to form the cylindrical shape.
  • the second portion or base portion 502b can be formed into an oval shape that can have a smaller circumference than the circumference of the cylindrical shape of the first portion 502a.
  • the second portion 502b can be secured to the first portion 502a also using a double-sided tape to form the insulating layer 502.
  • double sided tape can be placed either around the inner perimeter of the first portion 502a cylinder or around the outer perimeter of the base portion 502b, and the base portion 502b can be adhered to the first portion 502a.
  • Other methods of securing the base portion 502b to the first portion 502a to form the insulating layer 502 are contemplated, such adhesives or polymer welding.
  • the assembled insulating layer 502 can be placed into the outer shell 501.
  • the formed inner liner 500 and top cap assembly 300 can be placed into the insulating layer 502.
  • the top cap assembly 300 can be sewed to the outer shell 501 to form seams 520 as depicted schematically in Fig. 5A .
  • the inner liner 500 is only connected to the closure 301 and the closure 301 holds the inner liner and the outer shell 501 together, which results in a simpler manufacturing process.
  • a fabric binding is added to cover the raw edges adjacent the seams 520.
  • the top seams 520 can be the only primary seams on the insulating device 10 that are created by stitching.
  • the inner liner 500 and the outer shell 501 can be constructed from double laminated TPU nylon fabric.
  • Nylon fabric can be used as a base material for the inner liner 500 and the outer shell 501 and can be coated with a TPU laminate on each side of the fabric.
  • the TPU nylon fabric used in one particular example is 0.6 millimeters thick, is waterproof, and has an antimicrobial additive that meets all Food and Drug Administration requirements.
  • the fabrics used to construct the insulating device incorporate antimicrobial materials to create a mildew-free environment that is food contact surface safe.
  • the nylon can be 840d nylon with TPU.
  • Alternative materials used to manufacture the inner shell or chamber 504 and outer shell 501 include PVC, TPU coated nylon, coated fabrics, and other weldable and waterproof fabrics.
  • a closed cell foam can be used to form the insulating layer 502 that is situated in between the inner liner 500 and the outer shell 501.
  • the insulating layer 502 is 1.0 inches thick.
  • the insulating layer 502 can be formed of NBR/PVC blend or any other suitable blend.
  • the thermal conductivity of an example insulating layer 502 can be in the range of 0.023-0.046 W/(mK) (0.16-0.32 BTU.in/(hr.sqft.F)) and the density of the insulating layer 502 can be in the range of 14.42 to 80.00 kg/m 3 (0.9 to 5 lbs/ft 3 ).
  • the thermal conductivity of the insulating layer 502 can be in the range of 0.036 W/(mK) (0.25 BTU.in/(hr.sqft.F)), and the density of the insulating layer 502 can be 56.06 kg/m 3 (3.5 lbs/ft 3 ).
  • the foam base can be manufactured from an NBR/PVC blend or any other suitable blend.
  • the insulating device 10 may also include an outer base support layer 505 constructed of foam, plastic, metal or other material.
  • the base portion 502b can be detached from the base support layer.
  • the base portion 502b is 3.81 cm (1.5 inches) thick.
  • the EVA foam base support layer 505 can be 0.508 cm (0.2 inches) thick.
  • the base support layer 505 is laminated to the base outer layer or third shell portion 501c, in an alternative example, the base support layer 505 can be attached to the bottom of the base portion 502b by co-molding, polymer welding, adhesive, or any known methods.
  • a heat gain test was conducted on the exemplary insulating device 10.
  • the purpose of a heat gain test is to determine how long the insulating device can keep temperature below 10°C (50°F) at an ambient of 41 °C ⁇ 4 (106 °F ⁇ 4) with the amount of ice based on its internal capacity.
  • the heat gain rate equaled 0.78 °C/hr (1.4 degF/hr) assuming 25.07 liters (26.5 quarts) capacity and used 1.6066 kg (3.542 lbs) of ice for the test.
  • the ability of the insulating device 10 to withstand interior leaks can also be tested to see how well the insulating device maintains the contents stored in the storage compartment or receptacle 504.
  • the insulating device 10 can be filled with a liquid, such as water, and then can be inverted for a predetermined time period to test for any moisture leaks.
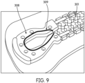
  • the insulating device 10 is filled with a liquid until approximately half of a volume of the receptacle 504 is filled, e.g. 3 gallons of water, and the closure 301 is then closed fully to ensure that the slider body 303 is completely sealed into the horseshoe-shaped portion 308.
  • the entire insulating device 10 is then inverted and held inverted for a time period of 30 minutes. The insulating device 10 is then reviewed for any leaks.
  • the insulating device 10 can be configured to withstand being held inverted for 30 minutes without any water escaping or leaving the receptacle 504. In alternative examples, the insulating device can be configured to withstand being held inverted for 15 minutes to 120 minutes without any water escaping or leaving the receptacle 504. To perform this test, it may be helpful to lubricate the closure to ensure that the closure is adequately sealed. For example, as shown in Fig. 9 , a horseshoe-shaped portion 308 of the closure 301 is provided with lubricant 309.
  • the strength and durability of the fabric forming the outer shell 501, inner liner 500 and the insulating layer 502 of the insulating device 10 may also be tested.
  • the test can be devised as a puncture test.
  • this test can be designed as an ASTM D751-06 Sec. 22-25 screwdriver puncture test.
  • the insulating device 10 can withstand 15.88 to 45.36 kg (35 lbs to 100 lbs) of puncture force.
  • the handle strength and durability of the insulating device 10 can also be tested.
  • One such example test is depicted in Fig. 10 .
  • the closure 310 can be fully closed, one of the carry handles 210 can hooked to an overhead crane 600, and the opposite carry handle 210 is hooked to a platform 650, which can hold weight.
  • the platform 650 can be configured to hold 90.72 kg (200 lbs). of weight.
  • the crane 600 is slowly raised, which suspends the insulating device 10 in a position where the bottom plane of the insulating device 10 is perpendicular with the floor.
  • the insulating device 10 can be configured to hold 90.72 kg (200 lbs).
  • the insulating device can be configured to hold 45.36 kg to 136.08 kg (100 lbs. to 300 lbs.) of weight for 1 to 10 minutes without showing signs of failure.
  • Figs. 11-15 show another example insulating device 2010.
  • the example insulating device 2010 can be of a similar construction to the above examples, where like reference numerals represent like features having similar functionality.
  • the example insulating device 2010 can also include a fold-down flap or portion 2307 to assist in insulating the closure 2311 of the insulating device 2010.
  • the closure 2311 which can be a zipper in accordance with the other examples discussed herein, can be included on a fold-down flap or portion 2307 and can be front facing in that it is located on a front surface or wall of the insulating device 2010.
  • the front facing closure 2311 can allow for additional user access to the insulating device 2010, and the fold-down flap or portion 2307 can help to provide additional insulation at the closure 2311.
  • the contents in the insulating device 2010 maintain the closure 2311 in the open position for better access of the contents of the insulating device 2010. This may assist the user to be able to more easily access the contents of the insulating device 2010.
  • the insulating device 2010 can approximate a trapezoidal shape for providing an elongated closure at the top of the insulating device 2010.
  • the insulating device 2010 can approximate a pentagon, when the fold-down flap 2307 of the insulating device 2010 is in an extended position.
  • This general shape may provide for an insulating device 2010 that may be easily shipped in that several insulating devices can be fit into a shipping container. Nevertheless, other shapes and configurations are contemplated e.g., square, rectangular, triangular, conical, curved, and frusto-shapes which may provide an extended closure at the top of the insulating device 2010 and that can be easily packaged.
  • the insulating device 2010 may include an outer shell 2501, an inner liner 2500 forming a storage compartment, a receptacle, or inner chamber 2504 and an insulating layer 2502 positioned in between the outer shell 2501 and the inner liner 2500.
  • the insulating layer 2502 provides insulation for the storage compartment 2504.
  • the closure 2311 can be configured to substantially seal an opening 2512, which is located on an angled front facing surface and extends through the outer shell 2501 and the inner liner 2500 to provide access to the storage compartment 2504.
  • the closure 2311 can include similar features and functionality in accordance with the examples discussed above.
  • the closure 2311 can be a zipper and can be substantially waterproof so as to resist liquid from exiting the opening when the insulating device 2010 is in any orientation.
  • the insulating device 2010 can be provided with one or more of carry handles 2210, shoulder straps 2218, webbing loops 2224 formed with threads 2222 by stitching for example, rings 2214, and attachment points 2213 which can have similar features and functionality as in the examples above.
  • the fold-down flap 2307 may include the front facing closure 2311 and can be folded over and secured to a sidewall of the insulating device 2010 to further insulate the front facing closure 2311.
  • the fold-down flap 2307 of the fastening mechanism 2301 can include first and second end hooks or clips 2313a, 2313b.
  • each of the end clips 2313a, 2313b can include a slot 2317a, 2317b for being received in corresponding loops 2315a, 2315b located on the sides or the sidewalls of the insulating device 2010.
  • the fold-down flap 2307 along with the front facing closure 2311 are folded over onto a front face or wall of the insulating device 2010.
  • the fold-down flap 2307 folds over with and conceals or covers the front facing closure 2311.
  • the fold-down flap 2307 is held into place by the first and second end clips 2313a, 2313b and maintains the fastening mechanism 2301 in the closed position.
  • the fold-down portion 2307 extends at least partly in a substantially horizontal direction, which orients a carrying handle 2318 in position for a user to grasp for holding and carrying the insulating device 2010.
  • the carry handle 2318 can be secured to the outer shell with a reinforcement patch (not shown).
  • the carry handle 2318 can be provided on the rear surface of the insulating device 2010 to oppose the closure 2311 on the front facing surface, which can be used by the user to grasp during opening and closing the insulating device 2010 to make it easier for the user to open and close the closure 2311.
  • the carry handle 2318 may also be used for hanging the insulating device 2010, or for carrying the insulating device 2010; however, other uses are also contemplated.
  • Fig. 14A shows a cross-sectional side view of the insulating device 2010.
  • the insulating device 2010 includes an inner liner 2500, an insulating layer 2502, and an outer shell 2501.
  • the insulating layer 2502 can be located between the inner liner 2500 and the outer shell 2501, and can be formed as a foam insulator to assist in maintaining the internal temperature of the receptacle 2504 for storing contents desired to be kept cool or warm.
  • the insulating layer 2502 can be located in between the inner liner 2500 and the outer shell 2501, and can be unattached to either the inner liner 2500 or the outer shell 2501 such that it floats between the inner liner 2500 and the outer shell 2501.
  • the inner liner 2500 and the outer shell 2501 can be connected at the top portion of the insulating device 2010 such that the insulating layer 2502 can float freely within a pocket formed by the inner liner 2500 and the outer shell 2501.
  • the inner layer or inner liner 2500 can be formed of a first inner liner sidewall portion 2500a and a bottom inner liner portion 2500b.
  • the first inner liner sidewall portion 2500a and the bottom inner liner portion 2500b can be secured together, by for example welding, to form the chamber 2504.
  • the chamber 2504 can be a "dry bag," or vessel for storing contents.
  • a tape such as a TPU tape, can be placed over the seams joining the sections of the chamber 2504, after the first inner liner sidewall portion 2500a and the bottom inner liner portion 2500b are secured or joined together.
  • the tape seals the seams formed between the first inner liner sidewall portion 2500a and the bottom inner liner portion 2500b to provide an additional barrier to liquid to prevent liquid from either entering or exiting the chamber 2504.
  • the inner liner 2500 can, thus, either maintain liquid in the chamber 2504 of the insulating device 2010 or prevent liquid contents from entering into the chamber 2504 of the insulating device 2010. It is also contemplated, however, that the inner liner 2504 can be formed as an integral one-piece structure that may be secured within the outer shell.
  • the insulating layer 2502 can be formed of a first portion or an upper portion 2502a, a second portion or base portion 2502b, and a base support layer 2505.
  • the first portion 2502a can include a top flap or smaller rectangular shape 2502a1.
  • the top flap 2502a1 of the insulating layer together with the remainder of the first portion 2502a and the base portion 2502b surrounds substantially all of the inner chamber 2504 with insulation to provide a maximum amount of insulation to the inner chamber 2504 of the insulating device 2010.
  • the upper portion 2502a of the insulating layer 2502 When the upper portion 2502a is rolled flat, the upper portion 2502a of the insulating layer 2502 generally resembles a "T" shape such that the insulating layer defines a first height H 1 and a second height H 2 where the first height H 1 is greater than the second height H 2 . In this example, a majority of the insulating layer can extend to the second height H 2 , which is less than the first height Ht.
  • the first portion 2502a can be formed of two inter-connected rectangular shapes, where the bottom of the first portion 2502a forms a first larger rectangular shape 2502a2 and an upper section of the first portion 2502a forms the top flap 2502a1 of the smaller rectangular shape.
  • first larger rectangular shape 2502a2 can be formed as a separate piece from the smaller rectangular shape 2502a1.
  • the first rectangular shape 2502a2 can have a first rectangular width and the second rectangular shape 2502a1 can have a second rectangle perimeter and first rectangular shape 2502a2 width approximates the second rectangular shape 2502a1 perimeter.
  • the smaller rectangular shape 2502a1 forms a top flap of the insulation layer of the upper portion 2502a, which extends into the fold-down portion 2307.
  • the first portion 2502a and the second portion 2502b can be formed of an insulating foam material as discussed herein.
  • the second portion 2502b can be formed of a thicker foam material than the first portion 2502a.
  • the thickness of the second portion 2502b can be formed between 20 mm and 50 mm thick, and, in one particular example, can be formed of a 38 mm thick foam
  • the first portion 2502a can be formed between 15 mm and 30 mm, and, in one particular example, can be formed of a 25 mm thick foam.
  • the foam can be a NBR/PVC blended foam, a PVC free NBR foam, or other eco-friendly type foam.
  • a base support layer 2505 adds to the insulation and the structural integrity of the insulating device 2010 at base 2215.
  • the base support layer 2505 may also provide additional protection around the bottom of the insulating device 2010.
  • the base support layer 2505 can be formed from EVA foam.
  • the base support layer 2505 may include a certain design such as a logo or name that can be molded or embossed directly into the material.
  • a base support ridge 2400, which provides structural integrity and support to the insulating device 2010 can also be molded or embossed directly into the base support layer 2505.
  • the base support layer 2505 and the base portion 2502b can be detached or unsecured for ease of assembly in reducing the number of assembly steps.
  • the base portion 2502b can be formed as an oval shape to close off a lower opening 2506 formed by the open shape of the upper portion 2502a.
  • the bottom of the first portion 2502a maintains its form when folded into an oval-cylindrical shape and placed in between the inner liner 2500 and the outer shell 2501.
  • the insulating layer 2502 maintains its shape which results in the basic oval-cylindrical shape of the insulating device 2010.
  • the outer shell 2501 can be formed of an upper sidewall portion 2501a, a lower sidewall portion 2501b, and a base portion 2501c. Each of the upper sidewall portion 2501a, the lower sidewall portion 2501b, and the base portion 2501c can be secured by stitching. Other securing methods are also contemplated, such as, using welds or adhesives.
  • the fold-down portion 2307 can be at least partly free of foam to make it easier to close the fastening mechanism 2301.
  • the fold-down portion 2307 can include a first section 2307a and a second section 2307b.
  • the first section 2307a can be free of the insulation layer 2502 and the second section can include the insulation layer 2502.
  • the closure 2311 can be mounted on a backing or fabric.
  • this can be referred to as zipper tape 2306.
  • the zipper tape 2306 can be attached between the inner liner 2500 and the outer shell 2501 and, in particular, the zipper tape 2306 can be secured to the upper sidewall portion 2501a of the outer shell and the first inner liner sidewall portion 2500a. As shown in Fig.
  • the zipper tape 2306, the upper sidewall portion 2501a of the outer shell, and the first inner liner sidewall portion 2500a can form a stacked arrangement of a sandwich structure where the zipper tape 2306 is located between the upper sidewall portion 2501a of the outer shell and the first inner liner sidewall portion 2500a.
  • the insulating device 2010 can be formed using similar techniques in relation to the examples as discussed above.
  • the upper sidewall portion 2501a of the outer shell 2501 can be formed.
  • the base 2215 can be formed separately with the base portion 2502b of the insulation layer 2502, the base support layer 2505, the lower sidewall portion 2501b, and a base portion 2501c of the outer shell 2501 according to the techniques discussed herein.
  • the base 2215 can be secured to the bottom of the upper sidewall portion 2501a of the outer shell 2501 using the techniques discussed herein.
  • the upper portion 2502a of the insulation layer 2502 can be placed within the upper sidewall portion 2501a of the outer shell 2501.
  • the first inner liner sidewall portion 2500a and the bottom inner liner portion 2500b can then be secured to form the inner liner 2500 and chamber 2504.
  • Tape such as a TPU tape
  • the inner liner 2500 can then be placed within the insulation layer 2502.
  • the closure 2311 can then be attached between the inner liner sidewall portion 2500a and the upper sidewall portion 2501a.
  • the insulating device 2010 assembly will have a cylindrical shape with an open top. To close the open top, the upper ends of the inner liner sidewall portion 2500a and the upper sidewall portion 2501a can then be secured together by welding or by using any of the techniques discussed herein to form the insulating device 2010.
  • a binding 2o can be applied to the top portion of the insulating device 2010 to cover and conceal the seam between the outer shell 2501 and the inner liner 2500.
  • the loop patch (not shown), carry handles 2210, shoulder strap 2218, webbing loops 2224, and rings 2214 can be added to the outer shell 2501 by the various techniques discussed herein, after the formation of the outer shell or once the insulating device 2010 is formed. It is contemplated that the inner liner and the outer liner can be formed by welding, gluing, or stitching and combinations thereof.
  • a magnetic connection can be implemented for securing the fold-down portion 2307 to the body of the insulating device 2010.
  • the insulating device 2010 can be provided with a magnetic clip 3313, which can be received by a corresponding magnet (not shown) on the sidewall of the insulating device 2010.
  • the clip and clip receiving portion on the insulating device 2010 could be one or more of permanent magnets, metal strips, or ferromagnetic materials.
  • other methods of securing the fold-down flap 2307 over the front facing closure 2311 are also contemplated. For example, one or more of hook and loop, buckle, snap, zipper, detent, spring loaded detent, button, cams, or threads could be used to secure the fold-down flap 2307 to the sidewall of the insulating device 2010.
  • Figs. 17-22 show another exemplary insulating device 4010.
  • the example insulating device 4010 can be of a similar construction to the above examples and, in particular, the example discussed above in relation to Figs. 11-16B , where like reference numerals represent like features having the same or similar functionality.
  • the insulating device 4010 does not include a fold-down flap and can include a different overall shape than the example insulating device 2010.
  • the insulating layer 4502 can have a different configuration along with other variations that will be discussed below.
  • the closure 4311 can be placed on a front face or wall of the insulating device 4010.
  • the insulating device 4010 when viewed from the front and rear, can generally form a trapezoidal shape, where the insulating device diverges or tapers upward toward the top of the insulating device 4010.
  • the trapezoidal shape may provide certain insulation, user accessibility, and packaging benefits.
  • the trapezoidal shape can provide an extended period of ice coverage because of the additional foam that can be placed between the outer shell 4501 and the inner liner 4500 due to the trapezoidal shape.
  • the overall shape of the insulating device 4010 can help to maintain the insulating device 4010 in the opened position when the closure 4311 is in the opened position and permits the user to be able to easily access the contents of the insulating device 4010.
  • the trapezoidal shape as discussed herein also allows the closure 4311 to be formed longer relative to the insulating device 4010.
  • Other shapes that allow for an extended opening at the upper portion of the insulating device 4010 are also contemplated.
  • the upper portion of the insulating device 4010 could be formed with an extended curvature either upward or downward to allow for a larger closure extending across the upper portion of the insulating device 4010. Also as shown in Fig.
  • the insulating device 4010 when viewed from the side, can be formed generally conical, tapered or funnel-shaped such that the sides converge to the top of the insulating device 4010. Also the sides can be formed substantially parabolic in shape in certain examples. Therefore, the insulating device 4010 converges to an apex along the top of the insulating device 4010 as opposed to an oval shape with the same perimeter as the bottom of the insulating device 4010.
  • a trapezoidal shape may also provide for an insulating device 4010 that may be easily shipped in that several insulating devices 4010 can be fit into a shipping container.
  • multiple insulating devices 4010 could be arranged in a shipping container in different orientations so as to utilize more space within a shipping container.
  • the contents in the insulating device 4010 may maintain the closure 4311 in the open position for easier access to the contents of the insulating device 4010.
  • the weight of the contents can force a lower half of the closure 4311 away from an upper half of the closure 4311 such that the user can better see the contents of the insulating device 4010 and more easily remove the contents or add contents to the insulating device 4010.
  • the outer shell 4010 may also include a top portion 4316, which is configured to receive the closure 4311 therein.
  • the top portion 4316 can be formed of the same material as the remaining outer shell 4501, which in one specific example, can be nylon and specifically an 840d nylon with TPU.
  • the insulating device 4010 can be provided with one or more of carry handles 4210, a shoulder strap 4218, webbing loops 4224, which are formed by threads 4222, rings 4214, and attachment points 4213 which can have similar features and functionality as in the examples above.
  • a rear carry handle 4318 can be provided on the rear surface of the insulating device 4010 to oppose the closure 4311, which can be used by the user to grasp during opening and closing the insulating device 4010 to make it easier for the user to open and close the closure 4311.
  • the rear carry handle 4318 may also be used for hanging the insulating device 4010 for drying the inner chamber 4504, or for carrying the insulating device 4010.
  • Each of the carry handles 4210, shoulder strap 4218, webbing loops 4224, and attachment points 4213 can be reinforced by one or more of additional structures in the form of webbing or suitable polymeric materials. This reinforcement material may be applied to any of the examples discussed herein.
  • a binding 4518 can be included that extends over the top of the insulating device 4010 to secure the outer shell 4501 to the inner liner 4500.
  • the binding 4518 can be folded over the top of the insulating device 4010 and then stitched over the over outer shell 4501 and the inner liner 4500 to form a cover to the joint or seam between the inner liner 4500 and the outer shell 4501.
  • Fig. 17 a binding 4518 can be included that extends over the top of the insulating device 4010 to secure the outer shell 4501 to the inner liner 4500.
  • the binding 4518 can be folded over the top of the insulating device 4010 and then stitched over the over outer shell 4501 and the inner liner 4500 to form a cover to the joint or seam between the inner liner 4500 and the outer shell 4501.
  • the binding 4518 can be folded into thirds to form a first folded portion 4518a where the first third is attached to a first side of the insulating device 4010, the second third is extends over the top of the insulating device 4010, and the last third is attached to a second side of the insulating device 4010.
  • the binding 4518 covers the seam between the outer shell 4501 and the inner liner 4500 along the top of the insulating device 4010.
  • the binding 4518 extends from the top of the insulating device 4010 and forms a second folded portion 4518b where the binding 4518 is folded in half and a third unfolded portion 4518c, which forms and extends to attachment points 4213 that receive rings 4214.
  • Each side of the insulating device 4010 can include a second folded portion 4518b and a third unfolded portion 4518c such that the insulating device 4010 can include two second folded portions 4518b and two third unfolded portions 4518c.
  • the binding 4518 can unfold closer to the attachment points 4213 and may also be formed unfolded from the attachment points 4213 to the top of the insulated device 4010. In either of these configurations, a section of the binding 4518, e.g., the second folded portion 4518b, can be unattached to the insulating device 4010 and forms a strap between the folded portion 4518a and the attachment points 4213.
  • two straps can be formed by the two second unfolded portions 4518b and can be grasped by the user for handling the insulating device, can be used for hanging the insulating device 4010 for drying, and the like.
  • the attachment points 4213 formed by the binding 4518 can be a loop or slot for receiving the rings 4214.
  • Figs. 22 and 22A show the insulating layer 4502 in additional detail, which is similar to the example insulating device 4010 discussed above where like reference numerals represent like components with the same or similar functionality.
  • the insulating layer 4502 can be formed of the materials as discussed herein and, in certain examples, can be PVC free and/or can have non-thermoset properties such that the foam is fully resilient.
  • the upper portion 4502a of the insulating layer 4502 can be formed of a single sheet of material which is rolled into the shape defined by the opening between the inner liner 4500 and the outer shell 4501. As shown in Fig.
  • the insulating layer 4502 can be formed of a first portion or an upper portion 4502a and a second portion or base portion 4502b.
  • the rear top flap 4502a1 can be formed in smaller rectangular shape.
  • the rear top flap 4502a1 extends higher than the front side of the first portion 4502a of the insulating layer 4502a to accommodate for the front facing closure 4311.
  • the rear top flap 4502a1 can extend to a first height H 3
  • the first portion 4502a can extend to a second height H 4
  • the first height H 3 can be greater than the second height H 4 .
  • a majority of the insulating layer 4502 can extend to the second height H 4 .
  • the rear half of the insulating layer 4502 can extend to the first height H 3 and the front half of the insulating layer 4502 can extend to the second height H 4 .
  • the insulating layer 4502 can taper from the first height H 3 to the second height H 4 . Also, this provides the areas of the insulating layer 4502 near the top with tapered or chamfered portions along the sides of the insulating device 4010 to provide a smaller profile on each side of the insulating device 4010.
  • the first portion 4502a can define a first area A 1
  • the rear top flap 4502a1 can define a second area A 2 , which is smaller than the first area A 1 .
  • the insulating layer 4502 When installed between the inner liner 4500 and the outer shell 4501, the insulating layer 4502 generally follows the conical and trapezoidal shape of the profile of the insulating device 4010. Additionally, the upward tapered profile of the outer shell 4501 and the inner liner 4500 can help to position the insulating layer 4502 such that the insulating layer covers a majority of the inner liner 4500.
  • the insulating layer 4502 occupies a majority of the space formed between the inner liner 4500 and the outer shell 4501.
  • the insulating layer 4502 extends substantially to the top of the insulating device 4010 in both the front and the rear portions of the insulating device 4010 to insulate a majority of the compartment 4504.
  • the insulating layer 4502 surrounds substantially the entire inner chamber 4502 to provide a maximum amount of insulation to the inner chamber 4504 of the insulating device 2010.
  • the insulating layer 4502 covers 80% or more of the inner liner 4500 covering the inner chamber 4504, and in particular examples the insulating layer 4502 covers 85%, 90%, or 95% or more of the inner liner 4500 covering the inner chamber 4504.
  • the front facing closures 2311, 4311 can be formed such that they extend a majority of the way along the front facing surface of the insulating devices 2010, 4010.
  • the front-facing closures 2311, 4311 can be formed as zipper closures in accordance with the examples discussed herein.
  • the closures 2311, 4311 can be substantially waterproof or highly water resistant and can be water tight and air tight.
  • the front facing closures 2311, 4311 can be formed as long as possible in the front facing surface of the insulating devices 2010, 4010 to provide for extended user accessibility and visibility of the contents stored in the insulating devices 2010, 4010.
  • the closures 2311, 4311 can define a first length L 1
  • the top portion of the insulating device 4010 can define a second length L 2 .
  • L 2 can be 3 cm to 10 cm longer than L 1
  • the length of the front facing closures 2311, 4311 and in one specific example can be 5 cm longer than the front-facing closures 2311, 4311.
  • the closures 2311, 4311 first length L 1 can extend at least 80% of the second length L 2 and up to 98% of the second length L 2 .
  • the length of the closures 2311, 4311, L 1 can extend across 87% of the second length L 2 .
  • the length L 1 of the front-facing closures 2311, 4311 can be formed longer than the length L 3 of the bases of the insulating devices 2010, 4010. In certain examples, the front facing closures 2311, 4311 can be formed approximately 1% to 25% longer than the length L 3 of the bases of the insulating devices 4010. In one specific example the length L 1 of the front facing closures 2311, 4311 can be 10% longer than the length L 3 of the bases. For example, the front-facing closures length L 1 can be formed 3 cm to 12 cm longer than the length L 3 of the bases of the insulating devices, and, in one particular example, the length L 1 of the front facing closures 2311, 4311 can be 5 cm longer than the length L 3 of the base.
  • the insulating device can include a closure that extends around the entire perimeter or a majority of the perimeter of the insulating device and a front facing closure 2311, 4311 as discussed above.
  • the contents of the insulating device can be easily accessed by the user once the entire or a majority of the top portion is removed or through the closure 2311, 4311.
  • the insulating device can be formed modular such that the top and/or the bottom can be removed and multiple structures can be interconnected to form larger or smaller insulating devices.
  • the insulating device can be formed of different sections by way of removable fasteners, such as snaps, zippers, threads, seals, hook and loop, and the like.
  • a series of vents can be provided along the outer shells of the insulating devices.
  • the vents allow for any gases that are trapped between the inner liner and the outer shell to escape. Without the vents, the gases trapped between the inner liner and the outer shell can cause the insulating device to expand, which in certain instances, may not be desired.
  • the one or more joints or seams that connect the various portions of the outer shell provide vents for gases. Vents can be provided in areas of the outer shell where the outer shell fabric is pierced. For example, tiny openings can be provided at any of the stitching locations where the various components are located on the insulating devices.
  • the vents can be provided in the areas where the handles, molle loops, straps, reinforcement patches, bindings, D-rings, loop patches, etc. are attached to the outer shell of the insulating device.
  • stitching that may be used to secure these components to the outer shell provides openings into the outer shell, which creates venting between the insulation layer and the outer shell.
  • the insulating device may vent through binding 4518.
  • the example insulating device 4010 was tested to determine ice retention.
  • the ice retention testing may be utilized to determine insulative properties of example insulating device 4010.
  • the duration of the increase from -18°C to 10°C (0°F to 50°F) when the insulating device 4010 was filled with ice was determined according to the test parameters below.
  • the temperature of the insulating device increases from -12°C to 10°C (10°F to 32°F) in a duration of 24 hours to 48 hours, the temperature of the insulating device increases from 0°C to 10°C (32°F to 50°F) in a duration of 36 hours to 68 hours, and the temperature of the insulating device increases from -18°C to 10°C (0°F to 50°F) in a duration of 70 hours to 90 hours.
  • the ice retention was tested using the following test. More than 24 hours before the test, the following steps are performed:
  • test procedure is as follows:
  • the heat gain rate of the insulating devices 2010, 4010 can be approximately 0.28 to 0.83 degC/hr (0.5 to 1.5 degF/hr), and, in one particular example, the heat gain rate can be approximately 0.56 degC/hr (1.0 degF/hr)
  • the ability of the insulating devices 2010 and 4010 are also configured to withstand interior leaks and were also tested to see how well the insulating devices 2010, 4010 maintain the contents stored in the storage compartment or receptacles 2504, 4504.
  • the insulating devices 2010, 4010 can be filled with a liquid, such as water, and then can be inverted for a predetermined time period to test for any moisture leaks.
  • the insulating devices 2010, 4010 are filled with a liquid until approximately half of a volume of the receptacle 4504 is filled, e.g. 3 gallons of water, and the closures 2301, 4301 are then closed fully.
  • the entire insulating devices 2010, 4010 are then inverted and held inverted for a time period of 30 minutes.
  • the insulating devices 2010, 4010 are then reviewed for any leaks.
  • the insulating devices 2010, 4010 can be configured to withstand being held inverted for 30 minutes without any water escaping or leaving the receptacles 2504, 4504. In alternative examples, the insulating devices 2010, 4010 can be configured to withstand being held inverted for 15 minutes to 120 minutes without any water escaping or leaving the receptacles 2504, 4504.
  • Figs. 24-32 show another example insulating device 3010.
  • the example insulating device 3010 can be of a similar construction to the above examples, where like reference numerals represent like features having similar functionality.
  • the closure 3311 and opening 3512 is formed through a first sidewall 3507A, a second sidewall 3705B, and a third sidewall 3507C and partially through a fourth sidewall 3507D of the insulating device 3010.
  • the opening 3512 is configured to provide access to the inner chamber 3504 as is shown in Figs. 29A and 32 .
  • the closure 3311 can be substantially waterproof so as to resist liquid from exiting the opening 3512 when the insulating device 3010 is in any orientation.
  • the example insulating device 3010 generally includes a body assembly 3350 and a lid assembly 3300, which together form the three main components of the insulating device 3010: the inner liner 3500, the insulating layer 3502, and the outer shell 3501.
  • the inner liner 3500 can, in one example, be formed of double laminated TPU nylon fabric
  • the insulating layer 3502 can, in one example, be formed of can be formed of NBR/PVC foam blend or any other suitable blend or foam
  • the outer shell 3501 can, in one example, be formed of TPU nylon fabric. It is also contemplated that the inner liner and the outer shell 3501 can be formed of one or more of PVC, TPU coated nylon, coated fabrics, and other weldable and/or waterproof fabrics.
  • the closure 3311 extends between the body assembly 3350 and the lid assembly 3300 to substantially seal the body assembly 3350 and the lid assembly 3300 from water.
  • the lid assembly 3300 can be connected to the body assembly 3350 by the outer shell 3501, which forms a living hinge 3503.
  • the living hinge 3503 can be formed as a portion of the outer shell 3501 and/or the inner liner 3500 and specifically from the flexible nature of the material of the outer shell 3501 and/or the inner liner 3500 to provide a larger opening in the insulating device 3010.
  • the living hinge 3503 can also be reinforced by an inner piece of fabric 3503A, which can be formed of the inner liner material or other waterproof materials. In this way, the chamber 3504 and contents of the insulating device 3010 can be accessed by opening the closure 3311 and folding back or opening the lid assembly 3300.
  • the insulating device 3010 can be in the shape of a cuboid or prism.
  • the outer shell 3501, the insulating layer 3502, and the inner liner 3500 define the first sidewall, 3507A, the second sidewall 3507B, the third sidewall 3507C, and the fourth sidewall 3507D of the cuboid.
  • the lid assembly 3300 forms a top wall 3300a and the base 3215 forms a bottom wall 3215a to enclose the cuboid.
  • the contents of the insulating device 3010 are accessed through the opening 3512 formed at the top of the insulating device and again can extend through each of the first sidewall, 3507A, the second sidewall 3507B, the third sidewall 3507C and can extend partly through the fourth sidewall 3507D.
  • Other shapes are also contemplated for the insulating device 3010, for example, cylindrical, spherical, conical, pyramidal, frusto-conical, frusto-spherical, frusto-pyramidal, etc.
  • the height of the insulating device 3010 can, in one example, be in the range of 15 cm to 50 cm and in one particular example can be 29 cm.
  • the length of the insulating device 3010 can be in the range of 15 cm to 50 cm and in one particular example can be 32 cm. Also the width of the insulating device can, in one example, be in the range of 15 cm to 50 cm and in one specific example be 25.5 cm.
  • the storage capacity of the insulating device 3010 can be 10 to 15 quarts and in one particular example can be 12.7 quarts. However, it is contemplated that the insulating device 3010 may comprise any height, length, width and volume dimensions, without departing from the scope of these disclosures.
  • the insulating device 3010 can include one or more handles 3210, 3212, rings 3214, and webbing loops 3224 for attaching various items, e.g. straps (shoulder), carabineers, dry bags, keys, storage cases, etc.
  • the rings 3214 can be D-rings, and a shoulder strap (not shown) can be connected to the D-rings for easy carrying of the insulating device.
  • the rings 3214 can be attached to the insulating device 3010 at attachment points 3213, which can form loops or straps 3315a that also form a slot for receiving the rings 3214.
  • the insulating device may also include side, front and/or rear carry handles, pockets, tie downs, and D-rings anywhere on the external surface of the outer shell.
  • the pockets can be sized for receiving keys, phones, wallets, etc. and can be formed waterproof.
  • the pockets may also include a waterproof zipper to prevent the contents therein from getting wet.
  • the outer shell 3501 can also include multiple reinforcement areas or patches 0
  • the handles or straps can be stitched to the patches using threads 3222. In certain examples, these threads 3222 do not extend through the outer shell 3501 into the insulating layer 3502.
  • the optional handles or straps can be sewn to the patches 3320, and the patches 3320 can be RF welded to the outer shell 3501. Also, in other examples, the patches 3320 can be sewn or adhered to the outer shell 3501. Apertures from the stitching operation can provide venting to the interior defined by the outer shell 3501 and the inner liner 3500 of the insulating device 3010. In addition, other techniques are contemplated for securing the handles or straps to the insulating device 3010.
  • Fig. 29A shows a magnified cross-sectional view of the lid assembly 3300.
  • the lid assembly 3300 includes an upper inner liner portion 3500A, an upper insulating layer portion 3502A and an upper outer shell portion 3501A.
  • the upper insulating layer portion 3502A can be formed of a single layer of foam, which corresponds to the overall shape of the lid assembly 3300.
  • the foam can, in one example, be an insulating foam, as discussed herein, which can be the same foam as is used in the body assembly 3350, and can be unattached to and floating between the upper inner liner portion 3500A and the upper outer shell portion 3501A.
  • the upper inner liner portion 3500A can be formed of a sheet of material 3500A1 and a strip of material 3500A2 that is attached to the binder 3518.
  • the sheet of material 3500A1 can connect directly to the binder 3518 thus eliminating the need for the strip of material 3500A2.
  • the strip of material 3500A2 can overlap and be welded to the sheet of material 3500A1.
  • Seam tape 3509 can be placed over the connection between the sheet of material 3500A1 and the strip of material 3500A2.
  • the upper inner liner portion 3500A can be formed as a unitary structure by injection molding, for example.
  • the upper inner liner portion 3500A can be connected to the upper outer shell portion 3501A by joining the upper inner liner strip of material 3500A2 to an upper outer shell strip of material 3501A3 at a RF weld joint 3522.
  • a binding material 3518 in the form of a strip or band can be sewn over the ends of the upper inner liner strip of material 3500A2 and the upper outer shell strip of material 3501A3. It is also contemplated that the binding material 3518 can be coupled over the ends of the upper inner liner strip of material 3500A2 and the upper outer shell strip of material 3501A3 by a plurality of rivets, or by using one or more adhesives.
  • the upper outer shell portion 3501A of the lid assembly 3300 may include two separate layers 3501A1, 3501A2 and an upper outer shell strip of material 3501A3 extending perpendicular to the two separate layers 3501A1, 3501A2.
  • the upper outer shell strip of material 3501A3 can be integral and attached to a first outer shell section 3501B1 as discussed in further detail below.
  • the upper outer shell strip of material 3501A3 and the first outer shell section 3501B1 can be formed or cut from the same material.
  • outer shell strip of material 3501A3 and the first outer shell section 3501B1 are formed of separate structures or different materials.
  • the top layer 3501A1 can be formed of a TPU coated nylon laminate, and the bottom layer 3501A2 can be formed of a compression molded EVA material.
  • the upper outer shell portion 3501A may also be formed of a unitary piece of material in an injection molding process, for example.
  • the binding material 3518 can both secure the lid assembly 3300 together and secure the lid assembly 3300 to the body assembly 3350.
  • the binding material 3518 in certain examples, can be formed of a strip, band or ribbon and can be made of nylon. It is contemplated that the binding material 3518 can be formed from additional or alternative polymers, without departing from the scope of these disclosures.
  • the first outer shell section 3501B1 can be secured together with the upper inner liner 3500A, the separate layers 3501A1, 3501A2, and the upper outer shell strip of material 3501A3 of the upper outer shell portion 3501A by stitching the binding material 3518 around the perimeter of the lid assembly 3300.
  • the stitching therefore, extends through the binding material 3518, the lower outer shell portion 3501B, the upper inner liner portion 3500A, the top layer 3501A1, the bottom layer 3501A2 and the strip of material 3500A2 to form a seam 3517.
  • the weld joint 3522 can also both secure the lid assembly 3300 together and secure the lid assembly 3300 to the body assembly 3350.
  • the weld joint 3522 which can be an RF weld joint, also secures the lid assembly 3300 together by connecting the upper inner liner portion 3500A and the upper outer shell portion 3501A by joining the upper inner liner strip of material 3500A2 to an upper outer shell strip of material 3501A3. It is also contemplated, however, that the joint 3522 could be formed by stitching or by an adhesive. Again once the lid assembly 307a and the body assembly 3350 are secured together, the living hinge 3503 is formed between the lid assembly 3300 and the body assembly 3350.
  • the lid assembly 3300 and the body assembly 3350 are also connected by the closure, which as discussed below, in one example, can be a zipper.
  • closure can be a zipper.
  • zipper tape 3306 can be attached between the upper outer shell strip of material 3501A3 and the first outer shell section 3501B1 of the lower outer shell portion 3501B by stitching, welding, adhesives, etc. In this way, an upper portion 3306a and a lower portion 3306b of the zipper tape 3306 secures the lid assembly 3300 and the body assembly 3350 together.
  • the body assembly 3350 includes lower inner liner portion 3500B, lower insulating layer portion 3502B, and lower outer shell portion 3501B.
  • the lower inner liner portion 3500B can be formed of a top strip 3500B1, a middle portion 3500B2, and a bottom portion 3500B3.
  • the top strip 3500B1, the middle portion 3500B2, and the bottom portion 3500B3 can be welded or stitched together at seams 3508.
  • the seams 3508 can be covered with a seam tape 3509, which can be formed of a waterproof or water resistant material, such as PU (polyurethane).
  • the seam tape 3509 can be formed of a breathable material that is impervious to water but allows gases to escape from the in the inner chamber 3504.
  • the lower inner liner portion 3500B can be formed of a single integral piece by, for example, injection molding.
  • Fig. 31 shows an example inner liner portion 7500B that is formed by an injection molding process.
  • the lower inner liner portion 7500B can be formed of one or more of urethane, PVC, TPU, or other weld-able material.
  • the lower inner liner portion 7500B can be welded into place onto the outer shell, after the lower insulating layer is placed within the outer shell.
  • the lower insulating layer portion 3502B can include a first sheet of insulating material 3502B1 and a second sheet of insulating material 3502B2. Similar to the above examples, the first sheet of insulating material 3502B1 and the second sheet of insulating material 3502B2 can be free floating layers of insulating material that are not attached to either the lower inner liner portion 3500B or the lower outer shell portion 3501B. However, it is also contemplated that the first sheet of insulating material 3502B1 and the second sheet of insulating material 3502B2 can be attached to either the lower inner liner portion 3500B or the lower outer shell portion 3501B. Moreover, it is also contemplated that the lower insulating layer portion 3502B be formed of a single unitary piece.
  • the lower outer shell portion 3501B can be formed of several sections.
  • the lower outer shell portion 3501B can include a first outer shell section 3501B1, a lower outer wall section 3501B2, a first base layer 3501B3, and a second base layer 3501B4.
  • the first base layer 3501B3 can be formed of a TPU coated nylon laminate
  • the second base layer 3501B4 can be formed of a compression molded EVA material.
  • Each of the lower outer wall section 3501B2, the first base layer 3501B3, and the second base layer 3501B4 can be joined together by stitching, welding or adhesives.
  • a base support ridge 3400 can be formed into the first base layer 3501B3 and the second base layer 3501B4 to provide for structural integrity and support to the insulating device 3010 when the insulating device 3010 is placed onto a surface.
  • the lower outer shell portion 3501B can be formed as a singular component and may, in certain examples, be formed by an injection molding process.
  • the closure 3311 can be a zipper and can be substantially waterproof.
  • the zipper may comprise a pull tab or handle 3302, which in this example can formed of a hard plastic.
  • the pull tab 3302 can be formed of a metal or alloy, a flexible polymer, cloth, string, or rope, among others. Forming the pull tab 3302 of a cloth, string, or rope may prevent the wear of the connection between the pull tab 3302 and the zipper.
  • the pull tab 3302 when the zipper is closed about the circumference of the outer shell 3501, the pull tab 3302 can be rotated or twisted by the user. The cloth, string, or rope can withstand the twisting action by the user.
  • Other pull tabs are also contemplated.
  • the pull tab could be provided with a bearing connection that allows the pull tap to be rotated 360° in all directions.
  • a series of vents can be provided along the outer shell 3501 of the insulating device 3010.
  • the vents allow for any gases that are trapped between the inner liner 3500 and the outer shell 3501 to escape. Without the vents, the gases trapped between the inner liner 3500 and the outer shell 3501 will cause the insulating device 3010 to expand, which in certain instances, may not be desired.
  • the joint or seams that connect the inner liner and the outer shell provides a vent to gases.
  • the venting can be provided in the lid assembly 3300.
  • the seam 3517 may provide a series of small openings in the lid assembly 3300 where the stitching on the binder material 3518 occurs. These openings act as vents for gases to escape the inner volume of the lid assembly 3300.
  • venting can be provided in the body assembly 3350.
  • the vents can be provided in areas of the lower outer shell portion 3501B where the lower outer shell portion 3501B fabric is pierced.
  • tiny openings can be provided at the box and cross-shaped stitching 3521 where the rear carry handle 3210 is attached to the insulating device 3010.
  • the vents can also be provided in the areas or locations where the handles 3212, 3210, molle loops 3224, and D-rings 3214 are attached to the outer shell 3501 of the insulating device 3010.
  • Fig. 33 shows an example schematic where stitching 3519 extends through the outer shell 3501, a handle 3212 a reinforcement areas or patches 3320.
  • the body assembly 3350 can be formed and then the lid assembly 3300 can be formed by joining the lid assembly 3300 to the body assembly 3350.
  • the lower outer shell portion 3501B and the lower inner liner portion 3500B can be formed independently. Once the lower outer shell portion 3501B is formed, the insulating layer 3502 can then be placed within the lower outer shell portion 3501B.
  • the lower inner liner portion 3500B can be attached to the lower outer shell portion 3501B to secure the insulating layer 3502 within the lower outer shell portion 3501B and the lower inner liner portion 3500B.
  • the insulating layer 3502 can freely float between the lower outer shell portion 3501B and the lower inner liner portion 3500B.
  • the lid assembly 3300 can be secured together and the lid assembly 3300 can be secured to the body assembly 3350 by welding the upper inner liner portion 3500A to the upper outer shell portion 3501A and the lower outer shell portion 3501B at the weld joint 3522.
  • the lid assembly 3300 can be further attached to the lower outer shell portion 3501B by way of stitching the top portion of the lower outer shell portion 3501B together with the top layer 3501A1, the bottom layer 3501A2, the upper inner liner portion 3500A, the strip of material 3501A3, and the binding material 3518.
  • the lower outer shell portion 3501B can be formed by attaching each of the first outer shell section 3501B1, the lower outer wall section 3501B2, the first base layer 3501B3, and the second base layer 3501B4 together. Next, each of the first sheet of insulating material 3502B1 and the second sheet of insulating material 3502B2 can be placed within the lower outer shell portion 3501B.
  • the lower inner liner portion 3500B can then be formed by welding each of the top strip 3500B1, the middle portion 3500B2, and the bottom portion 3500B3 together and then by adding the seam tape 3509 over each of the welds.
  • the lower inner liner portion 3500B can be formed by injection molding the material.
  • the inner liner portion 3500B can be placed within the lower insulating layer portion 3502B, and the inner liner portion 3500B can be welded to the lower outer shell portion 3501B at seam 3511 all along the inner perimeter of the body assembly 3350 of the insulating device 3010.
  • the seam 3511 can be formed in this example by either welding or stitching.
  • Fig. 9 shows an exemplary welding technique that can be used to weld the lower inner liner portion 3500B to the lower outer shell portion 3501B.
  • the lower inner liner portion 3500B can then be joined to the lower outer shell portion 3501B on its side using a three-piece tool, which can include a top U-shaped portion 3514A, a plate portion 3516, and a bottom U-shaped portion 3514B.
  • the curvature of the top U-shaped portion 3514A, the plate portion 3516, and the bottom U-shaped portion 3514B, can correspond to the shape of the perimeter of the body assembly 3350 of the insulating device 3010.
  • the lower inner liner portion 3500B is placed into contact with the lower outer shell portion 3501B and the plate portion 3516 is placed within the lower inner liner portion 3500B and the top U-shaped portion 3514A, and the bottom U-shaped portion 3514B can be placed into contact with lower outer shell portion 3501B.
  • the top U-shaped portion 3514A and the bottom U-shaped portion 3514B can be connected to two lead wires such that current can pass through the top U-shaped portion 3514A, the lower outer shell portion 3501B and the lower inner liner portion 3500B. Current can then be applied first to the top U-shaped portion 3514A to form a weld along the top U-shaped portion 3514A including the curves and the straight portions. After the top section is welded, the polarity of the lead wires can then be reversed to then weld the bottom section along the bottom U-shaped portion 3514B.
  • the remaining two sides can then be welded by using the plate portion 3516 and a pair of straight side bars or another clamping mechanism or vice. Similar to the curved portions of the body assembly 3350, current can be applied to the pair of straight side bars by lead wires. Again, the sides can be welded separately by applying the current in a first direction to weld a first side and by then switching polarity of the leads and running the current in the opposite direction to weld a second side. In one example, each of the sections can be welded for approximately 10 seconds. Once the weld is complete around the entire perimeter of the body assembly 3350, the body assembly 3350 can be assembled to the lid assembly 3300.
  • the closure 3311 can be substantially waterproof so as to resist liquid from exiting the opening when the insulating device is dropped from a distance of six feet.
  • the insulating device can be filled completely with water and then dropped from six feet onto a concrete surface on each of the faces of the insulating device 3010, which in this case is six.
  • the example insulating device 3010 was tested to determine ice retention.
  • the ice retention testing may be utilized to determine insulative properties of example insulating device 3010.
  • the duration of the increase from 0°F to 50°F when the insulating device 3010 was filled with ice was determined according to the test parameters below.
  • the temperature of the insulating device increases from -17.78 °C to -12.2 °C (0°F to 10 °F) in a duration of 0.5 hours to 1.5 hours
  • the temperature of the insulating device increases from -12.2 °C to 10 °C (10°F to 50 °F) in a duration of 22 hours to 28 hours
  • the temperature of the insulating device increases from -17.78 °C to 10 °C (0 °F to 50 °F) in a duration of 24 hours to 30 hours.
  • the ice retention was tested using the following test. More than 24 hours before the test, the following steps are performed:
  • Mark test coolers with unique identifier and record identifier and description in test log or notes.
  • thermocouple (T) in the approximate center of the test cooler (C).
  • thermocouple tip should be approximately 2,54 cm (1 inch) above the cooler floor. (See Fig. 11 for an example of proper thermocouple set-up.)
  • Test coolers by keeping test coolers inside (ambient temperature 18-24 °C (65-75 °F)) with lids open for a minimum of 24 hours.
  • Ice per cooler 0.24 kg x 0.95 liter capacity of cooler (0.52 lbs. x Quart capacity of cooler)
  • Ice required Ice per cooler x number of coolers
  • test procedure is as follows:
  • thermocouple is outside of the test cooler and close and secure the cooler lid.
  • thermocouples Connect all thermocouples to the data logger.
  • thermocouple readings to ensure that all connections are complete and the channels are recording properly. (Note: The starting temperature inside each test cooler should be ⁇ -12 °C (10°F).
  • thermocouples Disconnect thermocouples from data logger.
  • Figs. 35A-36B show various views of another exemplary insulating device 5010.
  • the example insulating device 5010 is similar to the example discussed above in relation to Figs. 24-30 .
  • Like reference numerals refer to the same or similar elements of similar functionality in all of the various views; and, therefore, these elements are not described in detail.
  • the exemplary insulating device 5010 can be formed of a smaller size, can include a top handle 5216, and may include an optional reinforcement sheet or panel. Nevertheless, it is contemplated that the insulating device examples discussed herein could include a similar top handle and reinforcement sheet or panel.
  • Figs. 36A and 36B show a partial view of an example lid assembly 5300.
  • Fig. 35A shows a partial cross-section view of the example lid assembly 5300.
  • the example lid assembly 5300 is similar to the examples above, however, can additionally include a reinforcement sheet or panel 5217 in the lid assembly 5300.
  • Fig. 36B shows a partial top view of the example lid assembly to illustrate the reinforcement sheet 5217.
  • the reinforcement sheet or panel 5217 is configured to assist in preventing bowing of the handle 5216 and the lid assembly 5300.
  • the reinforcement sheet or panel 5217 can be a relatively rigid sheet of material in comparison to the outer liner 5501, insulating layer 5502, and the inner layer 5500.
  • the reinforcement sheet or panel 5217 can be formed of a suitable polymer or plastic, such as polyethylene.
  • a suitable polymer or plastic such as polyethylene.
  • any stiffener material that is flexible could be used and other examples, may include a thermoformed PE, a TPU injection molded custom component.
  • the reinforcement sheet or panel 5217 can be flat, corrugated or may have a honey comb configuration.
  • the panel 5217 can include other patterns so as to assist in preventing bowing of the handle 5216.
  • the reinforcement sheet or panel can be 1 to 3 mm thick.
  • the reinforcement sheet may include a cover, which can in certain examples, can be configured to prevent water from penetrating the cover. In other examples, additional fabric may be included to reinforce the handle.
  • a reinforcement area or patch 5320 can be included on the lid assembly 5300 for supporting the handle 5216.
  • the patch 5320 can be welded to the lid assembly 5300.
  • the patch 5320 may also be omitted entirely.
  • the handle 5216 may be sewn to the lid assembly 5300 and the reinforcement panel 5217 by way of thread 5219.
  • the handle 5216 may also extend through the lid assembly and be directed connected to the reinforcement panel 5217.
  • the handle 5216 can be connected to the reinforcement sheet or panel 5217 by one or more welds, bolts or other threaded-like connection, bayonet, ball and socket, and the like.
  • connection methods may include providing either layers 5501A1 or 5501A2 with one or more slots and the reinforcement sheet or panel 5217 with one or more corresponding projections that can be located within the one or more slots, which allow for a more advanced connection of the sheet or panel 5217 to the lid assembly 5300 of the insulating device 5010.
  • a wireframe or steel wire can be placed within the handle 5216 and extend through the handle 5216. The wireframe or steel wire can be threaded through the sheet or panel 5217 to secure the handle to the lid assembly 5300. It is also contemplated that all or portions of the lid assembly and/or handle can be injection molded to provide a more rigid structure to prevent bowing of the handle.
  • connection between the handle 5216 and the reinforcement panel 5217 also helps prevent separation issues between the separate layers 5501A1, 5501A2, which can be a TPU coated nylon laminate, and a compression molded EVA material respectively.
  • the connection between the handle and the reinforcement panel may allow water into the lid.
  • the connection can allow for any liquid therein to escape by evaporating through the opening formed by the connection.
  • the connection between the handle and the reinforcement panel may also be waterproof or water resistant to limit the amount of moisture into the lid assembly.
  • the handle 5216 can be formed of a 1000D Nylon or other suitable polymer and may include 50mm webbing. Additionally, the handle 5216 may include padding on the gripping portion of the handle. In one example, the padding may be a suitable foam, such as a 5 mm polyethylene sponge foam. It is contemplated that the seal between the lid assembly 5300 and the body assembly 5350 can be configured to withstand shock loading by the handle when the insulating device 5010 is sealed and filled with contents. Nevertheless, a side bridge linking the lid assembly 5300 to the body assembly 5350 is also contemplated for transporting heavy items in the insulating device 5010.
  • FIG. 37 depicts an isometric view of a front portion of an insulating device 6010, according to one or more aspects described herein. Additionally, FIG. 38 depicts an isometric view of a back portion of the same insulating device 6010. As depicted in FIG. 38 , the insulating device 6010 includes a back support panel 6602 and shoulder straps 6604A and 6604B that allow the insulating device 6010 to be carried as a backpack.
  • the insulating device 6010 can be of a similar construction to the examples previously described in these disclosures, where like reference numerals represent like features having similar functionality.
  • features denoted by the same last three digits, and optionally the same letter, or alphanumeric suffix, may be considered to include similar features and construction materials and/or methodologies. It is contemplated that the structures of insulating device 6010 may be coupled to one another by any methods and/or fastener elements, such as those previously described throughout these disclosures, and including, among others, adhesives, stitching, laser welding, and/or rivets.
  • FIG. 39 depicts a front elevation view of the insulating device 6010, according to one or more aspects described herein. It is contemplated that the insulating device 6010 may have any dimensions for height, width and depth, without departing from the scope of these disclosures. Further, it is contemplated that the various components, or sub-components of the insulating device 6010 may have any dimensions, without departing from the scope of these disclosures.
  • FIG. 39 schematically depicts a width 6802 and a height 6804 of the insulating device 6010.
  • FIG. 40 schematically depicts a depth 6806 of the insulating device 6010. In one specific example, the width 6802 may measure approximately 28 cm. In another example, the width 6802 may range between approximately 24 and 32 cm.
  • the height 6804 may measure approximately 48 cm. In another example, the height 6804 may range between approximately 44 and 52 cm. Additionally, the depth 6806 may measure approximately 22 cm. In another example, the depth 6806 may range between approximately 16 and 28 cm.
  • the insulating device 6010 may have any dimensions. In one example, the insulating device 6010 may have a substantially cuboidal geometry. Additionally or alternatively, the geometry of the insulating device 6010 may be a cuboid with one or more rounded, or filleted edges. However, it is contemplated that the insulating device 6010 may have different geometries, such as a substantially cylindrical geometry, without departing from the scope of these disclosures.
  • the insulating device 6010 includes multiple fabric loops 6224, similar to loops 224 as previously described.
  • two columns of six loops 6224 each are depicted in FIG. 39 as being coupled to the first sidewall 6507A.
  • any number of loops 6224 may be used, and in a single column or three of more columns, without departing from the scope of these disclosures.
  • FIG. 40A depicts a side elevation view of a first, or right side of the insulating device 6010, according to one or more aspects described herein.
  • the insulating device 6010 includes an attachment panel 6606.
  • the attachment panel 6606 may include a surface configured to be removably coupled to hook and loop fasteners of external elements (external elements not depicted, but may include one or more storage brackets, straps, pockets, or pouches among others that include hook and loop attachment elements). It is contemplated that the attachment panel 6606 may include one or both of hook and loop elements of a hook and loop fastener structure. Additionally or alternatively, the attachment panel 6606 may include and/or encapsulate one or more metallic and/or magnetic elements that are configured to be removably coupled to one or more external magnetic elements (not depicted).
  • FIG. 40B depicts an alternative implementation of the right side of the insulating device 6010.
  • the insulating device 6010 may include a series of attachment loops 6224 in place of the attachment panel 6606.
  • the insulating device 6010 includes a waist strap 6810, which is described in further detail in relation to FIG. 44 . It is contemplated that the waist strap 6810 may be used in combination with any implementation of an insulating device described throughout these disclosures, including the implementation of FIG. 40A .
  • FIG. 41 depicts a side elevation view of a second side, or left side, of the insulating device 6010, according to one or more aspects described herein.
  • the insulating device 6010 includes multiple fabric loops 6224, similar to loops 224 as previously described. While four loops 6224 are depicted in FIG. 41 , it is contemplated that any number of loops 6224 may be used, without departing from the scope of these disclosures.
  • the second side of the insulating device 6010 depicted in FIG. 41 may include an attachment panel similar to attachment panel 6606.
  • the first side of the insulating device 6010 depicted in FIG. 40 may include attachment loops similar to those loops 6224 depicted in FIG. 41 .
  • FIG. 42 depicts an elevation view of a back side of the insulating device 6010, according to one or more aspects described herein.
  • the back support panel 6602 is coupled to the depicted reinforcement patch 6320 and to the fourth sidewall 6507D of the insulating device 6010.
  • the shoulder straps 6604A and 6604B may include padded upper strap portions 6702A and 6702B, which may constructed using similar materials and processes to straps 218.
  • the padded upper strap portions 6702A and 6702B may include multiple layers of material, including a foam core surrounded by an abrasion resistant outer polymeric shell.
  • the foam core may include one or more of ethylene-vinyl acetate, low-density polyethylene, nitrile rubber, polychloroprene foam, polyimide foam, polypropylene foam, polyurethane foam, polyvinyl chloride foam, silicone foam, and microcellular foam, or combinations thereof.
  • the padded upper strap portions 6702A and 6702B may include outer webbing that is sewn onto the padded upper strap portions 6702A and 6702B to form multiple loops 6716. A portion of the loops 6716 are labelled on each of the padded upper strap portions 6702A and 6702B in FIG. 42 .
  • the padded upper strap portions 6702A and 6702B may include any number of loops 6716, which may have any physical dimensions. These loops may be similar to loops 224, and may be constructed of nylon webbing. Additionally, or alternatively, the loops 6716 may be constructed from other materials, such as polypropylene, neoprene, polyester, Dyneema, Kevlar, cotton fabric, leather, plastics, rubber, or rope. In one implementation, the loops 6716 are configured to be used to attach items (e.g., carabineers, dry bags, among others) to the insulating device 6010.
  • items e.g., carabineers, dry bags, among others
  • the loops 6716 are configured to limit the extent to which the padded upper strap portions 6702A and 6702B can be expanded.
  • the padded upper strap portions 6702A and 6702B may be constructed from materials configured to deform and expand to provide shock absorption when the insulating device 6010 is worn on a user's back.
  • the padded upper strap portions 6702A and 6702B may be in a contracted position and the loops 6716 may have an amount of slack that loops outward from the padded upper strap portions 6702A and 6702B.
  • the weight of the insulating device 6010 may intermittently or continuously cause the padded upper strap portions 6702A and 6702B to expand, and the loops 6716 may be repositioned as taut and proximate the outer surfaces of the padded upper strap portions 6702A and 6702B.
  • the loops 6716 may be configured to limit the extent to which the padded upper strap portions 6702A and 6702B may expand, and thereby prevent overexpansion and damage to the padded upper strap portions 6702A and 6702B, while also providing shock absorption functionality.
  • the padded upper strap portions 6702A and 6702B may be coupled to a top portion of the back support panel 6602 at proximal ends 6704A and 6704B. It is contemplated that the padded upper strap portions 6702A and 6702B may be coupled to the back support panel 6602 at the proximal ends 6704A and 6704B by sewing, gluing, or one or more fastener elements, among others.
  • the shoulder straps 6604A and 6604B may additionally include lower adjustment straps 6706A and 6706B.
  • the lower adjustment straps 6706A and 6706B may be coupled to a bottom portion back of the support panel 6602 at proximal ends 6708A and 6708B.
  • the lower adjustment straps 6706A and 6706B may be constructed from a material similar to loops 6716 and webbing 212. As such, in one example, the lower adjustment straps 6706A and 6706B may be formed of a nylon webbing.
  • Distal ends 6710A and 6710B of the padded upper strap portions 6702A and 6702B may be adjustably coupled to distal ends 6712A and 6712B of the lower adjustment straps 6706A and 6706B by adjustment buckles 6714A and 6714B.
  • the adjustment buckles 6714A and 6714B may be constructed from one or more of a polymer, a metal, an alloy, a ceramic, or a fiber reinforced material, among others.
  • the distal ends 6712A and 6712B of the lower adjustment straps 6706A and 6706B may include sewn loops that provide a finger loop to allow the lower adjustment straps 6706A and 6706B to be gripped and pulled through the adjustment buckles 6714A and 6714B, and to increase the thickness of the lower adjustment straps 6706A and 6706B such that the likelihood that the adjustment straps 6706A and 6706B will inadvertently slip through and disengage from the adjustment buckles 6714A and 6714B is reduced.
  • the insulating device 6010 additionally includes lower attachment loops 6718A and 6718B.
  • the lower attachment loops 6718A and 6718B are sewn into the sides of the back support panel 6602, and may be constructed from a material similar to the lower adjustment straps 6706A and 6706B. It is contemplated that the lower attachment loops 6718A and 6718B may be constructed from a nylon webbing material. However, additional or alternative materials may be used, without departing from the scope of these disclosures. In one example, the lower attachment loops 6718A and 6718B may be used as anchor points for attachment of a waist strap (not depicted) to the insulating device 6010.
  • the insulating device 6010 may include a loop handle 6720, otherwise referred to as haul handle 6720.
  • the loop handle 6720 may be sewn into the insulating device 6010 at a top portion of the back support panel 6602, and may be constructed from a nylon webbing, similar to the lower attachment loops 6718A and 6718B. It is contemplated, however, that the loop handle 6720 may be constructed from additional or alternative polymeric, metallic, alloy or ceramic materials, without departing from the scope of these disclosures.
  • the loop handle 6720 may additionally include a padding material encapsulated within the nylon webbing. This padding material may include a foam, or one or more layers of nylon webbing.
  • the loop handle 6720 may be sewn into the back portion or fourth sidewall 6507D of the insulating device 6010 above the back support panel 6602.
  • FIG. 43 schematically depicts a cross-sectional view of the insulating device 6010, according to one or more aspects described herein.
  • the insulating device 6010 may include elements similar to insulating device 5010, as schematically depicted in FIG. 35F .
  • insulating device 6010 includes the back support panel 6602.
  • the back support panel 6602 includes an outer layer 6608 and an inner layer 6610 bound to one another by one more fasteners, including be sewing, and/or by binding 6518, similar to binding 518, as previously described.
  • the back support panel 6602 may be coupled to the outer shell section 6501.
  • the outer shell section 6501 may have two or more layers 6501B1 at the back portion or fourth sidewall 6507D, at which the back support panel 6602 is coupled to the insulating device 6010.
  • the inner layer 6610 of the back support panel 6602 may include a compression molded ethylene-vinyl acetate (EVA).
  • EVA compression molded ethylene-vinyl acetate
  • the inner layer 6610 may additionally or alternatively include another polymer foam material, such as, among others, low-density polyethylene, nitrile rubber, polychloroprene foam, polyimide foam, polypropylene foam, polyurethane foam, polyvinyl chloride foam, silicone foam, and microcellular foam, or combinations thereof.
  • the outer layer 6608 may include a nylon material and a poly synthetic leather. However, it is contemplated that the outer layer 6608 may include additional or alternative materials. In one implementation, the materials and thicknesses of the back support panel 6602 may be configured to provide resistance to deformation/ added rigidity when the back support panel 6602 is positioned proximate a user's back when the insulating device 6010 is worn as a backpack, or to provide added rigidity to hold the insulating device 6010 in an upright position (not depicted) when not being worn as a backpack. It is contemplated that any material thicknesses and material types in addition to our or as alternatives to those previously described may be used in the construction of the back support panel 6602, including polymers, metals, alloys, fiber-reinforced materials, or combinations thereof.
  • the insulating device 6010 includes an inner chamber 6504, similar to inner chambers 504, 2504, 3504, and 4504, and configured to store one or more items and reduce a rate of heat transfer therefrom or thereto. It is contemplated that the volume of this inner chamber 6504 may have any value, without departing from the scope of these disclosures.
  • the insulating layers 6502A, 6502B, 6502B2 may include any of the insulating materials previously described throughout these disclosures. Additionally or alternatively, the insulating layers depicted in FIG. 43 may include one or more vacuum insulated panels. These vacuum insulated panels are further described in PCT/US2016/063658, filed 23 November 2016 .
  • the insulating device 6010 may include additional reinforcement structures.
  • these additional reinforcement structures may include one or more of an internal, an external or a partially internal frame constructed from one or more plates, tubes and/or beams, and from one or more of a metal, alloy, ceramic, or fiber-reinforced material, or combinations thereof.
  • the inner chamber 6504 of the insulating device 6010 may include one or more storage compartments, pockets, dividers or other structures, without departing from the scope of these disclosures.
  • FIG. 44 depicts another isometric view of the insulating device 6010.
  • a waist strap 6810 is removably attached to the lower attachment loops 6718A and 6718B.
  • the waist strap 6810 includes a first strap portion 6812 that is removably coupled to a second strap portion 6814 by a buckle 6816.
  • the first and second strap portions 6812 and 6814 may be constructed from a nylon webbing, similar to lower adjustment straps 6706A and 6706B.
  • additional or alternative polymeric, metallic, alloy or ceramic materials, or combinations thereof may be used in the first and second strap portion 6812 and 6814, without departing from the scope of these disclosures.
  • the buckle 6816 may include any removable coupling implementation, without departing from the scope of these disclosures.
  • the waist strap 6810 is removably attached to the lower attachment loops 6718A and 6718B by two split-ring fasteners 6818A and 6818B.
  • the split-ring fasteners 6818A and 6818B may be constructed from aluminum, and includes an elongated loop element with a gap configured to allow the lower attachment loops 6718A and 6718B to be inserted through.
  • the split-ring fasteners 6818A and 6818B may be constructed from another metal, alloy, polymer, fiber-reinforced material, or ceramic, or combinations thereof.
  • FIG. 44 further depicts an alternative implementation of shoulder straps 6820A and 6820B.
  • the shoulder straps 6820A and 6820B may be similar to shoulder straps 6702A and 6702B, and include one or more layers of padding and/or outer webbing materials provided for structural load-bearing properties and abrasion resistance. Additionally, the shoulder straps 6702A and 6702B may include a series multiple loops (a portion of the loops are labelled as loops 6716 in FIG. 44 ). It is contemplated that the shoulder straps 6820A and 6820B may include any number of loops 6716, without departing from the scope of these disclosures. In one example, the series of loops 6716 extends from the adjustment buckles 6714A and 67 14B to reinforcement patches 6822A and 6822B that extend across a width of the shoulder straps 6820A and 6820B.
  • FIG. 45 depicts an isometric view of another implementation of an insulating device 8010.
  • the insulating device 8010 may be similar to the insulating device 6010, and include shoulder straps 8702A and 8702B.
  • the insulating device 8010 may have a substantially cuboidal geometry with a slanted lid assembly 8300 and closure 8311.
  • the insulating device 8010 can be of a similar construction to the examples previously described in these disclosures, where like reference numerals represent like features having similar functionality.
  • features denoted by the same last three digits, and optionally the same letter, or alphanumeric suffix may be considered to include similar features and construction materials and/or methodologies.
  • the structures of insulating device 8010 may be coupled to one another by any methods and/or fastener elements, such as those previously described throughout these disclosures, and including, among others, adhesives, stitching, laser welding, and/or rivets.
  • the lower adjustment straps (e.g., 8706A) of the shoulder straps 8702A and 8702B may be removably coupled to the second sidewall 8507B and third sidewall 8507C.
  • the lower adjustment straps (e.g., 8706A) may include a clasp 8830 configured to be removably coupled to a D-loop 8832 that is attached to the sidewall (e.g., third sidewall 8507C) of the insulating device 8010 by webbing loop 8834.
  • the depicted clasp eight 8830 and D-loop 8832 may additionally or alternatively include any removable attachment mechanism, such as a buckle (similar to one or more of buckles 6714A and 6816), or hook and loop fasteners. Additionally or alternatively, the clasp 8830 may be configured to be removably coupled directly to the webbing loop 8834, without using the D-loop 8832. In one example, the clasp 8830 and the D-loop 8832 may be constructed from a polymer, a metal, an alloy, a fiber-reinforced material, or a ceramic, among others.
  • FIG. 46 schematically depicts one implementation of a split-ring fastener 6818, as described in relation to FIG. 44 .
  • one or more split-ring fasteners 6818 may be used to attach the waist strap 6810 to the lower attachment loops 6718A and 6718B.
  • the split-ring fastener may include an elongated loop element 9850 that has a gap 9852.
  • the gap 9852 may be used to removably couple the split-ring fastener 6818 to a lower attached loop 6718 (not depicted in FIG.
  • the split-ring fastener 6818 may be constructed from aluminum. In other implementations, the split-ring fastener 6818 may be constructed from another metal, alloy, polymer, fiber-reinforced material, or ceramic, or combinations thereof.
  • the insulating devices described throughout this disclosure may include one or more zipper assemblies, similar to closure 6311.
  • zipper assemblies may include curved geometries.
  • the zipper rather than being coupled to a planar surface, may be implemented such that it may be coupled to a complex geometries with multiple areas of curvature.
  • the closures used with any of the insulating devices described throughout these disclosures may include zippers with water reactive resistors configured to be positioned along a length of a zipper track.
  • a plurality of water reactive resistors may be configured to swell when exposed to water and provide resistance to a slider body of the zipper mechanism as it is being used to open or close the zipper closure.
  • the water reactive resistors may run continuously along an entire length of a zipper track. The resistance provided the water reactive resistors may prevent a closure from being opened when exposed to water, and as such, prevent accidental spilling of fluids, ice, and/or materials positioned within an insulating device.
  • a plurality of polymeric resistors may be provided along a length of a zipper track, such as a track of closure 6311.
  • the plastic resistors may be configured to resist the movement of a slider body along the zipper track (with or without the presence of water).
  • the plurality of polymeric resistors may slow the movement of the slider body along the zipper track.
  • the polymeric resistors may have functionality similar to water reactive resistors, and may prevent accidental spilling of fluids, ice, and/or materials stored within an insulating device.
  • a frame may be incorporated into any of the insulating devices described throughout this disclosure.
  • the frame may with used to provide for a symmetric and/or balanced distribution of mass and center of gravity of a portable insulating device.
  • the frame may be formed of one or more of a polymer, a fiber-reinforced composite, or a metal or alloy, such as aluminum and titanium.
  • the insulating devices described throughout these disclosures may be further configured to include one or more storage baffles.
  • the storage baffles may be constructed using one or more of a foam, a vacuum-insulated panel, a metal, an alloy, a polymer, a fiber reinforced material, and a ceramic, or combinations thereof.
  • the baffles may be individually sealable and waterproof containers, or may be divided and/or partitioned areas within an internal compartment the various insulating devices described herein.
  • baffles within an insulated storage compartment may be configured to store specifically-sized items.
  • multiple storage baffles may be used within an insulating device.
  • two baffles may be used, such that one baffle is a sealable and waterproof baffle and the other baffle is a divided area different than the sealed and waterproof baffle within an insulated storage compartment.
  • the baffles may be removable. Any of the insulating devices described to read these disclosures may be configured to receive and store ice, such as dry ice, conventional ice made from water, one or more ice packs, and/or a removable bladder configured to be filled with a fluid such as water.
  • a bottom baffle within an insulated storage compartment of the various insulating devices may be specifically designed to receive and store ice and/or a removable bladder.
  • This bottom baffle may be lined and/or fabricated with a conductive material, and configured to provide cooling to one or more upper baffles within the insulated storage compartment.
  • the upper baffles may also be lined and/or fabricated with a conductive material and, as such, may be configured to further distribute the cooling provided by the bottom baffle.
  • each of the baffles within an insulated storage compartment of an insulating device may be configured to receive and store ice, ice packs, and/or a removable bladder.
  • baffles within an insulated storage compartment may be configured to partition water from the ice as the ice melts.
  • the water may be configured to flow into a reservoir at a bottommost portion of an interior portion of a portable insulating device (such as such as devices 1010, 2010, 3010, 4010, 5010, 6010, and 8010).
  • the reservoir may include a hose or tube attached thereto, which may be routed through the interior portion of the portable insulating device to an upper end of the portable insulating device. From there, the hose or tube may extend out from the interior of the insulating device and may include a one-way nozzle at a terminal end portion.
  • the one-way nozzle may be a drinking nozzle and may be configured to release water from the internal reservoir when actuated by a user of the insulating device.
  • the reservoir may further include an air pump or bladder which may be manually or electrically pumped to increase the pressure within the reservoir. When pressurized, the reservoir may assist in urging water through the hose or tube and out through the one-way nozzle when actuated. It is further contemplated that the water may be filtered before it is dispensed through the drinking nozzle.
  • a peripheral cooling vessel may be positioned adjacent to an insulated storage compartment of the insulating devices described throughout this disclosure, and may be configured to provide cooling to the insulated storage compartment.
  • the peripheral cooling vessel may be configured to receive and store conventional ice made from water, dry ice, one or more ice packs, and/or a removable bladder.
  • the peripheral cooling vessel may be lined and/or fabricated with a conductive material to enable cooling distribution to the insulated storage compartment.
  • the peripheral cooling vessel may further be a sealable and waterproof vessel.
  • the peripheral cooling vessel may be affixed to a front, bottom, side, and/or rear portion of an insulated storage compartment, and may be configured to be detachably attached to the insulated storage compartment.
  • the peripheral cooling vessel may be rigidly attached to the insulated storage compartment. In the detachably attachable configuration, the peripheral cooling vessel may be removable from a portable insulating device.
  • the baffles within the insulated and uninsulated storage compartments may be angled to extend from a backmost and/or rearmost portion of the particular storage compartment upwardly and outwardly towards a frontmost and/or frontward portion of the particular storage compartment.
  • Such an orientation of the baffles may establish a center of gravity of the portable insulating device 100 close to the backmost and/or rearmost portion of the device which, as stated above, may be configured to contact the back and shoulders of a carrier during carrying.
  • the angled baffles may provide for symmetric weight distribution and a center of gravity of the portable insulating
  • An exemplary insulating device may include an outer shell, an inner liner, an insulating layer floating freely in between the outer shell and the inner liner, and a waterproof closure.
  • the top of the shell has first perimeter circumference
  • the bottom of the shell has a second perimeter circumference.
  • the first perimeter circumference can be equal to the second perimeter circumference.
  • the closure can be a zipper assembly comprising a plurality of zipper teeth, and the zipper teeth can be formed of plastic or metal.
  • the outer shell can be made of a double laminated TPU nylon fabric.
  • the inner liner can be made of a double laminated TPU nylon fabric.
  • the insulating layer can be formed of a closed cell foam.
  • the insulating layer can be made of a NBR and a PVC blend, and at least a portion of the insulating layer can be constructed with an EVA foam layer.
  • the outer shell further can include at least one of a strap or handle.
  • the outer shell further can include at least one ring for securing the insulating device.
  • An exemplary insulating device can include an outer shell, an inner liner, a closure adapted to seal at least one of the outer shell or the inner liner, and an insulating layer between the outer shell and the inner liner.
  • the closure can have a first flange and a second flange, and the outer liner can be secured to top surfaces of the first flange and the second flange and the inner liner can be secured to bottom surfaces of the first flange and the second flange.
  • the outer liner and the inner liner can be connected to the closure by a polymer weld.
  • the outer shell can have a first circumference and a second circumference, the first circumference and the second circumference both having an oval shape.
  • the closure can be adapted to be a barrier against fluid.
  • the closure can be a zipper apparatus that is watertight up to 48263.3 Pa (7 psi) above atmospheric pressure.
  • An exemplary method of assembling a insulating device may include forming an inner liner having an inner vessel, forming an outer shell, forming an insulating layer between the inner liner and the outer shell, and securing a closure configured to be a barrier against fluid penetration in and out of the inner vessel wherein the closure is secured in a flat plane and is secured to the outer shell and the inner shell.
  • the outer shell and inner shell may only be connected to the closure and not to the insulating layer between the outer shell and inner liner.
  • a waterproof polymer weld can be formed between the closure and the inner shell and the closure and the outer shell when the closure, the outer shell, and the inner liner are lying in a horizontal plane.
  • the outer shell and the inner layer can be formed of a TPU nylon material.
  • the closure can have a first flange and a second flange.
  • the outer liner can be secured to top surfaces of the first flange and the second flange and the inner liner can be secured to bottom surfaces of the first flange and the second flange.
  • the method can also include forming the insulating layer from a rectangular shape, and rolling the rectangular shape into a cylindrical shape.
  • the top of the insulating layer has a first perimeter circumference and the bottom of the insulating layer has a second perimeter circumference.
  • the first perimeter circumference can be equal to the second perimeter circumference.
  • Another example insulating device can include an outer shell, an inner liner forming a storage compartment, a foam layer floating freely in between the outer and inner liner, the foam layer providing insulation, an opening extending through the outer layer and the inner layer, and a closure adapted to substantially seal the opening.
  • the closure can be substantially waterproof so as to resist liquid from exiting the opening.
  • the insulating device can also include an upper wall and a base, the upper wall defining an upper wall circumference, an upper wall length and an upper wall width, and the base defining a base circumference, a base length and a base width.
  • the upper wall circumference can be equal to the base circumference and the ratio of the upper wall length to the upper wall width can be greater than the ratio of the base length to the base width.
  • a heat gain rate of the insulating device can be approximately 0.56 to 0.83 degC/hr (1.0-1.5 degF/hr).
  • Another example method of forming an insulating device may include forming an inner liner first portion and an outer shell first portion, securing the inner liner first portion and the outer shell first portion to a sealable closure to form a cap assembly, forming an inner liner second portion and securing the inner liner second portion to the inner liner first portion to form an inner liner, forming an outer shell second portion, rolling a rectangular foam portion to form a first cylindrical foam portion and securing a foam base portion to the first cylindrical portion to form a foam assembly, inserting the foam assembly into the outer shell second portion, inserting the inner liner into the foam assembly, and stitching the outer shell first portion to the outer shell second portion.
  • the inner liner first portion and the outer shell first portion can be welded to the closure.
  • the closure can be provided with at least one flange and the flange can be secured to a bottom surface of the outer shell first portion and a top surface of the inner liner first portion.
  • the foam can float between the outer shell second portion and the inner line
  • An example portable insulating device may include an outer liner, an inner liner forming a storage compartment, a foam layer in between the outer and inner liner.
  • the foam layer can be adapted to provide insulation.
  • the example portable insulating device may also include an opening extending through one of the outer layer and the inner layer and a closing means for substantially sealing the opening.
  • the closure can be substantially waterproof.
  • a portable cooler may include an aperture on the top of the cooler that is opened and closed by a zipper apparatus which allows access to a chamber within the cooler.
  • the aperture prevents any fluid leakage out of the cooler if the cooler is overturned or in any configuration other than upright.
  • the zipper assembly also prevents any fluid from permeating into the cooler chamber if the cooler is exposed to precipitation, other fluid, or submersed under water.
  • An example method of assembling a zipper apparatus and aperture configured to be impervious to water or other liquids and fluids can include attachment of a waterproof zipper via material welding to both an outer shell and an inner liner. This method may result in a chamber impervious to water and other liquids when the zipper apparatus on the aperture is sealed.
  • an insulating device may include an outer shell, an inner liner forming a storage compartment, a foam layer floating formed in between the outer and inner liner, the foam layer providing insulation, an opening extending through the outer layer and the inner layer, a closure adapted to substantially seal the opening, the closure being substantially waterproof so as to resist liquid from exiting the opening when the insulating device is in any orientation.
  • the top portion of the outer shell can have a first perimeter circumference in a first configuration.
  • the outer shell may include a bottom portion, the bottom portion of the outer shell can have a second perimeter circumference in a second configuration that is different from the first configuration, and the first perimeter circumference can be equal to the second perimeter circumference.
  • the first configuration and the second configuration can be both oval shaped.
  • the insulating device may include an upper wall and a base, the upper wall can define an upper wall circumference, an upper wall length and an upper wall width, and the base can define a base circumference, a base length and a base width.
  • the upper wall circumference can be equal to the base circumference and the ratio of the upper wall length to the upper wall width can be greater than the ratio of the base length to the base width.
  • the cold retention time of the insulating device can be approximately 11 to 20 hours. However, in one example the cold retention time can be 11 to 15 hours. In another example the cold retention time can be approximately 12.24 hours.
  • the heat gain rate of the insulating device can be approximately 0.56 to 0.83 degC/hr (1.0-1.5 degF/hr), and, in one particular example, the heat gain rate can be approximately 0.78 degC/hr (1.4 degF/hr).
  • the storage compartment can be configured to maintain a liquid therein while inverted for greater than 15 minutes. In one particular example, the storage compartment can be configured to maintain the liquid for a period of greater than 30 minutes therein when inverted and a half of a volume of the storage compartment is filled with the liquid.
  • the insulating layer can be floating freely in between the outer shell and the inner liner.
  • the insulating layer can be formed of closed cell foam, and the insulating layer can be made of a NBR and a PVC blend. In one example least a portion of the insulating layer can be constructed with an EVA foam layer.
  • the closure can be a zipper assembly comprising a plurality of zipper teeth, and the zipper teeth can be formed of plastic.
  • the outer shell and the inner liner can be made of a double laminated TPU nylon fabric.
  • the outer shell further can include at least one of a strap or handle.
  • the outer shell can include at least one ring for securing the insulating device.
  • the insulating layer can be configured to maintain an internal temperature of the insulating device below 10 degrees Celsius (50 degrees Fahrenheit) for 65 to 85 hours.
  • the closure can be formed with a first flange and a second flange and the outer liner can be secured to top surfaces of the first flange and the second flange.
  • the inner liner can be secured to bottom surfaces of the first flange and the second flange.
  • the outer liner and the inner liner can be connected to the closure by a polymer weld.
  • the closure can be watertight up to 13789.5 to 96526.6 Pa (2 to 14 psi) above atmospheric pressure.
  • a loop patch may also be provided on the insulating device.
  • an insulating device may include an outer shell, an inner liner forming a storage compartment, a foam layer floating in between the outer and inner liner, which provides insulation, an opening extending through the outer layer and the inner layer, a closure adapted to substantially seal the opening.
  • the closure can be substantially waterproof so as to prevent liquid from exiting the opening when the insulating device is inverted for a period of greater than 15 minutes.
  • the heat gain rate of the insulating device can be approximately 0.56 to 0.83 degC/hr (1.0-1.5 degF/hr).
  • the insulating device can include at least one handle.
  • the at least one handle can be configured to support 45.36 kg to 136,08 kg (100 lbs. to 300 lbs.). of weight for 1 to 10 minutes without showing signs of failure.
  • the insulating device can be configured to withstand 15.88 kg to 45.36 kg (35 lbs. to 100 lbs.) of puncture force.
  • An example method of forming an insulating device can include forming an inner liner first portion and an outer shell first portion, securing the inner liner first portion and the outer shell first portion to a sealable closure to form a cap assembly, forming an inner liner second portion and securing the inner liner second portion to the inner liner first portion to form an inner liner, forming an outer shell second portion, rolling a rectangular foam portion to form a first cylindrical foam portion and securing a foam base portion to the first cylindrical foam portion to form a foam assembly, inserting the foam assembly into the outer shell second portion, inserting the inner liner into the foam assembly, and securing the outer shell first portion to the outer shell second portion to form the outer shell.
  • the method may also include securing a closure configured to be a barrier against fluid penetration in and out of the inner vessel and forming a waterproof polymer weld between the closure and the inner shell and the closure and the outer shell when the closure, the outer shell, and the inner liner are lying in a flat plane.
  • the inner liner first portion and the outer shell first portion can be secured to the closure.
  • the closure can be provided with at least one flange, and the flange can be secured to a bottom surface of the outer shell first portion and a top surface of the inner liner first portion.
  • the foam can freely float between the outer shell second portion and the inner liner second portion.
  • the outer shell and inner shell are only connected to the closure and not to the insulating layer between the outer shell and inner liner.
  • the outer shell can be formed of a TPU nylon material, and the inner liner can be formed from a TPU nylon material.
  • the closure can include a first flange and a second flange.
  • the outer liner can be secured to top surfaces of the first flange and the second flange, and the inner liner can be secured to bottom surfaces of the first flange and the second flange.
  • the top of the insulating layer can have a first perimeter circumference.
  • the bottom of the insulating layer can have a second perimeter circumference.
  • the first perimeter circumference can be equal to the second perimeter circumference.
  • an insulating device can include an outer shell defining a sidewall, an inner liner forming a storage compartment, an insulating layer positioned in between the outer shell and the inner liner, the insulating layer providing insulation for the storage compartment, an opening extending through the outer shell and the inner liner, and a closure adapted to substantially seal the opening, the closure being substantially waterproof so as to resist liquid from exiting the opening when the insulating device is in any orientation.
  • the insulating device may include a vertically extending front facing surface and the closure can be located on the front facing surface. A cross section of the insulating device can approximate a pentagon in an extended position, and a cross section of the insulating device can approximate a trapezoid in an extended position.
  • the insulating device may also include a base, and the insulating layer can insulate the base.
  • the base may also include an additional insulating layer.
  • the insulating device may also include a fold-down portion configured to cover the closure.
  • the fold-down portion comprising a first section and a second section and wherein the first section is free of the insulation layer and the second section includes the insulation layer.
  • the fold-down portion can be at least partially free of foam.
  • the fold-down portion can be configured to be secured to the sidewall.
  • the fold-down portion can include at least one hook and the sidewall can include at least one loop.
  • the hook can be configured to engage the loop to secure the fold-down portion to the sidewall.
  • the fold-down portion can be secured to the sidewall, and the fold-down portion may extend at least partly in a substantially horizontal direction.
  • the fold-down portion may define a first width, and the closure extends across at least 95% of the first width.
  • the fold-down portion may also include a handle configured to be grasped by a user when the fold-down portion is secured to the sidewall.
  • the insulating layer may include a foam material.
  • the insulating layer may include a first portion and a second portion, and the second portion can be formed thicker than the first portion.
  • the insulating layer can be at least partly formed in a shape of a T.
  • the insulating layer can be at least partly formed of a first rectangle and a second rectangle and the first rectangle can have a larger area than the second rectangle.
  • the first rectangle can have a first rectangle width and the second rectangle can have a second rectangle perimeter.
  • the first rectangle width can approximates the second rectangle perimeter.
  • the second rectangle can extend into the fold-down portion.
  • the insulating layer can have a first height and a second height and the first height can be greater than the second height. A majority of the insulating layer can extend to the second height.
  • a method of forming an insulating device may include forming an inner liner defining a storage compartment, forming an outer shell defining a sidewall, placing an insulating layer in between the outer shell and the inner liner, the insulating layer providing insulation for the storage compartment, placing an opening in the inner liner and the outer shell, and placing a closure between the inner liner and the outer shell.
  • the closure can be adapted to substantially seal the opening, and the closure can be substantially waterproof so as to resist liquid from exiting the opening when the insulating device is in any orientation.
  • the method may also include forming a fold-down portion configured to cover the closure, providing the fold-down portion with a first section and a second section. The first section can be free of the insulation layer and the second section can include the insulation layer.
  • the fold-down portion can be at least partially free of foam.
  • the fold-down portion can be configured to secure to the sidewall.
  • the method may also include forming the insulating layer at least partly in the shape of a T, forming the insulating layer at least partly of a first rectangle and a second rectangle, and forming the first rectangle of a larger area than the second rectangle.
  • the method may also include extending the second rectangle into the fold-down portion and providing the insulating layer on a base and providing an additional insulating layer along the base.
  • an insulating device in another example, includes an outer shell defining a sidewall, an inner liner forming a storage compartment, and an insulating layer positioned in between the outer shell and the inner liner.
  • the insulating layer provides insulation for the storage compartment.
  • the insulating device includes an opening configured to allow access to the storage compartment and a closure adapted to substantially seal the opening.
  • the insulating device includes a binding material, and the binding material can be placed over a joint between the inner liner and the outer shell.
  • the binding material can be stitched onto the insulating device, and the stitching can create openings into the outer shell for venting air trapped between the insulating layer and the outer shell.
  • the binding material can create at least one strap for holding the insulating device.
  • the binding material can include a first folded portion attached to the outer shell and a second folded portion, and the second folded portion can form a strap.
  • the insulation device can approximate a trapezoid from a front view and can approximate a conical shape from a side view.
  • the insulating device increases from -18 °C to 10 °C (0°F to 50 °F) in a duration of 70 hours or greater when filled with 0.24 kg of ice per each 0.95 liter (0.52 lbs. of ice per each quarter) in capacity of the insulating device.
  • the closure can be substantially waterproof so as to resist liquid from exiting the opening when the insulating device is in any orientation.
  • the insulating device can be configured to withstand being held inverted for 15 minutes without any water escaping or leaving the storage compartment.
  • the closure can be configured to stay in the opened position when the closure is not sealed.
  • the closure can be a zipper.
  • the closure extends at least 80% of the length of the insulating device when measured along the closure.
  • the length of the closure can be longer than the length of the bottom of the insulating device, and the length of the closure is at least 5% longer than the length of the bottom of the insulating device.
  • the insulating device can include a vertically extending front facing surface, and the closure can be located on the front facing surface.
  • a handle can be located on a rear facing surface opposing the front facing surface.
  • the insulating layer can comprise a foam material.
  • the insulating layer can comprise a first portion and a second portion, and the second portion can be formed thicker than the first portion.
  • the insulating layer can be at least partly formed of a first rectangle and a second rectangle, and the first rectangle can have a larger area than the second rectangle.
  • the insulating layer can have a first height and a second height, and the first height can be greater than the second height. In one example, a majority of the insulating layer can extend to the second height.
  • the front of the insulating layer can extend to the second height and the rear of the insulating layer extends to the first height.
  • the insulating device can include a base, and the insulating layer can insulate the base. Also the base can include an additional or separate insulating layer. In one example, the insulating layer can cover 80% or more of the inner liner covering the storage compartment or the insulating layer can cover 90% or more of the inner liner covering the storage compartment.
  • a method of forming an insulating device may include forming an inner liner the inner liner defining a storage compartment, forming an outer shell defining a sidewall, placing an insulating layer in between the outer shell and the inner liner, the insulating layer providing insulation for the storage compartment, placing an opening in the inner liner and the outer shell, placing a closure between the inner liner and the outer shell, the closure adapted to substantially seal the opening, the closure being substantially waterproof so as to resist liquid from exiting the opening when the insulating device is in any orientation.
  • the method can also include forming the insulating layer at least partly of a first rectangle and a second rectangle and forming the first rectangle of a larger area than the second rectangle.
  • the method can also include providing the insulating layer on a base and providing an additional insulating layer along the base.
  • An example insulating device can include an outer shell defining a first sidewall; an inner liner forming a storage compartment; an insulating layer positioned in between the outer shell and the inner liner, the insulating layer providing insulation for the storage compartment.
  • the outer shell and the inner liner can define an opening, and the opening can be configured to allow access to the storage compartment.
  • a closure can be adapted to substantially seal the opening, and the closure can be substantially waterproof so as to resist liquid from exiting the opening when the insulating device is in any orientation.
  • the outer shell may include a second sidewall and a third sidewall, and the opening may extend through the first sidewall, the second sidewall, and the third sidewall.
  • the insulating device can be in the shape of a cuboid.
  • the inner liner and the outer shell can form a joint, and the joint can include a vent to gases that become trapped between the inner liner and the outer shell.
  • the outer shell may include one or more handles, and a vent can be formed adjacent to a location of the one or more handles.
  • the closure can be substantially waterproof so as to resist liquid from exiting the opening when the insulating device is dropped from a distance of 1.83 meters (six feet).
  • the insulating device can also include a lid assembly and a body assembly.
  • the lid assembly and the body assembly can together form the inner liner, the insulating layer, and the outer shell.
  • the lid assembly can include at least a portion of the insulation layer.
  • the lid assembly may also include a handle and a reinforcement layer that is more rigid than the inner liner, the insulating layer, and the outer shell.
  • the outer shell may define a bottom wall extending in a first plane, and the inner liner can be secured to the outer shell in a second plane extending perpendicular to the first plane.
  • the liner may be formed of a first piece and a second piece and the first piece is joined to the second piece by way of a weld to define a seam and the seam may be covered with a seam tape.
  • the inner liner can be formed by way of injection molding.
  • the closure can be a zipper and can be substantially waterproof.
  • the zipper can include a pull, and the pull can be formed of a cloth, string, or rope.
  • the temperature of the insulating device increases from -18 °C to -12°c (0°f to 10 °F) in a duration of 0.5 hours to 1.5 hours
  • the temperature of the insulating device increases from -12°C to 10 °C (10°F to 50 °F) in a duration of 22 hours to 28 hours
  • the temperature of the insulating device increases from -18°C to 10 °C (0°F to 50 °F) in a duration of 24 hours to 30 hours.
  • An example method may include forming a body assembly by forming a lower outer shell, placing a lower insulating layer into the lower outer shell, and securing a lower inner liner portion to the lower outer shell; forming a lid assembly of an upper outer shell, an upper inner liner portion and an upper insulating layer therebetween; and joining the lid assembly to the body assembly by securing a closure between the lid assembly and the body assembly and by securing a binding material to the body assembly and the lid assembly.
  • SThe insulating layer can float between the lower outer shell and the lower inner liner portion.
  • the binding material can be formed of nylon, and the binding material can be stitched to the body assembly and the lid assembly.
  • the lid assembly may also be welded to the body assembly. Additionally, the lid assembly may be formed with a handle and a reinforcement layer that is more rigid than the inner liner, the insulating layer, and the outer shell.
  • the lower inner liner portion in certain examples can be formed by injection molding.
  • the lower inner liner portion can be secured to the lower outer shell by a weld.
  • the weld can be formed by clamping the lower outer shell to the lower inner liner portion with a top U-shaped portion, a plate portion, and a bottom U-shaped portion and applying a current through the top U-shaped portion, the plate portion, and the bottom U-shaped portion.
  • the current can be applied through the top U-shaped portion, the plate portion, and the bottom U-shaped portion in a first direction to weld a first side and the current can be applied in a second direction to weld a second side.
  • An example insulating device can include an outer shell defining a first sidewall; an inner liner forming a storage compartment; an insulating layer positioned in between the outer shell and the inner liner, the insulating layer providing insulation for the storage compartment.
  • the example insulating device can also include a back panel support structure externally coupled to the outer shell.
  • the outer shell and the inner liner can define an opening, and the opening can be configured to allow access to the storage compartment.
  • a closure can be adapted to substantially seal the opening, and the closure can be substantially waterproof so as to resist liquid from exiting the opening when the insulating device is in any orientation.
  • the outer shell may include a second sidewall and a third sidewall defining side portions of the insulating device, and a fourth sidewall defining a back portion of the insulating device.
  • the back panel support structure may be externally coupled to the fourth sidewall.
  • the opening may extend through the first sidewall, the second sidewall, the third sidewall, and at least a portion of the fourth sidewall.
  • the insulating device may also include a shoulder strap attached to the back panel support structure.
  • the insulating device can be in the shape of a cuboid.
  • the inner liner and the outer shell can form a joint, and the joint can include a vent to gases that become trapped between the inner liner and the outer shell.
  • the outer shell may include one or more handles, and a vent can be formed adjacent to a location of the one or more handles.
  • the closure can be substantially waterproof so as to resist liquid from exiting the opening when the insulating device is dropped from a distance of 1.83 meters (six feet).
  • the insulating device can also include a lid assembly and a body assembly.
  • the lid assembly and the body assembly can together form the inner liner, the insulating layer, and the outer shell.
  • the lid assembly can include at least a portion of the insulation layer.
  • the lid assembly may also include a handle and a reinforcement layer that is more rigid than the inner liner, the insulating layer, and the outer shell.
  • the outer shell may define a bottom wall extending in a first plane, and the inner liner can be secured to the outer shell in a second plane extending perpendicular to the first plane.
  • the liner may be formed of a first piece and a second piece and the first piece is joined to the second piece by way of a weld to define a seam and the seam may be covered with a seam tape.
  • the inner liner can be formed by way of injection molding.
  • the closure can be a zipper and can be substantially waterproof.
  • the zipper can include a pull, and the pull can be formed of a cloth, string, or rope.
  • the temperature of the insulating device increases from -18°c to -12 °C (0 °F to 10 °F) in a duration of 0.5 hours to 1.5 hours
  • the temperature of the insulating device increases from -12°C to 10 °C (10 °F to 50°F) in a duration of 22 hours to 28 hours
  • the temperature of the insulating device increases from -18°C to 1 0°C (0°F to 50°F) in a duration of 24 hours to 30 hours.
  • An example method may include forming a body assembly by forming a lower outer shell, placing a lower insulating layer into the lower outer shell, and securing a lower inner liner portion to the lower outer shell; forming a lid assembly of an upper outer shell, an upper inner liner portion and an upper insulating layer therebetween.
  • the method may also include forming a back panel support structure, joining the back panel support structure to a back portion of the body assembly, and joining the lid assembly to the body assembly by securing a closure between the lid assembly and the body assembly and by securing a binding material to the body assembly and the lid assembly.
  • the method may also include forming a shoulder strap and joining the shoulder strap to the back panel support structure.
  • the insulating layer can float between the lower outer shell and the lower inner liner portion.
  • the binding material can be formed of nylon, and the binding material can be stitched to the body assembly and the lid assembly.
  • the lid assembly may also be welded to the body assembly. Additionally, the lid assembly may be formed with a handle and a reinforcement layer that is more rigid than the inner liner, the insulating layer, and the outer shell.
  • the lower inner liner portion in certain examples can be formed by injection molding.
  • the lower inner liner portion can be secured to the lower outer shell by a weld.
  • the weld can be formed by clamping the lower outer shell to the lower inner liner portion with a top U-shaped portion, a plate portion, and a bottom U-shaped portion and applying a current through the top U-shaped portion, the plate portion, and the bottom U-shaped portion.
  • the current can be applied through the top U-shaped portion, the plate portion, and the bottom U-shaped portion in a first direction to weld a first side and the current can be applied in a second direction to weld a second side.
  • An example insulating device backpack can include an outer shell having a cuboidal shape, and defining a first sidewall defining a front portion of the insulating device backpack.
  • a second sidewall and a third sidewall may define side portions of the insulating device backpack, and a fourth sidewall may define a back portion of the insulating device backpack.
  • the insulating device backpack may additionally include an inner liner forming a storage compartment; an insulating layer positioned in between the outer shell and the inner liner, the insulating layer providing insulation for the storage compartment.
  • the example insulating device backpack can also include a back panel support structure externally attached to the outer shell.
  • the example insulating device backpack may additionally include a shoulder strap coupled to the back panel support structure.
  • the outer shell and the inner liner can define an opening, and the opening can be configured to allow access to the storage compartment.
  • a closure can be adapted to substantially seal the opening, and the closure can be substantially waterproof so as to resist liquid from exiting the opening when the insulating device is in any orientation.
  • the back panel support structure may be externally coupled to the fourth sidewall.
  • the opening may extend through the first sidewall, the second sidewall, the third sidewall, and at least a portion of the fourth sidewall.
  • the inner liner and the outer shell can form a j oint, and the joint can include a vent to gases that become trapped between the inner liner and the outer shell.
  • the outer shell may include one or more handles, and a vent can be formed adjacent to a location of the one or more handles.
  • the closure can be substantially waterproof so as to resist liquid from exiting the opening when the insulating device is dropped from a distance of 1.83 meters (six feet).

Landscapes

  • Packages (AREA)
  • Portable Outdoor Equipment (AREA)
  • Purses, Travelling Bags, Baskets, Or Suitcases (AREA)
  • Filling Or Discharging Of Gas Storage Vessels (AREA)

Description

    Cross Reference to Related Applications
  • This application claims priority to U.S. Application No. 15/845,737, filed on December 18, 2017 , which application is a continuation-in-part of U.S. Application No. 15/451,064, filed on March 6, 2017 , which is a continuation-in-part of U.S. Application No. 15/261,407, filed on September 9, 2016 , which is a continuation-in-part of U.S. Application No. 15/154,626, filed on May 13, 2016 , which is a continuation-in-part of U.S. Application No. 14/831,641, filed on August 20, 2015 , which is a divisional application of U.S. Application No. 14/479,607 filed on September 8, 2014 , now U.S. Patent No. 9,139,352 , which claims priority to U.S. Application No. 61/937,310 filed on February 7, 2014 . U.S. Application No. 15/261,407, filed on September 9, 2016 also claims priority to provisional applications U.S. Application No. 62/292,024 filed on February 5, 2016 , U.S. Application No. 62/299,421 filed on February 24, 2016 , U.S. Application No. 62/299,402 filed on February 24, 2016 .
  • Field
  • The present disclosure relates generally to non-rigid, portable, insulated devices or containers useful for keeping food and beverages cool or warm, and, more particularly, an insulating device with a waterproof closure.
  • Background
  • Coolers are designed to keep food and beverages at lower temperatures. Containers may be composed of rigid materials such as metal or plastics or flexible materials such as fabric or foams. Coolers can be designed to promote portability. For example, rigid containers can be designed to incorporate wheels that facilitate ease of transport or coolers can be designed in smaller shapes to allow individuals to carry the entire device. Non-rigid containers can be provided with straps and/or handles and may in certain instances be made of lighter weight materials to facilitate mobility. Non-rigid coolers that maximize portability can be designed with an aperture on the top that allows access to the interior contents of the cooler. The aperture can also be provided with a closure.
  • US 2007/164063 A1 discloses an insulating device backpack, comprising:an outer shell having a cuboidal shape, further comprising a first sidewall defining a front portion of the insulating device backpack and a second sidewall and a third sidewall defining side portions of the insulating device backpack, and a fourth sidewall defining a back portion of the insulating device backpack, further comprising an insulating layer, the insulating layer providing insulation for the storage compartment and also comprising a back panel support structure externally coupled to the fourth sidewall of the outer shell;and shoulder straps that allow the insulating device to be carried as a backpack,the shoulder strap being coupled to the back panel support structure, further comprising an opening configured to allow access to the storage compartment and a closure adapted to substantially seal the opening, the closure being substantially waterproof so as to resist liquid from exiting the opening when the insulating device backpack is in any orientation, wherein the opening extends through the first sidewall, the second sidewall, the third sidewall, and at least a portion of the fourth sidewall.
  • Summary
  • This Summary provides an introduction to some general concepts relating to this invention in a simplified form that are further described below in the Detailed Description. This Summary is not intended to identify key features or essential features of the invention.
  • Aspects of the disclosure herein may relate to insulating devices having one or more of (1) a waterproof closure (2) an outer shell, (3) an inner liner, (4) an insulating layer floating freely in between the outer shell and the inner liner, or (5) a waterproof storage compartment.
  • The present invention is disclosed by the appended claims. This summary and the description have only the purpose of helping to understand the invention.
  • Brief Description of the Drawings
  • The foregoing Summary, as well as the following Detailed Description, will be better understood when considered in conjunction with the accompanying drawings in which like reference numerals refer to the same or similar elements in all of the various views in which that reference number appears.
    • Fig. 1A shows a left front perspective view of an example insulating device in accordance with an aspect of the disclosure;
    • Fig. 1B shows a frontside perspective view of the example insulating device of Fig. 1A without the shoulder strap;
    • Fig. 2 shows a backside perspective view of the example insulating device of Fig. 1A without the shoulder strap;
    • Fig. 3A shows a top perspective view of the example insulating device of Fig. 1A without the shoulder strap;
    • Fig. 3B shows a top view of a portion of the example insulating device of Fig. 1A;
    • Fig. 3C shows a portion of an alternate top perspective view of the example insulating device of Fig. 1A;
    • Fig. 4 shows a bottom perspective view of the example insulating device of Fig. 1A;
    • Fig. 5A illustrates a schematic of a cross-sectional view of the example insulating device of Fig. 1A;
    • Fig. 5B illustrates another schematic of an enlarged portion of a cross-sectional view of the example insulating device of Fig. 1A;
    • Fig. 6 illustrates an exemplary process flow diagram for forming an insulating device;
    • Figs. 7A-7J illustrate exemplary methods of forming an insulating device;
    • Figs. 8A and 8B depict perspective views of an alternative example insulating device.
    • Fig. 9 depicts a portion of an exemplary closure and an example test method for determining if an insulating device maintains the contents therein.
    • Fig. 10 depicts an example test for determining the strength of an insulating device.
    • Fig. 11 shows a front view of another exemplary insulating device.
    • Fig. 12 shows a side view of the exemplary insulating device of Fig. 11.
    • Fig. 13 shows a front perspective view of the exemplary insulating device in an alternate configuration.
    • Fig. 14A shows a side and cross-sectional view of the exemplary insulating device of Fig. 11.
    • Fig. 14B shows an enlarged section of Fig. 14A.
    • Fig. 15 shows a schematic exploded view of an exemplary insulation layer for the example insulating device of Fig. 11.
    • Fig. 16A shows a portion of another example insulating device.
    • Fig. 16B shows a side view of the example insulating device of Fig. 16A.
    • Fig. 17 shows a perspective view of another example insulating device.
    • Fig. 18 shows a front view of the insulating device of Fig. 17.
    • Fig. 19 shows a rear view of the insulating device of Fig. 17
    • Fig. 20 shows a side view of the insulating device of Fig. 17.
    • Fig. 21 shows a cross-sectional view of the insulating device of Fig. 17.
    • Fig. 22 shows a schematic exploded view of an exemplary insulation layer for the example insulating device of Fig. 17.
    • Fig. 22A shows a front view of an exemplary insulation layer for the example insulating device of Fig. 17.
    • Fig. 23 illustrates an exemplary testing method.
    • Fig. 24 shows a front view of an example insulating device in accordance with an aspect of the disclosure;
    • Fig. 25 shows a side view of the example insulating device of Fig. 24.
    • Fig. 26 shows a rear view of the example insulating device of Fig. 24.
    • Fig. 27 shows a top view of the example insulating device of Fig. 24.
    • Fig. 28 shows a bottom view of the example insulating device of Fig. 24.
    • Fig. 29A shows a cross-sectional view of the example insulating device of Fig. 24.
    • Fig. 29B shows a portion of a cross-sectional view of the example insulating device of Fig. 24.
    • Fig. 30 shows an isometric view of an exemplary insulation layer of the example insulating device of Fig. 24.
    • Fig. 31 shows an alternative embodiment for an inner liner of an insulating device.
    • Fig. 32 shows the insulating device of Fig. 24 in the opened position.
    • Fig. 32A shows an example manufacturing method for forming an insulating device.
    • Fig. 33 shows an example method of securing a handle to an insulating device.
    • Fig. 34 illustrates an exemplary testing method.
    • Fig. 35A shows a front view of another exemplary insulating device.
    • Fig. 35B shows a side view of the exemplary insulating device of Fig. 35A.
    • Fig. 35C shows a rear view of the exemplary insulating device of Fig. 35A.
    • Fig. 35D shows a top view of the exemplary insulating device of Fig. 35A.
    • Fig. 35E shows a bottom view of the exemplary insulating device of Fig. 35A.
    • Fig. 35F shows a cross-sectional view of the exemplary insulating device of 35A.
    • Fig. 36A shows a partial cross-sectional view of an exemplary lid.
    • Fig. 36B shows a transparent top view of the exemplary lid of Fig. 36A.
    • FIG. 37 depicts an isometric view of a front portion of an insulating device, according to one or more aspects described herein.
    • FIG. 38 depicts an isometric view of a back portion of the same insulating device of FIG. 37, according to one or more aspects described herein.
    • FIG. 39 depicts a front elevation view of the insulating device, according to one or more aspects described herein.
    • FIG. 40A depicts a side elevation view of the insulating device, according to one or more aspects described herein.
    • FIG. 40A depicts a right side elevation view of the insulating device, according to one or more aspects described herein.
    • FIG. 40B depicts another implementation of a right side elevation view of the insulating device, according to one or more aspects described herein.
    • FIG. 41 depicts a left side elevation view of a second side of the insulating device, according to one or more aspects described herein.
    • FIG. 42 depicts an elevation view of a back side of the insulating device, according to one or more aspects described herein.
    • FIG. 43 schematically depicts a cross-sectional view of the insulating device, according to one or more aspects described herein.
    • FIG. 44 depicts another isometric view of the insulating device of FIG. 37, according to one or more aspects described herein.
    • FIG. 45 depicts an isometric view of another implementation of an insulating device, according to one or more aspects described herein.
    • FIG. 46 schematically depicts an implementation of a split-ring fastener, according to one or more aspects described herein.
    Detailed Description
  • In the following description of the various examples and components of this disclosure, reference is made to the accompanying drawings, which form a part hereof, and in which are shown by way of illustration various example structures and environments in which aspects of the disclosure may be practiced. It is to be understood that other structures and environments may be utilized and that structural and functional modifications may be made from the specifically described structures and methods without departing from the scope of the present disclosure.
  • Also, while the terms "frontside," "backside," "top," "base," "bottom," "side," "forward," and "rearward" and the like may be used in this specification to describe various example features and elements, these terms are used herein as a matter of convenience, e.g., based on the example orientations shown in the figures and/or the orientations in typical use. Nothing in this specification should be construed as requiring a specific three dimensional or spatial orientation of structures in order to fall within the scope of the claims.
  • FIGS. 1-4 depict an exemplary insulating device 10 that can be configured to keep desired contents stored cool or warm for an extended period of time. The insulating device can generally include an outer shell 501, a closure 301, an insulating layer 502, and an inner liner 500. As shown in Fig. 3C, the inner liner 500 forms a chamber or receptacle 504 for receiving the desired contents therein. As shown in Fig. 1A, various handles, straps, and webs (e.g. 210, 212, 218, 224) can also be included on the insulating device 10 for carrying, holding, or securing the insulating device 10.
  • The insulating device 10 can be configured to keep desired contents stored in the receptacle 504 cool or warm for an extended period of time. In one example, the insulating device 10 can also be designed to maintain water inside the inner chamber or receptacle 504, and the insulating device 10 can be configured to be water "resistant" from the outside in. In other words, the insulating device 10 can be formed "water tight" inside the inner liner 500, and water cannot leak into the inner liner 500 from the outside or out from the inside of the inner liner 500 when the closure 301 is in the closed position.
  • Fig. 4 depicts a bottom view of the insulating device 10. As shown in Fig. 4, the insulating device 10 may include a base 215 and a base support ridge 400. The base support ridge 400 can provide structural integrity and support to the insulating device 10 when the insulating device 10 is placed onto a surface.
  • In one example, as shown in Figs. 3A and 4, the top of the outer shell 501 has a first perimeter circumference (Tcir) and the bottom of the outer shell 501 has a second perimeter circumference or a base perimeter 401 (Bcir). The circumference of the top of the outer shell 501 can be equal to the circumference on the bottom when folded into a cylinder, and Bcir can be equal to Tcir. In one example, the first circumference and the second circumference can both have an oval shape to form an elongated or elliptical cylinder. In one example, the top outer layer can have a length of 59,69cm (23.5 inches) and a width of 13.97cm (5.5 inches). Therefore, the length to width ratio of the top outer layer 501a can be approximately 4.3. Additionally, the base 215 can have a length of 50.8cm (20.0 inches) and a width of 31.115cm (12.25 inches). Therefore, the length to width ratio of the base 215 is approximately 1.6. In this example, the length to width ratio of the upper wall can be greater than the length to width ratio of the base.
  • In one example, as shown in Fig. 5A, the inner layer or inner liner 500 can be formed of a top inner liner portion or first inner liner portion 500a, an inner layer mid portion or second portion 500b, and an inner layer bottom portion 500c. The top inner liner portion 500a, the inner layer mid portion 500b, and the inner layer bottom portion 500c are secured together, by for example welding, to form the chamber 504. The chamber 504 can be a "dry bag," or vessel for storing contents. In one example, after the top inner liner portion 500a, the inner layer mid portion 500b, and the inner layer bottom portion 500c are secured or joined together, a tape, such as a TPU tape can be placed over the seams joining the sections of the chamber 504. The inner liner 500 can, thus, either maintain liquid in the chamber 504 of the insulating device 10 or prevent liquid contents from entering into the chamber 504 of the insulating device 10. In one example, as will be described in further detail below, the inner liner 500 can be suspended in the insulating device 10 by only the closure 301.
  • The insulating layer 502 can be located between the inner liner 500 and the outer shell 501, and can be formed as an insulator to assist in maintaining the internal temperature of the receptacle 504. In one example, the insulating layer 502 can be a free floating layer that is not attached directly to the outer shell 501 or the inner liner 500. The insulating layer 502 can be formed of a first portion 502a and a second portion or base portion 502b. The first portion 502a and the second portion 502b can be formed of an insulating foam material as will be described in further detail below.
  • The first portion 502a can have a rectangular shape that maintains its form when folded into a cylinder and placed in between the inner liner 500 and the outer shell 501 and when encased from above by the outer shell 501. The insulating layer 502 maintains its shape which results in the basic oval-cylindrical shape of the insulating device 10. Therefore, similar to the outer shell 501, the top of the insulating layer 502 has a first perimeter circumference, and the bottom of the insulating layer 502 has a second perimeter circumference. The first perimeter circumference of the insulating layer 502 can be equal to the second perimeter circumference of the insulating layer 502.
  • The base portion 502b can be included to provide additional insulation along the insulating device 10 at base 215. The base portion 502b can be formed as an oval shape to close off a lower opening 506 formed by the cylindrical shape of the insulating layer 502.
  • Additionally, the bottom portion of the insulating device 10 can include an additional base support layer 505, which adds to the insulation and the structural integrity of the insulating device 10. The base support layer 505 may also provide additional protection around the bottom of the insulating device 10. In one example, the base support layer 505 can be formed from EVA foam. The base support layer 505 may include a certain design such as a logo or name that can be molded or embossed directly into the material. The base support ridge 400, which provides structural integrity and support to the insulating device 10 can also be molded or embossed directly into the base support layer 505. In one example, the base support layer 505 and the base portion 502b can be detached for ease of assembly.
  • The outer shell 501 can be formed of a top outer layer portion or first shell portion 501a, an outer layer or second outer shell portion 501b, and a bottom or third shell portion 501c. The outer shell 501 provides a covering for the insulating device 10. In one example, the insulating layer 502 can be suspended freely within the outer shell 501. However, it is contemplated that any of the layers could be secured or formed as a one-piece integral structure. The outer shell 501 can be configured to support one or more optional handles or straps (e.g. 210, 212, 218). In this regard, the outer shell 501 can also include multiple reinforcement areas or patches 220 that are configured to assist in structurally supporting the optional handles or straps (e.g. 210, 212, 218). The handles or straps (e.g. 210, 212, 218) and other attachments can be stitched using threads 222, however these threads 222 do not, in one example, extend through the outer shell 501 into the insulating layer 502. Rather, the threads are sewn to the patches 220, and the patches 220 can be RF welded to the outer shell 501 or by any other method disclosed herein.
  • As shown in Fig. 5A, the first outer shell portion 501a may be attached to the second shell portion 501b by stitching 510. However, the first outer shell portion 501a can be attached to the second shell portion 501b using any known method, e.g., polymer welding, stitching, or other adhesive around the entire perimeter of the second shell portion 501b.
  • Additionally, in one example, the base support layer 505, which can be formed from EVA foam, can be secured to bottom or third shell portion 501c by lamination. The second shell portion 501b can be secured to the third shell portion 501c and the base support layer 505 by polymer welding (e.g. RF welding), stitching, or adhesives.
  • The insulating device 10 can include two carry handles 210 that are connected to the frontside 216 of the insulating device 10 and the backside 217 of the insulating device 10. In one particular example, a shoulder strap 218 can be attached via plastic or metal clip to the ring 214 attached to side handles 212 to facilitate carrying insulating device 10 over the shoulder. The insulating device 10 may also include side handles 212 on each end of the cooler. The side handles 212 provide the user with another option for grasping and carrying the insulating device.
  • Carry handles 210 may also form a slot for receiving rings 214 near the bottom of the attachment point of the carry handles to the insulating device 10. The rings 214 can be secured to the carry handles 210 and the attachment points 213 by stitching, adhesive, or polymer welding and can be used to help secure or tie down the insulating device 10 to another structure such as a vehicle, vessel, camping equipment, and the like or various objects such as keys, water bottle bottles, additional straps, bottle openers, tools, other personal items, and the like.
  • Additionally, as shown in Fig. 2, webbing formed as loops 507 can be sewn onto the straps forming the handles 210 on the back of the insulating device 10. The loops 224 can be used to attach items (e.g., carabineers, dry bags) to the insulating device 10. The side handles 212 can also provide the user with another option for securing the insulating device 10 to a structure.
  • In one example, the carry handles 210, side handles 212, shoulder strap 218 and attachment points 213 can be constructed of nylon webbing. Other materials may include polypropylene, neoprene, polyester, Dyneema, Kevlar, cotton fabric, leather, plastics, rubber, or rope. The carry handles 210 and side handles 212 can be attached to the outer shell by stitching, adhesive, or polymer welding.
  • The shoulder strap 218 can be attached to the insulating device 10 at attachment points 213. The attachment points 213 can be straps that also form a slot for receiving rings 214. The rings 214 can provide for the attachment of the shoulder strap 218.
  • In one example, the rings 214 can be Acetal D-rings. Rings 214 in can be plastic, metal, ceramic, glass, alloy, polypropylene, neoprene, polyester, Dyneema, and Kevlar, cotton fabric, leather, plastics, rubber, or rope. Rings 214 can include other shapes, sizes, and configurations other than a "D" shape. Examples include round, square, rectangular, triangular, or rings with multiple attachment points. Additionally, pockets or other storage spaces can be attached to the outside of the insulating device 10 in addition to the carry handles 210 and side handles 212.
  • In one example, the closure 301 can be substantially waterproof or a barrier to prevent liquid contents from either entering or exiting the insulating device. Additionally, the closure 301 can be impervious to liquid such that insulating device 10 liquid penetration is prevented at any orientation of the insulating device 10. Also maintaining the closure 301 in flat plane can assist in providing a water tight seal.
  • Figs. 3A-3C depicts top views of the insulating device 10, and depicts the top outer layer or the first outer shell portion 501a and the closure 301. The top outer layer 501a depicted in Fig. 3A can be secured to the closure 301. In one example, the closure 301 can be a waterproof zipper assembly and can be watertight up to 48263.3 Pa (7 psi) above atmospheric pressure during testing with compressed air. However, in other examples, the water tightness of the closure 301 can be from 34473.8 Pa to 62052.8 Pa (5 to 9 psi) above atmospheric pressure and in other examples, the water tightness of the closure 301 can be from 13789.5 Pa to 96526 Pa (2 to 14 psi) above atmospheric pressure. The waterproof zipper assembly can include a slider body 303 and pull-tab 302. Fig. 3B shows a magnified view of the closure 301 that includes bottom stop 304 and teeth or a chain 305. In one particular example, the waterproof zipper assembly can be constructed with plastic or other non-metallic teeth 305 to prevent injury when retrieving food or beverages from the inner chamber 504.
  • As shown in Fig. 3C, the closure 301 is open or unzipped and an aperture 512 formed in the outer shell 501 and the inner liner 500 is open and reveals the inner liner 500 and the inner chamber 504. It is contemplated that the closure or seal 301 can include various sealing devices in addition to the depicted waterproof zipper assembly in Figs. 3A-3C. For example, Velcro, snaps, buckles, zippers, excess material that is folded multiple times to form a seal such as a roll-down seal, seals, metal or plastic clamps and combinations thereof could be used to seal the inner liner 500 and the outer shell 501.
  • Figs. 8A and 8B depict another exemplary insulating device 1010, which has similar features and functions as the example discussed above in relation to Figs. 1A-5B in which like reference numerals refer to the same or similar elements. However, in this example, a loop patch 1015 can be provided on the front of the bag. The loop patch 1015 can be configured to receive many types of items or a corresponding group of hooks, which can be placed onto the surface anywhere on various items, such as fishing lures, keys, bottle openers, card holders, tools, other personal items, and the like. The loop patch 1015 can include a logo, company name, personalization, or other customization. The loop patch 1015 can be formed of by needle loops and can have a high cycle life of over 10,000 closures. In addition, the loop patch can be washable and UV resistant to prevent discoloration. The loop patch can be selected based on a desired sheer and peel strength depending on the types of materials that are to be secured to the insulating device 1010.
  • In the example shown in Figs. 8A and 8B, additionally, a strip 1013 of material can be provided along the bottom of the bag, which can provide additional strength and reinforcement to the outer shell 1501, and may enhance the aesthesis of the insulating device 1010.
  • Example methods of forming the insulating device 10 will now be described. A general overview of an exemplary assembly process of the insulating device 10 is depicted schematically in FIG. 6. The various steps, however, need not necessarily be performed in the order described. As shown in step 602 first the portions used to form the inner liner 500, the outer shell 501, and the insulating layer 502 can be formed or cut to size. In step 604, a top cap assembly 300 can be assembled to the closure 301. In step 606, the inner liner 500 can be formed, and in step 608, the top cap assembly 300 can be welded to the inner liner 500. In step 610, the outer shell 501 can be formed. In step 612, the insulation layer 502 can be assembled, and in step 616, the insulation layer 502 can be placed into the inner liner. Finally, in step 618, the top cap assembly 300 can be secured to the outer shell 501.
  • Referring to step 602, as shown in Fig. 7A and 7B, inner liner top portions or first inner liner portions 500a and top outer layer 501a that form the top cap assembly 300 can be formed or cut to size. Fig. 7C shows a second portion or base portion 502b of the insulating layer 502 being cut or formed to size from stock foam. In this example, the base portion 502b is cut from the stock foam 530, by cutting tool 700. In one example, the cutting tool 700 can be formed in the shape of the base portion 502b.
  • Referring now to step 604 and Fig. 7D, the top outer layer 501a and the top inner liner portion 500a can be secured to the closure 301 to form the top cap assembly 300, and the top outer layer 501a and the top inner liner portion 500a can be secured to the closure 301 in a flat, horizontal plane. Referring to Figs. 5A-5B the top outer layer 501a can be attached by polymer welding or adhesive to closure 301. In particular as shown schematically in Fig. 5B, the closure 301 can be provided with a first flange 301a and a second flange 301b, which can form waterproof zipper tape 306. The top outer layer 501a can be attached directly to the top surfaces of the first flange 301a and the second flange 301b of the closure 301. In one example, the first flange 301a and the second flange 301b, can be RF welded to the underside of the top outer layer 501a. In another example, as shown in Fig. 7E, the top inner liner portion 500a can be provided with tabs 515. Tabs 515 can assist in the assembly process to keep the outer strips of the top inner liner portion 500a in place during assembly and can be removed after the top cap assembly 300 is formed.
  • In one example, the top inner liner portion 500a can be attached to the structure of the insulating device 10 as shown schematically in Fig. 5B. In particular, the top inner liner portion 500a can be attached to the bottom of the closure 301. For example, as shown in Fig. 5B, and a first end 540a and a second end 540b of the top inner liner portion 500a can be attached to undersides of the first flange 301a and the second flange 301b. The top inner liner portion 500a and the top outer layer 501a can be attached to the closure 301 by polymer welding or adhesive. Polymer welding includes both external and internal methods. External or thermal methods can include hot gas welding, hot wedge welding, hot plate welding, infrared welding and laser welding. Internal methods may include mechanical and electromagnetical welds. Mechanical methods may include spine welding, stir welding, vibration welding, and ultrasonic welding. Electromagnetical methods may include resistance, implant, electrofusion welding, induction welding, dielectric welding, RF (Radio Frequency) welding, and microwave welding. The welding can be conducted in a flat or horizontal plane to maximize the effectiveness of the polymer welding to the construction materials. As a result, a rugged watertight seam can be created that prevents water or fluids from escaping from or into the inner chamber 504.
  • In a particular example, the polymer welding technique to connect the top inner liner portion 500a to the bottom of the closure 301 can include RF welding. The RF welding technique provides a waterproof seam that prevents water or any other fluid from penetrating the seam at pressure up to 48263.3 Pa (7 psi) above atmospheric pressure. The insulating device 10, therefore, can be inverted or submerged in water and leakage is prevented both into and out of the internal chamber 504 formed by inner liner 500. In one example, the insulating device 10 can be submerged under water to a depth of about 4.88 m (16 feet) before water leakage occurs. However, it is contemplated that this depth could range from about 3.35 m to 6.4 m ( 11 feet to 21 feet) or 1.524 m to 9.7536 m (5 feet to 32 feet) before any leakage occurs.
  • Next referring to step 606 and Fig. 7F, the inner layer mid-portion 500b can be formed by RF welding. As shown in Fig. 7F, the inner layer mid-portion 500b can be formed of a rectangular sheet of material. The inner layer mid-portion 500b can also be secured to the inner layer bottom portion 500c in a subsequent step not shown.
  • Referring to step 608 and Figs. 7G and 7H, the inner layer mid portion 500b and the inner layer bottom portion 500c can be secured to the top cap assembly 300 using an RF welding operation.
  • Referring to step 610, the second shell portion 501b and the third shell portion 501c, which supports the base support layer 505, can be RF welded to construct the outer shell 501 for the insulating device 10. In one example, as shown schematically in Fig. 5A, the top outer layer 501a can be sewed to the perimeter of the second shell portion 501b to form the outer shell 501 of the insulating device. A fabric binding can be used to cover the stitched seam edges of the second shell portion 501b and the top outer layer 501a. This assists in closing or joining the outer shell 501 around the insulating layer 502.
  • Referring to step 612 and Fig. 7I, the insulating layer 502 can be constructed. In one example the first portion 502a of the insulating layer 502 can be formed into a rectangular shape and can be secured at the smaller sides of the rectangular shape using double sided tape to form the cylindrical shape. The second portion or base portion 502b can be formed into an oval shape that can have a smaller circumference than the circumference of the cylindrical shape of the first portion 502a. The second portion 502b can be secured to the first portion 502a also using a double-sided tape to form the insulating layer 502. In one example, double sided tape can be placed either around the inner perimeter of the first portion 502a cylinder or around the outer perimeter of the base portion 502b, and the base portion 502b can be adhered to the first portion 502a. Other methods of securing the base portion 502b to the first portion 502a to form the insulating layer 502 are contemplated, such adhesives or polymer welding.
  • Referring to step 614, the assembled insulating layer 502 can be placed into the outer shell 501. In step 616, the formed inner liner 500 and top cap assembly 300 can be placed into the insulating layer 502.
  • Finally in step 618 the top cap assembly 300 can be sewed to the outer shell 501 to form seams 520 as depicted schematically in Fig. 5A. In this way, neither the inner liner 500 nor the outer shell 501 need to be bound to the insulating layer 502. Also the inner liner 500 is only connected to the closure 301 and the closure 301 holds the inner liner and the outer shell 501 together, which results in a simpler manufacturing process. After sewing the top cap assembly 300 to the outer shell 501, a fabric binding is added to cover the raw edges adjacent the seams 520. Thus, the top seams 520 can be the only primary seams on the insulating device 10 that are created by stitching.
  • In one particular example, the inner liner 500 and the outer shell 501 can be constructed from double laminated TPU nylon fabric. Nylon fabric can be used as a base material for the inner liner 500 and the outer shell 501 and can be coated with a TPU laminate on each side of the fabric. The TPU nylon fabric used in one particular example is 0.6 millimeters thick, is waterproof, and has an antimicrobial additive that meets all Food and Drug Administration requirements. However, it is contemplated that the fabrics used to construct the insulating device incorporate antimicrobial materials to create a mildew-free environment that is food contact surface safe. In one specific example, the nylon can be 840d nylon with TPU. Alternative materials used to manufacture the inner shell or chamber 504 and outer shell 501 include PVC, TPU coated nylon, coated fabrics, and other weldable and waterproof fabrics.
  • A closed cell foam can be used to form the insulating layer 502 that is situated in between the inner liner 500 and the outer shell 501. In one example, the insulating layer 502 is 1.0 inches thick. In one example, the insulating layer 502 can be formed of NBR/PVC blend or any other suitable blend. The thermal conductivity of an example insulating layer 502 can be in the range of 0.023-0.046 W/(mK) (0.16-0.32 BTU.in/(hr.sqft.F)) and the density of the insulating layer 502 can be in the range of 14.42 to 80.00 kg/m3 (0.9 to 5 lbs/ft3). In one example, the thermal conductivity of the insulating layer 502 can be in the range of 0.036 W/(mK) (0.25 BTU.in/(hr.sqft.F)), and the density of the insulating layer 502 can be 56.06 kg/m3 (3.5 lbs/ft3).
  • The foam base can be manufactured from an NBR/PVC blend or any other suitable blend. In addition to the base portion 502b of the insulating layer 502, the insulating device 10 may also include an outer base support layer 505 constructed of foam, plastic, metal or other material. In one example, the base portion 502b can be detached from the base support layer. In one example, the base portion 502b is 3.81 cm (1.5 inches) thick. Additionally as shown in Fig. 5A, the EVA foam base support layer 505 can be 0.508 cm (0.2 inches) thick. Although the base support layer 505 is laminated to the base outer layer or third shell portion 501c, in an alternative example, the base support layer 505 can be attached to the bottom of the base portion 502b by co-molding, polymer welding, adhesive, or any known methods.
  • A heat gain test was conducted on the exemplary insulating device 10. The purpose of a heat gain test is to determine how long the insulating device can keep temperature below 10°C (50°F) at an ambient of 41 °C ± 4 (106 °F ± 4) with the amount of ice based on its internal capacity.
  • The procedure is as follows:
    1. 1. Turn on the oven and set to 41 °C ± 4 (106 °F ± 4). Allow the oven to stabilize for at least one hour.
    2. 2. Turn on the chart recorder. The recorder shall have three J-thermocouples connected to it to chart the following temperatures: (1) Test unit, (2) Oven, and (3) Room ambient.
    3. 3. Stabilize the test unit by filling it to half its capacity with ice water, and allowing it to sit for 5 minutes at room temperature (22 °C ± 2 (72 °F ± 2))
    4. 4. After 5 minutes, pour out the contents, and immediately connect the J-thermocouple end to the inside bottom center of the unit. The thermocouple wire end must be flush to the inside bottom surface and secured with an adhesive masking tape.
    5. 5. Pour the correct amount of ice ensuring the thermocouple wire is not moved. Amount of ice is based on 64.074 kg/m3 (4 lbs/ft3) of the internal capacity of the unit.
    6. 6. Close the lid and position the test unit inside the oven.
    7. 7. Close the oven making sure the thermocouple wires are functioning.
    8. 8. Mark the start of the chart recorder.
  • Apparatus: 1. Oven. 2. Ice. 3. Chart Recorder. 4. J-Thermocouples (3). Results: 1. Cold Retention Time: Elapsed time from < 0 °C to 10 °C (<32 ° to 50 °F) in decimal hours. 2. Heat Gain Rate (°C/Hr): (10°C - 0 °C) ÷ Elaspsed Time = -7.78°C ÷ Elapsed Time (Gain Rate (°F/Hr): (50°F - 32°F) ÷ Elapsed Time = 18°F ÷ Elapsed Time)
  • In one test of the example insulating device, the heat gain rate equaled 0.78 °C/hr (1.4 degF/hr) assuming 25.07 liters (26.5 quarts) capacity and used 1.6066 kg (3.542 lbs) of ice for the test.
  • The ability of the insulating device 10 to withstand interior leaks can also be tested to see how well the insulating device maintains the contents stored in the storage compartment or receptacle 504. In one example test, the insulating device 10 can be filled with a liquid, such as water, and then can be inverted for a predetermined time period to test for any moisture leaks. In this example, the insulating device 10 is filled with a liquid until approximately half of a volume of the receptacle 504 is filled, e.g. 3 gallons of water, and the closure 301 is then closed fully to ensure that the slider body 303 is completely sealed into the horseshoe-shaped portion 308. The entire insulating device 10 is then inverted and held inverted for a time period of 30 minutes. The insulating device 10 is then reviewed for any leaks.
  • The insulating device 10 can be configured to withstand being held inverted for 30 minutes without any water escaping or leaving the receptacle 504. In alternative examples, the insulating device can be configured to withstand being held inverted for 15 minutes to 120 minutes without any water escaping or leaving the receptacle 504. To perform this test, it may be helpful to lubricate the closure to ensure that the closure is adequately sealed. For example, as shown in Fig. 9, a horseshoe-shaped portion 308 of the closure 301 is provided with lubricant 309.
  • The strength and durability of the fabric forming the outer shell 501, inner liner 500 and the insulating layer 502 of the insulating device 10 may also be tested. In one example, the test can be devised as a puncture test. In particular, this test can be designed as an ASTM D751-06 Sec. 22-25 screwdriver puncture test. In one example, the insulating device 10 can withstand 15.88 to 45.36 kg (35 lbs to 100 lbs) of puncture force.
  • The handle strength and durability of the insulating device 10 can also be tested. One such example test is depicted in Fig. 10. As depicted in Fig. 10, the closure 310 can be fully closed, one of the carry handles 210 can hooked to an overhead crane 600, and the opposite carry handle 210 is hooked to a platform 650, which can hold weight. In one example, the platform 650 can be configured to hold 90.72 kg (200 lbs). of weight. During the test, the crane 600 is slowly raised, which suspends the insulating device 10 in a position where the bottom plane of the insulating device 10 is perpendicular with the floor. In one example, the insulating device 10 can be configured to hold 90.72 kg (200 lbs). of weight for a minimum of 3 minutes without showing any signs of failure. In alternative examples, the insulating device can be configured to hold 45.36 kg to 136.08 kg (100 lbs. to 300 lbs.) of weight for 1 to 10 minutes without showing signs of failure.
  • Figs. 11-15 show another example insulating device 2010. The example insulating device 2010 can be of a similar construction to the above examples, where like reference numerals represent like features having similar functionality. However, the example insulating device 2010 can also include a fold-down flap or portion 2307 to assist in insulating the closure 2311 of the insulating device 2010. Specifically, the closure 2311, which can be a zipper in accordance with the other examples discussed herein, can be included on a fold-down flap or portion 2307 and can be front facing in that it is located on a front surface or wall of the insulating device 2010. The front facing closure 2311, can allow for additional user access to the insulating device 2010, and the fold-down flap or portion 2307 can help to provide additional insulation at the closure 2311. In this example, when the fold-down flap 2307 is in the extended position and the closure 2311 is open or unsealed, the contents in the insulating device 2010 maintain the closure 2311 in the open position for better access of the contents of the insulating device 2010. This may assist the user to be able to more easily access the contents of the insulating device 2010. Also as shown in Fig. 11, when the fold-down flap 2307 is in the extended position, the insulating device 2010 can approximate a trapezoidal shape for providing an elongated closure at the top of the insulating device 2010.
  • As shown in the side and cross-sectional views, i.e., Figs. 12 and 14A, the insulating device 2010 can approximate a pentagon, when the fold-down flap 2307 of the insulating device 2010 is in an extended position. This general shape may provide for an insulating device 2010 that may be easily shipped in that several insulating devices can be fit into a shipping container. Nevertheless, other shapes and configurations are contemplated e.g., square, rectangular, triangular, conical, curved, and frusto-shapes which may provide an extended closure at the top of the insulating device 2010 and that can be easily packaged.
  • Like in the above examples, the insulating device 2010 may include an outer shell 2501, an inner liner 2500 forming a storage compartment, a receptacle, or inner chamber 2504 and an insulating layer 2502 positioned in between the outer shell 2501 and the inner liner 2500. The insulating layer 2502 provides insulation for the storage compartment 2504. The closure 2311 can be configured to substantially seal an opening 2512, which is located on an angled front facing surface and extends through the outer shell 2501 and the inner liner 2500 to provide access to the storage compartment 2504. Also, the closure 2311 can include similar features and functionality in accordance with the examples discussed above. In one example, the closure 2311 can be a zipper and can be substantially waterproof so as to resist liquid from exiting the opening when the insulating device 2010 is in any orientation. Also, similar to the above examples, the insulating device 2010 can be provided with one or more of carry handles 2210, shoulder straps 2218, webbing loops 2224 formed with threads 2222 by stitching for example, rings 2214, and attachment points 2213 which can have similar features and functionality as in the examples above.
  • As shown in Figs. 11 and 12 and as noted above, the fold-down flap 2307 may include the front facing closure 2311 and can be folded over and secured to a sidewall of the insulating device 2010 to further insulate the front facing closure 2311. The fold-down flap 2307 of the fastening mechanism 2301 can include first and second end hooks or clips 2313a, 2313b. In one example, each of the end clips 2313a, 2313b can include a slot 2317a, 2317b for being received in corresponding loops 2315a, 2315b located on the sides or the sidewalls of the insulating device 2010. To close the insulating device 2010, the fold-down flap 2307 along with the front facing closure 2311 are folded over onto a front face or wall of the insulating device 2010. The fold-down flap 2307 folds over with and conceals or covers the front facing closure 2311. The fold-down flap 2307 is held into place by the first and second end clips 2313a, 2313b and maintains the fastening mechanism 2301 in the closed position. Additionally, when the fold-down portion 2307 is secured to the sidewalls of the insulating device 2010, the fold-down portion 2307 extends at least partly in a substantially horizontal direction, which orients a carrying handle 2318 in position for a user to grasp for holding and carrying the insulating device 2010. As in the other handles and straps, the carry handle 2318 can be secured to the outer shell with a reinforcement patch (not shown). The carry handle 2318 can be provided on the rear surface of the insulating device 2010 to oppose the closure 2311 on the front facing surface, which can be used by the user to grasp during opening and closing the insulating device 2010 to make it easier for the user to open and close the closure 2311. The carry handle 2318 may also be used for hanging the insulating device 2010, or for carrying the insulating device 2010; however, other uses are also contemplated.
  • Fig. 14A shows a cross-sectional side view of the insulating device 2010. The insulating device 2010 includes an inner liner 2500, an insulating layer 2502, and an outer shell 2501. As shown in Fig. 14A, like in the above examples, the insulating layer 2502 can be located between the inner liner 2500 and the outer shell 2501, and can be formed as a foam insulator to assist in maintaining the internal temperature of the receptacle 2504 for storing contents desired to be kept cool or warm. Also the insulating layer 2502 can be located in between the inner liner 2500 and the outer shell 2501, and can be unattached to either the inner liner 2500 or the outer shell 2501 such that it floats between the inner liner 2500 and the outer shell 2501. In one example, the inner liner 2500 and the outer shell 2501 can be connected at the top portion of the insulating device 2010 such that the insulating layer 2502 can float freely within a pocket formed by the inner liner 2500 and the outer shell 2501.
  • In this example, the inner layer or inner liner 2500 can be formed of a first inner liner sidewall portion 2500a and a bottom inner liner portion 2500b. The first inner liner sidewall portion 2500a and the bottom inner liner portion 2500b can be secured together, by for example welding, to form the chamber 2504. Like in the above example, the chamber 2504 can be a "dry bag," or vessel for storing contents. In one example, a tape, such as a TPU tape, can be placed over the seams joining the sections of the chamber 2504, after the first inner liner sidewall portion 2500a and the bottom inner liner portion 2500b are secured or joined together. The tape seals the seams formed between the first inner liner sidewall portion 2500a and the bottom inner liner portion 2500b to provide an additional barrier to liquid to prevent liquid from either entering or exiting the chamber 2504. The inner liner 2500 can, thus, either maintain liquid in the chamber 2504 of the insulating device 2010 or prevent liquid contents from entering into the chamber 2504 of the insulating device 2010. It is also contemplated, however, that the inner liner 2504 can be formed as an integral one-piece structure that may be secured within the outer shell.
  • As shown in both Figs. 14A and 15, the insulating layer 2502 can be formed of a first portion or an upper portion 2502a, a second portion or base portion 2502b, and a base support layer 2505. In addition, the first portion 2502a can include a top flap or smaller rectangular shape 2502a1. When the fold-down flap 2307 is folded onto the top portion of the insulating device 2010, the top flap 2502a1 of the insulating layer together with the remainder of the first portion 2502a and the base portion 2502b surrounds substantially all of the inner chamber 2504 with insulation to provide a maximum amount of insulation to the inner chamber 2504 of the insulating device 2010.
  • When the upper portion 2502a is rolled flat, the upper portion 2502a of the insulating layer 2502 generally resembles a "T" shape such that the insulating layer defines a first height H1 and a second height H2 where the first height H1 is greater than the second height H2. In this example, a majority of the insulating layer can extend to the second height H2, which is less than the first height Ht. Also, the first portion 2502a can be formed of two inter-connected rectangular shapes, where the bottom of the first portion 2502a forms a first larger rectangular shape 2502a2 and an upper section of the first portion 2502a forms the top flap 2502a1 of the smaller rectangular shape. It is also contemplated that the first larger rectangular shape 2502a2 can be formed as a separate piece from the smaller rectangular shape 2502a1. The first rectangular shape 2502a2 can have a first rectangular width and the second rectangular shape 2502a1 can have a second rectangle perimeter and first rectangular shape 2502a2 width approximates the second rectangular shape 2502a1 perimeter. In one example, the smaller rectangular shape 2502a1 forms a top flap of the insulation layer of the upper portion 2502a, which extends into the fold-down portion 2307.
  • The first portion 2502a and the second portion 2502b can be formed of an insulating foam material as discussed herein. In one example, the second portion 2502b can be formed of a thicker foam material than the first portion 2502a. For example, the thickness of the second portion 2502b can be formed between 20 mm and 50 mm thick, and, in one particular example, can be formed of a 38 mm thick foam, and the first portion 2502a can be formed between 15 mm and 30 mm, and, in one particular example, can be formed of a 25 mm thick foam. In one example, the foam can be a NBR/PVC blended foam, a PVC free NBR foam, or other eco-friendly type foam.
  • Also as shown in Fig. 15, a base support layer 2505 adds to the insulation and the structural integrity of the insulating device 2010 at base 2215. The base support layer 2505 may also provide additional protection around the bottom of the insulating device 2010. In one example, the base support layer 2505 can be formed from EVA foam. The base support layer 2505 may include a certain design such as a logo or name that can be molded or embossed directly into the material. A base support ridge 2400, which provides structural integrity and support to the insulating device 2010 can also be molded or embossed directly into the base support layer 2505. In one example, the base support layer 2505 and the base portion 2502b can be detached or unsecured for ease of assembly in reducing the number of assembly steps. The base portion 2502b can be formed as an oval shape to close off a lower opening 2506 formed by the open shape of the upper portion 2502a.
  • The bottom of the first portion 2502a maintains its form when folded into an oval-cylindrical shape and placed in between the inner liner 2500 and the outer shell 2501. The insulating layer 2502 maintains its shape which results in the basic oval-cylindrical shape of the insulating device 2010.
  • The outer shell 2501 can be formed of an upper sidewall portion 2501a, a lower sidewall portion 2501b, and a base portion 2501c. Each of the upper sidewall portion 2501a, the lower sidewall portion 2501b, and the base portion 2501c can be secured by stitching. Other securing methods are also contemplated, such as, using welds or adhesives.
  • Additionally, the fold-down portion 2307 can be at least partly free of foam to make it easier to close the fastening mechanism 2301. In particular, the fold-down portion 2307 can include a first section 2307a and a second section 2307b. The first section 2307a can be free of the insulation layer 2502 and the second section can include the insulation layer 2502.
  • Referring to Fig. 14B, like in the above examples, the closure 2311 can be mounted on a backing or fabric. In the case of a zipper this can be referred to as zipper tape 2306. Also, like in the above examples, the zipper tape 2306 can be attached between the inner liner 2500 and the outer shell 2501 and, in particular, the zipper tape 2306 can be secured to the upper sidewall portion 2501a of the outer shell and the first inner liner sidewall portion 2500a. As shown in Fig. 14B, the zipper tape 2306, the upper sidewall portion 2501a of the outer shell, and the first inner liner sidewall portion 2500a can form a stacked arrangement of a sandwich structure where the zipper tape 2306 is located between the upper sidewall portion 2501a of the outer shell and the first inner liner sidewall portion 2500a.
  • The insulating device 2010 can be formed using similar techniques in relation to the examples as discussed above. For example, the upper sidewall portion 2501a of the outer shell 2501 can be formed. Also the base 2215 can be formed separately with the base portion 2502b of the insulation layer 2502, the base support layer 2505, the lower sidewall portion 2501b, and a base portion 2501c of the outer shell 2501 according to the techniques discussed herein. The base 2215 can be secured to the bottom of the upper sidewall portion 2501a of the outer shell 2501 using the techniques discussed herein. The upper portion 2502a of the insulation layer 2502 can be placed within the upper sidewall portion 2501a of the outer shell 2501. The first inner liner sidewall portion 2500a and the bottom inner liner portion 2500b can then be secured to form the inner liner 2500 and chamber 2504. Tape, such as a TPU tape, can be placed over the seams joining the sections of the inner liner 2500 and chamber 2504. The inner liner 2500 can then be placed within the insulation layer 2502. The closure 2311 can then be attached between the inner liner sidewall portion 2500a and the upper sidewall portion 2501a. At this point in the process the insulating device 2010 assembly will have a cylindrical shape with an open top. To close the open top, the upper ends of the inner liner sidewall portion 2500a and the upper sidewall portion 2501a can then be secured together by welding or by using any of the techniques discussed herein to form the insulating device 2010. A binding 2o can be applied to the top portion of the insulating device 2010 to cover and conceal the seam between the outer shell 2501 and the inner liner 2500. The loop patch (not shown), carry handles 2210, shoulder strap 2218, webbing loops 2224, and rings 2214 can be added to the outer shell 2501 by the various techniques discussed herein, after the formation of the outer shell or once the insulating device 2010 is formed. It is contemplated that the inner liner and the outer liner can be formed by welding, gluing, or stitching and combinations thereof.
  • In another example, a magnetic connection can be implemented for securing the fold-down portion 2307 to the body of the insulating device 2010. As shown in Figs. 16A and 16B, the insulating device 2010 can be provided with a magnetic clip 3313, which can be received by a corresponding magnet (not shown) on the sidewall of the insulating device 2010. However, it is also contemplated that the clip and clip receiving portion on the insulating device 2010 could be one or more of permanent magnets, metal strips, or ferromagnetic materials. In addition, other methods of securing the fold-down flap 2307 over the front facing closure 2311 are also contemplated. For example, one or more of hook and loop, buckle, snap, zipper, detent, spring loaded detent, button, cams, or threads could be used to secure the fold-down flap 2307 to the sidewall of the insulating device 2010.
  • Figs. 17-22 show another exemplary insulating device 4010. The example insulating device 4010 can be of a similar construction to the above examples and, in particular, the example discussed above in relation to Figs. 11-16B, where like reference numerals represent like features having the same or similar functionality. In this example, the insulating device 4010 does not include a fold-down flap and can include a different overall shape than the example insulating device 2010. Additionally, the insulating layer 4502 can have a different configuration along with other variations that will be discussed below. Like in the above example, the closure 4311 can be placed on a front face or wall of the insulating device 4010.
  • As shown in Figs. 18 and 19, when viewed from the front and rear, the insulating device 4010 can generally form a trapezoidal shape, where the insulating device diverges or tapers upward toward the top of the insulating device 4010. The trapezoidal shape may provide certain insulation, user accessibility, and packaging benefits. For example, the trapezoidal shape can provide an extended period of ice coverage because of the additional foam that can be placed between the outer shell 4501 and the inner liner 4500 due to the trapezoidal shape.
  • Additionally, the overall shape of the insulating device 4010 can help to maintain the insulating device 4010 in the opened position when the closure 4311 is in the opened position and permits the user to be able to easily access the contents of the insulating device 4010. The trapezoidal shape as discussed herein also allows the closure 4311 to be formed longer relative to the insulating device 4010. Other shapes that allow for an extended opening at the upper portion of the insulating device 4010 are also contemplated. For example, the upper portion of the insulating device 4010 could be formed with an extended curvature either upward or downward to allow for a larger closure extending across the upper portion of the insulating device 4010. Also as shown in Fig. 20, when viewed from the side, the insulating device 4010 can be formed generally conical, tapered or funnel-shaped such that the sides converge to the top of the insulating device 4010. Also the sides can be formed substantially parabolic in shape in certain examples. Therefore, the insulating device 4010 converges to an apex along the top of the insulating device 4010 as opposed to an oval shape with the same perimeter as the bottom of the insulating device 4010.
  • In certain examples, a trapezoidal shape may also provide for an insulating device 4010 that may be easily shipped in that several insulating devices 4010 can be fit into a shipping container. For example, multiple insulating devices 4010 could be arranged in a shipping container in different orientations so as to utilize more space within a shipping container.
  • In alternative embodiments, when the closure 4311 is in the opened or unsealed position, the contents in the insulating device 4010 may maintain the closure 4311 in the open position for easier access to the contents of the insulating device 4010. In this example, the weight of the contents can force a lower half of the closure 4311 away from an upper half of the closure 4311 such that the user can better see the contents of the insulating device 4010 and more easily remove the contents or add contents to the insulating device 4010.
  • In this example, the outer shell construction, insulating layer, and the inner liner construction can be similar to that of the embodiment discussed above in relation to Figs. 11-16B, the details of which are not repeated here. The outer shell 4010 may also include a top portion 4316, which is configured to receive the closure 4311 therein. The top portion 4316 can be formed of the same material as the remaining outer shell 4501, which in one specific example, can be nylon and specifically an 840d nylon with TPU.
  • Similar to the example discussed in relation to Figs. 11-16B, the insulating device 4010 can be provided with one or more of carry handles 4210, a shoulder strap 4218, webbing loops 4224, which are formed by threads 4222, rings 4214, and attachment points 4213 which can have similar features and functionality as in the examples above. Additionally, a rear carry handle 4318 can be provided on the rear surface of the insulating device 4010 to oppose the closure 4311, which can be used by the user to grasp during opening and closing the insulating device 4010 to make it easier for the user to open and close the closure 4311. The rear carry handle 4318 may also be used for hanging the insulating device 4010 for drying the inner chamber 4504, or for carrying the insulating device 4010. Each of the carry handles 4210, shoulder strap 4218, webbing loops 4224, and attachment points 4213 can be reinforced by one or more of additional structures in the form of webbing or suitable polymeric materials. This reinforcement material may be applied to any of the examples discussed herein.
  • Also as shown in Figs. 17 and 21 a binding 4518 can be included that extends over the top of the insulating device 4010 to secure the outer shell 4501 to the inner liner 4500. The binding 4518 can be folded over the top of the insulating device 4010 and then stitched over the over outer shell 4501 and the inner liner 4500 to form a cover to the joint or seam between the inner liner 4500 and the outer shell 4501. As shown in Fig. 18, the binding 4518 can be folded into thirds to form a first folded portion 4518a where the first third is attached to a first side of the insulating device 4010, the second third is extends over the top of the insulating device 4010, and the last third is attached to a second side of the insulating device 4010. The binding 4518 covers the seam between the outer shell 4501 and the inner liner 4500 along the top of the insulating device 4010. Also, as shown in Fig. 17, the binding 4518 extends from the top of the insulating device 4010 and forms a second folded portion 4518b where the binding 4518 is folded in half and a third unfolded portion 4518c, which forms and extends to attachment points 4213 that receive rings 4214. Each side of the insulating device 4010 can include a second folded portion 4518b and a third unfolded portion 4518c such that the insulating device 4010 can include two second folded portions 4518b and two third unfolded portions 4518c. The binding 4518 can unfold closer to the attachment points 4213 and may also be formed unfolded from the attachment points 4213 to the top of the insulated device 4010. In either of these configurations, a section of the binding 4518, e.g., the second folded portion 4518b, can be unattached to the insulating device 4010 and forms a strap between the folded portion 4518a and the attachment points 4213. In this example, two straps can be formed by the two second unfolded portions 4518b and can be grasped by the user for handling the insulating device, can be used for hanging the insulating device 4010 for drying, and the like. Also, the attachment points 4213 formed by the binding 4518 can be a loop or slot for receiving the rings 4214.
  • Figs. 22 and 22A show the insulating layer 4502 in additional detail, which is similar to the example insulating device 4010 discussed above where like reference numerals represent like components with the same or similar functionality. The insulating layer 4502 can be formed of the materials as discussed herein and, in certain examples, can be PVC free and/or can have non-thermoset properties such that the foam is fully resilient. Like the above examples, the upper portion 4502a of the insulating layer 4502 can be formed of a single sheet of material which is rolled into the shape defined by the opening between the inner liner 4500 and the outer shell 4501. As shown in Fig. 22, the insulating layer 4502, like in the above examples, can be formed of a first portion or an upper portion 4502a and a second portion or base portion 4502b. The rear top flap 4502a1 can be formed in smaller rectangular shape. The rear top flap 4502a1 extends higher than the front side of the first portion 4502a of the insulating layer 4502a to accommodate for the front facing closure 4311. Specifically, the rear top flap 4502a1 can extend to a first height H3, and the first portion 4502a can extend to a second height H4, and the first height H3 can be greater than the second height H4. Additionally, as shown in Fig. 22, a majority of the insulating layer 4502 can extend to the second height H4. Alternatively, as shown in Fig. 22A, the rear half of the insulating layer 4502 can extend to the first height H3 and the front half of the insulating layer 4502 can extend to the second height H4. Additionally, as shown in Fig. 22A, the insulating layer 4502 can taper from the first height H3 to the second height H4. Also, this provides the areas of the insulating layer 4502 near the top with tapered or chamfered portions along the sides of the insulating device 4010 to provide a smaller profile on each side of the insulating device 4010.
  • In one example, the first portion 4502a can define a first area A1, and the rear top flap 4502a1 can define a second area A2, which is smaller than the first area A1. When installed between the inner liner 4500 and the outer shell 4501, the insulating layer 4502 generally follows the conical and trapezoidal shape of the profile of the insulating device 4010. Additionally, the upward tapered profile of the outer shell 4501 and the inner liner 4500 can help to position the insulating layer 4502 such that the insulating layer covers a majority of the inner liner 4500.
  • In particular, as shown in Fig. 21, the insulating layer 4502 occupies a majority of the space formed between the inner liner 4500 and the outer shell 4501. The insulating layer 4502 extends substantially to the top of the insulating device 4010 in both the front and the rear portions of the insulating device 4010 to insulate a majority of the compartment 4504. As a result, the insulating layer 4502 surrounds substantially the entire inner chamber 4502 to provide a maximum amount of insulation to the inner chamber 4504 of the insulating device 2010. In one example, the insulating layer 4502 covers 80% or more of the inner liner 4500 covering the inner chamber 4504, and in particular examples the insulating layer 4502 covers 85%, 90%, or 95% or more of the inner liner 4500 covering the inner chamber 4504.
  • In the examples discussed in relation to Figs. 11-22, the front facing closures 2311, 4311 can be formed such that they extend a majority of the way along the front facing surface of the insulating devices 2010, 4010. As discussed above, the front-facing closures 2311, 4311 can be formed as zipper closures in accordance with the examples discussed herein. In one example, the closures 2311, 4311 can be substantially waterproof or highly water resistant and can be water tight and air tight. The front facing closures 2311, 4311 can be formed as long as possible in the front facing surface of the insulating devices 2010, 4010 to provide for extended user accessibility and visibility of the contents stored in the insulating devices 2010, 4010. In one example, the closures 2311, 4311 can define a first length L1, and the top portion of the insulating device 4010 can define a second length L2.
  • In one example, L2 can be 3 cm to 10 cm longer than L1, the length of the front facing closures 2311, 4311 and in one specific example can be 5 cm longer than the front-facing closures 2311, 4311. The closures 2311, 4311 first length L1 can extend at least 80% of the second length L2 and up to 98% of the second length L2. In one particular example, the length of the closures 2311, 4311, L1 can extend across 87% of the second length L2.
  • Additionally, the length L1 of the front-facing closures 2311, 4311 can be formed longer than the length L3 of the bases of the insulating devices 2010, 4010. In certain examples, the front facing closures 2311, 4311 can be formed approximately 1% to 25% longer than the length L3 of the bases of the insulating devices 4010. In one specific example the length L1 of the front facing closures 2311, 4311 can be 10% longer than the length L3 of the bases. For example, the front-facing closures length L1 can be formed 3 cm to 12 cm longer than the length L3 of the bases of the insulating devices, and, in one particular example, the length L1 of the front facing closures 2311, 4311 can be 5 cm longer than the length L3 of the base.
  • In still other embodiments, the insulating device can include a closure that extends around the entire perimeter or a majority of the perimeter of the insulating device and a front facing closure 2311, 4311 as discussed above. In this particular example, the contents of the insulating device can be easily accessed by the user once the entire or a majority of the top portion is removed or through the closure 2311, 4311.
  • In another example, the insulating device can be formed modular such that the top and/or the bottom can be removed and multiple structures can be interconnected to form larger or smaller insulating devices. For example, the insulating device can be formed of different sections by way of removable fasteners, such as snaps, zippers, threads, seals, hook and loop, and the like.
  • In relation to the examples discussed herein, a series of vents can be provided along the outer shells of the insulating devices. The vents allow for any gases that are trapped between the inner liner and the outer shell to escape. Without the vents, the gases trapped between the inner liner and the outer shell can cause the insulating device to expand, which in certain instances, may not be desired. In certain examples, the one or more joints or seams that connect the various portions of the outer shell provide vents for gases. Vents can be provided in areas of the outer shell where the outer shell fabric is pierced. For example, tiny openings can be provided at any of the stitching locations where the various components are located on the insulating devices. Specifically, the vents can be provided in the areas where the handles, molle loops, straps, reinforcement patches, bindings, D-rings, loop patches, etc. are attached to the outer shell of the insulating device. For example, stitching that may be used to secure these components to the outer shell provides openings into the outer shell, which creates venting between the insulation layer and the outer shell. In one specific example, the insulating device may vent through binding 4518.
  • The example insulating device 4010 was tested to determine ice retention. As such, the ice retention testing may be utilized to determine insulative properties of example insulating device 4010. In an exemplary test, the duration of the increase from -18°C to 10°C (0°F to 50°F) when the insulating device 4010 was filled with ice was determined according to the test parameters below. In certain examples, the temperature of the insulating device increases from -12°C to 10°C (10°F to 32°F) in a duration of 24 hours to 48 hours, the temperature of the insulating device increases from 0°C to 10°C (32°F to 50°F) in a duration of 36 hours to 68 hours, and the temperature of the insulating device increases from -18°C to 10°C (0°F to 50°F) in a duration of 70 hours to 90 hours.
  • The ice retention was tested using the following test. More than 24 hours before the test, the following steps are performed:
    • Ensure test coolers are clean inside and out.
    • Mark test coolers with unique identifier and record identifier and description in test log or notes.
    • Using duct tape, place a thermocouple (T) in the approximate center of the test cooler (C).
    • The thermocouple tip should be approximately 2,54cm (1 inch) above the cooler floor. (See Fig. 23 for an example of proper thermocouple set-up.)
    • Condition test coolers by keeping test coolers inside (ambient temperature 18-24°C (65-75° F)) with lids open for a minimum of 24 hours.
    • Calculate the amount of ice required for testing (to nearest 0.045 kg (0.1 lbs) using the equation below
      • o Ice per cooler = 0.24 kg × 0.95 liter capacity of cooler (0.52 lbs. × Quart capacity of cooler)
      • o Ice required = Ice per cooler × number of coolers
    • Condition the ice by placing the ice in a freezer (-26 to -21 °C (-15 to -5 °F)) for a minimum of 24 hours prior to use.
  • The day of the test, the following steps are performed:
    • Gather Test Equipment
    • Allow thermal chamber to reach a temperature of 37.78 °C (100°F)
    • Scale - place scale near freezer with test ice
    • Data Logger - ensure Data Logger has charged battery
  • The test procedure is as follows:
    • Bring test coolers to freezer with test ice.
    • Place test cooler on scale and tare the scale.
    • Break test ice with hammer.
    • Using the scale as reference, quickly fill the test cooler with the required amount of ice.
    • Ensure that the ice is evenly distributed throughout the test cooler.
    • Ensure that the connector end of the thermocouple is outside of the test cooler and close and secure the cooler lid.
    • Repeat steps for the remaining test coolers.
    • Arrange the coolers in the test area such that they all have even amounts of direct sunlight and airflow (one cooler does not block the other).
    • Connect all thermocouples to the data logger.
    • Check all thermocouple readings to ensure that all connections are complete and the channels are recording properly. (Note: The starting temperature inside each test cooler should be < -12.2 °C (10°F).
    • Power up the data logger and configure to record with temperatures recorded at less than 10 minute intervals.
    • Begin recording and note time in test log.
    • Allow the test to continue until the inside temperature of each test cooler is ≥ 10°C (50°F).
    • Stop recording.
    • Disconnect thermocouples from data logger.
    • Receive data from data logger.
    • Remove test coolers from test area.
    • Empty test coolers and allow them to dry.
    • Remove thermocouples from test coolers
  • The heat gain rate of the insulating devices 2010, 4010 can be approximately 0.28 to 0.83 degC/hr (0.5 to 1.5 degF/hr), and, in one particular example, the heat gain rate can be approximately 0.56 degC/hr (1.0 degF/hr)
  • Like in the above examples, the ability of the insulating devices 2010 and 4010 are also configured to withstand interior leaks and were also tested to see how well the insulating devices 2010, 4010 maintain the contents stored in the storage compartment or receptacles 2504, 4504. In one example test, the insulating devices 2010, 4010 can be filled with a liquid, such as water, and then can be inverted for a predetermined time period to test for any moisture leaks. In this example, the insulating devices 2010, 4010 are filled with a liquid until approximately half of a volume of the receptacle 4504 is filled, e.g. 3 gallons of water, and the closures 2301, 4301 are then closed fully. The entire insulating devices 2010, 4010 are then inverted and held inverted for a time period of 30 minutes. The insulating devices 2010, 4010 are then reviewed for any leaks.
  • The insulating devices 2010, 4010 can be configured to withstand being held inverted for 30 minutes without any water escaping or leaving the receptacles 2504, 4504. In alternative examples, the insulating devices 2010, 4010 can be configured to withstand being held inverted for 15 minutes to 120 minutes without any water escaping or leaving the receptacles 2504, 4504.
  • Figs. 24-32 show another example insulating device 3010. The example insulating device 3010 can be of a similar construction to the above examples, where like reference numerals represent like features having similar functionality. In this example, as can be seen in Figs. 24-26 and 32, the closure 3311 and opening 3512 is formed through a first sidewall 3507A, a second sidewall 3705B, and a third sidewall 3507C and partially through a fourth sidewall 3507D of the insulating device 3010. Moreover, the opening 3512 is configured to provide access to the inner chamber 3504 as is shown in Figs. 29A and 32. Like in the above examples, the closure 3311 can be substantially waterproof so as to resist liquid from exiting the opening 3512 when the insulating device 3010 is in any orientation.
  • As shown in the cross-sectional view of Fig. 29A, the example insulating device 3010 generally includes a body assembly 3350 and a lid assembly 3300, which together form the three main components of the insulating device 3010: the inner liner 3500, the insulating layer 3502, and the outer shell 3501. The inner liner 3500 can, in one example, be formed of double laminated TPU nylon fabric, the insulating layer 3502 can, in one example, be formed of can be formed of NBR/PVC foam blend or any other suitable blend or foam, and the outer shell 3501 can, in one example, be formed of TPU nylon fabric. It is also contemplated that the inner liner and the outer shell 3501 can be formed of one or more of PVC, TPU coated nylon, coated fabrics, and other weldable and/or waterproof fabrics.
  • As shown in Figs. 24-26, the closure 3311 extends between the body assembly 3350 and the lid assembly 3300 to substantially seal the body assembly 3350 and the lid assembly 3300 from water. Additionally, as shown in Fig. 29A, the lid assembly 3300 can be connected to the body assembly 3350 by the outer shell 3501, which forms a living hinge 3503. In one example, the living hinge 3503 can be formed as a portion of the outer shell 3501 and/or the inner liner 3500 and specifically from the flexible nature of the material of the outer shell 3501 and/or the inner liner 3500 to provide a larger opening in the insulating device 3010. The living hinge 3503 can also be reinforced by an inner piece of fabric 3503A, which can be formed of the inner liner material or other waterproof materials. In this way, the chamber 3504 and contents of the insulating device 3010 can be accessed by opening the closure 3311 and folding back or opening the lid assembly 3300.
  • In this example, the insulating device 3010 can be in the shape of a cuboid or prism. For example, the outer shell 3501, the insulating layer 3502, and the inner liner 3500 define the first sidewall, 3507A, the second sidewall 3507B, the third sidewall 3507C, and the fourth sidewall 3507D of the cuboid. Also the lid assembly 3300 forms a top wall 3300a and the base 3215 forms a bottom wall 3215a to enclose the cuboid. However, the contents of the insulating device 3010 are accessed through the opening 3512 formed at the top of the insulating device and again can extend through each of the first sidewall, 3507A, the second sidewall 3507B, the third sidewall 3507C and can extend partly through the fourth sidewall 3507D. Other shapes are also contemplated for the insulating device 3010, for example, cylindrical, spherical, conical, pyramidal, frusto-conical, frusto-spherical, frusto-pyramidal, etc. The height of the insulating device 3010 can, in one example, be in the range of 15 cm to 50 cm and in one particular example can be 29 cm. The length of the insulating device 3010 can be in the range of 15 cm to 50 cm and in one particular example can be 32 cm. Also the width of the insulating device can, in one example, be in the range of 15 cm to 50 cm and in one specific example be 25.5 cm. The storage capacity of the insulating device 3010 can be 10 to 15 quarts and in one particular example can be 12.7 quarts. However, it is contemplated that the insulating device 3010 may comprise any height, length, width and volume dimensions, without departing from the scope of these disclosures.
  • Like in the above examples, the insulating device 3010 can include one or more handles 3210, 3212, rings 3214, and webbing loops 3224 for attaching various items, e.g. straps (shoulder), carabineers, dry bags, keys, storage cases, etc. The rings 3214 can be D-rings, and a shoulder strap (not shown) can be connected to the D-rings for easy carrying of the insulating device. Also the rings 3214 can be attached to the insulating device 3010 at attachment points 3213, which can form loops or straps 3315a that also form a slot for receiving the rings 3214. The insulating device may also include side, front and/or rear carry handles, pockets, tie downs, and D-rings anywhere on the external surface of the outer shell. The pockets can be sized for receiving keys, phones, wallets, etc. and can be formed waterproof. The pockets may also include a waterproof zipper to prevent the contents therein from getting wet.
  • Likewise, similar to the above examples, the outer shell 3501 can also include multiple reinforcement areas or patches 0
  • that are configured to assist in structurally supporting the optional handles, straps, and webbing loops (e.g. 3210, 3212, 3213, 3214, and 3224). The handles or straps (e.g. 3210, 3212, 3213, 3214, and 3224) and other attachments can be stitched to the patches using threads 3222. In certain examples, these threads 3222 do not extend through the outer shell 3501 into the insulating layer 3502. The optional handles or straps can be sewn to the patches 3320, and the patches 3320 can be RF welded to the outer shell 3501. Also, in other examples, the patches 3320 can be sewn or adhered to the outer shell 3501. Apertures from the stitching operation can provide venting to the interior defined by the outer shell 3501 and the inner liner 3500 of the insulating device 3010. In addition, other techniques are contemplated for securing the handles or straps to the insulating device 3010.
  • The internal components of the insulating device 3010, the body assembly 3350, and the lid assembly 3300 can be seen in the cross-sectional view of Fig. 29A. In addition, Fig. 29B shows a magnified cross-sectional view of the lid assembly 3300.
  • The lid assembly 3300 includes an upper inner liner portion 3500A, an upper insulating layer portion 3502A and an upper outer shell portion 3501A. The upper insulating layer portion 3502A can be formed of a single layer of foam, which corresponds to the overall shape of the lid assembly 3300. The foam can, in one example, be an insulating foam, as discussed herein, which can be the same foam as is used in the body assembly 3350, and can be unattached to and floating between the upper inner liner portion 3500A and the upper outer shell portion 3501A. As shown in Fig. 29B, the upper inner liner portion 3500A can be formed of a sheet of material 3500A1 and a strip of material 3500A2 that is attached to the binder 3518. In other embodiments the sheet of material 3500A1 can connect directly to the binder 3518 thus eliminating the need for the strip of material 3500A2. The strip of material 3500A2 can overlap and be welded to the sheet of material 3500A1. Seam tape 3509 can be placed over the connection between the sheet of material 3500A1 and the strip of material 3500A2. It is also contemplated that the upper inner liner portion 3500A can be formed as a unitary structure by injection molding, for example.
  • The upper inner liner portion 3500A can be connected to the upper outer shell portion 3501A by joining the upper inner liner strip of material 3500A2 to an upper outer shell strip of material 3501A3 at a RF weld joint 3522. However, it is contemplated that other types of securing methods could be used such as other forms of welding, stitching, adhesives, rivets, etc. Additionally, as will be discussed in further detail, a binding material 3518, in the form of a strip or band can be sewn over the ends of the upper inner liner strip of material 3500A2 and the upper outer shell strip of material 3501A3. It is also contemplated that the binding material 3518 can be coupled over the ends of the upper inner liner strip of material 3500A2 and the upper outer shell strip of material 3501A3 by a plurality of rivets, or by using one or more adhesives.
  • As shown in Figs. 29A and 29B, the upper outer shell portion 3501A of the lid assembly 3300 may include two separate layers 3501A1, 3501A2 and an upper outer shell strip of material 3501A3 extending perpendicular to the two separate layers 3501A1, 3501A2. The upper outer shell strip of material 3501A3 can be integral and attached to a first outer shell section 3501B1 as discussed in further detail below. For example, the upper outer shell strip of material 3501A3 and the first outer shell section 3501B1 can be formed or cut from the same material. However, it is also contemplated that outer shell strip of material 3501A3 and the first outer shell section 3501B1 are formed of separate structures or different materials. In one example, the top layer 3501A1 can be formed of a TPU coated nylon laminate, and the bottom layer 3501A2 can be formed of a compression molded EVA material. The upper outer shell portion 3501A may also be formed of a unitary piece of material in an injection molding process, for example.
  • As shown in Figs. 29A and 29B, the binding material 3518 can both secure the lid assembly 3300 together and secure the lid assembly 3300 to the body assembly 3350. The binding material 3518, in certain examples, can be formed of a strip, band or ribbon and can be made of nylon. It is contemplated that the binding material 3518 can be formed from additional or alternative polymers, without departing from the scope of these disclosures. Specifically, the first outer shell section 3501B1 can be secured together with the upper inner liner 3500A, the separate layers 3501A1, 3501A2, and the upper outer shell strip of material 3501A3 of the upper outer shell portion 3501A by stitching the binding material 3518 around the perimeter of the lid assembly 3300. The stitching, therefore, extends through the binding material 3518, the lower outer shell portion 3501B, the upper inner liner portion 3500A, the top layer 3501A1, the bottom layer 3501A2 and the strip of material 3500A2 to form a seam 3517.
  • The weld joint 3522 can also both secure the lid assembly 3300 together and secure the lid assembly 3300 to the body assembly 3350. As alluded to above, the weld joint 3522, which can be an RF weld joint, also secures the lid assembly 3300 together by connecting the upper inner liner portion 3500A and the upper outer shell portion 3501A by joining the upper inner liner strip of material 3500A2 to an upper outer shell strip of material 3501A3. It is also contemplated, however, that the joint 3522 could be formed by stitching or by an adhesive. Again once the lid assembly 307a and the body assembly 3350 are secured together, the living hinge 3503 is formed between the lid assembly 3300 and the body assembly 3350.
  • The lid assembly 3300 and the body assembly 3350 are also connected by the closure, which as discussed below, in one example, can be a zipper. Specifically, zipper tape 3306 can be attached between the upper outer shell strip of material 3501A3 and the first outer shell section 3501B1 of the lower outer shell portion 3501B by stitching, welding, adhesives, etc. In this way, an upper portion 3306a and a lower portion 3306b of the zipper tape 3306 secures the lid assembly 3300 and the body assembly 3350 together.
  • Referring again to Fig. 29A, the body assembly 3350 includes lower inner liner portion 3500B, lower insulating layer portion 3502B, and lower outer shell portion 3501B. The lower inner liner portion 3500B can be formed of a top strip 3500B1, a middle portion 3500B2, and a bottom portion 3500B3. The top strip 3500B1, the middle portion 3500B2, and the bottom portion 3500B3 can be welded or stitched together at seams 3508. The seams 3508 can be covered with a seam tape 3509, which can be formed of a waterproof or water resistant material, such as PU (polyurethane). However, the seam tape 3509 can be formed of a breathable material that is impervious to water but allows gases to escape from the in the inner chamber 3504.
  • In an alternative example, the lower inner liner portion 3500B can be formed of a single integral piece by, for example, injection molding. Fig. 31 shows an example inner liner portion 7500B that is formed by an injection molding process. In this example, the lower inner liner portion 7500B can be formed of one or more of urethane, PVC, TPU, or other weld-able material. The lower inner liner portion 7500B can be welded into place onto the outer shell, after the lower insulating layer is placed within the outer shell.
  • Referring again to Figs. 29A and 30, the lower insulating layer portion 3502B can include a first sheet of insulating material 3502B1 and a second sheet of insulating material 3502B2. Similar to the above examples, the first sheet of insulating material 3502B1 and the second sheet of insulating material 3502B2 can be free floating layers of insulating material that are not attached to either the lower inner liner portion 3500B or the lower outer shell portion 3501B. However, it is also contemplated that the first sheet of insulating material 3502B1 and the second sheet of insulating material 3502B2 can be attached to either the lower inner liner portion 3500B or the lower outer shell portion 3501B. Moreover, it is also contemplated that the lower insulating layer portion 3502B be formed of a single unitary piece.
  • The lower outer shell portion 3501B can be formed of several sections. In this example, the lower outer shell portion 3501B can include a first outer shell section 3501B1, a lower outer wall section 3501B2, a first base layer 3501B3, and a second base layer 3501B4. Similar to the lid assembly, the first base layer 3501B3 can be formed of a TPU coated nylon laminate, and the second base layer 3501B4 can be formed of a compression molded EVA material. Each of the lower outer wall section 3501B2, the first base layer 3501B3, and the second base layer 3501B4 can be joined together by stitching, welding or adhesives. Also like in the above examples, a base support ridge 3400 can be formed into the first base layer 3501B3 and the second base layer 3501B4 to provide for structural integrity and support to the insulating device 3010 when the insulating device 3010 is placed onto a surface. In alternative examples, the lower outer shell portion 3501B can be formed as a singular component and may, in certain examples, be formed by an injection molding process.
  • Like in the above examples, the closure 3311 can be a zipper and can be substantially waterproof. Moreover, the zipper may comprise a pull tab or handle 3302, which in this example can formed of a hard plastic. It is also contemplated that the pull tab 3302 can be formed of a metal or alloy, a flexible polymer, cloth, string, or rope, among others. Forming the pull tab 3302 of a cloth, string, or rope may prevent the wear of the connection between the pull tab 3302 and the zipper. Specifically, when the zipper is closed about the circumference of the outer shell 3501, the pull tab 3302 can be rotated or twisted by the user. The cloth, string, or rope can withstand the twisting action by the user. Other pull tabs are also contemplated. For example, the pull tab could be provided with a bearing connection that allows the pull tap to be rotated 360° in all directions.
  • A series of vents can be provided along the outer shell 3501 of the insulating device 3010. The vents allow for any gases that are trapped between the inner liner 3500 and the outer shell 3501 to escape. Without the vents, the gases trapped between the inner liner 3500 and the outer shell 3501 will cause the insulating device 3010 to expand, which in certain instances, may not be desired. In certain examples, the joint or seams that connect the inner liner and the outer shell provides a vent to gases.
  • The venting can be provided in the lid assembly 3300. Specifically in the lid assembly 3300, the seam 3517 may provide a series of small openings in the lid assembly 3300 where the stitching on the binder material 3518 occurs. These openings act as vents for gases to escape the inner volume of the lid assembly 3300.
  • Moreover, venting can be provided in the body assembly 3350. In the body assembly, the vents can be provided in areas of the lower outer shell portion 3501B where the lower outer shell portion 3501B fabric is pierced. For example, as shown in Fig. 26, tiny openings can be provided at the box and cross-shaped stitching 3521 where the rear carry handle 3210 is attached to the insulating device 3010. The vents can also be provided in the areas or locations where the handles 3212, 3210, molle loops 3224, and D-rings 3214 are attached to the outer shell 3501 of the insulating device 3010. For example, the stitching that secures the handles, webbing or molle loops 3224, and D-rings 3214 to the outer shell provides openings into the outer shell 3501 to create venting to the storage compartment or inner chamber 3504 of the insulating device 3010. Fig. 33 shows an example schematic where stitching 3519 extends through the outer shell 3501, a handle 3212 a reinforcement areas or patches 3320.
  • To form the insulating device 3010, the body assembly 3350 can be formed and then the lid assembly 3300 can be formed by joining the lid assembly 3300 to the body assembly 3350. To form the body assembly 3350 of the insulating device 3010, the lower outer shell portion 3501B and the lower inner liner portion 3500B can be formed independently. Once the lower outer shell portion 3501B is formed, the insulating layer 3502 can then be placed within the lower outer shell portion 3501B. The lower inner liner portion 3500B can be attached to the lower outer shell portion 3501B to secure the insulating layer 3502 within the lower outer shell portion 3501B and the lower inner liner portion 3500B. However, the insulating layer 3502 can freely float between the lower outer shell portion 3501B and the lower inner liner portion 3500B. The lid assembly 3300 can be secured together and the lid assembly 3300 can be secured to the body assembly 3350 by welding the upper inner liner portion 3500A to the upper outer shell portion 3501A and the lower outer shell portion 3501B at the weld joint 3522. Finally, the lid assembly 3300 can be further attached to the lower outer shell portion 3501B by way of stitching the top portion of the lower outer shell portion 3501B together with the top layer 3501A1, the bottom layer 3501A2, the upper inner liner portion 3500A, the strip of material 3501A3, and the binding material 3518.
  • Specifically, the lower outer shell portion 3501B can be formed by attaching each of the first outer shell section 3501B1, the lower outer wall section 3501B2, the first base layer 3501B3, and the second base layer 3501B4 together. Next, each of the first sheet of insulating material 3502B1 and the second sheet of insulating material 3502B2 can be placed within the lower outer shell portion 3501B. The lower inner liner portion 3500B can then be formed by welding each of the top strip 3500B1, the middle portion 3500B2, and the bottom portion 3500B3 together and then by adding the seam tape 3509 over each of the welds. Alternatively, as discussed above, the lower inner liner portion 3500B can be formed by injection molding the material. Once the lower inner liner portion 3500B is formed, the inner liner portion 3500B can be placed within the lower insulating layer portion 3502B, and the inner liner portion 3500B can be welded to the lower outer shell portion 3501B at seam 3511 all along the inner perimeter of the body assembly 3350 of the insulating device 3010. The seam 3511 can be formed in this example by either welding or stitching.
  • Fig. 9 shows an exemplary welding technique that can be used to weld the lower inner liner portion 3500B to the lower outer shell portion 3501B. Once the lower inner liner portion 3500B is placed within the lower insulating layer portion 3502B, the lower inner liner portion 3500B can then be joined to the lower outer shell portion 3501B on its side using a three-piece tool, which can include a top U-shaped portion 3514A, a plate portion 3516, and a bottom U-shaped portion 3514B. The curvature of the top U-shaped portion 3514A, the plate portion 3516, and the bottom U-shaped portion 3514B, can correspond to the shape of the perimeter of the body assembly 3350 of the insulating device 3010.
  • To form the seam 3511 as a weld, the lower inner liner portion 3500B is placed into contact with the lower outer shell portion 3501B and the plate portion 3516 is placed within the lower inner liner portion 3500B and the top U-shaped portion 3514A, and the bottom U-shaped portion 3514B can be placed into contact with lower outer shell portion 3501B. The top U-shaped portion 3514A and the bottom U-shaped portion 3514B can be connected to two lead wires such that current can pass through the top U-shaped portion 3514A, the lower outer shell portion 3501B and the lower inner liner portion 3500B. Current can then be applied first to the top U-shaped portion 3514A to form a weld along the top U-shaped portion 3514A including the curves and the straight portions. After the top section is welded, the polarity of the lead wires can then be reversed to then weld the bottom section along the bottom U-shaped portion 3514B.
  • After the bottom section is welded by the bottom U-shaped portion the remaining two sides can then be welded by using the plate portion 3516 and a pair of straight side bars or another clamping mechanism or vice. Similar to the curved portions of the body assembly 3350, current can be applied to the pair of straight side bars by lead wires. Again, the sides can be welded separately by applying the current in a first direction to weld a first side and by then switching polarity of the leads and running the current in the opposite direction to weld a second side. In one example, each of the sections can be welded for approximately 10 seconds. Once the weld is complete around the entire perimeter of the body assembly 3350, the body assembly 3350 can be assembled to the lid assembly 3300.
  • In one example, the closure 3311 can be substantially waterproof so as to resist liquid from exiting the opening when the insulating device is dropped from a distance of six feet. In this test, the insulating device can be filled completely with water and then dropped from six feet onto a concrete surface on each of the faces of the insulating device 3010, which in this case is six.
  • The example insulating device 3010 was tested to determine ice retention. As such, the ice retention testing may be utilized to determine insulative properties of example insulating device 3010. In an exemplary test, the duration of the increase from 0°F to 50°F when the insulating device 3010 was filled with ice was determined according to the test parameters below. In certain examples, the temperature of the insulating device increases from -17.78 °C to -12.2 °C (0°F to 10 °F) in a duration of 0.5 hours to 1.5 hours, the temperature of the insulating device increases from -12.2 °C to 10 °C (10°F to 50 °F) in a duration of 22 hours to 28 hours, and the temperature of the insulating device increases from -17.78 °C to 10 °C (0 °F to 50 °F) in a duration of 24 hours to 30 hours.
  • The ice retention was tested using the following test. More than 24 hours before the test, the following steps are performed:
  • Ensure test coolers are clean inside and out.
  • Mark test coolers with unique identifier and record identifier and description in test log or notes.
  • Using duct tape, place a thermocouple (T) in the approximate center of the test cooler (C).
  • The thermocouple tip should be approximately 2,54 cm (1 inch) above the cooler floor. (See Fig. 11 for an example of proper thermocouple set-up.)
  • Condition test coolers by keeping test coolers inside (ambient temperature 18-24 °C (65-75 °F)) with lids open for a minimum of 24 hours.
  • Calculate the amount of ice required for testing (to nearest 0.045 kg (0.1 lbs.)) using the equation below.
  • Ice per cooler = 0.24 kg x 0.95 liter capacity of cooler (0.52 lbs. x Quart capacity of cooler)
  • Ice required = Ice per cooler x number of coolers
  • Condition the ice by placing the ice in a freezer (-26 to -21 °C (-15 to -5 °F)) for a minimum of 24 hours prior to use.
  • The day of the test, the following steps are performed:
  • Gather Test Equipment
    • Allow thermal chamber to reach a temperature of 37.78 °C (100°F)
    • Scale - place scale near freezer with test ice
    • Data Logger - ensure Data Logger has charged battery
  • The test procedure is as follows:
    • Bring test coolers to freezer with test ice.
    • Place test cooler on scale and tare the scale.
    • Break test ice with hammer.
  • Using the scale as reference, quickly fill the test cooler with the required amount of ice.
  • Ensure that the ice is evenly distributed throughout the test cooler.
  • Ensure that the connector end of the thermocouple is outside of the test cooler and close and secure the cooler lid.
  • Repeat steps for the remaining test coolers.
  • Arrange the coolers in the test area such that they all have even amounts of direct sunlight and airflow (one cooler does not block the other).
  • Connect all thermocouples to the data logger.
  • Check all thermocouple readings to ensure that all connections are complete and the channels are recording properly. (Note: The starting temperature inside each test cooler should be < -12 °C (10°F).
  • Power up the data logger and configure to record with temperatures recorded at less than 10 minute intervals.
  • Begin recording and note time in test log.
  • Allow the test to continue until the inside temperature of each test cooler is ≥ 10°C (50°F).
  • Stop recording.
  • Disconnect thermocouples from data logger.
  • Receive data from data logger.
  • Remove test coolers from test area.
  • Empty test coolers and allow them to dry.
  • Remove thermocouples from test coolers
  • Two samples were tested according to the above procedure. The results of which are reflected below.
    Time from 0°F to 10°F Time from 0°F to 50°F Time from 10°F to 50°F
    Time (mins.) Days Hrs Min Days Hrs Min
    Test #1 53 1 3 53 1 3 0
    Test #2 49 1 3 37 1 2 48
  • Figs. 35A-36B show various views of another exemplary insulating device 5010. The example insulating device 5010 is similar to the example discussed above in relation to Figs. 24-30. Like reference numerals refer to the same or similar elements of similar functionality in all of the various views; and, therefore, these elements are not described in detail. However, in this example the exemplary insulating device 5010 can be formed of a smaller size, can include a top handle 5216, and may include an optional reinforcement sheet or panel. Nevertheless, it is contemplated that the insulating device examples discussed herein could include a similar top handle and reinforcement sheet or panel.
  • Figs. 36A and 36B show a partial view of an example lid assembly 5300. Fig. 35A shows a partial cross-section view of the example lid assembly 5300. The example lid assembly 5300 is similar to the examples above, however, can additionally include a reinforcement sheet or panel 5217 in the lid assembly 5300. Fig. 36B shows a partial top view of the example lid assembly to illustrate the reinforcement sheet 5217. The reinforcement sheet or panel 5217 is configured to assist in preventing bowing of the handle 5216 and the lid assembly 5300. The reinforcement sheet or panel 5217 can be a relatively rigid sheet of material in comparison to the outer liner 5501, insulating layer 5502, and the inner layer 5500. In one particular example, the reinforcement sheet or panel 5217 can be formed of a suitable polymer or plastic, such as polyethylene. However, any stiffener material that is flexible could be used and other examples, may include a thermoformed PE, a TPU injection molded custom component.
  • In certain examples, the reinforcement sheet or panel 5217 can be flat, corrugated or may have a honey comb configuration. The panel 5217, however, can include other patterns so as to assist in preventing bowing of the handle 5216. In certain examples, the reinforcement sheet or panel can be 1 to 3 mm thick. The reinforcement sheet may include a cover, which can in certain examples, can be configured to prevent water from penetrating the cover. In other examples, additional fabric may be included to reinforce the handle.
  • A reinforcement area or patch 5320 can be included on the lid assembly 5300 for supporting the handle 5216. In certain examples, the patch 5320 can be welded to the lid assembly 5300. However, the patch 5320 may also be omitted entirely. The handle 5216 may be sewn to the lid assembly 5300 and the reinforcement panel 5217 by way of thread 5219. The handle 5216 may also extend through the lid assembly and be directed connected to the reinforcement panel 5217. In addition, instead of using a thread, the handle 5216 can be connected to the reinforcement sheet or panel 5217 by one or more welds, bolts or other threaded-like connection, bayonet, ball and socket, and the like. Other connection methods may include providing either layers 5501A1 or 5501A2 with one or more slots and the reinforcement sheet or panel 5217 with one or more corresponding projections that can be located within the one or more slots, which allow for a more advanced connection of the sheet or panel 5217 to the lid assembly 5300 of the insulating device 5010. Also a wireframe or steel wire can be placed within the handle 5216 and extend through the handle 5216. The wireframe or steel wire can be threaded through the sheet or panel 5217 to secure the handle to the lid assembly 5300. It is also contemplated that all or portions of the lid assembly and/or handle can be injection molded to provide a more rigid structure to prevent bowing of the handle.
  • The connection between the handle 5216 and the reinforcement panel 5217 also helps prevent separation issues between the separate layers 5501A1, 5501A2, which can be a TPU coated nylon laminate, and a compression molded EVA material respectively. In this example, the connection between the handle and the reinforcement panel may allow water into the lid. However, at the same time, the connection can allow for any liquid therein to escape by evaporating through the opening formed by the connection. However, it is also contemplated that the connection between the handle and the reinforcement panel may also be waterproof or water resistant to limit the amount of moisture into the lid assembly.
  • Also the handle 5216 can be formed of a 1000D Nylon or other suitable polymer and may include 50mm webbing. Additionally, the handle 5216 may include padding on the gripping portion of the handle. In one example, the padding may be a suitable foam, such as a 5 mm polyethylene sponge foam. It is contemplated that the seal between the lid assembly 5300 and the body assembly 5350 can be configured to withstand shock loading by the handle when the insulating device 5010 is sealed and filled with contents. Nevertheless, a side bridge linking the lid assembly 5300 to the body assembly 5350 is also contemplated for transporting heavy items in the insulating device 5010.
  • FIG. 37 depicts an isometric view of a front portion of an insulating device 6010, according to one or more aspects described herein. Additionally, FIG. 38 depicts an isometric view of a back portion of the same insulating device 6010. As depicted in FIG. 38, the insulating device 6010 includes a back support panel 6602 and shoulder straps 6604A and 6604B that allow the insulating device 6010 to be carried as a backpack. The insulating device 6010 can be of a similar construction to the examples previously described in these disclosures, where like reference numerals represent like features having similar functionality. In one example, features denoted by the same last three digits, and optionally the same letter, or alphanumeric suffix, may be considered to include similar features and construction materials and/or methodologies. It is contemplated that the structures of insulating device 6010 may be coupled to one another by any methods and/or fastener elements, such as those previously described throughout these disclosures, and including, among others, adhesives, stitching, laser welding, and/or rivets.
  • FIG. 39 depicts a front elevation view of the insulating device 6010, according to one or more aspects described herein. It is contemplated that the insulating device 6010 may have any dimensions for height, width and depth, without departing from the scope of these disclosures. Further, it is contemplated that the various components, or sub-components of the insulating device 6010 may have any dimensions, without departing from the scope of these disclosures. FIG. 39 schematically depicts a width 6802 and a height 6804 of the insulating device 6010. FIG. 40 schematically depicts a depth 6806 of the insulating device 6010. In one specific example, the width 6802 may measure approximately 28 cm. In another example, the width 6802 may range between approximately 24 and 32 cm. Further, the height 6804 may measure approximately 48 cm. In another example, the height 6804 may range between approximately 44 and 52 cm. Additionally, the depth 6806 may measure approximately 22 cm. In another example, the depth 6806 may range between approximately 16 and 28 cm. However, it is contemplated that the insulating device 6010 may have any dimensions. In one example, the insulating device 6010 may have a substantially cuboidal geometry. Additionally or alternatively, the geometry of the insulating device 6010 may be a cuboid with one or more rounded, or filleted edges. However, it is contemplated that the insulating device 6010 may have different geometries, such as a substantially cylindrical geometry, without departing from the scope of these disclosures.
  • As depicted in FIG. 39, the insulating device 6010 includes multiple fabric loops 6224, similar to loops 224 as previously described. In particular, two columns of six loops 6224 each are depicted in FIG. 39 as being coupled to the first sidewall 6507A. However, it is contemplated that any number of loops 6224 may be used, and in a single column or three of more columns, without departing from the scope of these disclosures.
  • FIG. 40A depicts a side elevation view of a first, or right side of the insulating device 6010, according to one or more aspects described herein. In one example, the insulating device 6010 includes an attachment panel 6606. The attachment panel 6606 may include a surface configured to be removably coupled to hook and loop fasteners of external elements (external elements not depicted, but may include one or more storage brackets, straps, pockets, or pouches among others that include hook and loop attachment elements). It is contemplated that the attachment panel 6606 may include one or both of hook and loop elements of a hook and loop fastener structure. Additionally or alternatively, the attachment panel 6606 may include and/or encapsulate one or more metallic and/or magnetic elements that are configured to be removably coupled to one or more external magnetic elements (not depicted).
  • FIG. 40B depicts an alternative implementation of the right side of the insulating device 6010. As such, the insulating device 6010 may include a series of attachment loops 6224 in place of the attachment panel 6606. Additionally, the insulating device 6010 includes a waist strap 6810, which is described in further detail in relation to FIG. 44. It is contemplated that the waist strap 6810 may be used in combination with any implementation of an insulating device described throughout these disclosures, including the implementation of FIG. 40A.
  • FIG. 41 depicts a side elevation view of a second side, or left side, of the insulating device 6010, according to one or more aspects described herein. As depicted in FIG. 41, the insulating device 6010 includes multiple fabric loops 6224, similar to loops 224 as previously described. While four loops 6224 are depicted in FIG. 41, it is contemplated that any number of loops 6224 may be used, without departing from the scope of these disclosures. Additionally, it is contemplated that the second side of the insulating device 6010 depicted in FIG. 41 may include an attachment panel similar to attachment panel 6606. Additionally or alternatively, it is contemplated that the first side of the insulating device 6010 depicted in FIG. 40 may include attachment loops similar to those loops 6224 depicted in FIG. 41.
  • FIG. 42 depicts an elevation view of a back side of the insulating device 6010, according to one or more aspects described herein. The back support panel 6602 is coupled to the depicted reinforcement patch 6320 and to the fourth sidewall 6507D of the insulating device 6010. The shoulder straps 6604A and 6604B may include padded upper strap portions 6702A and 6702B, which may constructed using similar materials and processes to straps 218. In one example, the padded upper strap portions 6702A and 6702B may include multiple layers of material, including a foam core surrounded by an abrasion resistant outer polymeric shell. As such, the foam core may include one or more of ethylene-vinyl acetate, low-density polyethylene, nitrile rubber, polychloroprene foam, polyimide foam, polypropylene foam, polyurethane foam, polyvinyl chloride foam, silicone foam, and microcellular foam, or combinations thereof. Additionally, the padded upper strap portions 6702A and 6702B may include outer webbing that is sewn onto the padded upper strap portions 6702A and 6702B to form multiple loops 6716. A portion of the loops 6716 are labelled on each of the padded upper strap portions 6702A and 6702B in FIG. 42.
  • It is contemplated that the padded upper strap portions 6702A and 6702B may include any number of loops 6716, which may have any physical dimensions. These loops may be similar to loops 224, and may be constructed of nylon webbing. Additionally, or alternatively, the loops 6716 may be constructed from other materials, such as polypropylene, neoprene, polyester, Dyneema, Kevlar, cotton fabric, leather, plastics, rubber, or rope. In one implementation, the loops 6716 are configured to be used to attach items (e.g., carabineers, dry bags, among others) to the insulating device 6010. Additionally or alternatively, the loops 6716 are configured to limit the extent to which the padded upper strap portions 6702A and 6702B can be expanded. As such, the padded upper strap portions 6702A and 6702B may be constructed from materials configured to deform and expand to provide shock absorption when the insulating device 6010 is worn on a user's back. When the insulating device 6010 is not loaded or worn by a user, the padded upper strap portions 6702A and 6702B may be in a contracted position and the loops 6716 may have an amount of slack that loops outward from the padded upper strap portions 6702A and 6702B. When worn by a user, the weight of the insulating device 6010 may intermittently or continuously cause the padded upper strap portions 6702A and 6702B to expand, and the loops 6716 may be repositioned as taut and proximate the outer surfaces of the padded upper strap portions 6702A and 6702B. As such, the loops 6716 may be configured to limit the extent to which the padded upper strap portions 6702A and 6702B may expand, and thereby prevent overexpansion and damage to the padded upper strap portions 6702A and 6702B, while also providing shock absorption functionality.
  • In one example, the padded upper strap portions 6702A and 6702B may be coupled to a top portion of the back support panel 6602 at proximal ends 6704A and 6704B. It is contemplated that the padded upper strap portions 6702A and 6702B may be coupled to the back support panel 6602 at the proximal ends 6704A and 6704B by sewing, gluing, or one or more fastener elements, among others. The shoulder straps 6604A and 6604B may additionally include lower adjustment straps 6706A and 6706B. The lower adjustment straps 6706A and 6706B may be coupled to a bottom portion back of the support panel 6602 at proximal ends 6708A and 6708B. The lower adjustment straps 6706A and 6706B may be constructed from a material similar to loops 6716 and webbing 212. As such, in one example, the lower adjustment straps 6706A and 6706B may be formed of a nylon webbing.
  • Distal ends 6710A and 6710B of the padded upper strap portions 6702A and 6702B may be adjustably coupled to distal ends 6712A and 6712B of the lower adjustment straps 6706A and 6706B by adjustment buckles 6714A and 6714B. In one example, the adjustment buckles 6714A and 6714B may be constructed from one or more of a polymer, a metal, an alloy, a ceramic, or a fiber reinforced material, among others. Additionally, the distal ends 6712A and 6712B of the lower adjustment straps 6706A and 6706B may include sewn loops that provide a finger loop to allow the lower adjustment straps 6706A and 6706B to be gripped and pulled through the adjustment buckles 6714A and 6714B, and to increase the thickness of the lower adjustment straps 6706A and 6706B such that the likelihood that the adjustment straps 6706A and 6706B will inadvertently slip through and disengage from the adjustment buckles 6714A and 6714B is reduced.
  • The insulating device 6010 additionally includes lower attachment loops 6718A and 6718B. The lower attachment loops 6718A and 6718B are sewn into the sides of the back support panel 6602, and may be constructed from a material similar to the lower adjustment straps 6706A and 6706B. It is contemplated that the lower attachment loops 6718A and 6718B may be constructed from a nylon webbing material. However, additional or alternative materials may be used, without departing from the scope of these disclosures. In one example, the lower attachment loops 6718A and 6718B may be used as anchor points for attachment of a waist strap (not depicted) to the insulating device 6010.
  • In one implementation, the insulating device 6010 may include a loop handle 6720, otherwise referred to as haul handle 6720. The loop handle 6720 may be sewn into the insulating device 6010 at a top portion of the back support panel 6602, and may be constructed from a nylon webbing, similar to the lower attachment loops 6718A and 6718B. It is contemplated, however, that the loop handle 6720 may be constructed from additional or alternative polymeric, metallic, alloy or ceramic materials, without departing from the scope of these disclosures. In one example, the loop handle 6720 may additionally include a padding material encapsulated within the nylon webbing. This padding material may include a foam, or one or more layers of nylon webbing. In another implementation, the loop handle 6720 may be sewn into the back portion or fourth sidewall 6507D of the insulating device 6010 above the back support panel 6602.
  • FIG. 43 schematically depicts a cross-sectional view of the insulating device 6010, according to one or more aspects described herein. In one example, the insulating device 6010 may include elements similar to insulating device 5010, as schematically depicted in FIG. 35F. In addition, insulating device 6010 includes the back support panel 6602. In one example, the back support panel 6602 includes an outer layer 6608 and an inner layer 6610 bound to one another by one more fasteners, including be sewing, and/or by binding 6518, similar to binding 518, as previously described. In one example, the back support panel 6602 may be coupled to the outer shell section 6501. Further, the outer shell section 6501 may have two or more layers 6501B1 at the back portion or fourth sidewall 6507D, at which the back support panel 6602 is coupled to the insulating device 6010. In one implementation, the inner layer 6610 of the back support panel 6602 may include a compression molded ethylene-vinyl acetate (EVA). In another example, the inner layer 6610 may additionally or alternatively include another polymer foam material, such as, among others, low-density polyethylene, nitrile rubber, polychloroprene foam, polyimide foam, polypropylene foam, polyurethane foam, polyvinyl chloride foam, silicone foam, and microcellular foam, or combinations thereof. In one implementation, the outer layer 6608 may include a nylon material and a poly synthetic leather. However, it is contemplated that the outer layer 6608 may include additional or alternative materials. In one implementation, the materials and thicknesses of the back support panel 6602 may be configured to provide resistance to deformation/ added rigidity when the back support panel 6602 is positioned proximate a user's back when the insulating device 6010 is worn as a backpack, or to provide added rigidity to hold the insulating device 6010 in an upright position (not depicted) when not being worn as a backpack. It is contemplated that any material thicknesses and material types in addition to our or as alternatives to those previously described may be used in the construction of the back support panel 6602, including polymers, metals, alloys, fiber-reinforced materials, or combinations thereof.
  • The insulating device 6010 includes an inner chamber 6504, similar to inner chambers 504, 2504, 3504, and 4504, and configured to store one or more items and reduce a rate of heat transfer therefrom or thereto. It is contemplated that the volume of this inner chamber 6504 may have any value, without departing from the scope of these disclosures.
  • It is contemplated that the insulating layers 6502A, 6502B, 6502B2 may include any of the insulating materials previously described throughout these disclosures. Additionally or alternatively, the insulating layers depicted in FIG. 43 may include one or more vacuum insulated panels. These vacuum insulated panels are further described in PCT/US2016/063658, filed 23 November 2016 .
  • In another example, the insulating device 6010 may include additional reinforcement structures. In one example, these additional reinforcement structures may include one or more of an internal, an external or a partially internal frame constructed from one or more plates, tubes and/or beams, and from one or more of a metal, alloy, ceramic, or fiber-reinforced material, or combinations thereof. In another implementation, the inner chamber 6504 of the insulating device 6010 may include one or more storage compartments, pockets, dividers or other structures, without departing from the scope of these disclosures.
  • FIG. 44 depicts another isometric view of the insulating device 6010. As depicted, a waist strap 6810 is removably attached to the lower attachment loops 6718A and 6718B. In one example, the waist strap 6810 includes a first strap portion 6812 that is removably coupled to a second strap portion 6814 by a buckle 6816. It is contemplated that the first and second strap portions 6812 and 6814 may be constructed from a nylon webbing, similar to lower adjustment straps 6706A and 6706B. However, additional or alternative polymeric, metallic, alloy or ceramic materials, or combinations thereof, may be used in the first and second strap portion 6812 and 6814, without departing from the scope of these disclosures. It is further contemplated that the buckle 6816 may include any removable coupling implementation, without departing from the scope of these disclosures.
  • The waist strap 6810 is removably attached to the lower attachment loops 6718A and 6718B by two split-ring fasteners 6818A and 6818B. In one example, the split-ring fasteners 6818A and 6818B may be constructed from aluminum, and includes an elongated loop element with a gap configured to allow the lower attachment loops 6718A and 6718B to be inserted through. In other implementations, the split-ring fasteners 6818A and 6818B may be constructed from another metal, alloy, polymer, fiber-reinforced material, or ceramic, or combinations thereof.
  • FIG. 44 further depicts an alternative implementation of shoulder straps 6820A and 6820B. The shoulder straps 6820A and 6820B may be similar to shoulder straps 6702A and 6702B, and include one or more layers of padding and/or outer webbing materials provided for structural load-bearing properties and abrasion resistance. Additionally, the shoulder straps 6702A and 6702B may include a series multiple loops (a portion of the loops are labelled as loops 6716 in FIG. 44). It is contemplated that the shoulder straps 6820A and 6820B may include any number of loops 6716, without departing from the scope of these disclosures. In one example, the series of loops 6716 extends from the adjustment buckles 6714A and 67 14B to reinforcement patches 6822A and 6822B that extend across a width of the shoulder straps 6820A and 6820B.
  • FIG. 45 depicts an isometric view of another implementation of an insulating device 8010. In one example, the insulating device 8010 may be similar to the insulating device 6010, and include shoulder straps 8702A and 8702B. As depicted, the insulating device 8010 may have a substantially cuboidal geometry with a slanted lid assembly 8300 and closure 8311. The insulating device 8010 can be of a similar construction to the examples previously described in these disclosures, where like reference numerals represent like features having similar functionality. In one example, features denoted by the same last three digits, and optionally the same letter, or alphanumeric suffix, may be considered to include similar features and construction materials and/or methodologies. It is contemplated that the structures of insulating device 8010 may be coupled to one another by any methods and/or fastener elements, such as those previously described throughout these disclosures, and including, among others, adhesives, stitching, laser welding, and/or rivets.
  • In one example, the lower adjustment straps (e.g., 8706A) of the shoulder straps 8702A and 8702B may be removably coupled to the second sidewall 8507B and third sidewall 8507C. The lower adjustment straps (e.g., 8706A) may include a clasp 8830 configured to be removably coupled to a D-loop 8832 that is attached to the sidewall (e.g., third sidewall 8507C) of the insulating device 8010 by webbing loop 8834. Is contemplated that the depicted clasp eight 8830 and D-loop 8832 may additionally or alternatively include any removable attachment mechanism, such as a buckle (similar to one or more of buckles 6714A and 6816), or hook and loop fasteners. Additionally or alternatively, the clasp 8830 may be configured to be removably coupled directly to the webbing loop 8834, without using the D-loop 8832. In one example, the clasp 8830 and the D-loop 8832 may be constructed from a polymer, a metal, an alloy, a fiber-reinforced material, or a ceramic, among others.
  • FIG. 46 schematically depicts one implementation of a split-ring fastener 6818, as described in relation to FIG. 44. In one example, one or more split-ring fasteners 6818 may be used to attach the waist strap 6810 to the lower attachment loops 6718A and 6718B. As depicted, the split-ring fastener may include an elongated loop element 9850 that has a gap 9852. The gap 9852 may be used to removably couple the split-ring fastener 6818 to a lower attached loop 6718 (not depicted in FIG. 46) by temporary deforming a portion of the lower attached loop, inserting the deformed portion through the gap 9852, and expanding the portion once within the hole 9854 of the split-ring fastener 6818. In one example, the split-ring fastener 6818 may be constructed from aluminum. In other implementations, the split-ring fastener 6818 may be constructed from another metal, alloy, polymer, fiber-reinforced material, or ceramic, or combinations thereof.
  • In one example, the insulating devices described throughout this disclosure, such as devices 1010, 2010, 3010, 4010, 5010, 6010, and 8010 may include one or more zipper assemblies, similar to closure 6311. These alternative implementations of zipper assemblies may include curved geometries. For example, the zipper, rather than being coupled to a planar surface, may be implemented such that it may be coupled to a complex geometries with multiple areas of curvature. Additionally or alternatively, the closures used with any of the insulating devices described throughout these disclosures may include zippers with water reactive resistors configured to be positioned along a length of a zipper track. As such, a plurality of water reactive resistors may be configured to swell when exposed to water and provide resistance to a slider body of the zipper mechanism as it is being used to open or close the zipper closure. In one example, the water reactive resistors may run continuously along an entire length of a zipper track. The resistance provided the water reactive resistors may prevent a closure from being opened when exposed to water, and as such, prevent accidental spilling of fluids, ice, and/or materials positioned within an insulating device.
  • In another example, a plurality of polymeric resistors may be provided along a length of a zipper track, such as a track of closure 6311. The plastic resistors may be configured to resist the movement of a slider body along the zipper track (with or without the presence of water). As such, the plurality of polymeric resistors may slow the movement of the slider body along the zipper track. In doing so, the polymeric resistors may have functionality similar to water reactive resistors, and may prevent accidental spilling of fluids, ice, and/or materials stored within an insulating device.
  • It is further contemplated that a frame may be incorporated into any of the insulating devices described throughout this disclosure. The frame may with used to provide for a symmetric and/or balanced distribution of mass and center of gravity of a portable insulating device. As such, the frame may be formed of one or more of a polymer, a fiber-reinforced composite, or a metal or alloy, such as aluminum and titanium.
  • The insulating devices described throughout these disclosures may be further configured to include one or more storage baffles. It is contemplated that the storage baffles may be constructed using one or more of a foam, a vacuum-insulated panel, a metal, an alloy, a polymer, a fiber reinforced material, and a ceramic, or combinations thereof. The baffles may be individually sealable and waterproof containers, or may be divided and/or partitioned areas within an internal compartment the various insulating devices described herein. In one example, baffles within an insulated storage compartment may be configured to store specifically-sized items.
  • In one example multiple storage baffles may be used within an insulating device. For example, two baffles may be used, such that one baffle is a sealable and waterproof baffle and the other baffle is a divided area different than the sealed and waterproof baffle within an insulated storage compartment. In one example, the baffles may be removable. Any of the insulating devices described to read these disclosures may be configured to receive and store ice, such as dry ice, conventional ice made from water, one or more ice packs, and/or a removable bladder configured to be filled with a fluid such as water. A bottom baffle within an insulated storage compartment of the various insulating devices may be specifically designed to receive and store ice and/or a removable bladder. This bottom baffle may be lined and/or fabricated with a conductive material, and configured to provide cooling to one or more upper baffles within the insulated storage compartment. In some instances, the upper baffles may also be lined and/or fabricated with a conductive material and, as such, may be configured to further distribute the cooling provided by the bottom baffle. Additionally or alternatively, each of the baffles within an insulated storage compartment of an insulating device may be configured to receive and store ice, ice packs, and/or a removable bladder.
  • For insulating device is configured to store ice made from drinking water, baffles within an insulated storage compartment may be configured to partition water from the ice as the ice melts. The water may be configured to flow into a reservoir at a bottommost portion of an interior portion of a portable insulating device (such as such as devices 1010, 2010, 3010, 4010, 5010, 6010, and 8010). The reservoir may include a hose or tube attached thereto, which may be routed through the interior portion of the portable insulating device to an upper end of the portable insulating device. From there, the hose or tube may extend out from the interior of the insulating device and may include a one-way nozzle at a terminal end portion. The one-way nozzle may be a drinking nozzle and may be configured to release water from the internal reservoir when actuated by a user of the insulating device. The reservoir may further include an air pump or bladder which may be manually or electrically pumped to increase the pressure within the reservoir. When pressurized, the reservoir may assist in urging water through the hose or tube and out through the one-way nozzle when actuated. It is further contemplated that the water may be filtered before it is dispensed through the drinking nozzle.
  • In certain implementations, a peripheral cooling vessel may be positioned adjacent to an insulated storage compartment of the insulating devices described throughout this disclosure, and may be configured to provide cooling to the insulated storage compartment. In such embodiments, the peripheral cooling vessel may be configured to receive and store conventional ice made from water, dry ice, one or more ice packs, and/or a removable bladder. The peripheral cooling vessel may be lined and/or fabricated with a conductive material to enable cooling distribution to the insulated storage compartment. The peripheral cooling vessel may further be a sealable and waterproof vessel.
  • The peripheral cooling vessel may be affixed to a front, bottom, side, and/or rear portion of an insulated storage compartment, and may be configured to be detachably attached to the insulated storage compartment. In some examples, the peripheral cooling vessel may be rigidly attached to the insulated storage compartment. In the detachably attachable configuration, the peripheral cooling vessel may be removable from a portable insulating device.
  • In some embodiments, the baffles within the insulated and uninsulated storage compartments may be angled to extend from a backmost and/or rearmost portion of the particular storage compartment upwardly and outwardly towards a frontmost and/or frontward portion of the particular storage compartment. Such an orientation of the baffles may establish a center of gravity of the portable insulating device 100 close to the backmost and/or rearmost portion of the device which, as stated above, may be configured to contact the back and shoulders of a carrier during carrying. Accordingly, the angled baffles may provide for symmetric weight distribution and a center of gravity of the portable insulating
  • An exemplary insulating device may include an outer shell, an inner liner, an insulating layer floating freely in between the outer shell and the inner liner, and a waterproof closure. The top of the shell has first perimeter circumference, and the bottom of the shell has a second perimeter circumference. The first perimeter circumference can be equal to the second perimeter circumference. The closure can be a zipper assembly comprising a plurality of zipper teeth, and the zipper teeth can be formed of plastic or metal. The outer shell can be made of a double laminated TPU nylon fabric. The inner liner can be made of a double laminated TPU nylon fabric. The insulating layer can be formed of a closed cell foam. The insulating layer can be made of a NBR and a PVC blend, and at least a portion of the insulating layer can be constructed with an EVA foam layer. The outer shell further can include at least one of a strap or handle. The outer shell further can include at least one ring for securing the insulating device.
  • An exemplary insulating device can include an outer shell, an inner liner, a closure adapted to seal at least one of the outer shell or the inner liner, and an insulating layer between the outer shell and the inner liner. The closure can have a first flange and a second flange, and the outer liner can be secured to top surfaces of the first flange and the second flange and the inner liner can be secured to bottom surfaces of the first flange and the second flange. The outer liner and the inner liner can be connected to the closure by a polymer weld. The outer shell can have a first circumference and a second circumference, the first circumference and the second circumference both having an oval shape. The closure can be adapted to be a barrier against fluid. The closure can be a zipper apparatus that is watertight up to 48263.3 Pa (7 psi) above atmospheric pressure.
  • An exemplary method of assembling a insulating device may include forming an inner liner having an inner vessel, forming an outer shell, forming an insulating layer between the inner liner and the outer shell, and securing a closure configured to be a barrier against fluid penetration in and out of the inner vessel wherein the closure is secured in a flat plane and is secured to the outer shell and the inner shell. The outer shell and inner shell may only be connected to the closure and not to the insulating layer between the outer shell and inner liner.
  • A waterproof polymer weld can be formed between the closure and the inner shell and the closure and the outer shell when the closure, the outer shell, and the inner liner are lying in a horizontal plane. The outer shell and the inner layer can be formed of a TPU nylon material. The closure can have a first flange and a second flange. The outer liner can be secured to top surfaces of the first flange and the second flange and the inner liner can be secured to bottom surfaces of the first flange and the second flange.
  • The method can also include forming the insulating layer from a rectangular shape, and rolling the rectangular shape into a cylindrical shape. The top of the insulating layer has a first perimeter circumference and the bottom of the insulating layer has a second perimeter circumference. The first perimeter circumference can be equal to the second perimeter circumference.
  • Another example insulating device can include an outer shell, an inner liner forming a storage compartment, a foam layer floating freely in between the outer and inner liner, the foam layer providing insulation, an opening extending through the outer layer and the inner layer, and a closure adapted to substantially seal the opening. The closure can be substantially waterproof so as to resist liquid from exiting the opening.
  • The insulating device can also include an upper wall and a base, the upper wall defining an upper wall circumference, an upper wall length and an upper wall width, and the base defining a base circumference, a base length and a base width. The upper wall circumference can be equal to the base circumference and the ratio of the upper wall length to the upper wall width can be greater than the ratio of the base length to the base width. In one example, a heat gain rate of the insulating device can be approximately 0.56 to 0.83 degC/hr (1.0-1.5 degF/hr).
  • Another example method of forming an insulating device may include forming an inner liner first portion and an outer shell first portion, securing the inner liner first portion and the outer shell first portion to a sealable closure to form a cap assembly, forming an inner liner second portion and securing the inner liner second portion to the inner liner first portion to form an inner liner, forming an outer shell second portion, rolling a rectangular foam portion to form a first cylindrical foam portion and securing a foam base portion to the first cylindrical portion to form a foam assembly, inserting the foam assembly into the outer shell second portion, inserting the inner liner into the foam assembly, and stitching the outer shell first portion to the outer shell second portion. The inner liner first portion and the outer shell first portion can be welded to the closure. The closure can be provided with at least one flange and the flange can be secured to a bottom surface of the outer shell first portion and a top surface of the inner liner first portion. The foam can float between the outer shell second portion and the inner liner second portion.
  • An example portable insulating device may include an outer liner, an inner liner forming a storage compartment, a foam layer in between the outer and inner liner. The foam layer can be adapted to provide insulation. The example portable insulating device may also include an opening extending through one of the outer layer and the inner layer and a closing means for substantially sealing the opening. The closure can be substantially waterproof.
  • In one example, a portable cooler may include an aperture on the top of the cooler that is opened and closed by a zipper apparatus which allows access to a chamber within the cooler. The aperture prevents any fluid leakage out of the cooler if the cooler is overturned or in any configuration other than upright. The zipper assembly also prevents any fluid from permeating into the cooler chamber if the cooler is exposed to precipitation, other fluid, or submersed under water.
  • An example method of assembling a zipper apparatus and aperture configured to be impervious to water or other liquids and fluids can include attachment of a waterproof zipper via material welding to both an outer shell and an inner liner. This method may result in a chamber impervious to water and other liquids when the zipper apparatus on the aperture is sealed.
  • In one example, an insulating device may include an outer shell, an inner liner forming a storage compartment, a foam layer floating formed in between the outer and inner liner, the foam layer providing insulation, an opening extending through the outer layer and the inner layer, a closure adapted to substantially seal the opening, the closure being substantially waterproof so as to resist liquid from exiting the opening when the insulating device is in any orientation. In one example, the top portion of the outer shell can have a first perimeter circumference in a first configuration. The outer shell may include a bottom portion, the bottom portion of the outer shell can have a second perimeter circumference in a second configuration that is different from the first configuration, and the first perimeter circumference can be equal to the second perimeter circumference. The first configuration and the second configuration can be both oval shaped. In one example, the insulating device may include an upper wall and a base, the upper wall can define an upper wall circumference, an upper wall length and an upper wall width, and the base can define a base circumference, a base length and a base width. The upper wall circumference can be equal to the base circumference and the ratio of the upper wall length to the upper wall width can be greater than the ratio of the base length to the base width. The cold retention time of the insulating device can be approximately 11 to 20 hours. However, in one example the cold retention time can be 11 to 15 hours. In another example the cold retention time can be approximately 12.24 hours. The heat gain rate of the insulating device can be approximately 0.56 to 0.83 degC/hr (1.0-1.5 degF/hr), and, in one particular example, the heat gain rate can be approximately 0.78 degC/hr (1.4 degF/hr). The storage compartment can be configured to maintain a liquid therein while inverted for greater than 15 minutes. In one particular example, the storage compartment can be configured to maintain the liquid for a period of greater than 30 minutes therein when inverted and a half of a volume of the storage compartment is filled with the liquid.
  • In one example, the insulating layer can be floating freely in between the outer shell and the inner liner. The insulating layer can be formed of closed cell foam, and the insulating layer can be made of a NBR and a PVC blend. In one example least a portion of the insulating layer can be constructed with an EVA foam layer. The closure can be a zipper assembly comprising a plurality of zipper teeth, and the zipper teeth can be formed of plastic.
  • In one example, the outer shell and the inner liner can be made of a double laminated TPU nylon fabric. The outer shell further can include at least one of a strap or handle. The outer shell can include at least one ring for securing the insulating device. The insulating layer can be configured to maintain an internal temperature of the insulating device below 10 degrees Celsius (50 degrees Fahrenheit) for 65 to 85 hours. The closure can be formed with a first flange and a second flange and the outer liner can be secured to top surfaces of the first flange and the second flange. The inner liner can be secured to bottom surfaces of the first flange and the second flange. The outer liner and the inner liner can be connected to the closure by a polymer weld. In one example, the closure can be watertight up to 13789.5 to 96526.6 Pa (2 to 14 psi) above atmospheric pressure. A loop patch may also be provided on the insulating device.
  • In another example, an insulating device may include an outer shell, an inner liner forming a storage compartment, a foam layer floating in between the outer and inner liner, which provides insulation, an opening extending through the outer layer and the inner layer, a closure adapted to substantially seal the opening. The closure can be substantially waterproof so as to prevent liquid from exiting the opening when the insulating device is inverted for a period of greater than 15 minutes. The heat gain rate of the insulating device can be approximately 0.56 to 0.83 degC/hr (1.0-1.5 degF/hr). The insulating device can include at least one handle. The at least one handle can be configured to support 45.36 kg to 136,08 kg (100 lbs. to 300 lbs.). of weight for 1 to 10 minutes without showing signs of failure. In one example, the insulating device can be configured to withstand 15.88 kg to 45.36 kg (35 lbs. to 100 lbs.) of puncture force.
  • An example method of forming an insulating device can include forming an inner liner first portion and an outer shell first portion, securing the inner liner first portion and the outer shell first portion to a sealable closure to form a cap assembly, forming an inner liner second portion and securing the inner liner second portion to the inner liner first portion to form an inner liner, forming an outer shell second portion, rolling a rectangular foam portion to form a first cylindrical foam portion and securing a foam base portion to the first cylindrical foam portion to form a foam assembly, inserting the foam assembly into the outer shell second portion, inserting the inner liner into the foam assembly, and securing the outer shell first portion to the outer shell second portion to form the outer shell. The method may also include securing a closure configured to be a barrier against fluid penetration in and out of the inner vessel and forming a waterproof polymer weld between the closure and the inner shell and the closure and the outer shell when the closure, the outer shell, and the inner liner are lying in a flat plane.
  • In an example, the inner liner first portion and the outer shell first portion can be secured to the closure. The closure can be provided with at least one flange, and the flange can be secured to a bottom surface of the outer shell first portion and a top surface of the inner liner first portion. The foam can freely float between the outer shell second portion and the inner liner second portion. The outer shell and inner shell are only connected to the closure and not to the insulating layer between the outer shell and inner liner. The outer shell can be formed of a TPU nylon material, and the inner liner can be formed from a TPU nylon material. The closure can include a first flange and a second flange. The outer liner can be secured to top surfaces of the first flange and the second flange, and the inner liner can be secured to bottom surfaces of the first flange and the second flange. The top of the insulating layer can have a first perimeter circumference. The bottom of the insulating layer can have a second perimeter circumference. The first perimeter circumference can be equal to the second perimeter circumference.
  • In one example, an insulating device can include an outer shell defining a sidewall, an inner liner forming a storage compartment, an insulating layer positioned in between the outer shell and the inner liner, the insulating layer providing insulation for the storage compartment, an opening extending through the outer shell and the inner liner, and a closure adapted to substantially seal the opening, the closure being substantially waterproof so as to resist liquid from exiting the opening when the insulating device is in any orientation. The insulating device may include a vertically extending front facing surface and the closure can be located on the front facing surface. A cross section of the insulating device can approximate a pentagon in an extended position, and a cross section of the insulating device can approximate a trapezoid in an extended position. The insulating device may also include a base, and the insulating layer can insulate the base. The base may also include an additional insulating layer.
  • The insulating device may also include a fold-down portion configured to cover the closure. The fold-down portion comprising a first section and a second section and wherein the first section is free of the insulation layer and the second section includes the insulation layer. The fold-down portion can be at least partially free of foam. The fold-down portion can be configured to be secured to the sidewall. The fold-down portion can include at least one hook and the sidewall can include at least one loop. The hook can be configured to engage the loop to secure the fold-down portion to the sidewall. The fold-down portion can be secured to the sidewall, and the fold-down portion may extend at least partly in a substantially horizontal direction. The fold-down portion may define a first width, and the closure extends across at least 95% of the first width. The fold-down portion may also include a handle configured to be grasped by a user when the fold-down portion is secured to the sidewall.
  • The insulating layer may include a foam material. The insulating layer may include a first portion and a second portion, and the second portion can be formed thicker than the first portion. The insulating layer can be at least partly formed in a shape of a T. The insulating layer can be at least partly formed of a first rectangle and a second rectangle and the first rectangle can have a larger area than the second rectangle. The first rectangle can have a first rectangle width and the second rectangle can have a second rectangle perimeter. The first rectangle width can approximates the second rectangle perimeter. The second rectangle can extend into the fold-down portion. The insulating layer can have a first height and a second height and the first height can be greater than the second height. A majority of the insulating layer can extend to the second height.
  • A method of forming an insulating device may include forming an inner liner defining a storage compartment, forming an outer shell defining a sidewall, placing an insulating layer in between the outer shell and the inner liner, the insulating layer providing insulation for the storage compartment, placing an opening in the inner liner and the outer shell, and placing a closure between the inner liner and the outer shell. The closure can be adapted to substantially seal the opening, and the closure can be substantially waterproof so as to resist liquid from exiting the opening when the insulating device is in any orientation. The method may also include forming a fold-down portion configured to cover the closure, providing the fold-down portion with a first section and a second section. The first section can be free of the insulation layer and the second section can include the insulation layer. The fold-down portion can be at least partially free of foam. The fold-down portion can be configured to secure to the sidewall. The method may also include forming the insulating layer at least partly in the shape of a T, forming the insulating layer at least partly of a first rectangle and a second rectangle, and forming the first rectangle of a larger area than the second rectangle. The method may also include extending the second rectangle into the fold-down portion and providing the insulating layer on a base and providing an additional insulating layer along the base.
  • In another example, an insulating device includes an outer shell defining a sidewall, an inner liner forming a storage compartment, and an insulating layer positioned in between the outer shell and the inner liner. The insulating layer provides insulation for the storage compartment. The insulating device includes an opening configured to allow access to the storage compartment and a closure adapted to substantially seal the opening. The insulating device includes a binding material, and the binding material can be placed over a joint between the inner liner and the outer shell. The binding material can be stitched onto the insulating device, and the stitching can create openings into the outer shell for venting air trapped between the insulating layer and the outer shell. The binding material can create at least one strap for holding the insulating device. The binding material can include a first folded portion attached to the outer shell and a second folded portion, and the second folded portion can form a strap.
  • The insulation device can approximate a trapezoid from a front view and can approximate a conical shape from a side view. In one example, the insulating device increases from -18 °C to 10 °C (0°F to 50 °F) in a duration of 70 hours or greater when filled with 0.24 kg of ice per each 0.95 liter (0.52 lbs. of ice per each quarter) in capacity of the insulating device.
  • The closure can be substantially waterproof so as to resist liquid from exiting the opening when the insulating device is in any orientation. In one example, the insulating device can be configured to withstand being held inverted for 15 minutes without any water escaping or leaving the storage compartment. The closure can be configured to stay in the opened position when the closure is not sealed. The closure can be a zipper. In one example, the closure extends at least 80% of the length of the insulating device when measured along the closure. The length of the closure can be longer than the length of the bottom of the insulating device, and the length of the closure is at least 5% longer than the length of the bottom of the insulating device. The insulating device can include a vertically extending front facing surface, and the closure can be located on the front facing surface. A handle can be located on a rear facing surface opposing the front facing surface.
  • In the example insulating device, the insulating layer can comprise a foam material. The insulating layer can comprise a first portion and a second portion, and the second portion can be formed thicker than the first portion. The insulating layer can be at least partly formed of a first rectangle and a second rectangle, and the first rectangle can have a larger area than the second rectangle. The insulating layer can have a first height and a second height, and the first height can be greater than the second height. In one example, a majority of the insulating layer can extend to the second height. In addition or alternatively, the front of the insulating layer can extend to the second height and the rear of the insulating layer extends to the first height. The insulating device can include a base, and the insulating layer can insulate the base. Also the base can include an additional or separate insulating layer. In one example, the insulating layer can cover 80% or more of the inner liner covering the storage compartment or the insulating layer can cover 90% or more of the inner liner covering the storage compartment.
  • In another example, a method of forming an insulating device may include forming an inner liner the inner liner defining a storage compartment, forming an outer shell defining a sidewall, placing an insulating layer in between the outer shell and the inner liner, the insulating layer providing insulation for the storage compartment, placing an opening in the inner liner and the outer shell, placing a closure between the inner liner and the outer shell, the closure adapted to substantially seal the opening, the closure being substantially waterproof so as to resist liquid from exiting the opening when the insulating device is in any orientation. The method can also include forming the insulating layer at least partly of a first rectangle and a second rectangle and forming the first rectangle of a larger area than the second rectangle. The method can also include providing the insulating layer on a base and providing an additional insulating layer along the base.
  • An example insulating device can include an outer shell defining a first sidewall; an inner liner forming a storage compartment; an insulating layer positioned in between the outer shell and the inner liner, the insulating layer providing insulation for the storage compartment. The outer shell and the inner liner can define an opening, and the opening can be configured to allow access to the storage compartment. A closure can be adapted to substantially seal the opening, and the closure can be substantially waterproof so as to resist liquid from exiting the opening when the insulating device is in any orientation. The outer shell may include a second sidewall and a third sidewall, and the opening may extend through the first sidewall, the second sidewall, and the third sidewall. The insulating device can be in the shape of a cuboid. The inner liner and the outer shell can form a joint, and the joint can include a vent to gases that become trapped between the inner liner and the outer shell. The outer shell may include one or more handles, and a vent can be formed adjacent to a location of the one or more handles. The closure can be substantially waterproof so as to resist liquid from exiting the opening when the insulating device is dropped from a distance of 1.83 meters (six feet).
  • The insulating device can also include a lid assembly and a body assembly. The lid assembly and the body assembly can together form the inner liner, the insulating layer, and the outer shell. The lid assembly can include at least a portion of the insulation layer. The lid assembly may also include a handle and a reinforcement layer that is more rigid than the inner liner, the insulating layer, and the outer shell.
  • The outer shell may define a bottom wall extending in a first plane, and the inner liner can be secured to the outer shell in a second plane extending perpendicular to the first plane. The liner may be formed of a first piece and a second piece and the first piece is joined to the second piece by way of a weld to define a seam and the seam may be covered with a seam tape. In one alternative example, the inner liner can be formed by way of injection molding. The closure can be a zipper and can be substantially waterproof. The zipper can include a pull, and the pull can be formed of a cloth, string, or rope. In certain examples, the temperature of the insulating device increases from -18 °C to -12°c (0°f to 10 °F) in a duration of 0.5 hours to 1.5 hours, the temperature of the insulating device increases from -12°C to 10 °C (10°F to 50 °F) in a duration of 22 hours to 28 hours, and the temperature of the insulating device increases from -18°C to 10 °C (0°F to 50 °F) in a duration of 24 hours to 30 hours.
  • An example method may include forming a body assembly by forming a lower outer shell, placing a lower insulating layer into the lower outer shell, and securing a lower inner liner portion to the lower outer shell; forming a lid assembly of an upper outer shell, an upper inner liner portion and an upper insulating layer therebetween; and joining the lid assembly to the body assembly by securing a closure between the lid assembly and the body assembly and by securing a binding material to the body assembly and the lid assembly. SThe insulating layer can float between the lower outer shell and the lower inner liner portion. The binding material can be formed of nylon, and the binding material can be stitched to the body assembly and the lid assembly. The lid assembly may also be welded to the body assembly. Additionally, the lid assembly may be formed with a handle and a reinforcement layer that is more rigid than the inner liner, the insulating layer, and the outer shell. The lower inner liner portion in certain examples can be formed by injection molding.
  • The lower inner liner portion can be secured to the lower outer shell by a weld. The weld can be formed by clamping the lower outer shell to the lower inner liner portion with a top U-shaped portion, a plate portion, and a bottom U-shaped portion and applying a current through the top U-shaped portion, the plate portion, and the bottom U-shaped portion. The current can be applied through the top U-shaped portion, the plate portion, and the bottom U-shaped portion in a first direction to weld a first side and the current can be applied in a second direction to weld a second side.
  • An example insulating device can include an outer shell defining a first sidewall; an inner liner forming a storage compartment; an insulating layer positioned in between the outer shell and the inner liner, the insulating layer providing insulation for the storage compartment. The example insulating device can also include a back panel support structure externally coupled to the outer shell. The outer shell and the inner liner can define an opening, and the opening can be configured to allow access to the storage compartment. A closure can be adapted to substantially seal the opening, and the closure can be substantially waterproof so as to resist liquid from exiting the opening when the insulating device is in any orientation. The outer shell may include a second sidewall and a third sidewall defining side portions of the insulating device, and a fourth sidewall defining a back portion of the insulating device. The back panel support structure may be externally coupled to the fourth sidewall. The opening may extend through the first sidewall, the second sidewall, the third sidewall, and at least a portion of the fourth sidewall. The insulating device may also include a shoulder strap attached to the back panel support structure. The insulating device can be in the shape of a cuboid. The inner liner and the outer shell can form a joint, and the joint can include a vent to gases that become trapped between the inner liner and the outer shell. The outer shell may include one or more handles, and a vent can be formed adjacent to a location of the one or more handles. The closure can be substantially waterproof so as to resist liquid from exiting the opening when the insulating device is dropped from a distance of 1.83 meters (six feet).
  • The insulating device can also include a lid assembly and a body assembly. The lid assembly and the body assembly can together form the inner liner, the insulating layer, and the outer shell. The lid assembly can include at least a portion of the insulation layer. The lid assembly may also include a handle and a reinforcement layer that is more rigid than the inner liner, the insulating layer, and the outer shell.
  • The outer shell may define a bottom wall extending in a first plane, and the inner liner can be secured to the outer shell in a second plane extending perpendicular to the first plane. The liner may be formed of a first piece and a second piece and the first piece is joined to the second piece by way of a weld to define a seam and the seam may be covered with a seam tape. In one alternative example, the inner liner can be formed by way of injection molding. The closure can be a zipper and can be substantially waterproof. The zipper can include a pull, and the pull can be formed of a cloth, string, or rope. In certain examples, the temperature of the insulating device increases from -18°c to -12 °C (0 °F to 10 °F) in a duration of 0.5 hours to 1.5 hours, the temperature of the insulating device increases from -12°C to 10 °C (10 °F to 50°F) in a duration of 22 hours to 28 hours, and the temperature of the insulating device increases from -18°C to 1 0°C (0°F to 50°F) in a duration of 24 hours to 30 hours.
  • An example method may include forming a body assembly by forming a lower outer shell, placing a lower insulating layer into the lower outer shell, and securing a lower inner liner portion to the lower outer shell; forming a lid assembly of an upper outer shell, an upper inner liner portion and an upper insulating layer therebetween. The method may also include forming a back panel support structure, joining the back panel support structure to a back portion of the body assembly, and joining the lid assembly to the body assembly by securing a closure between the lid assembly and the body assembly and by securing a binding material to the body assembly and the lid assembly. The method may also include forming a shoulder strap and joining the shoulder strap to the back panel support structure. The insulating layer can float between the lower outer shell and the lower inner liner portion. The binding material can be formed of nylon, and the binding material can be stitched to the body assembly and the lid assembly. The lid assembly may also be welded to the body assembly. Additionally, the lid assembly may be formed with a handle and a reinforcement layer that is more rigid than the inner liner, the insulating layer, and the outer shell. The lower inner liner portion in certain examples can be formed by injection molding.
  • The lower inner liner portion can be secured to the lower outer shell by a weld. The weld can be formed by clamping the lower outer shell to the lower inner liner portion with a top U-shaped portion, a plate portion, and a bottom U-shaped portion and applying a current through the top U-shaped portion, the plate portion, and the bottom U-shaped portion. The current can be applied through the top U-shaped portion, the plate portion, and the bottom U-shaped portion in a first direction to weld a first side and the current can be applied in a second direction to weld a second side.
  • An example insulating device backpack can include an outer shell having a cuboidal shape, and defining a first sidewall defining a front portion of the insulating device backpack. A second sidewall and a third sidewall may define side portions of the insulating device backpack, and a fourth sidewall may define a back portion of the insulating device backpack. The insulating device backpack may additionally include an inner liner forming a storage compartment; an insulating layer positioned in between the outer shell and the inner liner, the insulating layer providing insulation for the storage compartment. The example insulating device backpack can also include a back panel support structure externally attached to the outer shell. The example insulating device backpack may additionally include a shoulder strap coupled to the back panel support structure. The outer shell and the inner liner can define an opening, and the opening can be configured to allow access to the storage compartment. A closure can be adapted to substantially seal the opening, and the closure can be substantially waterproof so as to resist liquid from exiting the opening when the insulating device is in any orientation. The back panel support structure may be externally coupled to the fourth sidewall. The opening may extend through the first sidewall, the second sidewall, the third sidewall, and at least a portion of the fourth sidewall. The inner liner and the outer shell can form a j oint, and the joint can include a vent to gases that become trapped between the inner liner and the outer shell. The outer shell may include one or more handles, and a vent can be formed adjacent to a location of the one or more handles. The closure can be substantially waterproof so as to resist liquid from exiting the opening when the insulating device is dropped from a distance of 1.83 meters (six feet).

Claims (14)

  1. An insulating device (6010) backpack, comprising:
    an outer shell (401, 501) having a cuboidal shape, further comprising:
    a first sidewall (3507A, 6507A) defining a front portion of the insulating device (6010) backpack; and
    a second sidewall (3507B) and a third sidewall (3507C, 8507C) defining side portions of the insulating device (6010) backpack, and a fourth sidewall (3507D, 6507D) defining a back portion of the insulating device (6010) backpack;
    an inner liner (3500) forming a storage compartment (2504, 3504);
    an insulating layer (502, 2502, 3502, 4502, 5502, 6502) positioned in between the outer shell (401, 501) and the inner liner (3500), the insulating layer (502, 2502, 3502, 4502, 5502, 6502) providing insulation for the storage compartment (2504, 3504);
    a back panel support structure externally coupled to the fourth sidewall (3507D, 6507D) of the outer shell (401, 501), and a binding material (3518, 4518, 6518), the binding material (3518, 4518, 6518) being placed over a joint between the inner liner (3500) and the outer shell (401, 501);
    and shoulder straps (6604A, 6604B) that allow the insulating device (6010) to be carried as a backpack,
    the shoulder strap (6604A, 6604B) being coupled to the back panel support structure;
    a waist strap (6810) and additionally lower attachment loops (6718 A, 6718B) sewn into the sides of the back panel support structure, the waist strap (6810) being removably attached to the lower attachment loops (6718A, 6718B) by two split-ring fasteners (6818A, 6818B), the split-ring fasteners (6818A, 6818B) including an elongated loop element (9850) with a gap (9852) configured to allow the lower attachment loops (6718A, 6718B) to be inserted through;
    an opening (3512) configured to allow access to the storage compartment (2504, 3504); and
    a closure (2311, 3311, 4311, 6311, 8311) adapted to substantially seal the opening (3512), the closure (2311, 3311, 4311, 6311, 8311) being substantially waterproof so as to resist liquid from exiting the opening (3512) when the insulating device (6010) backpack is in any orientation;
    wherein the opening (3512) extends through the first sidewall (3507A, 6507A), the second sidewall (3507B), the third sidewall (3507C, 8507C), and at least a portion of the fourth sidewall (3507D, 6507D),
    wherein the back panel support structure is coupled to a reinforcement patch (6320) and to the fourth sidewall (6507D) of the insulating device (6010).
  2. The insulating device (6010) backpack of claim 1, wherein the back panel support structure comprises an outer layer and an inner layer, and wherein the inner layer of the back panel support structure comprises compression molded ethylene-vinyl acetate.
  3. The insulating device (6010) backpack of claim 1 wherein the closure (2311, 3311, 4311, 6311, 8311) is substantially waterproof so as to resist liquid from exiting the opening (3512) when the insulating device (6010) is filled completely with water and is dropped from a distance of 1.83 meters (six feet).
  4. The insulating device (6010) backpack of claim 1 wherein the outer shell (401, 501) defines a bottom wall extending in a first plane and wherein the inner liner (3500) is secured to the outer shell (401, 501) in a second plane extending perpendicular to the first plane.
  5. The insulating device (6010) backpack of claim 1 wherein the inner liner (3500) is formed of a first piece and a second piece and wherein the first piece is joined to the second piece by way of a weld to define a seam and wherein the seam is covered with a seam tape.
  6. The insulating device (6010) backpack of claim 1 wherein the inner liner (3500) is formed by way of injection molding.
  7. The insulating device (6010) backpack of claim 1 wherein the closure (2311, 3311, 4311, 6311, 8311) is a zipper and is substantially waterproof and wherein the zipper comprises a pull, the pull being formed of a cloth, string, or rope.
  8. The insulating device (6010) backpack of claim 1 further comprising a lid assembly (3300, 5300) and a body assembly (3350, 5350).
  9. The insulating device (6010) of backpack claim 8 wherein the lid assembly (3300, 5300) includes at least a portion of the insulation layer (502, 2502, 3502, 4502, 5502, 6502).
  10. The insulating device (6010) backpack of claim 8 wherein the lid assembly (3300, 5300) includes a handle (5216) and a reinforcement layer (5217) that is more rigid than the inner liner (3500), the insulating layer (502, 2502, 3502, 4502, 5502, 6502), and the outer shell (401, 501).
  11. The insulating device (6010) backpack of claim 1 wherein the insulating layer (502, 2502, 3502, 4502, 5502, 6502) floats between the inner liner (3500) and the outer shell (401, 501).
  12. The insulating device (6010) backpack of claim 1 wherein the insulating layer (502, 2502, 3502, 4502, 5502, 6502) is attached to the inner liner (3500) or the outer shell (401, 501).
  13. A method for making an insulating device (6010) backpack according to claim 1, comprising:
    forming a body assembly (3350, 5350) by forming a lower outer shell (3501B), placing a lower insulating layer (3502B) into the lower outer shell (3501B), and securing a lower inner liner portion (3500B) to the lower outer shell (3501B);
    forming a lid assembly (3300, 5300) of an upper outer shell (3501A), an upper inner liner portion and an upper insulating layer (3502A) therebetween;
    forming a back panel support structure and joining the back panel support structure to a back portion of the body assembly (3350, 5350); and
    joining the lid assembly (3300, 5300) to the body assembly (3350, 5350) by securing a closure (2311, 3311, 4311, 6311, 8311) between the lid assembly (3300, 5300) and the body assembly (3350, 5350) and by securing a binding material (3518, 4518, 6518) to the body assembly (3350, 5350) and the lid assembly (3300, 5300).
  14. The method of claim 13, wherein the insulating layer (502, 2502, 3502, 4502, 5502, 6502) floats between the lower outer shell (3501B) and the lower inner liner portion (3500B).
EP18830667.4A 2017-12-18 2018-12-17 Insulating device backpack Active EP3727075B1 (en)

Applications Claiming Priority (2)

Application Number Priority Date Filing Date Title
US15/845,737 US10781028B2 (en) 2014-02-07 2017-12-18 Insulating device backpack
PCT/US2018/066040 WO2019126056A1 (en) 2017-12-18 2018-12-17 Insulating device backpack

Publications (2)

Publication Number Publication Date
EP3727075A1 EP3727075A1 (en) 2020-10-28
EP3727075B1 true EP3727075B1 (en) 2024-06-12

Family

ID=65003566

Family Applications (1)

Application Number Title Priority Date Filing Date
EP18830667.4A Active EP3727075B1 (en) 2017-12-18 2018-12-17 Insulating device backpack

Country Status (9)

Country Link
EP (1) EP3727075B1 (en)
JP (1) JP7325416B2 (en)
CN (1) CN111447854A (en)
AU (1) AU2018389610B2 (en)
CA (1) CA3080939A1 (en)
DK (1) DK3727075T3 (en)
FI (1) FI3727075T3 (en)
NZ (1) NZ763279A (en)
WO (1) WO2019126056A1 (en)

Families Citing this family (6)

* Cited by examiner, † Cited by third party
Publication number Priority date Publication date Assignee Title
JP7565054B2 (en) * 2019-08-29 2024-10-10 株式会社ロゴスコーポレーション Cooling Box
DE202021106156U1 (en) * 2021-11-11 2021-11-19 Va-Q-Tec Ag Thermally insulated carrier bag
CN114267136B (en) * 2021-12-13 2024-03-19 湖南省金河计算机科技有限公司 Multifunctional cashbox and control method and system thereof
USD1103709S1 (en) 2023-09-15 2025-12-02 Sharkninja Operating Llc Cooler
US12163734B1 (en) 2023-09-15 2024-12-10 Sharkninja Operating Llc Insulated container with a drawer
US12129099B1 (en) 2024-03-13 2024-10-29 Sharkninja Operating Llc Insulated container with a drawer

Citations (6)

* Cited by examiner, † Cited by third party
Publication number Priority date Publication date Assignee Title
US5095718A (en) * 1990-11-06 1992-03-17 Ormond John J Portable refrigeration case for the storage and dispensation of canned items
DE9309197U1 (en) * 1992-06-23 1993-11-18 Kunz, Michael, Versoix Multipurpose cooler
GB2282874A (en) * 1993-10-13 1995-04-19 Marshall Guy Bowers Thermally insulated rucksacks
CN202143500U (en) * 2011-07-08 2012-02-15 戴仁德 Multi-purpose heat insulation bag
US20160100673A1 (en) * 2009-04-24 2016-04-14 Joan F. Demskey Backpack
US20170280937A1 (en) * 2016-04-05 2017-10-05 California Innovations Inc. Insulated container assembly with thermal storage accommodation

Family Cites Families (18)

* Cited by examiner, † Cited by third party
Publication number Priority date Publication date Assignee Title
US4673117A (en) * 1986-02-03 1987-06-16 Calton James D Backpack cooler construction
US6092661A (en) * 1998-07-24 2000-07-25 California Innovations Inc. Pack structure
JP2000157335A (en) 1998-11-25 2000-06-13 Mitsubishi Electric Corp Holder for backpack
JP3059471U (en) 1998-11-30 1999-07-09 有限会社金野縫製 Back for reducing back stuffiness such as zack
US6336577B1 (en) * 2000-06-09 2002-01-08 Cool Pac Products, Inc. Backpack cooler
CN100540210C (en) * 2002-12-20 2009-09-16 途明股份有限公司 Reinforcing plate for lightweight carrying bag, carrying bag assembled therefrom, and methods of manufacture and assembly thereof
US8060995B2 (en) * 2003-07-24 2011-11-22 Columbia Insurance Company Closing system
DE602005006257T2 (en) * 2005-06-20 2009-06-25 Arc'Teryx Equipment Inc., Vancouver Improved backpack
US20070164063A1 (en) * 2006-01-17 2007-07-19 Concepcion Arnel M All-in-one fishing tote
CN201550711U (en) * 2009-11-28 2010-08-18 陈战初 Diving zipper
CN201709675U (en) * 2010-05-19 2011-01-19 福建哥仑步户外用品有限公司 Back bag carrying system of simulated octopus suction discs
CN201806090U (en) * 2010-08-17 2011-04-27 黄廷久 Combined multifunctional bag
US9139352B2 (en) * 2014-02-07 2015-09-22 Yeti Coolers, Llc Insulating container
WO2017136754A1 (en) * 2016-02-05 2017-08-10 Yeti Coolers, Llc Insulating device
US10384855B2 (en) 2014-02-07 2019-08-20 Yeti Coolers, Llc Insulating device and method for forming insulating device
CN204444667U (en) * 2015-01-27 2015-07-08 福州汉邦尚品服饰有限公司 Van-type travelling shoulders bag
CN104839947A (en) * 2015-02-27 2015-08-19 常熟宇威拉链五金配件有限公司 Waterproof zipper
CN206443368U (en) * 2016-09-28 2017-08-29 邓俊雄 A kind of new both shoulders bag postnotum

Patent Citations (6)

* Cited by examiner, † Cited by third party
Publication number Priority date Publication date Assignee Title
US5095718A (en) * 1990-11-06 1992-03-17 Ormond John J Portable refrigeration case for the storage and dispensation of canned items
DE9309197U1 (en) * 1992-06-23 1993-11-18 Kunz, Michael, Versoix Multipurpose cooler
GB2282874A (en) * 1993-10-13 1995-04-19 Marshall Guy Bowers Thermally insulated rucksacks
US20160100673A1 (en) * 2009-04-24 2016-04-14 Joan F. Demskey Backpack
CN202143500U (en) * 2011-07-08 2012-02-15 戴仁德 Multi-purpose heat insulation bag
US20170280937A1 (en) * 2016-04-05 2017-10-05 California Innovations Inc. Insulated container assembly with thermal storage accommodation

Also Published As

Publication number Publication date
DK3727075T3 (en) 2024-08-26
JP2021508265A (en) 2021-03-04
AU2018389610B2 (en) 2024-01-11
WO2019126056A1 (en) 2019-06-27
FI3727075T3 (en) 2024-08-22
AU2018389610A1 (en) 2020-04-23
CN111447854A (en) 2020-07-24
EP3727075A1 (en) 2020-10-28
CA3080939A1 (en) 2019-06-27
JP7325416B2 (en) 2023-08-14
NZ763279A (en) 2026-01-30
AU2018389610A2 (en) 2020-07-02

Similar Documents

Publication Publication Date Title
US11685589B2 (en) Insulating device backpack
US11186422B2 (en) Insulating device and method for forming insulating device
US12338056B2 (en) Insulating device
AU2018279644B2 (en) Insulating device
US12012274B2 (en) Insulating device backpack
US10143282B2 (en) Insulating device
CA3024101C (en) Insulating device
US10029842B2 (en) Insulating device
EP3727075B1 (en) Insulating device backpack

Legal Events

Date Code Title Description
STAA Information on the status of an ep patent application or granted ep patent

Free format text: STATUS: UNKNOWN

STAA Information on the status of an ep patent application or granted ep patent

Free format text: STATUS: THE INTERNATIONAL PUBLICATION HAS BEEN MADE

PUAI Public reference made under article 153(3) epc to a published international application that has entered the european phase

Free format text: ORIGINAL CODE: 0009012

STAA Information on the status of an ep patent application or granted ep patent

Free format text: STATUS: REQUEST FOR EXAMINATION WAS MADE

17P Request for examination filed

Effective date: 20200408

AK Designated contracting states

Kind code of ref document: A1

Designated state(s): AL AT BE BG CH CY CZ DE DK EE ES FI FR GB GR HR HU IE IS IT LI LT LU LV MC MK MT NL NO PL PT RO RS SE SI SK SM TR

AX Request for extension of the european patent

Extension state: BA ME

DAV Request for validation of the european patent (deleted)
DAX Request for extension of the european patent (deleted)
STAA Information on the status of an ep patent application or granted ep patent

Free format text: STATUS: EXAMINATION IS IN PROGRESS

17Q First examination report despatched

Effective date: 20210628

P01 Opt-out of the competence of the unified patent court (upc) registered

Effective date: 20230517

GRAP Despatch of communication of intention to grant a patent

Free format text: ORIGINAL CODE: EPIDOSNIGR1

STAA Information on the status of an ep patent application or granted ep patent

Free format text: STATUS: GRANT OF PATENT IS INTENDED

INTG Intention to grant announced

Effective date: 20230727

GRAJ Information related to disapproval of communication of intention to grant by the applicant or resumption of examination proceedings by the epo deleted

Free format text: ORIGINAL CODE: EPIDOSDIGR1

STAA Information on the status of an ep patent application or granted ep patent

Free format text: STATUS: EXAMINATION IS IN PROGRESS

GRAS Grant fee paid

Free format text: ORIGINAL CODE: EPIDOSNIGR3

STAA Information on the status of an ep patent application or granted ep patent

Free format text: STATUS: GRANT OF PATENT IS INTENDED

GRAS Grant fee paid

Free format text: ORIGINAL CODE: EPIDOSNIGR3

GRAP Despatch of communication of intention to grant a patent

Free format text: ORIGINAL CODE: EPIDOSNIGR1

INTC Intention to grant announced (deleted)
INTG Intention to grant announced

Effective date: 20231120

GRAJ Information related to disapproval of communication of intention to grant by the applicant or resumption of examination proceedings by the epo deleted

Free format text: ORIGINAL CODE: EPIDOSDIGR1

GRAL Information related to payment of fee for publishing/printing deleted

Free format text: ORIGINAL CODE: EPIDOSDIGR3

STAA Information on the status of an ep patent application or granted ep patent

Free format text: STATUS: EXAMINATION IS IN PROGRESS

GRAP Despatch of communication of intention to grant a patent

Free format text: ORIGINAL CODE: EPIDOSNIGR1

STAA Information on the status of an ep patent application or granted ep patent

Free format text: STATUS: GRANT OF PATENT IS INTENDED

INTC Intention to grant announced (deleted)
INTG Intention to grant announced

Effective date: 20240227

GRAA (expected) grant

Free format text: ORIGINAL CODE: 0009210

STAA Information on the status of an ep patent application or granted ep patent

Free format text: STATUS: THE PATENT HAS BEEN GRANTED

RAP3 Party data changed (applicant data changed or rights of an application transferred)

Owner name: YETI COOLERS, LLC

AK Designated contracting states

Kind code of ref document: B1

Designated state(s): AL AT BE BG CH CY CZ DE DK EE ES FI FR GB GR HR HU IE IS IT LI LT LU LV MC MK MT NL NO PL PT RO RS SE SI SK SM TR

REG Reference to a national code

Ref country code: GB

Ref legal event code: FG4D

REG Reference to a national code

Ref country code: CH

Ref legal event code: EP

REG Reference to a national code

Ref country code: IE

Ref legal event code: FG4D

REG Reference to a national code

Ref country code: DE

Ref legal event code: R096

Ref document number: 602018070593

Country of ref document: DE

REG Reference to a national code

Ref country code: FI

Ref legal event code: FGE

REG Reference to a national code

Ref country code: DK

Ref legal event code: T3

Effective date: 20240822

REG Reference to a national code

Ref country code: NL

Ref legal event code: FP

REG Reference to a national code

Ref country code: SE

Ref legal event code: TRGR

PG25 Lapsed in a contracting state [announced via postgrant information from national office to epo]

Ref country code: BG

Free format text: LAPSE BECAUSE OF FAILURE TO SUBMIT A TRANSLATION OF THE DESCRIPTION OR TO PAY THE FEE WITHIN THE PRESCRIBED TIME-LIMIT

Effective date: 20240612

PG25 Lapsed in a contracting state [announced via postgrant information from national office to epo]

Ref country code: HR

Free format text: LAPSE BECAUSE OF FAILURE TO SUBMIT A TRANSLATION OF THE DESCRIPTION OR TO PAY THE FEE WITHIN THE PRESCRIBED TIME-LIMIT

Effective date: 20240612

REG Reference to a national code

Ref country code: LT

Ref legal event code: MG9D

PG25 Lapsed in a contracting state [announced via postgrant information from national office to epo]

Ref country code: GR

Free format text: LAPSE BECAUSE OF FAILURE TO SUBMIT A TRANSLATION OF THE DESCRIPTION OR TO PAY THE FEE WITHIN THE PRESCRIBED TIME-LIMIT

Effective date: 20240913

PG25 Lapsed in a contracting state [announced via postgrant information from national office to epo]

Ref country code: ES

Free format text: LAPSE BECAUSE OF FAILURE TO SUBMIT A TRANSLATION OF THE DESCRIPTION OR TO PAY THE FEE WITHIN THE PRESCRIBED TIME-LIMIT

Effective date: 20240612

PG25 Lapsed in a contracting state [announced via postgrant information from national office to epo]

Ref country code: LV

Free format text: LAPSE BECAUSE OF FAILURE TO SUBMIT A TRANSLATION OF THE DESCRIPTION OR TO PAY THE FEE WITHIN THE PRESCRIBED TIME-LIMIT

Effective date: 20240612

PG25 Lapsed in a contracting state [announced via postgrant information from national office to epo]

Ref country code: LV

Free format text: LAPSE BECAUSE OF FAILURE TO SUBMIT A TRANSLATION OF THE DESCRIPTION OR TO PAY THE FEE WITHIN THE PRESCRIBED TIME-LIMIT

Effective date: 20240612

Ref country code: HR

Free format text: LAPSE BECAUSE OF FAILURE TO SUBMIT A TRANSLATION OF THE DESCRIPTION OR TO PAY THE FEE WITHIN THE PRESCRIBED TIME-LIMIT

Effective date: 20240612

Ref country code: GR

Free format text: LAPSE BECAUSE OF FAILURE TO SUBMIT A TRANSLATION OF THE DESCRIPTION OR TO PAY THE FEE WITHIN THE PRESCRIBED TIME-LIMIT

Effective date: 20240913

Ref country code: ES

Free format text: LAPSE BECAUSE OF FAILURE TO SUBMIT A TRANSLATION OF THE DESCRIPTION OR TO PAY THE FEE WITHIN THE PRESCRIBED TIME-LIMIT

Effective date: 20240612

Ref country code: BG

Free format text: LAPSE BECAUSE OF FAILURE TO SUBMIT A TRANSLATION OF THE DESCRIPTION OR TO PAY THE FEE WITHIN THE PRESCRIBED TIME-LIMIT

Effective date: 20240612

Ref country code: RS

Free format text: LAPSE BECAUSE OF FAILURE TO SUBMIT A TRANSLATION OF THE DESCRIPTION OR TO PAY THE FEE WITHIN THE PRESCRIBED TIME-LIMIT

Effective date: 20240912

REG Reference to a national code

Ref country code: AT

Ref legal event code: MK05

Ref document number: 1693453

Country of ref document: AT

Kind code of ref document: T

Effective date: 20240612

PG25 Lapsed in a contracting state [announced via postgrant information from national office to epo]

Ref country code: PT

Free format text: LAPSE BECAUSE OF FAILURE TO SUBMIT A TRANSLATION OF THE DESCRIPTION OR TO PAY THE FEE WITHIN THE PRESCRIBED TIME-LIMIT

Effective date: 20241014

PG25 Lapsed in a contracting state [announced via postgrant information from national office to epo]

Ref country code: PT

Free format text: LAPSE BECAUSE OF FAILURE TO SUBMIT A TRANSLATION OF THE DESCRIPTION OR TO PAY THE FEE WITHIN THE PRESCRIBED TIME-LIMIT

Effective date: 20241014

PG25 Lapsed in a contracting state [announced via postgrant information from national office to epo]

Ref country code: PL

Free format text: LAPSE BECAUSE OF FAILURE TO SUBMIT A TRANSLATION OF THE DESCRIPTION OR TO PAY THE FEE WITHIN THE PRESCRIBED TIME-LIMIT

Effective date: 20240612

PG25 Lapsed in a contracting state [announced via postgrant information from national office to epo]

Ref country code: EE

Free format text: LAPSE BECAUSE OF FAILURE TO SUBMIT A TRANSLATION OF THE DESCRIPTION OR TO PAY THE FEE WITHIN THE PRESCRIBED TIME-LIMIT

Effective date: 20240612

PG25 Lapsed in a contracting state [announced via postgrant information from national office to epo]

Ref country code: IS

Free format text: LAPSE BECAUSE OF FAILURE TO SUBMIT A TRANSLATION OF THE DESCRIPTION OR TO PAY THE FEE WITHIN THE PRESCRIBED TIME-LIMIT

Effective date: 20241012

Ref country code: AT

Free format text: LAPSE BECAUSE OF FAILURE TO SUBMIT A TRANSLATION OF THE DESCRIPTION OR TO PAY THE FEE WITHIN THE PRESCRIBED TIME-LIMIT

Effective date: 20240612

PG25 Lapsed in a contracting state [announced via postgrant information from national office to epo]

Ref country code: CZ

Free format text: LAPSE BECAUSE OF FAILURE TO SUBMIT A TRANSLATION OF THE DESCRIPTION OR TO PAY THE FEE WITHIN THE PRESCRIBED TIME-LIMIT

Effective date: 20240612

PG25 Lapsed in a contracting state [announced via postgrant information from national office to epo]

Ref country code: SK

Free format text: LAPSE BECAUSE OF FAILURE TO SUBMIT A TRANSLATION OF THE DESCRIPTION OR TO PAY THE FEE WITHIN THE PRESCRIBED TIME-LIMIT

Effective date: 20240612

Ref country code: RO

Free format text: LAPSE BECAUSE OF FAILURE TO SUBMIT A TRANSLATION OF THE DESCRIPTION OR TO PAY THE FEE WITHIN THE PRESCRIBED TIME-LIMIT

Effective date: 20240612

PG25 Lapsed in a contracting state [announced via postgrant information from national office to epo]

Ref country code: SM

Free format text: LAPSE BECAUSE OF FAILURE TO SUBMIT A TRANSLATION OF THE DESCRIPTION OR TO PAY THE FEE WITHIN THE PRESCRIBED TIME-LIMIT

Effective date: 20240612

PG25 Lapsed in a contracting state [announced via postgrant information from national office to epo]

Ref country code: SM

Free format text: LAPSE BECAUSE OF FAILURE TO SUBMIT A TRANSLATION OF THE DESCRIPTION OR TO PAY THE FEE WITHIN THE PRESCRIBED TIME-LIMIT

Effective date: 20240612

Ref country code: SK

Free format text: LAPSE BECAUSE OF FAILURE TO SUBMIT A TRANSLATION OF THE DESCRIPTION OR TO PAY THE FEE WITHIN THE PRESCRIBED TIME-LIMIT

Effective date: 20240612

Ref country code: RO

Free format text: LAPSE BECAUSE OF FAILURE TO SUBMIT A TRANSLATION OF THE DESCRIPTION OR TO PAY THE FEE WITHIN THE PRESCRIBED TIME-LIMIT

Effective date: 20240612

Ref country code: PL

Free format text: LAPSE BECAUSE OF FAILURE TO SUBMIT A TRANSLATION OF THE DESCRIPTION OR TO PAY THE FEE WITHIN THE PRESCRIBED TIME-LIMIT

Effective date: 20240612

Ref country code: IS

Free format text: LAPSE BECAUSE OF FAILURE TO SUBMIT A TRANSLATION OF THE DESCRIPTION OR TO PAY THE FEE WITHIN THE PRESCRIBED TIME-LIMIT

Effective date: 20241012

Ref country code: EE

Free format text: LAPSE BECAUSE OF FAILURE TO SUBMIT A TRANSLATION OF THE DESCRIPTION OR TO PAY THE FEE WITHIN THE PRESCRIBED TIME-LIMIT

Effective date: 20240612

Ref country code: CZ

Free format text: LAPSE BECAUSE OF FAILURE TO SUBMIT A TRANSLATION OF THE DESCRIPTION OR TO PAY THE FEE WITHIN THE PRESCRIBED TIME-LIMIT

Effective date: 20240612

Ref country code: AT

Free format text: LAPSE BECAUSE OF FAILURE TO SUBMIT A TRANSLATION OF THE DESCRIPTION OR TO PAY THE FEE WITHIN THE PRESCRIBED TIME-LIMIT

Effective date: 20240612

REG Reference to a national code

Ref country code: DE

Ref legal event code: R097

Ref document number: 602018070593

Country of ref document: DE

PLBE No opposition filed within time limit

Free format text: ORIGINAL CODE: 0009261

STAA Information on the status of an ep patent application or granted ep patent

Free format text: STATUS: NO OPPOSITION FILED WITHIN TIME LIMIT

PGFP Annual fee paid to national office [announced via postgrant information from national office to epo]

Ref country code: CH

Payment date: 20250101

Year of fee payment: 7

26N No opposition filed

Effective date: 20250313

PG25 Lapsed in a contracting state [announced via postgrant information from national office to epo]

Ref country code: MC

Free format text: LAPSE BECAUSE OF FAILURE TO SUBMIT A TRANSLATION OF THE DESCRIPTION OR TO PAY THE FEE WITHIN THE PRESCRIBED TIME-LIMIT

Effective date: 20240612

PG25 Lapsed in a contracting state [announced via postgrant information from national office to epo]

Ref country code: LU

Free format text: LAPSE BECAUSE OF NON-PAYMENT OF DUE FEES

Effective date: 20241217

REG Reference to a national code

Ref country code: BE

Ref legal event code: MM

Effective date: 20241231

PG25 Lapsed in a contracting state [announced via postgrant information from national office to epo]

Ref country code: BE

Free format text: LAPSE BECAUSE OF NON-PAYMENT OF DUE FEES

Effective date: 20241231

PGFP Annual fee paid to national office [announced via postgrant information from national office to epo]

Ref country code: NL

Payment date: 20251003

Year of fee payment: 8

REG Reference to a national code

Ref country code: CH

Ref legal event code: U11

Free format text: ST27 STATUS EVENT CODE: U-0-0-U10-U11 (AS PROVIDED BY THE NATIONAL OFFICE)

Effective date: 20260101

PGFP Annual fee paid to national office [announced via postgrant information from national office to epo]

Ref country code: DE

Payment date: 20250930

Year of fee payment: 8

PGFP Annual fee paid to national office [announced via postgrant information from national office to epo]

Ref country code: GB

Payment date: 20251001

Year of fee payment: 8

PGFP Annual fee paid to national office [announced via postgrant information from national office to epo]

Ref country code: NO

Payment date: 20251210

Year of fee payment: 8

PGFP Annual fee paid to national office [announced via postgrant information from national office to epo]

Ref country code: IT

Payment date: 20251121

Year of fee payment: 8

Ref country code: FI

Payment date: 20251211

Year of fee payment: 8

Ref country code: DK

Payment date: 20251212

Year of fee payment: 8

PGFP Annual fee paid to national office [announced via postgrant information from national office to epo]

Ref country code: FR

Payment date: 20251008

Year of fee payment: 8

PGFP Annual fee paid to national office [announced via postgrant information from national office to epo]

Ref country code: SE

Payment date: 20251001

Year of fee payment: 8

PGFP Annual fee paid to national office [announced via postgrant information from national office to epo]

Ref country code: IE

Payment date: 20251001

Year of fee payment: 8