EP3130865B1 - Bouche autoalimentée à régulation de débit et procédé de régulation d'une installation vmc associée - Google Patents
Bouche autoalimentée à régulation de débit et procédé de régulation d'une installation vmc associée Download PDFInfo
- Publication number
- EP3130865B1 EP3130865B1 EP16183800.8A EP16183800A EP3130865B1 EP 3130865 B1 EP3130865 B1 EP 3130865B1 EP 16183800 A EP16183800 A EP 16183800A EP 3130865 B1 EP3130865 B1 EP 3130865B1
- Authority
- EP
- European Patent Office
- Prior art keywords
- ventilation
- flow rate
- installation
- outlet
- operating
- Prior art date
- Legal status (The legal status is an assumption and is not a legal conclusion. Google has not performed a legal analysis and makes no representation as to the accuracy of the status listed.)
- Revoked
Links
- 238000009434 installation Methods 0.000 title claims description 123
- 238000000034 method Methods 0.000 title claims description 23
- 238000009423 ventilation Methods 0.000 claims description 244
- 238000005259 measurement Methods 0.000 claims description 43
- 238000004458 analytical method Methods 0.000 claims description 28
- 230000001105 regulatory effect Effects 0.000 claims description 16
- 238000004891 communication Methods 0.000 claims description 10
- 230000006641 stabilisation Effects 0.000 claims description 6
- 230000004048 modification Effects 0.000 claims description 4
- 238000012986 modification Methods 0.000 claims description 4
- 238000011105 stabilization Methods 0.000 claims description 4
- 230000005611 electricity Effects 0.000 claims description 3
- 239000003570 air Substances 0.000 description 92
- 230000033228 biological regulation Effects 0.000 description 40
- 230000006870 function Effects 0.000 description 24
- 230000008859 change Effects 0.000 description 15
- 238000000605 extraction Methods 0.000 description 15
- 230000001965 increasing effect Effects 0.000 description 8
- 238000011084 recovery Methods 0.000 description 6
- 239000012530 fluid Substances 0.000 description 5
- 238000003860 storage Methods 0.000 description 5
- 230000003416 augmentation Effects 0.000 description 4
- 239000003990 capacitor Substances 0.000 description 4
- 230000003247 decreasing effect Effects 0.000 description 4
- 230000002829 reductive effect Effects 0.000 description 4
- 239000012855 volatile organic compound Substances 0.000 description 4
- 230000004913 activation Effects 0.000 description 3
- 238000006243 chemical reaction Methods 0.000 description 3
- 238000001514 detection method Methods 0.000 description 3
- 238000010586 diagram Methods 0.000 description 3
- 238000012423 maintenance Methods 0.000 description 3
- 230000007257 malfunction Effects 0.000 description 3
- 238000004519 manufacturing process Methods 0.000 description 3
- 238000012545 processing Methods 0.000 description 3
- 230000008901 benefit Effects 0.000 description 2
- 238000004364 calculation method Methods 0.000 description 2
- 230000000295 complement effect Effects 0.000 description 2
- 230000007423 decrease Effects 0.000 description 2
- 230000007547 defect Effects 0.000 description 2
- 230000002950 deficient Effects 0.000 description 2
- 238000004146 energy storage Methods 0.000 description 2
- 238000005516 engineering process Methods 0.000 description 2
- 230000001939 inductive effect Effects 0.000 description 2
- 230000033001 locomotion Effects 0.000 description 2
- 238000005399 mechanical ventilation Methods 0.000 description 2
- 230000008569 process Effects 0.000 description 2
- 239000012080 ambient air Substances 0.000 description 1
- 238000007664 blowing Methods 0.000 description 1
- 230000001276 controlling effect Effects 0.000 description 1
- 238000010411 cooking Methods 0.000 description 1
- 230000001419 dependent effect Effects 0.000 description 1
- 238000013461 design Methods 0.000 description 1
- 230000001627 detrimental effect Effects 0.000 description 1
- 238000006073 displacement reaction Methods 0.000 description 1
- 238000009826 distribution Methods 0.000 description 1
- 239000000428 dust Substances 0.000 description 1
- 230000000694 effects Effects 0.000 description 1
- 239000006260 foam Substances 0.000 description 1
- 238000010438 heat treatment Methods 0.000 description 1
- 230000006872 improvement Effects 0.000 description 1
- 230000002427 irreversible effect Effects 0.000 description 1
- -1 light Substances 0.000 description 1
- 230000000670 limiting effect Effects 0.000 description 1
- 230000000873 masking effect Effects 0.000 description 1
- 239000000463 material Substances 0.000 description 1
- 230000007246 mechanism Effects 0.000 description 1
- 238000011022 operating instruction Methods 0.000 description 1
- 230000008520 organization Effects 0.000 description 1
- 239000002245 particle Substances 0.000 description 1
- 230000000737 periodic effect Effects 0.000 description 1
- 230000002093 peripheral effect Effects 0.000 description 1
- 238000003672 processing method Methods 0.000 description 1
- 230000000750 progressive effect Effects 0.000 description 1
- 230000035484 reaction time Effects 0.000 description 1
- 230000009257 reactivity Effects 0.000 description 1
- 230000008685 targeting Effects 0.000 description 1
- 239000004753 textile Substances 0.000 description 1
- 238000013519 translation Methods 0.000 description 1
- 238000011144 upstream manufacturing Methods 0.000 description 1
Images
Classifications
-
- F—MECHANICAL ENGINEERING; LIGHTING; HEATING; WEAPONS; BLASTING
- F24—HEATING; RANGES; VENTILATING
- F24F—AIR-CONDITIONING; AIR-HUMIDIFICATION; VENTILATION; USE OF AIR CURRENTS FOR SCREENING
- F24F11/00—Control or safety arrangements
- F24F11/70—Control systems characterised by their outputs; Constructional details thereof
- F24F11/72—Control systems characterised by their outputs; Constructional details thereof for controlling the supply of treated air, e.g. its pressure
- F24F11/74—Control systems characterised by their outputs; Constructional details thereof for controlling the supply of treated air, e.g. its pressure for controlling air flow rate or air velocity
-
- F—MECHANICAL ENGINEERING; LIGHTING; HEATING; WEAPONS; BLASTING
- F24—HEATING; RANGES; VENTILATING
- F24F—AIR-CONDITIONING; AIR-HUMIDIFICATION; VENTILATION; USE OF AIR CURRENTS FOR SCREENING
- F24F13/00—Details common to, or for air-conditioning, air-humidification, ventilation or use of air currents for screening
- F24F13/08—Air-flow control members, e.g. louvres, grilles, flaps or guide plates
- F24F13/10—Air-flow control members, e.g. louvres, grilles, flaps or guide plates movable, e.g. dampers
- F24F13/14—Air-flow control members, e.g. louvres, grilles, flaps or guide plates movable, e.g. dampers built up of tilting members, e.g. louvre
- F24F13/1426—Air-flow control members, e.g. louvres, grilles, flaps or guide plates movable, e.g. dampers built up of tilting members, e.g. louvre characterised by actuating means
-
- F—MECHANICAL ENGINEERING; LIGHTING; HEATING; WEAPONS; BLASTING
- F24—HEATING; RANGES; VENTILATING
- F24F—AIR-CONDITIONING; AIR-HUMIDIFICATION; VENTILATION; USE OF AIR CURRENTS FOR SCREENING
- F24F13/00—Details common to, or for air-conditioning, air-humidification, ventilation or use of air currents for screening
- F24F13/02—Ducting arrangements
- F24F13/06—Outlets for directing or distributing air into rooms or spaces, e.g. ceiling air diffuser
-
- F—MECHANICAL ENGINEERING; LIGHTING; HEATING; WEAPONS; BLASTING
- F24—HEATING; RANGES; VENTILATING
- F24F—AIR-CONDITIONING; AIR-HUMIDIFICATION; VENTILATION; USE OF AIR CURRENTS FOR SCREENING
- F24F11/00—Control or safety arrangements
- F24F11/30—Control or safety arrangements for purposes related to the operation of the system, e.g. for safety or monitoring
- F24F11/46—Improving electric energy efficiency or saving
-
- F—MECHANICAL ENGINEERING; LIGHTING; HEATING; WEAPONS; BLASTING
- F24—HEATING; RANGES; VENTILATING
- F24F—AIR-CONDITIONING; AIR-HUMIDIFICATION; VENTILATION; USE OF AIR CURRENTS FOR SCREENING
- F24F2110/00—Control inputs relating to air properties
- F24F2110/30—Velocity
Definitions
- the invention relates to the general field of ventilation systems for premises for private or professional use. It relates more particularly to the ventilation openings which equip such systems.
- ventilation mouth is meant here a device serving as a termination at the end of a ventilation duct which opens into a room, this termination having both an aesthetic role in masking the orifice through which the duct opens in the room and distribution, limitation, adjustment or modulation of the air flow circulating through this opening.
- an extraction mouth can be dimensioned to extract 30m 3 / h for a vacuum maintained between 50Pa and 160Pa. Below and above this range, the flow rate of 30m3 / h will no longer be unconditionally maintained.
- extraction vents designed, such as humidity-sensitive vents, to modulate the air flow which passes through them by means of a flap, but for which the adjustment of the position of the flap in the orifice of the mouth responds.
- another criterion which can be air quality (VOC, CO2 for example), the presence of a user (motion sensor, microphone) or even a user request (activation of high flow kitchen).
- VOC air quality
- CO2 motion sensor
- activation of high flow kitchen activation of high flow kitchen
- each outlet will be subjected to a different suction pressure, depending on its position in the air network. It follows that for the same ventilation requirement conditions (humidity detection, presence or user request), the flow rates ventilated by each of the vents will be different.
- the centralized ventilation systems are sized and adjusted at the installation to maintain an operating regime adapted to meet the maximum need for flow and pressure of the installation.
- This may, for example, be a maintenance of a constant suction pressure of the ventilation unit, adapted to guarantee a minimum operating pressure at each of the ventilation outlets and in particular at the level of the most disadvantaged mouth. in pressure, when all the vents are in the “open” position (that is to say in maximum demand for flow) and the pressure drops in the aeraulic network are maximum.
- envelope requirement is meant the supply of a satisfactory pressure and approaching the most disadvantaged mouth pressure requirement, whatever the flow rate.
- this envelope need is by definition beyond the real need, this real need cannot be determined because the position of the mouths which open is not exactly known at the time of group design or installation. Such a system is therefore not capable of adjusting its suction pressure to the exact need of the most disadvantaged mouth pressure.
- This system rather dedicated to collective ventilation, includes a ventilation group modulated on the basis of an all-or-nothing sensor at the bottom of the column, or in other words, placed on the ends of the network of ventilation ducts.
- the modulation implemented aims to determine the right need for network pressure. It is a function of a change of state of said sensor particularly targeting the most disadvantaged mouth. Different levels of regulation are discussed.
- the box detailed in this patent examines the need and is here preferentially regulated in constant pressure with constantly variable reference.
- this modulation aims to decrease the pressure setpoint until a change in state indicates that the pressure is insufficient, or if necessary increase the pressure setpoint until a change of state of this sensor indicates that the pressure supplied is sufficient without necessarily being excessive.
- the regulation of the box aims, among other things, to detect an optimal pressure level by successive iterations of the modulation of the group pressure, and by scanning the flow rate, to deduce therefrom the common regulation range of all the mouths of the 'installation.
- An object of the invention is to provide a ventilation opening making it possible to respond to the drawbacks described above by ensuring by itself, completely autonomously, fine and rapid regulation of the air flow which passes through it for a wider pressure range, this air flow being regulated with respect to a fixed setpoint or an adjustable setpoint based on external data such as, but not limited to, indoor air quality (IAQ) measurements.
- IAQ indoor air quality
- Another object of the invention is to propose a ventilation opening having means making it possible to achieve the aim stated above, which is capable of ensuring the operation of these means without a wired electrical power supply or communication link to facilitate them. installation, and without regular intervention, in particular to change the cells or batteries, to facilitate maintenance.
- the subject of the invention is a ventilation opening for a ventilation installation according to claim 1.
- the ventilation opening may have different additional characteristics.
- the flow sensor comprises an a somehowlic turbine configured to be driven in rotation by the air flow passing through the duct, mechanically coupled to a generator producing an alternating electric current the frequency of which varies directly as a function of the speed of rotation of the turbine, the electrical signal produced by the generator constituting both the autonomous electrical energy source supplying energy to the measurement and control circuit and the electrical signal used by said measurement and control circuit for determining the value of the air flow captured.
- the flow modulator circuit comprises a shutter configured to shut off, on command of the measurement and control element, all or part of the air circulation duct so as to regulate the air flow through this duct; the flow modulator circuit being supplied with electricity by the autonomous electrical energy source integrated into the ventilation opening.
- the flow modulator circuit comprises means for applying a variable load to the flow sensor, the value of the applied load being controlled by the measurement and control circuit.
- the electronic measurement and control circuit is configured so as to transmit an operation command to the flow regulation circuit, said command being determined, by comparison of the value of air flow rate measured with a given set air flow value, so as to maintain the flow measured through the mouth substantially equal to the set value.
- the ventilation mouth according to the invention further comprises at least one sensor making it possible to determine a specific ventilation need in the area of the space where the mouth is installed, supplied with electrical energy by the autonomous electrical energy source integrated into the ventilation opening and supplying the measurement and control circuit with measurements of one or more parameters accounting for said specific ventilation need, the flow rate setpoint determining the control of the flow modulator circuit being defined as a function of the values of the parameters measured by said at least one sensor.
- the sensor making it possible to determine a need for ventilation is an air quality sensor.
- the electronic measurement and control circuit is configured to transmit, to one or more recipients, information relating to the measured air flow rate and / or to the operating state of the ventilation opening.
- the measurement and control circuit is configured to receive from one or more senders information relating to the operating state of said senders and / or operating commands intended to modify the state of operation of the ventilation opening.
- the measurement and control circuit includes communication means allowing it to communicate with remote elements by wireless link.
- the invention also relates to a ventilation installation of a building, which comprises a central ventilation group and at least one ventilation outlet according to the invention, each outlet being connected to the central ventilation group by via a network of ventilation ducts, the central ventilation group being configured to be able to vary its operating state in terms of pressure and / or flow rate.
- the central ventilation group includes a control member configured to receive the information transmitted by each equipped mouth and make vary its operating state in pressure and / or flow according to said information.
- the central ventilation group comprises means for measuring the air flow passing through it.
- the fourth step of modifying the reference regime Rc modifies the value of said regime by an increment ⁇ R negative or positive depending on whether the variation of the value of the parameter or parameters taken into account for the analysis is consistent or not to a reference value.
- the third step of analysis of the iterative phase comprises an operation measuring the air flow and analyzing the variation of this value over iterations.
- the third acquisition and analysis step comprises an operation of reading the state information transmitted by each of the ventilation openings considered and of comparing this state with a given reference state.
- the ventilation outlets according to the invention have an autonomous system for regulating flow more precise than existing ventilation outlets, including existing outlets with mechanically self-regulated flow.
- the ventilation openings according to the invention also make it possible to achieve, at the level of the ventilation installations, both a significant acoustic gain and a first significant energy gain, due to their ability to work with lower pressure levels.
- the ventilation openings according to the invention also have increased functionalities insofar as, due to the presence of an autonomous source of electrical power, it is possible to provide new functionalities to the occupants of the building or to increase the performance of the ventilation installation without necessarily having to draw connection cables or to provide for the installation of a battery power supply by nature not autonomous and requiring regular maintenance (recharging or replacement).
- the invention consists, according to a first aspect, of a ventilation outlet with self-regulating air flow, integrating means allowing it to regulate in a fine and rapid manner the air flow which passes through it and this for a range of variation of the given suction pressure applied downstream thereof.
- the ventilation opening 10 mainly comprises, as illustrated functionally, the figure 1 , an air circulation duct 11, also called a sleeve, intended to be connected to the end of a pipe of the general ventilation system.
- This ventilation mouth 10 also includes at least one air flow sensor 12, carried by this mouth and configured to capture the air flow circulating in the mouth and convert the captured air flow into an electrical signal 18 including one measurable characteristic is a direct function of the flow rate of the air flow intercepted by the sensor 12.
- the ventilation mouth 10 also includes a measurement and control circuit 13 also carried by this mouth, and configured to analyze the electrical signal 18 produced by the flow sensor 12 and determine the value of the flow corresponding to the processed signal. .
- the ventilation mouth 10 further comprises an autonomous source of electrical energy production 14 capable of supplying all the elements of the mouth requiring a supply of electricity.
- autonomous source of energy production is meant here a source capable of producing electrical energy without it being necessary to carry out any intervention to ensure its operation.
- This source can for example be of an aeraulic or photovoltaic nature.
- the ventilation mouth 10 also comprises an air flow modulation circuit 15, carried by this mouth and supplied by the autonomous power source of the mouth 14.
- This circuit includes means for varying the flow of air passing through the mouth, the variation in flow rate being controlled by the measurement and control circuit 13 through a control signal 19 delivered by the latter.
- these means can be configured to modulate the air flow through the mouth themselves by more or less closing the latter.
- these means can be configured to apply a variable load to the flow sensor 12.
- This variable load can, depending on the structure of the flow sensor 12 considered, consist of a variable mechanical or electrical load acting on the flow sensor 12 so to modify its behavior so that it alters the passage of the air flow through the ventilation opening and thus limits the flow rate.
- the value of the applied load is in this case controlled by the measurement and control circuit 13.
- the measurement and control circuit 13 is configured so as to develop a flow variation command 19 which depends in particular on the flow measured by means of the flow sensor.
- This command is mainly developed by comparing the measured flow with a set flow value stored in the measurement and control circuit 13. It can therefore be a type of control of the flow flowing through the mouth .
- this instruction can be a fixed instruction or an instruction chosen from a table as a function of additional parameters transmitted to the measurement and control circuit 13.
- the ventilation mouth 10 can also consist of state information capable of influencing the functioning of the ventilation mouth 10.
- This state information can for example indicate the presence of individuals in the space ventilated by the ventilation mouth considered, presence detected by a presence sensor. It can also correspond to a user instruction, for example the manual activation of the “kitchen over-ventilation” at a ventilation opening placed in a kitchen. It can also, for example, consist of information relating to the entry into a particular period of the day, information which can be delivered by an internal clock to the ventilation mouth, information which can also be updated by a central management body.
- the ventilation mouth according to the invention is preferably equipped with communication means 17, preferably wireless communication means, allowing it to exchange information with external elements.
- the various means described above are carried by the mouth 10. They are arranged and connected to each other in such a way so that the electrical signal 18 produced by the flow sensor is transmitted to the measurement and control circuit 13 and is processed by the latter so as to determine the current flow of air through the mouth and to develop the command 19 to be transmitted to the flow modulation circuit 15 so as to adjust the flow rate from the mouth 10 to a value substantially equal to the determined set value.
- the regulation of the air flow rate passing through the ventilation mouth 10 is a closed loop regulation, carried out at from a measured flow, by means known to those skilled in the art.
- This regulation allows operation in a substantially wider pressure range and can especially be initiated at a lower pressure level, ranging for example from 10 to 200 Pa, the minimum operating pressure being solely related to the pressure drop. of the mouth, and in particular its energy recovery.
- the various elements of the ventilation mouth according to the invention namely the air flow sensor 12, the measurement and control circuit 13, the flow modulation circuit air 15 and the independent source of electrical energy production 14 can be configured to be housed inside the air circulation duct, the sleeve, 11.
- the quality sensor of air 16 can be configured to be housed inside the air circulation duct, the sleeve, 11.
- FIG. 2 schematically show a particular embodiment of a ventilation opening 10 according to the invention.
- This particular embodiment is presented here to highlight the advantageous characteristics of this first aspect of the invention and is in no way intended to limit its scope or extent.
- the device according to the invention consists of a ventilation opening 100 intended to be fixed to an air extraction duct 200, the air flow being illustrated by arrows on the figure 2A , is associated with a detection device of at least one air parameter, namely the air flow in the duct 200, carried by the mouth.
- the ventilation mouth 100 here comprises an aesthetic facade plate 100A forming the front external surface intended to be visible in the room of the room and secured to a tubular cuff 100B forming an air circulation duct, intended to be fitted into an orifice in a wall M, as illustrated in the figure 2 , and at the end of which the sheath 200 is fixed by interlocking, itself connected to an aeraulic network connected to a centralized ventilation group of the controlled mechanical ventilation type.
- the ventilation opening 100 also includes an air flow sensor, fulfilling the function of sensor 12 of the figure 1 , which itself comprises a device for detecting the air flow constituted by a turbine 300 disposed at the rear of the external front surface 100A and more precisely, in this case near the end of the cuff 100B connected to the ventilation duct 200.
- This turbine 300 is a helical turbine whose axis of rotation is substantially parallel to the longitudinal axis AA of the mouth.
- the air flow sensor also includes a generator 500A, the axis of which is secured by interlocking with the axis of the turbine 300.
- the generator 500 ensures the conversion of the rotation of the turbine 300 into an electrical signal, of the alternative type.
- the generator 500 includes a permanent magnet rotating within the space delimited by a set of coils.
- the generator 500A of the air flow sensor and the electronic card 500B of the measurement and control circuit are here housed in a casing 500C, secured to the ventilation mouth 100 by means of 500D tabs fitted, glued or welded to the set of sleeves 100B, centered on the longitudinal axis AA of the ventilation opening 100.
- the controlled mechanical ventilation group creating a suction pressure in the aunterlic network of the system a suction flow is therefore created at each mouth 100 of the system.
- This air flow rotates the aeraulic turbine 300 and, consequently, the generator 500A, which supplies the electronic card 500B with an indication of flow rate as well as electrical energy, in the form of an electrical signal whose frequency corresponding to the frequency of rotation of the turbine.
- the microcontroller measures the electrical signal produced by the generator 500A, to determine its frequency and to deduce therefrom the speed of rotation of the generator 5A. In order to facilitate frequency measurement, the microcontroller can first process the signal supplied by any suitable processing method.
- the generator 500A therefore constitutes here, both, the sensor and the energy source of the ventilation mouth 100.
- the air flow is generally substantially proportional to the speed of rotation of a helical turbine so general.
- the determination of the speed is therefore done in a simple manner from the measurement of the frequency of the signal supplied by the generator 500.
- the speed can be determined by a non-linear mathematical law, or even a predetermined value table, of the modeling type for example.
- the mouth 100 comprises a voltage converter, arranged downstream of the generator 500A, on the electronic card 500B for example.
- the purpose of this converter is to transform the alternating signal produced by the generator into stabilized direct voltage, a voltage of 3.3 volts for example.
- This converter can consist of a single component, or else consist of a diode voltage rectifier bridge, associated with a “Buck-Boost” type converter, which is a switching power supply which converts a given direct voltage into a voltage continuous stabilized with lower or higher value.
- the power supply thus produced supplies the microcontroller of the electronic card 500B, via a capacitor, the role of which is to stabilize and store energy.
- This capacitor can be dimensioned so as to serve as energy storage to allow the system to operate for a given time, one hour for example, in the absence of power supplied by the generator 500A.
- it is a second storage means that is dimensioned for this function, this second storage means, directly connected to the converter or to the microcontroller, allows better management of the energy storage and calls of current.
- the mouth 100 may comprise, alternatively, a simple rectification system stabilized in voltage by a capacity to which a switch-type member can be added, making it possible to cut off the supply of the system a once the capacitor is charged to avoid overvoltage and reload, when its load decreases. This less expensive system is however less efficient.
- the ventilation mouth 100 thus equipped with an energy recovery device consisting of its generator 500A and its voltage converter device described above, advantageously ensures its electrical self-supply.
- the turbine 300 is preferably dimensioned to the largest possible diameter in the set of sleeves 100B, so as to optimize the pressure drops. Its aerodynamic profile also allows it to be rotated at the lowest desired operating flow.
- the 100B cuff has, as illustrated on the figures 2 to 5 a constant diameter.
- the turbine 300 may have a front surface significantly smaller than the air passage section, and be housed in a specific fluid stream, parallel to the main fluid stream of cuff100B.
- the ventilation mouth 100 also includes a flow modulation arrangement associated with a motor electrically powered by the mouth, the assembly ensuring the functions of the flow modulator circuit flow modulation circuit d air 15 of the figure 1 .
- This flow modulation arrangement comprises two pivoting flaps controlled by the processing device of the 500B electronic card.
- the two modulation flaps 600A and 600B are configured and arranged so as to have an axis perpendicular to the longitudinal axis AA.
- the flaps 600A and 600B are actuated by means of a motor 600D, self-powered by the ventilation mouth, and whose threaded rotation shaft forms a worm which translates a nut 600C linked to the flaps.
- the 600D motor can be a brush type direct current motor, or even a stepping motor, for better positioning accuracy of the flaps.
- the flaps are pivoted here by an arrangement of stops 500D and a return spring 600E as illustrated in the figures 2 and 3 .
- the central casing 500C of the ventilation mouth 100 is extended in the front part by a nozzle 400 perforated longitudinally along the longitudinal axis AA, in which slides a nut 600C locked in rotation.
- This nut 600C is mechanically associated with the two modulation flaps 600A and 600B, or else the modulation flaps can be produced in one piece, incorporating the nut, as shown in the figure 4 .
- the hexagonal nut 600C in a location to its size, to block it in rotation.
- a positioning counter-nut 600C is linked to the end piece 400 by a film-type hinge, to be fixed by a clip, and thus enclose the nut 600C in its housing.
- the modulation flaps 600A and 600B are also integrated into this part by a film-type hinge.
- this assembly is connected to an axial motor 600D by a threaded shaft, rotated by this motor, and in connection with the nut 600C.
- the motor 600D is mechanically linked to the housing 500C, to prevent its translation and its rotation, for example by the shape of its location in this housing.
- the axis will allow the nut 600C to move forward or backward, the rotation of which is blocked by the openwork tip 400.
- the modulation flaps 600A and 600B are also equipped with a means of positioning by default in the folded position as shown in the figure 3 , preferably a simple spring 600E placed on either side of the longitudinal axis AA of the mouth, so as to stress them towards each other.
- a rounded shape 500D on the casing 500C ensures by pivoting stop contact the pivoting of the modulation flaps 600A and 600B.
- the screw-nut system and more precisely the displacement of the nut 600C being irreversible, the abutment and spring arrangement could be replaced by an annular ball joint type connection between the flaps 600A and 600B and the casing 500C.
- the opening or closing of the modulation flaps 600A and 600B is ensured by controlling the rotation of the motor 600D via the electronic card.
- 500B itself powered by the 500A generator.
- the pivoting of the modulation flaps 600A and 600B which constitute the flow modulation arrangement is driven by the movement of a device (the motor 600D coupled to the pivoting mechanism of the flaps) also powered by this recovery device. of energy described above.
- the position of the flaps is therefore regulated, also self-powered, by means of the generator 500A, on the basis of flow information provided by the same generator.
- the position of the flaps is typically regulated to obtain a constant flow at the level of the mouth 100, whatever the suction pressure of the network, within a certain pressure range, however.
- the regulation of the flow is carried out by slaving the position of the flaps to a set position which is a function of the flow measurement carried out.
- the figure 5 represents a variant of the embodiment of the ventilation mouth according to the invention described above and illustrated by figures 2 to 4 .
- the structure of this variant differs only from the embodiment described above, by the addition of an indoor air quality sensor 700, functionally similar to the sensor 16 of the figure 1 , which can be a humidity, CO 2 or volatile organic compound (VOC) sensor.
- an indoor air quality sensor 700 functionally similar to the sensor 16 of the figure 1 , which can be a humidity, CO 2 or volatile organic compound (VOC) sensor.
- VOC volatile organic compound
- This sensor 700 is placed in the casing 500C and, preferably, directly mounted on the electronic card 500B, for reasons of cost in particular.
- an opening 700A is also produced in the casing 500C, a peripheral seal being produced at the sensor for example by means of a workpiece adjustment. plastic, or even by a foam element or other material. This tightness thus makes it possible for the sensor to be sensitive to the quality of air passing through the mouth, while preventing it from entering the compartment containing the electronic control card, thus avoiding the risks associated with dust and moisture.
- the indoor air quality sensor 700 is also supplied by the energy recovery device described above.
- the 500B electronic card which includes a calculation unit (microcontroller), with information relating to air quality which can be taken into account by the latter to modulate the value of the set flow rate imposed on the mouth. , value calculated according to a given law or selected from different preset values stored in a table.
- the installation of this additional sensor 700 thus allows the calculation device to integrate two regulation levels leading to define the position of the flaps, namely a first level as a function of an air flow measurement, so as to obtain a constant flow rate, substantially equal to set flow; and a second level as a function of an air quality measurement, which determines this set flow rate.
- the electronic processing device can thus modulate the position of the flow modulation flaps to obtain a desired flow, a flow which depends on the level of internal air quality measured in the air passing through the mouth.
- the microcontroller of the 500B electronic card can thus control the flow modulation arrangement by comparison between a set flow and a measurement of the air flow detection device, so as to obtain a flow passing substantially through the mouth. equal to a set flow rate which takes into account the measurement results supplied by the sensor 700.
- the ventilation opening 100 described here by way of exemplary embodiment can also integrate sensors linked to the presence of the user, such as for example an infrared presence detector, or an acoustic sensor.
- the ventilation mouth described here is an air extraction mouth, the air circulating in the mouth from the ventilated space towards the ventilation duct.
- this exemplary embodiment makes it easy to understand that the ventilation mouth according to the invention can be designed on the principle described in the preceding text to function as an air extraction mouth or as an air blowing mouth.
- the difference in structure only concerns the arrangement of the air flow sensor, the turbine 300 in the previous embodiment, which must be placed in the air circulation duct so as to allow optimal energy recovery. from the air flow circulating in the mouth.
- the directions of the air, the terms upstream and downstream will be easily swapped by the skilled person to adapt the invention described here, in a mouth of insufflation.
- the invention also consists of a ventilation installation for a building incorporating one or more ventilation openings according to the invention, as described above.
- building here is meant a closed structure, the interior space of which is possibly partitioned, in which are delimited different areas of space in which the ventilation openings 10 are placed.
- the ventilation installation according to the invention conventionally comprises a central ventilation group located at a given location in the building, configured so as to be able to modulate its operating regime so as to modulate the pressure and / or the flow d aspiration at its connection to said network.
- It also includes one or more ventilation outlets 10 arranged at determined locations, the ventilation unit being connected to these outlets via a network of pipes (fluid communication pipes) to which each of the outlets 10 is connected.
- the ventilation vents used are ventilation vents 10 according to the invention, so that each of the vents is capable of regulating its flow regardless of the pressure prevailing at its outlet, c '' is to say near the junction between the mouth and the ventilation duct to which it is connected, and this in its operating pressure range.
- ventilation openings 10 according to the invention brings here, intrinsically, an improvement in operation even in the absence of any other arrangement aimed at improving the yield or the efficiency of the 'installation considered.
- the assembly of pipes - ventilation openings constitutes a variable aunterlic load that the central ventilation group must be sized to support, the final aim being that the local pressure inside each pipe, at the level of each of the ventilation openings is sufficient to allow each of the ventilation openings to ensure an air flow at least equal to a minimum prescribed flow for a local pressure varying within a given range.
- the ventilation outlets fitted to the installations known are vents which do not regulate, or at least poorly regulate, the air flow passing through them.
- the air flow rate at each outlet being likely to vary, the load imposed on the central ventilation unit is also variable and in the absence of regulation of the installation, the operating mode of the group is adjusted for respond to the culmination of this fluctuating load, so that, under certain circumstances, when the installation is incorrectly adjusted, certain ventilation outlets may have a flow rate lower than the useful flow rate and that, almost systematically, certain outlets have a flow rate significantly higher than the useful flow rate.
- This phenomenon is particularly sensitive and penalizing in terms of operating economy, because if the ventilation openings used are in particular of the self-regulating or humidity-regulating type, it is necessary to provide an oversized ventilation group capable of imposing a high pressure and, in all cases, well, greater than the pressure that would be necessary to ensure the same ventilation conditions if the vents used operated at a flow rate corresponding substantially to the flow prescribed at the time considered.
- the installation according to the invention comprises ventilation openings 10, at least some of which are equipped with wireless communication means 17, as described above.
- Each of the ventilation outlets thus equipped is able to transmit information relating to its operating state.
- it can consist of information representing the value of the flow rate measured by the ventilation opening 10 considered, or even its precise position of opening, which can thus go back to its pressure drop or any change in its regulation.
- This information is preferably transmitted to the operation management system of the central ventilation unit if the latter is provided with such a system. It can then be used to regulate the operating regime of the group.
- the installation according to the invention may also include a central ventilation group comprising a measurement system capable of measuring the air flow passing through it.
- the ventilation unit can advantageously be controlled so as to operate at a given speed for which it establishes a certain pressure taking into account the pressure losses observed and their variations, which mainly result from the variation at over time the state of some of the installation's ventilation outlets.
- the invention also consists of a method making it possible to modulate the operation of an installation comprising ventilation openings according to the invention, so that the ventilation group has at all times an optimal operating state. in terms of pressure applied to the network of pipes making up the installation.
- optimal state is meant a state for which the operating pressure of the group is determined at all times so that each of the ventilation openings which constitute the installation is applied at its outlet sufficient pressure to allow it to regulate its flow and the consumption of the group is as low as possible, in other words so that the most disadvantaged mouth in terms of pressure is at least the pressure necessary for its proper regulation.
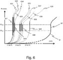
- an installation comprising ventilation openings according to the invention presents, seen from the ventilation group, a zone of particular operation 62 for which at a given time and for a given pressure range, the air flow rate passing through the group remains substantially constant.
- the operating curve (Flow, Pressure) of the complete installation is, if we consider a leak-free network, the sum of the operating curves (Flow, Pressure) 631 to 639 of the various ventilation outlets, viewed from the group of ventilation.
- the position of this area 64n on the pressure axis as well as on the flow axis varies according to the type of opening, the state of the ventilation opening considered, ie ie the flow regulated by the mouth, and the location of the mouth along the network of pipes, which will in particular condition the minimum pressure to be applied by the group to allow good regulation of the mouth.
- the method according to the invention therefore mainly consists in searching iteratively, at any time or, at least, at different times spaced from a given time interval, the operating point of the ventilation group ensuring this result.
- the organization chart of the figure 7 illustrates schematically the different operating phases of the regulation method according to the invention.
- this regime Rc is capable of evolving over a range between two regimes Rc min and Rc max , thus limiting the operating range of the installation to suitable values.
- the operating speed can be determined by means of a speed control of the group fan, a variation of the speed in more or in months inducing a pressure variation in more or less respectively, or direct pressure or torque control at the motor.
- Rci is defined as being equal to Rc min , that is to say the minimum operating speed of the box.
- the step 723 of acquisition and analysis may consist, depending on the architecture of the installation and the mode of implementation envisaged, in the acquisition and analysis of parameters measurable at the level of the ventilation group itself, the analysis being based on the various parameters memorized in the memorization step 725 of the previous iteration or of the previous iterations.
- the memorized elements considered during the analysis are typically the group speed (if the group in the previous iteration provided a satisfactory level of pressure) and / or a regime change imposed during the previous iteration (if it '' is a scrutiny by decreasing the regime or by increasing it).
- the analysis step 723 also takes into account the operating terminals Rc min and Rc max of the ventilation group. If these limits are reached for a given iteration, this step 723 will decide to make the regime changes adapted to reposition the installation in a nominal operating zone or, if necessary, trigger a malfunction intended for the user or the user. installer, or else bring a system reset, by returning to the initialization step 71.
- the exploration of all the possible operating modes of the installation between Rcmin and Rcmax without obtaining a satisfactory operating regime in terms of flow regulation can induce the modification of the analysis criteria used during the step 723 to determine the optimal character of the regime applied to the iteration considered and to the following iterations. This will be particularly useful in the event that the level of leakage from the ventilation network of the installation is higher. what is estimated or if one or more outlets of the installation does not regulate satisfactorily.
- the acquisition and analysis step 723 may alternatively, or in a complementary manner, consist, if the physical configuration of the installation as a whole and the configuration of the ventilation openings which constitute this installation allow it, by acquiring parameters defining the operating state of the outlets themselves, value of the measured flow rate or Good / Bad information as described above.
- the parameter used is a binary malfunction parameter communicated to the installation, and / or a parameter for changing the state of a mouth.
- a given mouth can communicate to the group the fact that it has detected and then made a change in its operating state and whether or not it is operating within its nominal operating pressure range.
- the ventilation openings 10 according to the invention used in this case are of the type comprising communication means 17, preferably wireless, allowing each outlet to communicate with the installation and for example to transmit to the installation a fault indicator. of debt.
- step 723 can take different forms depending on the installation considered.
- step 724 the operating mode of the group is lowered by an increment ⁇ R.
- the optimal operating point is considered to have been reached.
- the operating point is then maintained at the value considered, the iteration loop then continues with a return to step 722.
- the operating point is carried, by execution of step 724 and a new iteration , at a slightly higher value, depending on the operating safety margin that one wishes to have.
- the optimal operating point is considered to have been reached.
- the operating point is then maintained at the value considered, the iteration loop then continues with a return to step 722.
- the operating point is carried, by execution of step 724 and a new iteration , at a slightly higher value, depending on the operating safety margin that one wishes to have.
- step 723 it is important for the analysis of step 723, to take into account the operating state of the group at the previous iteration, to determine whether at the previous iteration the group provided a pressure level located in the regulation zone of the installation (cf. zone 62, figure 6 ).
- step 723 will perform an iterative phase allowing the installation, starting from an initial setpoint regime, to arrive at an optimal operating regime, that is to say a regime both minimal and satisfying the needs of the installation in terms of flow for each of its outlets.
- step 723 analyzes at each iteration a possible change in flow rate in the installation or the appearance of a malfunction on one of the ventilation openings. If no change is observed, the iteration loop continues for a new iteration by step 722, with an unchanged setpoint regime.
- the analysis carried out will determine the nature of the change and consequently will trigger the execution of a new iteration passing through the execution of step 724 during which the setpoint regime will be incremented or decremented, with the objective of determining the new regime optimal functioning.
- step 723 can comprise, in a complementary or alternative manner, a periodic operation aimed at launching step 724, in order to impose, on the following iteration, an increment of ventilation regime, so as to check the correct positioning of the system ventilation regime.
- step 724 of modifying the setpoint regime applied to the ventilation group consists of an established regime, that is to say after a given number of iterations, of increasing or decreasing the regime of current operation R ci with a value ⁇ R fixed or possibly adjustable as a function of the memorized value or of external orders which the vents or the centralized ventilation group can receive.
- This step 724 also consists in the start-up phase, that is to say during the first iterations of phase 72, in updating the speed setpoint value Rc i by increasing or decreasing by a value ⁇ R fixes the operating speed imposed on the previous iteration, the sign of ⁇ R being a function of the value of the initial setpoint Rc 0 imposed by the initialization phase 71.
- the step of modifying the reference regime Rc i 724 increases the operating regime of the group of so as to change the regime imposed on the group by a positive ⁇ R increment. This constant increase in speed continues until the system has acquired sufficient successive values of the operating parameters used in step 723 of analysis.
- step 724 is followed by a return to step 721 itself followed by step 722 awaiting stabilization of the parameters.
- the figure 8 illustrates schematically the principle of behavior of the method according to the invention during the iterative phase by considering the three possible situations.
- the operating regime imposed on the installation by the ventilation unit at the instant considered is here represented by a horizontal straight line, therefore at constant pressure.
- it is entirely possible to carry out this regulation of the installation by imposing, for example, a constant speed on the fan of the centralized ventilation group. In the latter case, the operating curve will be significantly decreasing with the flow rate.
- the curves 821 to 823 indicate, for a given iteration, the possible operating point of the installation, point represented by the intersection between the straight line 811 of the operating mode of the fan and the characteristic curve 821, 822 or 823 of the ventilation installation considered.
- the point of intersection between the straight line 811 and the curve 821 corresponds to a situation for which the operating pressure is located just above the minimum tolerated pressure value, in a pressure interval corresponding to a operating safety margin given.
- Such a situation corresponds to a configuration for which no mouth is considered to be defective in terms of flow rate, and for which the most disadvantaged mouth operates at its minimum pressure with potentially a safety margin.
- This configuration functional corresponds to the optimal operating state that the iterative phase 62 of the method according to the invention tends to maintain.
- the minimum tolerated pressure corresponds to the pressure below which there is a variation in the flow rate of the installation characterizing a passage for certain ventilation outlets in an operating pressure outside of its regulation range.
- the curve 822 illustrates the case where, for a given iteration, the state of the installation, represented by the point M2, has changed compared to the optimal state of the previous case represented by the point M1, due, for example , closing one or more ventilation openings in the installation.
- the operating point at pressure 811 is then much greater than the optimal operating point of the installation which then corresponds to the horizontal line 812. Such a situation also corresponds to a configuration for which no mouth is considered to be defective in terms of debt.
- the iterative phase 62 of the method according to the invention continues by gradually lowering the operating regime of the installation until the pressure of the installation is brought to the optimal pressure 812.
- the curve 823 illustrates the case where, for a given iteration, the state of the installation, represented by the point M3, has changed compared to the optimal state represented by the point M1, due, for example, to the opening of one or more ventilation openings in the installation.
- the iterative phase 72 of the method according to the invention continues by gradually increasing the operating regime of the installation until bringing the pressure of the installation to the optimal pressure 813.
- the method according to the invention proceeds to a progressive increase in the pressure imposed until passing from an operating point outside the regulation range of the installation (illustrated by curves 821 to 823 on the figure 8 ) at an operating point on the lower part of the system's regulation range.
- the different detected states can be determined by measuring the flow rate passing through the ventilation unit or by determining the operating state of the different ventilation outlets, by means of communication without wire for example.
Landscapes
- Engineering & Computer Science (AREA)
- Chemical & Material Sciences (AREA)
- Combustion & Propulsion (AREA)
- Mechanical Engineering (AREA)
- General Engineering & Computer Science (AREA)
- Physics & Mathematics (AREA)
- Fluid Mechanics (AREA)
- Ventilation (AREA)
- Flow Control (AREA)
Description
- L'invention se rapporte au domaine général des systèmes de ventilation de locaux à usage privé ou professionnel. Elle se rapporte plus particulièrement aux bouches de ventilation qui équipent de tels systèmes.
- Dans le domaine des systèmes de ventilation et de ventilation de locaux l'utilisation de bouches de ventilation, de bouches d'extraction en particulier, est largement répandue. Par bouche de ventilation, on entend ici un dispositif servant de terminaison à l'extrémité d'une canalisation de ventilation qui débouche dans un local, cette terminaison ayant à la fois un rôle esthétique de masquage de l'orifice par lequel la canalisation débouche dans le local et de diffusion, de limitation, de réglage ou encore de modulation, du débit d'air circulant par cette ouverture. Ces bouches se rencontrent à la fois en habitat individuel comme collectif, et dans les locaux à usage professionnel.
- On connait de l'art antérieur des bouches d'extraction constituées comme de simples ouvertures (bouches « trous »), qui constituent simplement une perte de charge, de sorte que le débit d'air à travers une telle bouche est directement lié à la pression en aval de ces dernières, sans régulation locale possible.
- On connait également des bouches d'extraction dites « autoréglables » qui sont conçues pour faire passer un débit quasi constant pour une pression pouvant varier dans une plage limitée déterminée.
- Ainsi, par exemple une bouche d'extraction peut être dimensionnée pour extraire 30m3/h pour une dépression maintenue entre 50Pa et 160Pa. En dessous et au-dessus de cette plage, le débit de 30m3/h ne sera plus inconditionnellement maintenu.
- Dans la pratique, les technologies de régulation mises en œuvre dans ce type de bouches, de type mécanique, associant une section de passage d'air réduite, avec des volets et des ressorts, ont une précision limitée, de sorte qu'on observe des écarts de débit sensibles, même sur sa plage de régulation. De plus, une pression minimale importante est nécessaire pour le bon fonctionnement de la bouche, dû à la perte section de passage d'air réduite nécessaire à la régulation.
- On connait en outre des bouches d'extraction dites « Hygroréglables » qui sont équipées d'une ouverture qui s'ouvre plus ou moins, en fonction d'une mesure d'hygrométrie faite niveau même de la bouche. Usuellement, cette mesure est réalisée par une tresse textile, agissant ici encore sur un système mécanique d'ouverture d'un volet d'une section de passage d'air déjà réduite. Ces bouches sont conçues pour que le débit soit fonction de l'humidité de l'air extrait, mais il est également très sensible à la température du local et, surtout encore, fonction de la pression d'aspiration en aval de la bouche.
- On connait également des bouches d'extraction conçues, comme les bouches hygroréglables, pour moduler le débit d'air qui les traverse au moyen d'un volet, mais pour lesquelles le réglage de la position du volet dans l'orifice de la bouche répond à un autre critère, qui peut être de qualité d'air (COV, CO2 par exemple), de présence d'un utilisateur (capteur de mouvement, micro) ou encore d'une demande utilisateur (activation du grand débit cuisine). De la même manière, ce type de bouche ne permet pas de réguler efficacement le débit d'air évacué en fonction de la pression en aval de la bouche, car ce débit est dépendant de la position du volet, mais également de la pression d'aspiration en aval de la bouche.
- De telles bouches ne régulent pas de manière satisfaisante, car dans le cas d'une installation de ventilation centralisée, chaque bouche sera soumise à une pression d'aspiration différente, selon sa position dans le réseau aéraulique. Il en résulte que pour les mêmes conditions de besoin de ventilation (détection d'humidité, de présence ou demande utilisateur), les débits ventilés par chacune des bouche seront différents.
- On ne connait, à l'heure actuelle, aucun type de bouche capable de réguler en toute circonstance, de manière efficace en termes de temps de réaction et de précision le débit d'air qui la traverse lorsque la pression en aval de la bouche varie de manière sensible. Or la variation de cette pression est une donnée inhérente au fonctionnement des systèmes de ventilation, notamment ceux utilisant un groupe central de ventilation auquel sont reliées les différentes bouches de ventilation indépendantes par l'intermédiaire de conduits de ventilation de longueurs variables.
- Généralement, en aval de ces bouches d'extraction, les systèmes de ventilation centralisés sont dimensionnés et réglés à l'installation pour maintenir un régime de fonctionnement adapté à répondre au besoin maximum de débit et de pression de l'installation. Il peut s'agir par exemple d'un maintien d'une pression constante en aspiration du groupe de ventilation, adapté à garantir une pression de fonctionnement minimale au niveau de chacune des bouches de ventilation et en particulier au niveau de la bouche la plus défavorisée en pression, lorsque toutes les bouches sont en position « ouvertes » (c'est-à-dire en demande maximale de débit) et que les pertes de charge du réseau aéraulique sont maximales.
- Ainsi, lorsque peu de bouches d'extraction sont ouvertes, les pertes de charge du réseau sont réduite, et un caisson de ventilation régulé à cette pression constante, comme c'est souvent le cas, fournit bien plus de pression que nécessaire, y compris au niveau de la bouche la plus défavorisée.
- Cependant, il existe également des systèmes de ventilation dont la pression maintenue croit avec le débit d'air ventilé et qui assurent le « besoin enveloppe » de l'installation. Par besoin enveloppe, on entend la fourniture d'une pression satisfaisante et s'approchant du besoin en pression à la bouche la plus défavorisée, et ce quel que soit le débit.
- Ces systèmes quoique plus efficaces que les précédents d'un point de vue énergétique, ne sont cependant pas optimums.
- En effet, ce besoin enveloppe est par définition au-delà du besoin réel, ce besoin réel ne pouvant pas être déterminé car la position des bouches qui s'ouvrent n'est pas connue de manière exacte au moment de la conception ou de l'installation du groupe. Un tel système n'est donc pas capable d'ajuster sa pression d'aspiration au juste besoin de pression de la bouche la plus défavorisée.
- On connait également un type de système de ventilation, dit à « pression ajustée », notamment décrit dans le brevet français publié sous la référence
.FR 2932552 - Ce système, plutôt dédié à de la ventilation collective, comporte un groupe de ventilation modulé sur la base d'un capteur tout ou rien en fond de colonne, ou dit autrement, placé sur les extrémités du réseau de gaines de ventilation. La modulation mise en œuvre vise à déterminer le juste besoin en pression du réseau. Elle est fonction d'un changement d'état dudit capteur visant particulièrement la bouche la plus défavorisée. Différents niveaux de régulation sont abordés. Le caisson détaillé dans ce brevet scrute le besoin et est ici régulé préférentiellement en pression constante à consigne sans cesse variable.
- Comme le décrit le brevet précédemment cité, ultérieurement dans la description de notre demande en cours, cette modulation vise à diminuer la consigne de pression jusqu'à ce qu'un changement d'état indique que la pression est insuffisante, ou le cas échéant augmenter la consigne en pression jusqu'à ce qu'un changement d'état de ce capteur indique que la pression fournie est suffisante sans être forcément excessive.
- Par ailleurs, on connait aussi un type de système de ventilation, notamment cité dans le brevet français publié sous la référence
, antérieur au brevet cité précédemment qui concerne en particulier une régulation d'une installation de ventilation associant un groupe et des bouches de ventilation autoréglables, c'est-à-dire des bouches régulant par elles-mêmes un débit fixe donné.FR 2930017 - Ici, la régulation du caisson vise entre autre à détecter un niveau de pression optimal par itérations successives de la modulation de la pression du groupe, et par scrutation du débit, pour en déduire la plage de régulation commune de l'ensemble des bouches de l'installation.
- Ces systèmes permettent donc de réguler le caisson de ventilation centralisé à une pression ajustée au juste besoin de la bouche la plus défavorisée ; cependant les performances intrinsèques des bouches de ventilation font que le système n'est pas optimum en termes de consommation et de précision de régulation du débit de chacune des bouches.
-
US 5251815 divulgue le préambule de la revendication 1. - Ainsi on trouve actuellement des installations de ventilation fonctionnant avec des groupes de ventilation selon les différentes modes de fonctionnement décrits précédemment, auxquels sont raccordées des bouches d'extraction, par exemple hygroréglables. On peut constater que dans de telles installations, selon le réseau de canalisation déployé, certaines bouches d'extraction se trouvent favorisées et présentent un excès de pression tandis que d'autres bouches d'extraction ont, au mieux, juste le niveau de pression nécessaire pour garantir le débit minimal demandé, sachant que le débit d'extraction de telle ou telle bouche peut évoluer en plus ou en moins car les différentes bouches d'extraction constituant le système s'ouvrent et se ferment chacune en fonction de sa propre mesure d'hygrométrie.
- En fonction des systèmes de régulation du caisson de ventilation centralisé, il est donc fréquent que la bouche la plus défavorisée présente un excès de pression, ou bien encore qu'elle présente un défaut de pression si l'installation a été mal dimensionnée.
- Ainsi avec les technologies des bouches de ventilation actuelles, il n'est pas possible dans les systèmes de ventilation existants, de réguler de manière optimale la pression imposée par le groupe de ventilation, de manière à garantir les débits corrects demandés à chacune des bouches, tout en adaptant en permanence le régime de ventilation au juste besoin, de manière à optimiser la gêne acoustique et la consommation du système.
- Un but de l'invention est de proposer une bouche de ventilation permettant de répondre aux inconvénients décrits précédemment en assurant par elle-même, de manière complètement autonome, une régulation fine et rapide du débit d'air qui la traverse pour une plage de pression plus large, ce débit d'air étant régulé par rapport à une consigne fixe ou une consigne ajustable en fonction de données externes telles que, notamment mais non exclusivement, des mesures de la qualité de l'air intérieur (QAI).
- Un autre but de l'invention est de proposer une bouche de ventilation présentant des moyens permettant d'atteindre le but énoncé précédemment, qui soit capable d'assurer le fonctionnement de ces moyens sans liaison filaire d'alimentation électrique ou de communication pour en faciliter l'installation, et sans intervention régulière, en particulier pour procéder à un changement des piles ou batteries, pour en faciliter la maintenance.
- A cet effet l'invention a pour objet une bouche de ventilation pour installation de ventilation selon la revendication 1.
- Selon différentes dispositions, chacune pouvant être considérée seule ou en combinaison avec les autres, la bouche de ventilation peut comporter différentes caractéristiques additionnelles. Ainsi :
Selon un mode de réalisation particulier de la bouche de ventilation selon l'invention, le capteur de débit comporte une turbine aéraulique configurée pour être entrainée en rotation par le flux d'air traversant le conduit, couplée mécaniquement à une génératrice produisant un courant électrique alternatif dont la fréquence varie directement en fonction de la vitesse de rotation de la turbine, le signal électrique produit par la génératrice constituant à la fois la source d'énergie électrique autonome alimentant en énergie le circuit de mesure et de commande et le signal électrique utilisé par ledit circuit de mesure et de commande pour déterminer la valeur du débit d'air capté. - Selon une disposition de ce mode de réalisation particulier, le circuit de modulateur de débit comporte un obturateur configuré pour obturer, sur commande de l'élément de mesure et de commande, tout ou partie du conduit de circulation d'air de façon à réguler le débit d'air à travers ce conduit; le circuit modulateur de débit étant alimenté en électricité par la source d'énergie électrique autonome intégrée à la bouche de ventilation.
- Selon une autre disposition particulière de la bouche de ventilation selon l'invention, le circuit modulateur de débit comporte des moyens pour appliquer une charge variable au capteur de débit, la valeur de la charge appliquée étant commandée par le circuit de mesure et de commande.
- Selon une autre disposition particulière, également, le circuit électronique de mesure et de commande est configuré de façon à transmettre une commande de fonctionnement au circuit de régulation de débit, ladite commande étant déterminée, par comparaison de la valeur de débit d'air mesurée avec une valeur de débit d'air de consigne donnée, de façon à maintenir le débit mesuré à travers la bouche sensiblement égal à la valeur de consigne.
- Selon une autre disposition particulière, également, la bouche de ventilation selon l'invention comporte en outre au moins un capteur permettant de déterminer un besoin de ventilation spécifique dans la zone de l'espace où la bouche est installée, alimenté en énergie électrique par la source d'énergie électrique autonome intégrée à la bouche de ventilation et fournissant au circuit de mesure et de commande les mesures d'un ou plusieurs paramètres rendant compte dudit besoin de ventilation spécifique, la valeur de consigne de débit déterminant la commande du circuit modulateur de débit étant définie en fonction des valeurs des paramètres mesurés par ledit au moins un capteur.
- Selon une autre disposition particulière, également, le capteur permettant de déterminer un besoin de ventilation est un capteur de qualité d'air.
- Selon une autre disposition particulière, le circuit électronique de mesure et de commande est configuré pour transmettre, à un ou plusieurs destinataires, des informations relatives au débit d'air mesuré et/ou à l'état de fonctionnement de la bouche de ventilation.
- Selon une autre disposition particulière, également, le circuit de mesure et de commande est configuré pour recevoir d'un ou plusieurs expéditeurs des informations relatives à l'état de fonctionnement desdits expéditeurs et/ou des commandes de fonctionnement destinées à modifier l'état de fonctionnement de la bouche de ventilation.
- Selon une autre disposition particulière, enfin, le circuit de mesure et de commande comporte des moyens de communication lui permettant de communiquer avec des éléments distants par liaison sans fil.
- Selon un deuxième aspect, l'invention a également pour objet une installation de ventilation d'un bâtiment, qui comporte un groupe central de ventilation et au moins une bouche de ventilation selon l'invention, chaque bouche étant reliée au groupe central de ventilation par l'intermédiaire d'un réseau de gaines de ventilation, le groupe central de ventilation étant configuré pour pouvoir faire varier son état de fonctionnement en termes de pression et/ou de débit.
- Selon un mode de réalisation particulier, pour lequel au moins certaines des bouches de ventilation sont configurées pour transmettre, par liaison sans fil, des informations relatives à leur état de fonctionnement et/ou les mesures de débit d'air réalisées par les moyens dont elles sont équipées, le groupe central de ventilation comporte un organe de commande configuré pour recevoir les informations transmises par chaque bouche équipée et faire varier son état de fonctionnement en pression et/ou en débit en fonction desdites informations.
- Selon un mode de réalisation particulier de l'Installation de ventilation selon l'invention, le groupe central de ventilation comporte des moyens pour mesurer le débit d'air le traversant.
- Selon un troisième aspect, l'invention a également pour objet un procédé de mise en œuvre d'une installation de ventilation d'un bâtiment selon l'invention, ce procédé comportant les étapes suivantes :
- Une phase d'initialisation durant laquelle on impose au groupe de ventilation un régime de fonctionnement Rc0 lui permettant de fournir une pression donnée
- une phase itérative durant laquelle on analyse l'état de fonctionnement de l'installation et on fait évoluer le régime de consigne Rc ou on le régime de consigne courant en fonction du résultat de l'analyse.
- Selon une disposition particulière, la phase itérative comporte pour chaque itération l'exécution des étapes suivantes :
- Une première étape de mise en place d'une pression de fonctionnement correspondant à un régime de consigne Rc donné;
- une deuxième étape d'attente de la stabilisation des variations dues au régime appliqué;
- une troisième étape d'acquisition et d'analyse de la valeur d'au moins un paramètre de mesure lié à l'état de fonctionnement de l'installation dans son ensemble;
- une quatrième étape de modification de la valeur du régime de consigne correspondant à la valeur actualisée de la pression de fonctionnement, en fonction de la valeur de chaque paramètre considéré, acquise lors de l'étape d'acquisition.
- une cinquième étape de mémorisation, placée après la deuxième étape, durant laquelle on mémorise plusieurs valeurs successives d'au moins un paramètre de fonctionnement de l'installation, ces valeurs étant mémorisées au cours des itérations précédant l'itération considérée ;
- Selon l'invention, la quatrième étape de modification du régime de consigne Rc modifie la valeur dudit régime d'un incrément ΔR négatif ou positif selon que la variation de la valeur du ou des paramètres pris en compte pour l'analyse est conforme ou non à une valeur de référence.
- Selon une disposition particulière, pour laquelle l'installation de ventilation selon l'invention comporte un groupe de ventilation équipé de moyens de mesure du débit de l'air qui traverse le groupe, la troisième étape d'analyse de la phase itérative comporte une opération de mesure du débit d'air et d'analyse de la variation de cette valeur au fil des itérations.
- Selon une disposition particulière, pour laquelle l'installation de ventilation selon l'invention comporte un groupe de ventilation équipé de moyens assurant une liaison entre le groupe de ventilation, et des bouches de ventilation transmettant chacune par liaison sans fil une information relative à son état de fonctionnement, la troisième étape d'acquisition et d'analyse comporte une opération lecture de l'information d'état transmise par chacune des bouches de ventilation considérées et de comparaison de cet état avec un état de référence donné.
- Avantageusement, les bouches de ventilation selon l'invention présentent un système autonome de régulation de débit plus précis que les bouches de ventilation existantes, y compris les bouches existantes à débit autorégulé mécaniquement.
- Les bouches de ventilation selon l'invention permettent de plus de réaliser, au niveau des installations de ventilation, à la fois un gain acoustique important et un premier gain énergétique significatif, du fait de leur capacité à travailler avec des niveaux de pression plus faibles.
- Elles permettent en outre de réaliser un second gain énergétique important par la régulation fine du débit qu'elles permettent, dans la mesure où la quasi-totalité des bouches implantées présente un excès de pression qui conduit les bouches actuelles (qui ne sont pas régulées en débit) à faire passer un débit d'air plus important que celui normalement requis et ce, particulièrement en installation collective,. De ce fait de l'air chaud est inutilement extrait et envoyé à l'extérieur, ce qui constitue en hiver une déperdition d'énergie préjudiciable, tant pour l'énergie de ventilation que pour l'énergie de chauffage.
- Les bouches de ventilation selon l'invention présentent, par ailleurs, des fonctionnalités accrues dans la mesure où, du fait de la présence d'une source autonome d'alimentation électrique, il est possible d'apporter de nouvelles fonctionnalités aux occupants du bâtiment ou d'augmenter les performances de l'installation de ventilation sans avoir nécessairement à tirer des câbles de connexion ou à prévoir la mise en place d'une alimentation par piles ou batteries par nature non autonome et nécessitant un entretien régulier (recharge ou remplacement).
- Les caractéristiques et avantages de l'invention seront mieux appréciés grâce à la description qui suit, description qui s'appuie sur les figures annexées qui présentent :
- la
figure1 , un synoptique présentant les éléments fonctionnels composant une bouche de ventilation selon l'invention; - les
figures 2 à 4 , des représentations schématiques de la structure d'une bouche de ventilation selon l'invention, dans une forme de réalisation particulière prise comme exemple; - la
figure 5 , une représentation schématique d'une variante de réalisation de la bouche de ventilation illustrée par lesfigures 2 à 4 ; - la
figure 6 , une illustration schématique représentant les diagrammes (débit/pression) relatifs à un instant donné à une installation de ventilation selon l'invention; - la
figure 7 , un organigramme de principe du procédé permettant de moduler le régime de fonctionnement d'une installation de ventilation comportant des bouches de ventilation selon l'invention ; - la
figure 8 , une illustration schématique illustrant le principe de fonctionnement du procédé selon l'invention. - Comme cela a été dit précédemment l'invention consiste, selon un premier aspect, en une bouche de ventilation à débit d'air autorégulé, intégrant des moyens lui permettant de réguler de manière fine et rapide le débit d'air qui la traverse et ce pour une plage de variation de la pression d'aspiration donnée appliquée en aval de celle-ci.
- Ces moyens permettent de prendre en compte dans la boucle de régulation, outre une mesure de débit d'air traversant la bouche, des informations complémentaires de nature à faire évoluer la consigne de débit prise en compte pour la régulation du débit.
- A cet effet, la bouche de ventilation 10 selon l'invention comporte principalement, comme l'illustre fonctionnellement la
figure 1 , un conduit de circulation d'air 11, également appelé manchette, destiné à être raccordé à l'extrémité d'une canalisation du système général de ventilation. - Cette bouche de ventilation 10 comporte également au moins un capteur de débit d'air 12, porté par cette bouche et configuré pour capter le flux d'air circulant dans la bouche et convertir le flux d'air capté en un signal électrique 18 dont une caractéristique mesurable est directement fonction du débit du flux d'air intercepté par le capteur 12.
- La bouche de ventilation 10 selon l'invention comporte encore un circuit de mesure et de contrôle 13 également porté par cette bouche, et configuré pour analyser le signal électrique 18 produit par le capteur de débit 12 et déterminer la valeur du débit correspondant au signal traité.
- La bouche de ventilation 10 selon l'invention comporte en outre une source autonome de production d'énergie électrique 14 capable d'alimenter l'ensemble des éléments de la bouche nécessitant une alimentation en électricité.
- Par source autonome de production d'énergie, on entend ici une source capable de produire de l'énergie électrique sans qu'il soit nécessaire d'effectuer une quelconque intervention pour assurer son fonctionnement. Cette source peut par exemple être de nature aéraulique ou photovoltaïque.
- La bouche de ventilation 10 selon l'invention comporte également un circuit de modulation de débit d'air 15, porté par cette bouche et alimenté par la source d'alimentation autonome de la bouche 14. Ce circuit comporte des moyens pour faire varier le débit d'air traversant la bouche, la variation de débit étant commandée par le circuit de mesure et de commande 13 à travers un signal de commande 19 délivré par ce dernier. Selon le mode de réalisation considéré, ces moyens peuvent être configurés pour moduler eux-mêmes le débit d'air à travers la bouche en obturant plus ou moins cette dernière. Alternativement, ces moyens peuvent être configurés pour appliquer une charge variable au capteur de débit 12. Cette charge variable peut, selon la structure du capteur de débit 12 considéré, consister en une charge mécanique ou électrique variable agissant sur le capteur de débit 12 de façon à modifier son comportement pour qu'il altère le passage du flux d'air à travers la bouche de ventilation et limite ainsi le débit. La valeur de la charge appliquée est dans ce cas commandée par le circuit de mesure et de commande 13.
- Le circuit de mesure et de commande 13 est configuré de façon à élaborer une commande de variation de débit 19 fonction notamment du débit mesuré au moyen du capteur de débit.
- Cette commande est élaborée principalement en comparant le débit mesuré avec une valeur de débit de consigne mémorisée au niveau du circuit de mesure et de commande 13. Il peut donc s'agir d'un type d'asservissement du débit circulant au travers de la bouche.
- Selon le mode de réalisation considéré, cette consigne peut être une consigne fixe ou une consigne choisie dans une table en fonction de paramètres complémentaires transmis au circuit de mesure et de commande 13.
- Ces paramètres complémentaires peuvent notamment provenir d'autres capteurs que le capteur de débit, capteurs également intégrés à la bouche de ventilation ou disposés dans le local à ventiler, et dont la fonction est de renseigner la bouche de ventilation sur un besoin de ventilation dans la zone de l'espace où la bouche de ventilation est placée, ou bien dans une autre zone de l'espace où la bouche de ventilation est disposée.
- Ils peuvent par exemple consister en une mesure effectuée par un capteur additionnel 16 porté par la bouche 10 et alimenté par la source d'alimentation autonome de la bouche 14, ce capteur 16 fournissant une mesure relative à la qualité de l'air traversant la bouche 10 ou QAI (capteur de CO2, d'humidité, de température, de COV, compteurs de particules, ...). Dans un tel cas, la valeur de la commande de débit 19 appliquée au circuit de modulation de débit est déterminée par le circuit de mesure et de commande 13 à partir d'une loi de variation de la valeur de consigne de débit (Q) en fonction de la qualité de l'air (QAI) traversant la bouche (Q= f(QAI)). Cette loi est par exemple mémorisée sous forme d'une table au niveau du circuit de mesure et de commande 13.
- Ils peuvent encore consister en une information d'état de nature à influer sur le fonctionnement de la bouche de ventilation 10. Cette information d'état peut par exemple indiquer la présence d'individus dans l'espace ventilé par la bouche de ventilation considérée, présence détectée par un capteur de présence. Elle peut aussi correspondre à une consigne d'un utilisateur, par exemple l'activation manuelle de la « surventilation cuisine » au niveau d'une bouche de ventilation placée dans une cuisine. Elle peut également, par exemple, consister en une information relative à l'entrée dans une période particulière de la journée information pouvant être délivrée par une horloge interne à la bouche de ventilation, information qui peut en outre être actualisée par un organe de gestion central du système de ventilation auquel la bouche est intégrée. Dans ce cas la bouche de ventilation selon l'invention est préférentiellement équipée de moyens de communication 17, moyens de communication sans fil préférentiellement, lui permettant d'échanger des informations avec des éléments externes.
- Selon l'invention, les différents moyens décrits précédemment sont portés par la bouche 10. Ils sont agencés et reliés les uns aux autres de telle façon que le signal électrique 18 produit par le capteur de débit soit transmis au circuit de mesure et de commande 13 et soit traité par ce dernier de façon à déterminer le débit courant d'air à travers la bouche et à élaborer la commande 19 à transmettre au circuit de modulation de débit 15 de façon à ajuster le débit de la bouche 10 à une valeur sensiblement égale à la valeur de consigne déterminée.
- Ainsi, à la différence de ce qui se passe dans les systèmes de ventilation de l'état de l'art, la régulation du débit d'air traversant la bouche de ventilation 10 selon l'invention est une régulation en boucle fermée, réalisée à partir d'un débit mesuré, par des moyens connus de l'homme de métier. Cette régulation autorise un fonctionnement dans une plage de pression sensiblement plus large et pouvant surtout s'initier à plus bas niveau de pression, s'étendant par exemple de 10 à 200 Pa, la pression minimale de fonctionnement étant uniquement liée à la perte de charge de la bouche, et notamment à sa récupération d'énergie.
- Il est à noter que selon la forme de réalisation considérée les différents éléments de la bouche de ventilation selon l'invention, à savoir le capteur de débit d'air 12, le circuit de mesure et de contrôle 13, le circuit de modulation du débit d'air 15 et la source autonome de production d'énergie électrique 14 peuvent être configurés pour être logés à l'intérieur du conduit de circulation d'air, la manchette, 11. Il en va de même pour le capteur de qualité d'air 16.
- Les
figures 2 à 5 présentent de manière schématique un exemple de réalisation particulier d'une bouche de ventilation 10 selon l'invention. Ce mode de réalisation particulier est présenté ici pour mettre en évidence les caractéristiques avantageuses de ce premier aspect de l'invention et n'a nullement pour objet d'en limiter la portée ou l'étendue. - Selon ce mode de réalisation pris comme exemple, le dispositif selon l'invention consiste en une bouche de ventilation 100 destinée à être fixée à une gaine d'extraction d'air 200, le flux d'air étant illustré par des flèches sur la
figure 2A , est associée à un dispositif de détection d'au moins un paramètre de l'air, à savoir le débit d'air dans la gaine 200, porté par la bouche. - La bouche de ventilation 100 selon l'invention comporte ici une plaque de façade esthétique 100A formant la surface externe frontale destinée à être visible dans la pièce du local et solidarisée à une manchette 100B tubulaire formant un conduit de circulation d'air, destinée à être emboîtée dans un orifice d'une paroi M, comme illustré sur la
figure 2 , et à l'extrémité de laquelle est fixée par emboîtement la gaine 200, elle-même connectée à un réseau aéraulique relié à un groupe de ventilation centralisé de type ventilation mécanique contrôlé. - La bouche de ventilation 100 comporte également un capteur de débit d'air, remplissant la fonction du capteur 12 de la
figure 1 , qui comporte lui-même un dispositif de détection du débit d'air constitué par une turbine 300 disposée à l'arrière de la surface frontale externe 100A et plus précisément, dans ce cas à proximité de l'extrémité de la manchette 100B connectée à la gaine de ventilation 200. Cette turbine 300 est une turbine hélicoïde dont l'axe de rotation est sensiblement parallèle à l'axe longitudinal AA de la bouche. - Le capteur de débit d'air comporte également une génératrice 500A dont l'axe est solidarisé par emboitement à l'axe de la turbine 300. La génératrice 500 assure la conversion de la rotation de la turbine 300 en un signal électrique, de type alternatif. Plus précisément, la génératrice 500 comporte un aimant permanent en rotation à l'intérieur de l'espace délimité par un ensemble de bobines.
- La bouche de ventilation 100 selon l'invention comporte également un dispositif de traitement électronique, remplissant les fonctions du circuit de mesure et de commande 17 de la
figure 1 , qui comporte une carte électronique 500B équipée d'un circuit microcontrôleur, connectée électriquement à la génératrice 500A. Cette carte électronique 500B assure : - la récupération de l'énergie produite par la génératrice 500A, par conversion électrique en un signal de tension continue et stable, au moyen par exemple d'un circuit constitué d'un pont de diodes redresseur de tension et d'un convertisseur de tension ;
- la mesure du débit d'air par mesure de la fréquence du signal alternatif généré par la rotation de la génératrice 500A, entraîné par la turbine 300;
- le stockage éventuel de l'énergie électrique récupérée et non utilisée à un instant donné. Ce stockage de l'énergie électrique est par exemple réalisé au moyen d'un condensateur, d'une batterie, d'un accumulateur ou d'un dispositif similaire intégré au dispositif.
- La génératrice 500A du capteur de débit d'air et la carte électronique 500B du circuit de mesure et de commande sont ici logés dans un carter 500C, solidarisé à la bouche de ventilation 100 au moyen de pattes 500D emmanchées, collées ou soudées à l'ensemble de manchettes 100B, de façon centrée sur l'axe longitudinal AA de la bouche de ventilation 100.
- Ainsi, en fonctionnement, le groupe de ventilation mécanique contrôlé créant une pression d'aspiration dans le réseau aéraulique du système, un débit d'aspiration est donc créé au niveau de chaque bouche 100 du système. Ce débit d'air met en rotation la turbine aéraulique 300 et, par suite, la génératrice 500A, qui fournit à la carte électronique 500B une indication de débit ainsi que de l'énergie électrique, sous la forme d'un signal électrique dont la fréquence correspondant à la fréquence de rotation de la turbine.
- Le microcontrôleur mesure le signal électrique produit par la génératrice 500A, pour déterminer sa fréquence et en déduire la vitesse de rotation du générateur 5A. Afin de faciliter la mesure de fréquence le microcontrôleur peut au préalable traiter le signal fourni par tout procédé de traitement approprié.
- Comme cela a été dit précédemment le génératrice 500A constitue donc ici, à la fois, le capteur et la source d'énergie de la bouche de ventilation 100.
- Il est à noter que le débit d'air est généralement sensiblement proportionnel à la vitesse de rotation d'une turbine hélicoïde de manière générale. La détermination de la vitesse se fait donc de manière simple à partir de la mesure de la fréquence du signal fourni par la génératrice 500. Cependant dans le cas où la vitesse de rotation ne serait pas proportionnelle, selon le comportement aérodynamique de la bouche de ventilation 100, la détermination de la vitesse peut se faire par une loi mathématique non linéaire, ou encore un tableau de valeur prédéterminé, de type modélisation par exemple.
- Afin d'assurer l'alimentation électrique des différents éléments, la bouche 100 comporte un convertisseur de tension, disposé en aval de du générateur 500A, sur la carte électronique 500B par exemple. Ce convertisseur a pour rôle de transformer le signal alternatif produit par la génératrice en tension continue stabilisée, une tension de 3,3 Volt par exemple. Ce convertisseur peut consister en un composant unique, ou bien être constitué d'un pont redresseur de tension à diodes, associé à un convertisseur de type « Buck-Boost », qui est une alimentation à découpage qui convertit une tension continue donnée en une tension continue stabilisée de plus faible ou plus grande valeur.
- L'alimentation ainsi réalisée alimente le microcontrôleur de la carte électronique 500B, via un condensateur, dont le rôle est de stabiliser et stocker de l'énergie.
- Ce condensateur peut être dimensionné de manière à servir de stockage d'énergie pour permettre au système de fonctionner pendant un temps donné, une heure par exemple, en l'absence d'alimentation fournie par la génératrice 500A. Cependant, de manière préférée, c'est un second moyen de stockage que l'on dimensionne pour cette fonction, ce second moyen de stockage, directement connecté au convertisseur ou au microcontrôleur, permet une meilleure gestion du stockage d'énergie et des appels de courant.
- Afin d'assurer l'alimentation électrique des différents éléments, la bouche 100 peut comporter, alternativement, un simple système de redressement stabilisé en tension par une capacité auquel peut être adjoint un organe de type interrupteur, permettant de couper l'alimentation du système une fois le condensateur chargé afin d'éviter une surtension et de le remettre en charge, lorsque sa charge diminue. Ce système, moins onéreux, est cependant moins performant.
- La bouche de ventilation 100, ainsi équipée d'un dispositif de récupération d'énergie constitué de sa génératrice 500A et de son dispositif convertisseur de tension décrit précédemment, assure avantageusement son auto-alimentation électrique.
- Il est à noter que la turbine 300 est préférentiellement dimensionnée au plus grand diamètre possible dans l'ensemble de manchettes 100B, de façon à assurer une optimisation des pertes de charges. Son profil aérodynamique lui permet de plus d'être mise en rotation au plus petit débit de fonctionnement souhaité. La manchette 100B a par ailleurs comme illustré sur les
figures 2 à 5 un diamètre constant. - De manière alternative, cependant, et notamment en fonction de la plage de débit traversant la bouche, on peut utiliser un diamètre de turbine plus petit, associé à une forme convergente pour la manchette 100B, cette forme convergente permettant à la turbine 300 de bénéficier de vitesses d'air plus importantes à faible débit, et d'abaisser ainsi son débit minimal de fonctionnement. De manière alternative également, si la plage de débit le permet, la turbine 300 peut présenter ne surface frontale significativement inférieure à la section de passage d'air, et être logée dans une veine de fluide spécifique, parallèle à la veine de fluide principale de la manchette100B.
- Comme on peut le constater sur les
figures 2 à 4 , dans l'exemple de réalisation décrit ici, la bouche de ventilation 100 comporte également un agencement de modulation du débit associé à un moteur électriquement alimenté par la bouche, l'ensemble assurant les fonctions du circuit modulateur de débit circuit de modulation de débit d'air 15 de lafigure 1 . - Cet agencement de modulation du débit comporte deux volets pivotants pilotés par le dispositif de traitement de la carte électronique 500B.
- Les deux volets de modulation 600A et 600B sont configurés et agencés de façon à selon un axe perpendiculaire à l'axe longitudinal AA.
- La forme de ces volets est par ailleurs étudiée, comme l'illustre la vue en perspective de la
figure 4 , pour permettre une obturation maximale de la manchette en position de fermeture, et une ouverture maximale en position d'ouverture, de manière à limiter les pertes de charge du système. - Les volets 600A et 600B sont actionnés par l'intermédiaire d'un moteur 600D, autoalimenté par la bouche de ventilation, et dont l'arbre de rotation fileté forme une vis sans fin qui assure la translation d'un écrou 600C lié aux volets.
- Le moteur 600D peut être un moteur de type à courant continu à balais, ou bien encore un moteur pas à pas, pour une meilleure précision de positionnement des volets.
- Le pivotement des volets est ici assuré par un agencement de butées 500D et d'un ressort de rappel 600E comme illustré sur les
figures 2 et3 . - Plus précisément, le carter central 500C de la bouche de ventilation 100 est prolongé en partie avant par un embout 400 ajouré longitudinalement selon l'axe longitudinal AA, dans lequel coulisse un écrou 600C bloqué en rotation. Cet écrou 600C est mécaniquement associé aux deux volets de modulation 600A et 600B, ou bien encore les volets de modulation peuvent être réalisés en une seule pièce, intégrant l'écrou, comme représenté à la
figure 4 . - Dans cette pièce, réalisée préférentiellement en plastique, est intégré l'écrou hexagonal 600C, dans un emplacement à sa dimension, pour le bloquer en rotation. Une contre-forme de positionnement de l'écrou 600C est liée à l'embout 400 par une charnière de type film, pour venir se fixer par un clip, et ainsi enfermer l'écrou 600C dans son logement.
- Les volets de modulation 600A et 600B sont également intégrés à cette pièce par une charnière de type film.
- Une fois en place dans l'embout 400 ajouré, cet ensemble est relié à un moteur axial 600D par un arbre fileté, mis en rotation par ce moteur, et en lien avec l'écrou 600C.
- Dans l'exemple de réalisation décrit ici, le moteur 600D est lié mécaniquement au carter 500C, pour empêcher sa translation et sa rotation, par exemple par la forme de son emplacement dans ce carter.
- Ainsi, lors de la mise en rotation du moteur 600D, l'axe va permettre de faire avancer ou reculer l'écrou 600C, dont la rotation est bloquée par l'embout 400 ajouré.
- Les volets de modulation 600A et 600B sont par ailleurs équipés d'un moyen de mise en position par défaut en position rabattue telle que représentée sur la
figure 3 , de préférence un simple ressort 600E mis en place de part et d'autre de l'axe longitudinal AA de la bouche, de manière à les mettre en contrainte l'un vers l'autre. - En outre, une forme arrondie 500D sur le carter 500C assure par un contact de butée ponctuel le pivotement des volets de modulation 600A et 600B. De manière alternative, le système vis-écrou et plus précisément le déplacement de l'écrou 600C étant irréversible, on pourrait remplacer l'agencement butée et ressort par une liaison de type rotule annulaire entre les volets 600A et 600B et le carter 500C.
- Ainsi, dans l'exemple de réalisation présenté ici, et étant donné la structure pivotante décrite précédemment, l'ouverture ou la fermeture des volets de modulation 600A et 600B est assurée en commandant la rotation du moteur 600D par l'intermédiaire de la carte électronique 500B elle-même alimentée par la génératrice 500A.
- De la sorte, le pivotement des volets de modulation 600A et 600B qui constituent l'agencement de modulation du débit est entraîné par le déplacement d'un dispositif (le moteur 600D couplé au mécanisme de pivotement des volets) également alimenté par ce dispositif de récupération d'énergie décrit précédemment. La régulation de la position des volets se fait donc, de manière autoalimentée également, au moyen de la génératrice 500A et ce, sur la base d'une information de débit fournie par la même génératrice.
- La position des volets est typiquement régulée pour obtenir un débit constant au niveau de la bouche 100, quelle que soit la pression d'aspiration du réseau, dans une certaine plage de pression cependant.
- Plus précisément, la régulation du débit est réalisée en asservissant la position des volets à une position de consigne qui est fonction de la mesure de débit réalisée.
- La
figure 5 représente une variante de l'exemple de réalisation de la bouche de ventilation selon l'invention décrit précédemment et illustré par lesfigures 2 à 4 . - La structure de cette variante diffère uniquement du mode de réalisation décrit précédent, par l'ajout d'un capteur de qualité de l'air intérieur 700, similaire fonctionnellement au capteur 16 de la
figure 1 , qui peut être un capteur d'humidité, de CO2 ou de composés organiques volatiles (COV). - Ce capteur 700 est placé dans le carter 500C et, de préférence, directement monté sur la carte électronique 500B, pour des questions de coût en particulier.
- Il est positionné dans le système de manière adéquate pour mesurer la grandeur souhaitée, sans être perturbé par l'environnement (fluide, lumière, vitesse d'air, ou encore température ambiante).
- Afin de permettre au capteur 700 d'entrer en contact avec l'air traversant la bouche, une ouverture 700A est par ailleurs réalisée dans le carter 500C, une étanchéité périphérique étant réalisée au niveau du capteur par exemple au moyen d'un ajustement de pièce plastique, ou bien encore par un élément en mousse ou autre matériau. Cette étanchéité permet ainsi de faire en sorte que le capteur soit sensible à la qualité d'air traversant la bouche, tout en évitant que celui-ci ne rentre dans le compartiment contenant la carte électronique de pilotage, évitant ainsi les risques liés aux poussières et à l'humidité.
- Le capteur de qualité de l'air intérieur 700 est également alimenté par le dispositif de récupération d'énergie précédemment décrit.
- Il fournit à la carte électronique 500B, qui intègre notamment une unité de calcul (microcontrôleur), une information relative à la qualité de l'air qui pourra être prise en compte par cette dernière pour moduler la valeur du débit de consigne imposé à la bouche, valeur calculée selon une loi donnée ou sélectionnée parmi différentes valeurs préétablies et mémorisées dans une table. La mise en place de ce capteur complémentaire 700 permet ainsi au dispositif de calcul d'intégrer deux niveaux de régulation amenant à définir la position des volets, à savoir un premier niveau en fonction d'une mesure de débit d'air, de manière à obtenir un débit constant, sensiblement égal au débit de consigne ; et un second niveau en fonction d'une mesure de qualité d'air, qui détermine ce débit de consigne.
- Le dispositif de traitement électronique peut ainsi moduler la position des volets de modulation de débit pour obtenir un débit souhaité, débit qui dépend du niveau de qualité d'air interne mesuré dans l'air traversant la bouche. Le microcontrôleur de la carte électronique 500B peut ainsi réaliser un asservissement de l'agencement de modulation du débit par comparaison entre un débit de consigne et une mesure du dispositif de détection du débit d'air, de façon à obtenir un débit traversant la bouche sensiblement égal à un débit de consigne qui prend en compte les résultats de mesure fournis par le capteur 700.
- Il est à noter, qu'en alternative ou en complément de ce capteur de qualité d'air 700, directement en relation de fluide avec l'air ambiant, la bouche de ventilation 100 décrite ici à titre d'exemple de réalisation peut également intégrer des capteurs liés à la présence de l'utilisateur, comme par exemple un détecteur de présence infrarouge, ou encore un capteur acoustique.
- Il est à noter également que la bouche de ventilation décrite ici à titre d'exemple est une bouche d'extraction d'air, l'air circulant dans la bouche depuis l'espace ventilé vers la gaine de ventilation. Cependant cet exemple de réalisation permet aisément de comprendre que la bouche de ventilation selon l'invention peut être conçu sur le principe décrit dans le texte qui précède pour fonctionner en bouche d'extraction d'air ou comme bouche d'insufflation d'air. La différence de structure concerne seulement l'agencement du capteur de débit d'air, la turbine 300 dans l'exemple de réalisation précédent, qui doit être placé dans le conduit de circulation d'air de façon à permettre une récupération d'énergie optimale à partir du flux d'air circulant dans la bouche. Les sens de l'air, les termes amont et aval seront aisément permutés par l'homme de métier pour adapter l'invention décrite ici, en une bouche d'insufflation.
- Selon un deuxième aspect, l'invention consiste également en une installation de ventilation pour un bâtiment intégrant une ou plusieurs bouches de ventilation selon l'invention, telles que décrites précédemment.
- Par bâtiment on entend ici une structure fermée, dont l'espace intérieur est éventuellement cloisonné, dans laquelle sont délimitées différentes zones d'espace dans lesquelles les bouches de ventilation 10 sont placées.
- L'Installation de ventilation selon l'invention comporte, de manière traditionnelle, un groupe central de ventilation localisé à un endroit donné du bâtiment, configuré de façon à pouvoir moduler son régime de fonctionnement de manière à moduler la pression et/ou le débit d'aspiration au niveau de son raccordement audit réseau.
- Elle comporte également une ou plusieurs bouches de ventilation 10 disposée à des emplacements déterminés, le groupe de ventilation étant relié à ces bouches par l'intermédiaire d'un réseau de canalisations (canalisations de communication de fluide) auquel chacune des bouches 10 est raccordée.
- Cependant, à la différence d'une installation de ventilation traditionnelle les bouches de ventilation utilisées sont des bouches de ventilation 10 selon l'invention, de sorte que chacune des bouches est capable de réguler son débit indépendamment de la pression régnant à sa sortie, c'est à dire à proximité de la jonction entre la bouche et la gaine de ventilation à laquelle elle est raccordée, et ce dans sa plage de pression de fonctionnement.
- L'utilisation de bouches de ventilation 10 selon l'invention dans une structure d'installation de ventilation traditionnelle apporte ici, intrinsèquement, une amélioration de fonctionnement même en l'absence d'autre aménagement visant à améliorer le rendement ou l'efficacité de l'installation considérée.
- En effet, de manière connue l'ensemble canalisations - bouches de ventilation constitue une charge aéraulique variable que le groupe central de ventilation doit être dimensionné pour supporter, le but final étant que la pression locale à l'intérieur de chaque canalisation, au niveau de chacune des bouches de ventilation, soit suffisante pour permettre à chacune des bouches de ventilation d'assurer un débit d'air au moins égal à un débit minimum prescrit pour une pression locale variant dans une plage donnée. De manière générale, les bouches de ventilation équipant les installations connues sont des bouches qui ne régulent pas, ou du moins régulent mal, le débit d'air qui les traverse.
- Par suite, le débit d'air au niveau de chaque bouche étant susceptible de varier, la charge imposée au groupe central de ventilation est également variable et en l'absence de régulation de l'installation, le régime de fonctionnement du groupe est réglé pour répondre au point culminant de cette charge fluctuante, de sorte que, dans certaines circonstances, lors d'un mauvais réglage de l'installation, certaines bouches de ventilation peuvent présenter un débit inférieur au débit utile et que, de manière quasi systématique, certaines bouches présentent un débit sensiblement supérieur au débit utile.
- Ce phénomène est particulièrement sensible et pénalisant en termes d'économie de fonctionnement, car si les bouches de ventilation utilisées sont en particulier de type autoréglable ou hygroréglable, il est nécessaire de prévoir un groupe de ventilation surdimensionné capable d'imposer une pression importante et, dans tous les cas bien, supérieure à la pression qui serait nécessaire pour assurer les mêmes conditions de ventilation si les bouches utilisées fonctionnaient à un débit correspondant sensiblement au débit prescrit à l'instant considéré.
- Selon une forme de réalisation particulière, l'installation selon l'invention comporte des bouches de ventilation 10 dont au moins certaines sont équipées de moyens de communication sans fil 17, comme décrit précédemment. Chacune des bouches de ventilation ainsi équipées est en mesure de transmettre des informations relatives à son état de fonctionnement. Ces informations peuvent consister en un simple indicateur d'état de fonctionnement (Bon = régulation du débit effective, Mauvais = régulation non garantie), voire uniquement un simple indicateur de défaut. Alternativement, elle peut consister en une information représentant la valeur du débit mesuré par la bouche de ventilation 10 considérée ou encore sa position précise d'ouverture pouvant ainsi remonter à sa perte de charge ou encore tout changement dans sa régulation.
- Cette information est préférentiellement transmise au système de gestion du fonctionnement du groupe central de ventilation si ce dernier est pourvu d'un tel système. Elle peut alors être utilisée pour réguler le régime de fonctionnement du groupe.
- Elle peut également ou alternativement être transmise aux autres bouches de ventilation qui équipent l'installation, ou à des objets connectés tiers, comme une centrale de régulation ou bien un appareil nomade de type smartphone ou tablette.
- Selon une autre forme de réalisation particulière, l'installation selon l'invention peut également comporter un groupe central de ventilation comprenant un système de mesure capable de mesurer le débit d'air qui le traverse. Dans une telle forme de réalisation, le groupe de ventilation peut avantageusement être piloté de façon à fonctionner à un régime donné pour lequel il établit une certaine pression en tenant compte des pertes de charge constatées et de leurs variations, qui proviennent principalement de la variation au cours du temps de l'état de certaines des bouches de ventilation de l'installation.
- Selon un troisième aspect, l'invention consiste encore en un procédé permettant de moduler le fonctionnement d'une installation comportant des bouches de ventilation selon l'invention, de façon à ce que le groupe de ventilation présente à tout instant un état de fonctionnement optimal en termes de pression appliquée au réseau de canalisations constituant l'installation.
- Par état optimal on entend un état pour lequel la pression de fonctionnement du groupe est déterminée à chaque instant de façon à ce que chacune des bouches de ventilation qui constituent l'installation se voit appliquer à sa sortie une pression suffisante pour lui permettre de réguler son débit et à ce que la consommation du groupe soit la plus faible possible, autrement dit de façon à ce que la bouche la plus défavorisée en termes de pression soit au minimum de la pression nécessaire à sa bonne régulation.
- La mise en œuvre du procédé selon l'invention est avantageusement rendue possible par l'utilisation de bouches de ventilation selon l'invention. En effet à la différence d'installations existantes à ce jour, comme l'illustre la courbe 61 de
figure 6 , une installation comportant des bouches de ventilation selon l'invention présente, vu du groupe de ventilation, une zone de fonctionnement particulière 62 pour laquelle à un moment donné et pour une plage de pression donnée, le débit d'air traversant le groupe reste sensiblement constant. - Comme l'illustre la
figure 6 , la courbe de fonctionnement (Débit, Pression) de l'installation complète est, si on considère un réseau sans fuite, la somme des courbes de fonctionnement (Débit, Pression) 631 à 639 des différentes bouches de ventilation, vues depuis le groupe de ventilation. - Comme l'illustre également la
figure 6 , chacune des bouches 1 à N (N = nombre total de bouches de l'installation, neuf ici) présente pour un débit de fonctionnement nominal donné, une courbe présentant avantageusement une zone 64n (n variant de 1 à 9 ici) pour laquelle son débit reste sensiblement constant pour une plage donnée de pression imposée par le groupe. - Pour une bouche de ventilation donnée, la position de cette zone 64n sur l'axe des pressions ainsi que sur l'axe des débits varie en fonction du type de bouche, de l'état de la bouche de ventilation considérée, c'est-à-dire le débit régulé par la bouche, et de l'emplacement de la bouche le long du réseau de canalisations, qui va notamment conditionner la pression minimale à appliquer par le groupe pour permettre la bonne régulation de la bouche.
- L'existence de cette zone à débit sensiblement constant au niveau du groupe, à un instant considéré, aussi bien que son étendue et sa position sur l'axe des pressions et des débits apparait donc liée à la régulation de débit avantageusement exercée de manière autonome par chacune des bouches de ventilation.
- Elle se caractérise au niveau du groupe de ventilation par une pression de fonctionnement Pmax au-delà de laquelle une augmentation de pression amène une augmentation du débit, de sorte que certaines bouches peuvent laisser passer un débit supérieur au débit requis (déperdition inutile de chaleur et gêne acoustique), et une pression de fonctionnement Pmin en deçà de laquelle certaines bouches de ventilation ne sont pas en mesure d'assurer un débit suffisant.
- Par suite, sachant qu'il existe une zone de fonctionnement à débit constant, on constate en considérant l'illustration de la
figure 6 qu'il est avantageusement possible de mettre en œuvre un procédé permettant de rechercher l'état de fonctionnement du groupe de ventilation permettant à celui-ci, à l'instant considéré, de produire une pression minimale qui garantisse cependant que toutes les bouches de ventilation sont en mesure d'assurer le débit requis. Cette pression est ainsi le point de pression minimum de la zone 62 de la courbe 61. - Le procédé selon l'invention consiste donc principalement à rechercher de manière itérative, à tout instant ou, du moins, à différents instants espacés d'un intervalle de temps donné, le point de fonctionnement du groupe de ventilation assurant ce résultat.
- Il est à noter cependant que, dans une installation réelle, en supposant une régulation parfaite de chacune des bouches 10, il peut subsister des fuites dans le réseau de gaines de ventilation. Ainsi, dans la pratique, la zone 62 de la courbe 61 ne sera pas complètement verticale correspondant à un débit strictement constant, mais présentera une légère inclinaison, car l'augmentation de la pression du réseau amènera un débit de fuite supplémentaire ventilé, et ce indépendamment de la régulation réalisée par les bouches de ventilation. De manière analogue, le même effet sur le zone 62 de la courbe 61 sera observé si, parmi l'ensemble des bouches d'un réseau, au moins une bouche ne régule pas son débit (en cas de défaillance ou simplement dans le cas où l'installation considérée comporte des bouches non régulées)
- L'organigramme de la
figure 7 illustre de manière schématique les différentes phases de fonctionnement du procédé de régulation selon l'invention. - Comme l'illustre cette figure, le procédé selon l'invention comporte les phases suivantes :
- Une phase 71 d'initialisation durant laquelle on détermine un régime de fonctionnement initial RCi permettant de fournir une certaine pression initiale;
- une phase 72 itérative durant laquelle on analyse l'état de fonctionnement de l'installation et on fait évoluer le régime Rc de fonctionnement de l'installation en plus ou en moins en fonction du résultat de l'analyse.
- Selon l'invention, ce régime Rc est susceptible d'évoluer sur une plage comprise entre deux régimes Rcmin et Rcmax, limitant ainsi la plage de fonctionnement de l'installation à des valeurs adaptées.
- Selon l'invention également, le régime de fonctionnement peut être déterminé au moyen d'un contrôle en vitesse du ventilateur du groupe, une variation de la vitesse en plus ou en mois induisant une variation de pression en plus ou en moins respectivement, ou encore d'un contrôle direct en pression ou en couple au niveau du moteur.
- Préférentiellement, durant la phase d'initialisation, Rci est défini comme étant égal à Rcmin, c'est-à-dire le régime de fonctionnement minimal du caisson.
- Selon l'invention, la phase itérative 72 comporte elle-même l'exécution des étapes suivantes :
- une étape 721 de mise en place d'une pression de fonctionnement correspondant au niveau du groupe de ventilation à un régime de consigne Rc donné;
- une étape 722 d'attente de la stabilisation des variations dues à la pression de fonctionnement imposée par le groupe de ventilation ou d'attente d'une temporisation définissant la cadence des itérations de cette phase itérative;
- une étape 723 d'acquisition et d'analyse de la valeur d'au moins un paramètre de mesure lié à l'état de fonctionnement de l'installation dans son ensemble;
- une étape 724 de modification de la valeur du régime de consigne Rc correspondant à la valeur actualisée de la pression de fonctionnement, en fonction de la valeur de chacun des paramètres considérés, valeur acquise lors de l'étape d'acquisition et d'analyse 723;
- une étape 725 de mémorisation d'au moins une valeur d'un paramètre représentant l'état précédent. En particulier, cette étape peut consister à mémoriser différents paramètres comme le débit d'air au niveau du groupe et/ou l'état de fonctionnement de ce dernier et/ou le changement de régime ayant eu lieu à l'itération précédente, ou même, préférentiellement au m itérations précédentes. L'étape 725 se place préférentiellement après l'étape 722.
- Selon l'invention, l'étape 723 d'acquisition et d'analyse peut consister selon l'architecture de l'installation et le mode de mise en œuvre envisagé, en l'acquisition et en l'analyse de paramètres mesurables au niveau du groupe de ventilation lui-même, l'analyse s'appuyant sur les différents paramètres mémorisés à l'étape de mémorisation 725 de l'itération précédente ou des itérations précédentes.
- Avantageusement, on peut alors comparer le débit mesuré au régime de fonctionnement courant Rci au débit mesuré pour le régime de fonctionnement de l'itération précédente Rc(i-1). L'amplitude et le signe de la différence permettent alors, sur la base des éléments mémorisés à l'étape 726, de déterminer la valeur du régime de fonctionnement à imposer au groupe pour l'itération suivante.
- Les éléments mémorisés considérés lors de l'analyse sont typiquement le régime du groupe (si le groupe à l'itération précédente fournissait un niveau de pression satisfaisant) et/ou un changement de régime imposé lors de l'itération précédente (s'il s'agit d'une scrutation en diminuant le régime ou en l'augmentant).
- Par ailleurs, l'étape d'analyse 723 prend également en compte les bornes de fonctionnement Rcmin et Rcmax du groupe de ventilation. Si ces bornes sont atteintes pour une itération donnée, cette étape 723 décidera de réaliser les changements de régime adaptés pour repositionner l'installation dans une zone de fonctionnement nominale ou le cas échéant déclencher un défaut de fonctionnement à destination de l'usager ou de l'installateur, ou encore amener une réinitialisation du système, par retour à l'étape d'initialisation 71.
- Ainsi, l'exploration de tous les régimes de fonctionnement possibles de l'installation entre Rcmin et Rcmax sans obtention d'un régime de fonctionnement satisfaisant en termes de régulation de débit, peut induire la modification des critères d'analyse utilisés lors de l'étape 723 pour déterminer le caractère optimal du régime appliqué à l'itération considérée et aux itérations suivantes. Ceci sera particulièrement utile dans le cas où le niveau de fuite du réseau aéraulique de l'installation est plus important qu'estimé ou si une ou plusieurs bouches de l'installation ne régule pas de manière satisfaisante.
- L'étape d'acquisition et d'analyse 723 peut alternativement, ou de manière complémentaire, consister, si la configuration matérielle de l'installation dans son ensemble et la configuration des bouches de ventilation qui constituent cette installation le permettent, en l'acquisition de paramètres définissant l'état de fonctionnement des bouches elles-mêmes, valeur du débit mesuré ou information Bon/Mauvais comme décrit précédemment. Préférentiellement le paramètre utilisé est un paramètre binaire de défaut de fonctionnement communiqué à l'installation, et/ou à un paramètre de changement d'état d'une bouche. Dit autrement, une bouche donnée peut communiquer au groupe le fait qu'elle a détecté puis réalisé un changement de son état de fonctionnement et qu'elle fonctionne ou non dans sa plage de pression de fonctionnement nominal.
- Les bouches de ventilation 10 selon l'invention utilisées dans ce cas sont du type comportant des moyens de communication 17, préférentiellement sans fil, permettant à chaque bouche de communiquer avec l'installation et par exemple de transmettre à l'installation un indicateur de défaut de débit.
- Le fonctionnement de l'étape 723 peut prendre différentes forme en fonction de l'installation considérée.
- Ainsi, par exemple, considérant que le régime imposé lors de la phase d'initialisation est un régime Rc0 = Rcmin, si l'installation comporte des moyens de mesure et de contrôle capables de mesurer le débit au niveau du groupe et de modifier le régime de fonctionnement de ce même groupe en conséquence, le fonctionnement de l'étape 723 peut être décrit comme suit :
- si pour l'itération considérée, après avoir procédé à une augmentation du régime de fonctionnement d'un incrément donné ΔR (ΔR étant égal à 1% de la plage de fonctionnement RCmax-Rcmin du groupe de ventilation par exemple), on mesure une augmentation de débit supérieure à un seuil déterminé (5m3/h par exemple), seuil qui prend en compte l'augmentation des fuites probables du réseau, le point de fonctionnement de l'installation est considéré comme étant hors de la plage de fonctionnement permettant de réguler le débit de l'installation. La boucle d'itération se poursuit alors par l'exécution de l'étape 724 durant laquelle la valeur du régime de fonctionnement imposé au groupe est à nouveau incrémentée de ΔR.
- si en revanche la mesure de débit réalisée est identique à celle mesurée pour le régime de fonctionnement déterminé pour l'itération précédente, le point de fonctionnement de l'installation est considéré comme étant situé sur la plage de régulation.
- Par suite, si le régime imposé au groupe lors de l'itération précédente était un régime de fonctionnement supérieur, le point de fonctionnement correspondant est considéré comme potentiellement non optimal. La boucle d'itération se poursuit alors par l'exécution de l'étape 724 durant laquelle le régime de fonctionnement du groupe est abaissé d'un incrément ΔR.
- En revanche, si le régime imposé au groupe lors de l'itération précédente était un régime de fonctionnement inférieur, le point optimal de fonctionnement est considéré comme atteint. Le point de fonctionnement est alors maintenu à la valeur considérée, la boucle d'itération se poursuit alors par un retour à l'étape 722. Alternativement le point de fonctionnement est porté, par exécution de l'étape 724 et d'une nouvelle itération, à une valeur un peu supérieure, fonction de la marge de sécurité de fonctionnement que l'on souhaite avoir.
- De manière analogue, si l'installation comporte des bouches de ventilation 10 selon l'invention du type comportant des moyens de communication 17, permettant à chaque bouche de communiquer avec l'installation et par exemple de transmettre à l'installation un indicateur de défaut de débit, le fonctionnement de l'étape 723 peut être décrit comme suit :
- si pour l'itération considérée, après avoir procédé à une augmentation du régime de fonctionnement d'un incrément donné, on constate un défaut de débit sur une des bouches de ventilation, le point de fonctionnement de l'installation est considéré comme étant hors de la plage de fonctionnement permettant de réguler le débit de l'installation. Par suite la valeur du régime de fonctionnement imposé au groupe est à nouveau incrémentée de ΔR (exécution de l'étape 724).
- si en revanche si on ne constate aucun défaut sur l'ensemble de l'installation, le point de fonctionnement de l'installation est considéré comme étant situé sur la plage de régulation.
- Par suite, si le régime imposé au groupe lors de l'itération précédente était un régime de fonctionnement supérieur, le point de fonctionnement correspondant est considéré comme potentiellement non optimal, de sorte que l'on procède à un abaissement du régime de fonctionnement du groupe d'un incrément ΔR (exécution de l'étape 724).
- En revanche, si le régime imposé au groupe lors de l'itération précédente était un régime de fonctionnement inférieur, le point optimal de fonctionnement est considéré comme atteint. Le point de fonctionnement est alors maintenu à la valeur considérée, la boucle d'itération se poursuit alors par un retour à l'étape 722. Alternativement le point de fonctionnement est porté, par exécution de l'étape 724 et d'une nouvelle itération, à une valeur un peu supérieure, fonction de la marge de sécurité de fonctionnement que l'on souhaite avoir.
- Il est à noter que, de manière générale, il est important pour l'analyse de l'étape 723, de prendre en considération l'état de fonctionnement du groupe à l'itération précédente, pour déterminer si à l'itération précédente le groupe fournissait un niveau de pression situé dans la zone de régulation de l'installation (cf. zone 62,
figure 6 ). - Ainsi d'un point de vue fonctionnel, l'étape 723, réalisera une phase itérative permettant à l'installation, partant d'un régime de consigne initial d'aboutir à un régime de fonctionnement optimal c'est-à-dire un régime à la fois minimal et satisfaisant les besoins de l'installation en termes de débit pour chacune de ses bouches. Une fois ce régime installé l'étape 723 analyse à chaque itération un éventuel changement de débit dans l'installation ou encore l'apparition d'un disfonctionnement sur l'une de bouches de ventilation. Si aucun changement n'est constaté, la boucle d'itération se poursuit pour une nouvelle itération par l'étape 722, avec un régime de consigne inchangé. En revanche si un changement est constaté l'analyse effectuée déterminera la nature du changement et par suite déclenchera l'exécution d'une nouvelle itération passant par l'exécution de l'étape 724 durant laquelle le régime de consigne sera incrémenté ou décrémenté, avec pour objectif de déterminer le nouveau régime de fonctionnement optimal.
- Il est à noter que le fonctionnement en régime établi, l'étape 723 peut comporter de manière complémentaire ou alternative, une opération périodique visant à lancer l'étape 724, pour imposer, à l'itération suivante, un incrément de régime de ventilation, de façon à vérifier le bon positionnement du régime de ventilation du système.
- Selon l'invention, l'étape 724 de modification du régime de consigne appliqué au groupe de ventilation consiste en régime établi, c'est-à-dire au bout d'un nombre d'itérations donné, à augmenter ou diminuer le régime de fonctionnement courant Rci d'une valeur ΔR fixe ou éventuellement modulable en fonction des valeur mémorisées ou d'ordres externes que peuvent recevoir les bouches ou le groupe de ventilation centralisé.
- Par ordre externe, on entend des ordres transmis par l'usager de l'espace ventilé issue d'une commande filaire, radio ou via un smartphone, ou encore des informations basées sur un calendrier ou une horloge visant à définir des modes de fonctionnement liés au compromis entre consommation du système et nécessités liées en particulier à l'auto-alimentation des bouches (mise en veille, demande de forte réactivité lors des périodes de toilettes ou de cuisine par exemple, ...). Par ordre externe on peut entendre également l'activation demandée par l'usager d'un grand débit en salle de bain ou en cuisine de manière temporisée.
- Cette étape 724 consiste également en phase de démarrage, c'est à dire durant les premières itérations de la phase 72, à actualiser la valeur de consigne de régime Rci en augmentant ou diminuant d'un valeur ΔR fixe le régime de fonctionnement imposé à l'itération précédente, le signe de ΔR étant fonction de la valeur de la consigne initial Rc0 imposé par la phase d'initialisation 71.
- Ainsi par exemple, dans un mode de mise en œuvre particulier partant d'un régime de fonctionnement initial Rc0 = Rcmin au niveau du groupe, l'étape de modification du régime de consigne Rci 724 accroit le régime de fonctionnement du groupe de façon à faire évoluer le régime imposé au groupe d'un incrément ΔR positif. Cet accroissement constant de régime se poursuit jusqu'à ce que le système ait acquis suffisamment de valeurs successives des paramètres de fonctionnement utilisé à l'étape 723 d'analyse.
- Selon l'invention, l'étape 724 est suivie par un retour à l'étape 721 suivi elle-même par l'étape 722 d'attente de stabilisation des paramètres.
- La
figure 8 illustre de manière schématique le principe de comportement du procédé selon l'invention lors de la phase itérative en considérant les trois situations possibles. Le régime de fonctionnement imposé à l'installation par le groupe de ventilation à l'instant considéré est ici représenté par une droite horizontale, donc à pression constante. Tel qu'exposé précédemment, il est tout à fait possible d'effectuer cette régulation de l'installation en imposant, par exemple, une vitesse constante au ventilateur du groupe de ventilation centralisé. Dans ce dernier cas, la courbe de fonctionnement sera sensiblement décroissante avec le débit. - Les courbes 821 à 823 indiquent, pour une itération donnée, le point de fonctionnement possible de l'installation, point représenté par l'intersection entre la droite 811 du régime de fonctionnement du ventilateur et la courbe 821, 822 ou 823 caractéristique de l'installation de ventilation considéré.
- Le point d'intersection entre la droite 811 et la courbe 821 correspond à une situation pour laquelle la pression de fonctionnement se situe juste au-dessus de la valeur de pression minimale tolérée, dans un intervalle de pression correspondant à une marge de sécurité de fonctionnement donnée.
- Une telle situation correspond à une configuration pour laquelle aucune bouche n'est considérée comme défaillante en termes de débit, et pour laquelle la bouche la plus défavorisée fonctionne à son minimum de pression avec potentiellement une marge de sécurité. Cette configuration fonctionnelle correspond à l'état de fonctionnement optimal que la phase itérative 62 du le procédé selon l'invention tend à maintenir.
- On rappelle que la pression minimale tolérée correspond à la pression en deçà de laquelle on constate une variation de débit de l'installation caractérisant un passage pour certaines bouches de ventilation dans une pression de fonctionnement hors de sa plage de régulation.
- La courbe 822 illustre le cas où, pour une itération donnée, l'état de l'installation, représenté par le point M2, a évolué par rapport à l'état optimal du cas précédent représenté par le point M1, du fait, par exemple, de la fermeture d'une ou plusieurs bouches de ventilations de l'installation.
- Le point de fonctionnement à la pression 811 est alors largement supérieur au point de fonctionnement optimal de l'installation qui correspond alors à la droite horizontale 812. Une telle situation correspond également à une configuration pour laquelle aucune bouche n'est considérée comme défaillante en termes de débit. Cependant, la phase itérative 62 du procédé selon l'invention se poursuit en abaissant graduellement le régime de fonctionnement de l'installation jusqu'à amener la pression de l'installation à la pression optimale 812.
- La courbe 823 illustre le cas où, pour une itération donnée, l'état de l'installation, représenté par le point M3, a évolué par rapport à l'état optimal représenté par le point M1, du fait, par exemple, de l'ouverture d'une ou plusieurs bouches de ventilation de l'installation.
- Dans une telle circonstance, le débit global se trouve augmenté, ainsi que la pression caractéristique, du fait des pertes de charges du réseau qui augmentent avec le débit de l'installation. Par suite le régime de fonctionnement à la pression 811 est alors inférieur au régime de fonctionnement optimal de l'installation qui correspond alors à la droite horizontale 813, de sorte que le fonctionnement de l'installation se fait hors de la plage de régulation.
- Par suite, dans une telle situation pour laquelle certaines bouches de ventilation sont susceptibles de présenter une défaillance en termes de régulation de débit, la phase itérative 72 du procédé selon l'invention se poursuit en élevant graduellement le régime de fonctionnement de l'installation jusqu'à amener la pression de l'installation à la pression optimale 813.
- Ainsi, au cours de l'exécution du procédé selon l'invention, dans l'hypothèse d'une consigne de fonctionnement initiale imposant un régime de fonctionnement initial Rci = Rcmin, le procédé selon l'invention procède à une augmentation progressive de la pression imposée jusqu'à passer d'un point de fonctionnement hors de la plage de régulation de l'installation (illustrée par les courbe 821 à 823 sur la
figure 8 ) à un point de fonctionnement sur la partie basse de la plage de régulation de l'installation. - On assiste ainsi, au rythme des itérations, à une régulation du régime de fonctionnement imposé à l'installation autour d'une valeur Rc proche du régime optimale Rf qui induit une pression de fonctionnement proche de la pression minimale admissible.
- Cependant, en cas de défaut, ou d'une défaillance quelconque, le système sera limité soit à Rcmin ou Rcmax pour éviter une absence de ventilation ou au contraire un excès trop fort de pression induisant de fait une gêne acoustique.
- Il est à noter que, comme cela a été dit précédemment, les différents états détectés peuvent être déterminés par mesure du débit traversant le groupe de ventilation soit par détermination de l'état de fonctionnement des différentes bouches de ventilation, par un moyen de communication sans fil par exemple.
Claims (17)
- Bouche de ventilation pour installation de ventilation, comportant :- une manchette (11) destinée à être raccordée à l'extrémité d'une canalisation d'un système général de ventilation,- un capteur de débit (12) porté par ladite bouche (10) et configuré pour capter une partie au moins du flux d'air circulant dans la bouche (10) et pour produire un signal électrique (18) caractérisant et quantifiant le débit d'air traversant la bouche de ventilation (10),- un circuit électronique de commande et de mesure (13) porté par ladite bouche et configuré pour déterminer la valeur du débit d'air capté, par analyse du signal électrique (18) produit par le capteur de débit (12);- un circuit modulateur de débit (15) commandable, porté par ladite bouche (10), permettant de faire varier, sur commande du circuit de commande et de mesure (13), le débit d'air à travers le conduit de circulation d'air (11) de la bouche (10),- un capteur (16) permettant de déterminer un besoin de ventilation spécifique dans la zone de l'espace où la bouche (10) est installée et fournissant au circuit de mesure et de commande (13) les mesures d'un ou plusieurs paramètres rendant compte dudit besoin de ventilation spécifique, une valeur de consigne de débit déterminant la commande du circuit modulateur de débit (15) étant définie en fonction des valeurs des paramètres mesurés par ledit au moins un capteur (16),- le capteur de débit (12), le circuit modulateur de débit (15), le capteur complémentaire (16) et le circuit électronique de mesure et de commande (13) étant alimentés par une source d'énergie électrique autonome (14) intégrée à la bouche de ventilation (10),caractérisée en ce que le capteur de débit d'air (12), le circuit électronique de commande et de mesure (13), le circuit modulateur de débit (15) et la source d'énergie électrique autonome (14) sont configurés pour être logés à l'intérieur de la manchette (11).
- Bouche de ventilation selon la revendication 1, caractérisée en ce que le capteur de débit (12) comporte une turbine aéraulique (300) configurée pour être entrainée en rotation par le flux d'air traversant le conduit couplée mécaniquement à une génératrice (500A) produisant un courant électrique alternatif dont la fréquence varie directement en fonction de la vitesse de rotation de la turbine (300), le signal électrique produit par la génératrice constituant à la fois la source d'énergie électrique autonome (14) alimentant en énergie le circuit de mesure et de commande (500B) et le signal électrique (18) utilisé par ledit circuit de mesure et de commande pour déterminer la valeur du débit d'air capté.
- Bouche de ventilation selon la revendication 1 ou 2, caractérisée en ce que le circuit de modulateur de débit (15) comporte un obturateur (600A, 600B) configuré pour obturer, sur commande de l'élément de mesure et de commande (500B), tout ou partie du conduit de circulation d'air (100B) de façon à réguler le débit d'air à travers ce conduit; le circuit modulateur de débit (15) étant alimenté en électricité par la source d'énergie électrique autonome (14) intégrée à la bouche de ventilation (10).
- Bouche de ventilation selon la revendication 2, caractérisée en ce que le circuit modulateur de débit (15) comporte des moyens pour appliquer une charge variable au capteur de débit (15), la valeur de la charge appliquée étant commandée par le circuit de mesure et de commande (13).
- Bouche de ventilation selon l'une quelconque des revendications 1 à 4, caractérisée en ce que le circuit électronique de mesure et de commande est configuré de façon à transmettre une commande de fonctionnement au circuit de régulation de débit, ladite commande étant déterminée, par comparaison de la valeur de débit d'air mesurée avec une valeur de débit d'air de consigne donnée, de façon à maintenir le débit mesuré à travers la bouche sensiblement égal à la valeur de consigne.
- Bouche selon l'une quelconque des revendications précédentes, caractérisée en ce que le capteur (16) permettant de déterminer un besoin de ventilation est un capteur de qualité d'air
- Bouche de ventilation selon l'une quelconque des revendications précédentes, caractérisée en ce que le circuit électronique de mesure et de commande (13) est configuré pour transmettre à un ou plusieurs destinataires des informations relatives au débit d'air mesuré et/ou à l'état de fonctionnement de la bouche de ventilation (10).
- Bouche de ventilation selon l'une quelconque des revendications précédentes, caractérisée en ce que le circuit de mesure et de commande (13) est configuré pour recevoir d'un ou plusieurs expéditeurs des informations relatives à l'état de fonctionnement desdits expéditeurs et/ou des commandes de fonctionnement destinées à modifier l'état de fonctionnement de la bouche de ventilation (10).
- Bouche de ventilation selon l'une quelconque des revendications précédentes, caractérisée en ce que le circuit de mesure et de commande (13) comporte des moyens de communication (17) lui permettant de communiquer avec des éléments distants par liaison sans fil.
- Installation de ventilation d'un bâtiment, caractérisée en ce qu'elle comporte un groupe central de ventilation et au moins une bouche de ventilation (10) selon l'une quelconque des revendications précédentes, chaque bouche (10) étant reliée au groupe central de ventilation par l'intermédiaire d'un réseau de gaines de ventilation, le groupe central de ventilation étant configuré pour pouvoir faire varier son état de fonctionnement en termes de pression et/ou de débit.
- Installation de ventilation selon la revendication 10, caractérisée en ce que, au moins certaines des bouches de ventilation (10) étant configurées pour transmettre par liaison sans fil (17) des informations relatives à leur état de fonctionnement et/ou les mesures de débit d'air réalisées par les moyens dont elles sont équipées, le groupe central de ventilation comporte un organe de commande configuré pour recevoir les informations transmises par chaque bouche (10) équipée et faire varier son état de fonctionnement en pression et/ou en débit en fonction desdites informations.
- Installation de ventilation d'un bâtiment selon l'une des revendications 10 ou 11, caractérisée en ce que le groupe central de ventilation comporte des moyens pour mesurer le débit d'air le traversant.
- Procédé de mise en œuvre d'une installation de ventilation d'un bâtiment selon l'une des revendications 10 à 12 caractérisé en ce qu'il comporte les étapes suivantes :- Une phase d'initialisation (71) durant laquelle on impose au groupe de ventilation un régime de fonctionnement Rc0 lui permettant de fournir une pression donnée- une phase itérative (72) durant laquelle on analyse l'état de fonctionnement de l'installation et on fait évoluer le régime de consigne Rc ou on le régime de consigne courant en fonction du résultat de l'analyse.
- Procédé selon la revendication 13, caractérisé en ce que la phase itérative comporte l'exécution des étapes suivantes :- Une première étape (721) de mise en place d'une pression de fonctionnement correspondant à un régime de consigne Rc donné;- une deuxième étape (722) d'attente de la stabilisation des variations dues au régime appliqué;- une troisième étape (723) d'acquisition et d'analyse de la valeur d'au moins un paramètre de mesure lié à l'état de fonctionnement de l'installation dans son ensemble;- une quatrième étape de modification (724) de la valeur du régime de consigne correspondant à la valeur actualisée de la pression de fonctionnement, en fonction de la valeur de chaque paramètre considéré, acquise lors de l'étape d'acquisition (723).- une cinquième étape de mémorisation (725) placée après la deuxième étape (722) durant laquelle on mémorise plusieurs valeurs successives d'au moins paramètre de fonctionnement de l'installation, ces valeurs étant mémorisées au cours des itérations précédant l'itération considérée.
- Procédé selon la revendication 14, caractérisé en ce que l'étape de modification (724) du régime de consigne Rc modifie la valeur dudit régime de fonctionnement d'un incrément ΔR négatif ou positif selon que la variation de la valeur du ou des paramètres pris en compte pour l'analyse est conforme ou non à une valeur de référence.
- Procédé selon l'une des revendications 14 ou 15, caractérisé en ce que, l'installation comportant un groupe équipé de moyens de mesure du débit d'air qui traverse le groupe, l'étape d'analyse (723) de la phase itérative (72) comporte une opération de mesure du débit d'air et d'analyse de la variation de cette valeur au fil des itérations.
- Procédé selon la revendication 13 à 15, caractérisé en ce que, l'installation comportant un groupe de ventilation équipé de moyens assurant une liaison entre le groupe de ventilation et des bouches de ventilation (10) transmettant chacune par liaison sans fil (17) une information relative à son état de fonctionnement, l'étape d'acquisition comporte une opération lecture de l'information d'état transmise par chacune des bouches de ventilation considérées et de comparaison de cet état avec un état de référence donné.
Applications Claiming Priority (1)
| Application Number | Priority Date | Filing Date | Title |
|---|---|---|---|
| FR1557743A FR3040088B1 (fr) | 2015-08-14 | 2015-08-14 | Bouche autoalimentee a regulation de debit et procede de regulation d'une installation vmc associee |
Publications (2)
| Publication Number | Publication Date |
|---|---|
| EP3130865A1 EP3130865A1 (fr) | 2017-02-15 |
| EP3130865B1 true EP3130865B1 (fr) | 2020-05-13 |
Family
ID=54783755
Family Applications (1)
| Application Number | Title | Priority Date | Filing Date |
|---|---|---|---|
| EP16183800.8A Revoked EP3130865B1 (fr) | 2015-08-14 | 2016-08-11 | Bouche autoalimentée à régulation de débit et procédé de régulation d'une installation vmc associée |
Country Status (2)
| Country | Link |
|---|---|
| EP (1) | EP3130865B1 (fr) |
| FR (1) | FR3040088B1 (fr) |
Families Citing this family (5)
| Publication number | Priority date | Publication date | Assignee | Title |
|---|---|---|---|---|
| FR3070752B1 (fr) * | 2017-09-07 | 2019-08-30 | Atlantic Climatisation & Ventilation | Procede de regulation en debit et en pression d'une installation de ventilation |
| FR3095031B1 (fr) * | 2019-04-09 | 2021-08-06 | Anjos Ventilation | Bouche d’extraction d’air |
| FR3114868B1 (fr) * | 2020-10-01 | 2022-11-25 | Aereco | Bouche d’extraction ou insufflation d’air améliorée pour système de ventilation d’un local |
| FR3146339A1 (fr) * | 2023-03-02 | 2024-09-06 | Vti | Procédé de régulation d’un réseau de ventilation d’un bâtiment |
| FR3162834A1 (fr) * | 2024-05-31 | 2025-12-05 | Alexis CHEVALIER | Bouche d'extraction d'air ajustable pour la ventilation d'une pièce, équipée d'un système de montage démontable |
Citations (3)
| Publication number | Priority date | Publication date | Assignee | Title |
|---|---|---|---|---|
| US20070178823A1 (en) | 2004-11-12 | 2007-08-02 | Aronstam Peter S | Airflow control system |
| FR2930017A1 (fr) | 2008-04-15 | 2009-10-16 | Atlantic Climatisation & Venti | Procede de regulation d'un groupe de ventilation par sauts de debit d'air |
| FR2932552A1 (fr) | 2008-06-17 | 2009-12-18 | Atlantic Climatisation & Venti | Procede de regulation d'une installation de ventilation |
Family Cites Families (6)
| Publication number | Priority date | Publication date | Assignee | Title |
|---|---|---|---|---|
| US5251815A (en) * | 1992-12-18 | 1993-10-12 | American Standard Inc. | Self powered and balancing air damper |
| US5364304A (en) * | 1993-01-21 | 1994-11-15 | Hampton Electronics, Inc. | Remotely controlled electrically actuated air flow control register |
| US6692349B1 (en) * | 2001-06-11 | 2004-02-17 | Fusion Design, Inc. | Computer controlled air vent |
| US20060286918A1 (en) * | 2005-06-16 | 2006-12-21 | Vargas George A | Self-powered automated air vent |
| US20110053487A1 (en) * | 2009-08-31 | 2011-03-03 | Casey Daniel P | Vent Cover and Louver Assembly |
| US20140222216A1 (en) * | 2013-02-07 | 2014-08-07 | E3Control, Inc. | Wireless HVAC Vent |
-
2015
- 2015-08-14 FR FR1557743A patent/FR3040088B1/fr active Active
-
2016
- 2016-08-11 EP EP16183800.8A patent/EP3130865B1/fr not_active Revoked
Patent Citations (3)
| Publication number | Priority date | Publication date | Assignee | Title |
|---|---|---|---|---|
| US20070178823A1 (en) | 2004-11-12 | 2007-08-02 | Aronstam Peter S | Airflow control system |
| FR2930017A1 (fr) | 2008-04-15 | 2009-10-16 | Atlantic Climatisation & Venti | Procede de regulation d'un groupe de ventilation par sauts de debit d'air |
| FR2932552A1 (fr) | 2008-06-17 | 2009-12-18 | Atlantic Climatisation & Venti | Procede de regulation d'une installation de ventilation |
Non-Patent Citations (1)
| Title |
|---|
| "VMC simple flux en habitat collectif - conception et dimensionnement, installation et mise en service, entretien et maintenance", February 2013 (2013-02-01), XP055752127 |
Also Published As
| Publication number | Publication date |
|---|---|
| FR3040088A1 (fr) | 2017-02-17 |
| FR3040088B1 (fr) | 2019-12-27 |
| EP3130865A1 (fr) | 2017-02-15 |
Similar Documents
| Publication | Publication Date | Title |
|---|---|---|
| EP3130865B1 (fr) | Bouche autoalimentée à régulation de débit et procédé de régulation d'une installation vmc associée | |
| WO2020188077A1 (fr) | Procédé de détermination d'un masque solaire pour une installation et procédé de vérification de comptabilité d'un dispositif d'entraînement motorisé | |
| WO2018069656A1 (fr) | Dispositif autonome de mesure des caractéristiques d'un fluide circulant dans un conduit et système de commande de la ventilation, de la climatisation et/ou du chauffage utilisant un tel dispositif | |
| EP4220023B1 (fr) | Régulation de la pression fournie par un ventilateur d'extraction ou d'insufflation d'air dans une installation de ventilation | |
| EP2891846B1 (fr) | Procédé de pilotage d un système de ventilation simple flux | |
| EP3343123B2 (fr) | Dispositif autoalimente d'extraction ou d'insufflation d'air | |
| FR3070752B1 (fr) | Procede de regulation en debit et en pression d'une installation de ventilation | |
| EP3190256A1 (fr) | Installation domotique et procédé de commande associé | |
| FR2967793A1 (fr) | Systeme de gestion de l'energie dans un batiment | |
| FR3035198A1 (fr) | Appareil de chauffage electrique a accumulation et procede de charge d'un tel appareil de chauffage | |
| WO2023208949A1 (fr) | Procédé de vérification de compatibilité d'un dispositif d'entraînement motorisé d'un dispositif d'occultation pour une installation de fermeture, d'occultation ou de protection solaire | |
| FR2978569A1 (fr) | Procede de commande pour gerer le confort d'une zone d'un batiment selon une approche multicriteres et installation pour la mise en oeuvre du procede | |
| EP3969820A1 (fr) | Procédé et installation de régulation thermique chaud et/ou froid multizone d'un bâtiment via un réseau aéraulique | |
| FR3040087A1 (fr) | Bouche d'extraction ou d'insufflation d'air | |
| FR3110218A1 (fr) | Procédé et installation de régulation thermique chaud et/ou froid multizone d’un bâtiment via un réseau aéraulique. | |
| EP3223108B1 (fr) | Procédé pour la régulation de la température d'un local à pièces multiples par un système climatique et système climatique mettant en oeuvre un tel procédé | |
| FR2966227A1 (fr) | Installation de ventilation mecanique par insufflation hygroregulee et procede associe | |
| EP3045983B1 (fr) | Procédé et dispositif de commande d'au moins un dispositif d'occultation d'au moins une ouverture d'une pièce d'un bâtiment | |
| FR3007827A1 (fr) | Dispositif de commande d'au moins un dispositif de ventilation parametrable. | |
| EP0165175A2 (fr) | Bouche et installation de ventilation réglable en fonction de la température et du taux d'humidité du flux d'air | |
| FR2966226A1 (fr) | Installation de ventilation mecanique par insufflation hygroregulee et procede associe | |
| EP4442955A1 (fr) | Procédé de vérification de compatibilité d'un dispositif d'entraînement motorisé d'un dispositif d'occultation pour une installation de fermeture, d'occultation ou de protection solaire | |
| FR3149396A1 (fr) | Algorithme de détection d’une surchauffe à partir d’une mesure de température intérieure | |
| EP4444979A1 (fr) | Procédé de détermination d'un paramètre d'une installation de fermeture, d'occultation ou de protection solaire | |
| EP2551742A1 (fr) | Système de gestion d'au moins un paramètre de confort d'un bâtiment, dispositif calculateur et équipement de bâtiment |
Legal Events
| Date | Code | Title | Description |
|---|---|---|---|
| PUAI | Public reference made under article 153(3) epc to a published international application that has entered the european phase |
Free format text: ORIGINAL CODE: 0009012 |
|
| STAA | Information on the status of an ep patent application or granted ep patent |
Free format text: STATUS: THE APPLICATION HAS BEEN PUBLISHED |
|
| AK | Designated contracting states |
Kind code of ref document: A1 Designated state(s): AL AT BE BG CH CY CZ DE DK EE ES FI FR GB GR HR HU IE IS IT LI LT LU LV MC MK MT NL NO PL PT RO RS SE SI SK SM TR |
|
| AX | Request for extension of the european patent |
Extension state: BA ME |
|
| STAA | Information on the status of an ep patent application or granted ep patent |
Free format text: STATUS: REQUEST FOR EXAMINATION WAS MADE |
|
| 17P | Request for examination filed |
Effective date: 20170811 |
|
| RBV | Designated contracting states (corrected) |
Designated state(s): AL AT BE BG CH CY CZ DE DK EE ES FI FR GB GR HR HU IE IS IT LI LT LU LV MC MK MT NL NO PL PT RO RS SE SI SK SM TR |
|
| STAA | Information on the status of an ep patent application or granted ep patent |
Free format text: STATUS: EXAMINATION IS IN PROGRESS |
|
| 17Q | First examination report despatched |
Effective date: 20190221 |
|
| REG | Reference to a national code |
Ref country code: DE Ref legal event code: R079 Ref document number: 602016036273 Country of ref document: DE Free format text: PREVIOUS MAIN CLASS: F24F0013140000 Ipc: F24F0011000000 |
|
| RIC1 | Information provided on ipc code assigned before grant |
Ipc: F24F 11/00 20180101AFI20191220BHEP |
|
| GRAP | Despatch of communication of intention to grant a patent |
Free format text: ORIGINAL CODE: EPIDOSNIGR1 |
|
| STAA | Information on the status of an ep patent application or granted ep patent |
Free format text: STATUS: GRANT OF PATENT IS INTENDED |
|
| INTG | Intention to grant announced |
Effective date: 20200131 |
|
| GRAS | Grant fee paid |
Free format text: ORIGINAL CODE: EPIDOSNIGR3 |
|
| GRAA | (expected) grant |
Free format text: ORIGINAL CODE: 0009210 |
|
| STAA | Information on the status of an ep patent application or granted ep patent |
Free format text: STATUS: THE PATENT HAS BEEN GRANTED |
|
| AK | Designated contracting states |
Kind code of ref document: B1 Designated state(s): AL AT BE BG CH CY CZ DE DK EE ES FI FR GB GR HR HU IE IS IT LI LT LU LV MC MK MT NL NO PL PT RO RS SE SI SK SM TR |
|
| REG | Reference to a national code |
Ref country code: GB Ref legal event code: FG4D Free format text: NOT ENGLISH |
|
| REG | Reference to a national code |
Ref country code: CH Ref legal event code: EP |
|
| REG | Reference to a national code |
Ref country code: DE Ref legal event code: R096 Ref document number: 602016036273 Country of ref document: DE |
|
| REG | Reference to a national code |
Ref country code: AT Ref legal event code: REF Ref document number: 1270805 Country of ref document: AT Kind code of ref document: T Effective date: 20200615 |
|
| REG | Reference to a national code |
Ref country code: NL Ref legal event code: FP |
|
| REG | Reference to a national code |
Ref country code: LT Ref legal event code: MG4D |
|
| PG25 | Lapsed in a contracting state [announced via postgrant information from national office to epo] |
Ref country code: FI Free format text: LAPSE BECAUSE OF FAILURE TO SUBMIT A TRANSLATION OF THE DESCRIPTION OR TO PAY THE FEE WITHIN THE PRESCRIBED TIME-LIMIT Effective date: 20200513 Ref country code: IS Free format text: LAPSE BECAUSE OF FAILURE TO SUBMIT A TRANSLATION OF THE DESCRIPTION OR TO PAY THE FEE WITHIN THE PRESCRIBED TIME-LIMIT Effective date: 20200913 Ref country code: PT Free format text: LAPSE BECAUSE OF FAILURE TO SUBMIT A TRANSLATION OF THE DESCRIPTION OR TO PAY THE FEE WITHIN THE PRESCRIBED TIME-LIMIT Effective date: 20200914 Ref country code: SE Free format text: LAPSE BECAUSE OF FAILURE TO SUBMIT A TRANSLATION OF THE DESCRIPTION OR TO PAY THE FEE WITHIN THE PRESCRIBED TIME-LIMIT Effective date: 20200513 Ref country code: LT Free format text: LAPSE BECAUSE OF FAILURE TO SUBMIT A TRANSLATION OF THE DESCRIPTION OR TO PAY THE FEE WITHIN THE PRESCRIBED TIME-LIMIT Effective date: 20200513 Ref country code: NO Free format text: LAPSE BECAUSE OF FAILURE TO SUBMIT A TRANSLATION OF THE DESCRIPTION OR TO PAY THE FEE WITHIN THE PRESCRIBED TIME-LIMIT Effective date: 20200813 Ref country code: GR Free format text: LAPSE BECAUSE OF FAILURE TO SUBMIT A TRANSLATION OF THE DESCRIPTION OR TO PAY THE FEE WITHIN THE PRESCRIBED TIME-LIMIT Effective date: 20200814 |
|
| REG | Reference to a national code |
Ref country code: DE Ref legal event code: R026 Ref document number: 602016036273 Country of ref document: DE |
|
| PLBI | Opposition filed |
Free format text: ORIGINAL CODE: 0009260 |
|
| PG25 | Lapsed in a contracting state [announced via postgrant information from national office to epo] |
Ref country code: RS Free format text: LAPSE BECAUSE OF FAILURE TO SUBMIT A TRANSLATION OF THE DESCRIPTION OR TO PAY THE FEE WITHIN THE PRESCRIBED TIME-LIMIT Effective date: 20200513 Ref country code: LV Free format text: LAPSE BECAUSE OF FAILURE TO SUBMIT A TRANSLATION OF THE DESCRIPTION OR TO PAY THE FEE WITHIN THE PRESCRIBED TIME-LIMIT Effective date: 20200513 Ref country code: BG Free format text: LAPSE BECAUSE OF FAILURE TO SUBMIT A TRANSLATION OF THE DESCRIPTION OR TO PAY THE FEE WITHIN THE PRESCRIBED TIME-LIMIT Effective date: 20200813 Ref country code: HR Free format text: LAPSE BECAUSE OF FAILURE TO SUBMIT A TRANSLATION OF THE DESCRIPTION OR TO PAY THE FEE WITHIN THE PRESCRIBED TIME-LIMIT Effective date: 20200513 |
|
| REG | Reference to a national code |
Ref country code: AT Ref legal event code: MK05 Ref document number: 1270805 Country of ref document: AT Kind code of ref document: T Effective date: 20200513 |
|
| 26 | Opposition filed |
Opponent name: ENERBEE Effective date: 20201105 |
|
| PG25 | Lapsed in a contracting state [announced via postgrant information from national office to epo] |
Ref country code: AL Free format text: LAPSE BECAUSE OF FAILURE TO SUBMIT A TRANSLATION OF THE DESCRIPTION OR TO PAY THE FEE WITHIN THE PRESCRIBED TIME-LIMIT Effective date: 20200513 |
|
| PG25 | Lapsed in a contracting state [announced via postgrant information from national office to epo] |
Ref country code: IT Free format text: LAPSE BECAUSE OF FAILURE TO SUBMIT A TRANSLATION OF THE DESCRIPTION OR TO PAY THE FEE WITHIN THE PRESCRIBED TIME-LIMIT Effective date: 20200513 Ref country code: AT Free format text: LAPSE BECAUSE OF FAILURE TO SUBMIT A TRANSLATION OF THE DESCRIPTION OR TO PAY THE FEE WITHIN THE PRESCRIBED TIME-LIMIT Effective date: 20200513 Ref country code: DK Free format text: LAPSE BECAUSE OF FAILURE TO SUBMIT A TRANSLATION OF THE DESCRIPTION OR TO PAY THE FEE WITHIN THE PRESCRIBED TIME-LIMIT Effective date: 20200513 Ref country code: EE Free format text: LAPSE BECAUSE OF FAILURE TO SUBMIT A TRANSLATION OF THE DESCRIPTION OR TO PAY THE FEE WITHIN THE PRESCRIBED TIME-LIMIT Effective date: 20200513 Ref country code: SM Free format text: LAPSE BECAUSE OF FAILURE TO SUBMIT A TRANSLATION OF THE DESCRIPTION OR TO PAY THE FEE WITHIN THE PRESCRIBED TIME-LIMIT Effective date: 20200513 Ref country code: ES Free format text: LAPSE BECAUSE OF FAILURE TO SUBMIT A TRANSLATION OF THE DESCRIPTION OR TO PAY THE FEE WITHIN THE PRESCRIBED TIME-LIMIT Effective date: 20200513 Ref country code: RO Free format text: LAPSE BECAUSE OF FAILURE TO SUBMIT A TRANSLATION OF THE DESCRIPTION OR TO PAY THE FEE WITHIN THE PRESCRIBED TIME-LIMIT Effective date: 20200513 Ref country code: CZ Free format text: LAPSE BECAUSE OF FAILURE TO SUBMIT A TRANSLATION OF THE DESCRIPTION OR TO PAY THE FEE WITHIN THE PRESCRIBED TIME-LIMIT Effective date: 20200513 |
|
| PLAX | Notice of opposition and request to file observation + time limit sent |
Free format text: ORIGINAL CODE: EPIDOSNOBS2 |
|
| PG25 | Lapsed in a contracting state [announced via postgrant information from national office to epo] |
Ref country code: PL Free format text: LAPSE BECAUSE OF FAILURE TO SUBMIT A TRANSLATION OF THE DESCRIPTION OR TO PAY THE FEE WITHIN THE PRESCRIBED TIME-LIMIT Effective date: 20200513 Ref country code: SK Free format text: LAPSE BECAUSE OF FAILURE TO SUBMIT A TRANSLATION OF THE DESCRIPTION OR TO PAY THE FEE WITHIN THE PRESCRIBED TIME-LIMIT Effective date: 20200513 |
|
| REG | Reference to a national code |
Ref country code: DE Ref legal event code: R119 Ref document number: 602016036273 Country of ref document: DE |
|
| PG25 | Lapsed in a contracting state [announced via postgrant information from national office to epo] |
Ref country code: MC Free format text: LAPSE BECAUSE OF FAILURE TO SUBMIT A TRANSLATION OF THE DESCRIPTION OR TO PAY THE FEE WITHIN THE PRESCRIBED TIME-LIMIT Effective date: 20200513 |
|
| REG | Reference to a national code |
Ref country code: CH Ref legal event code: PL |
|
| GBPC | Gb: european patent ceased through non-payment of renewal fee |
Effective date: 20200813 |
|
| PG25 | Lapsed in a contracting state [announced via postgrant information from national office to epo] |
Ref country code: LI Free format text: LAPSE BECAUSE OF NON-PAYMENT OF DUE FEES Effective date: 20200831 Ref country code: LU Free format text: LAPSE BECAUSE OF NON-PAYMENT OF DUE FEES Effective date: 20200811 Ref country code: CH Free format text: LAPSE BECAUSE OF NON-PAYMENT OF DUE FEES Effective date: 20200831 |
|
| PG25 | Lapsed in a contracting state [announced via postgrant information from national office to epo] |
Ref country code: SI Free format text: LAPSE BECAUSE OF FAILURE TO SUBMIT A TRANSLATION OF THE DESCRIPTION OR TO PAY THE FEE WITHIN THE PRESCRIBED TIME-LIMIT Effective date: 20200513 |
|
| PLBB | Reply of patent proprietor to notice(s) of opposition received |
Free format text: ORIGINAL CODE: EPIDOSNOBS3 |
|
| PG25 | Lapsed in a contracting state [announced via postgrant information from national office to epo] |
Ref country code: DE Free format text: LAPSE BECAUSE OF NON-PAYMENT OF DUE FEES Effective date: 20210302 |
|
| PG25 | Lapsed in a contracting state [announced via postgrant information from national office to epo] |
Ref country code: IE Free format text: LAPSE BECAUSE OF NON-PAYMENT OF DUE FEES Effective date: 20200811 Ref country code: GB Free format text: LAPSE BECAUSE OF NON-PAYMENT OF DUE FEES Effective date: 20200813 |
|
| REG | Reference to a national code |
Ref country code: NL Ref legal event code: HC Owner name: ATLANTIC CLIMATISATION ET TRAITEMENT D'AIR INDUSTRIE; FR Free format text: DETAILS ASSIGNMENT: CHANGE OF OWNER(S), CHANGE OF OWNER(S) NAME; FORMER OWNER NAME: ATLANTIC CLIMATISATION ET VENTILATION Effective date: 20220426 |
|
| PG25 | Lapsed in a contracting state [announced via postgrant information from national office to epo] |
Ref country code: TR Free format text: LAPSE BECAUSE OF FAILURE TO SUBMIT A TRANSLATION OF THE DESCRIPTION OR TO PAY THE FEE WITHIN THE PRESCRIBED TIME-LIMIT Effective date: 20200513 Ref country code: MT Free format text: LAPSE BECAUSE OF FAILURE TO SUBMIT A TRANSLATION OF THE DESCRIPTION OR TO PAY THE FEE WITHIN THE PRESCRIBED TIME-LIMIT Effective date: 20200513 Ref country code: CY Free format text: LAPSE BECAUSE OF FAILURE TO SUBMIT A TRANSLATION OF THE DESCRIPTION OR TO PAY THE FEE WITHIN THE PRESCRIBED TIME-LIMIT Effective date: 20200513 |
|
| PG25 | Lapsed in a contracting state [announced via postgrant information from national office to epo] |
Ref country code: MK Free format text: LAPSE BECAUSE OF FAILURE TO SUBMIT A TRANSLATION OF THE DESCRIPTION OR TO PAY THE FEE WITHIN THE PRESCRIBED TIME-LIMIT Effective date: 20200513 |
|
| REG | Reference to a national code |
Ref country code: BE Ref legal event code: HC Owner name: ATLANTIC CLIMATISATION ET TRAITEMENT D'AIR INDUSTRIE; FR Free format text: DETAILS ASSIGNMENT: CHANGE OF OWNER(S), CHANGE OF OWNER(S) NAME; FORMER OWNER NAME: ATLANTIC CLIMATISATION ET VENTILATION Effective date: 20220517 |
|
| PGFP | Annual fee paid to national office [announced via postgrant information from national office to epo] |
Ref country code: NL Payment date: 20220822 Year of fee payment: 7 |
|
| PLAB | Opposition data, opponent's data or that of the opponent's representative modified |
Free format text: ORIGINAL CODE: 0009299OPPO |
|
| REG | Reference to a national code |
Ref country code: DE Ref legal event code: R103 Ref document number: 602016036273 Country of ref document: DE Ref country code: DE Ref legal event code: R064 Ref document number: 602016036273 Country of ref document: DE |
|
| R26 | Opposition filed (corrected) |
Opponent name: ENERBEE TECHNOLOGY Effective date: 20201105 |
|
| PGFP | Annual fee paid to national office [announced via postgrant information from national office to epo] |
Ref country code: FR Payment date: 20220823 Year of fee payment: 7 Ref country code: BE Payment date: 20220817 Year of fee payment: 7 |
|
| RDAF | Communication despatched that patent is revoked |
Free format text: ORIGINAL CODE: EPIDOSNREV1 |
|
| RDAG | Patent revoked |
Free format text: ORIGINAL CODE: 0009271 |
|
| STAA | Information on the status of an ep patent application or granted ep patent |
Free format text: STATUS: PATENT REVOKED |
|
| REG | Reference to a national code |
Ref country code: CH Ref legal event code: PL |
|
| 27W | Patent revoked |
Effective date: 20221018 |
|
| P01 | Opt-out of the competence of the unified patent court (upc) registered |
Effective date: 20230530 |