EP3113293A1 - Peripheral wedge seal member - Google Patents

Peripheral wedge seal member Download PDF

Info

Publication number
EP3113293A1
EP3113293A1 EP16176733.0A EP16176733A EP3113293A1 EP 3113293 A1 EP3113293 A1 EP 3113293A1 EP 16176733 A EP16176733 A EP 16176733A EP 3113293 A1 EP3113293 A1 EP 3113293A1
Authority
EP
European Patent Office
Prior art keywords
seal member
connector housing
recited
plug connector
peripheral wedge
Prior art date
Legal status (The legal status is an assumption and is not a legal conclusion. Google has not performed a legal analysis and makes no representation as to the accuracy of the status listed.)
Withdrawn
Application number
EP16176733.0A
Other languages
German (de)
French (fr)
Inventor
William Henry Bernhart
Current Assignee (The listed assignees may be inaccurate. Google has not performed a legal analysis and makes no representation or warranty as to the accuracy of the list.)
TE Connectivity Corp
Original Assignee
Tyco Electronics Corp
Priority date (The priority date is an assumption and is not a legal conclusion. Google has not performed a legal analysis and makes no representation as to the accuracy of the date listed.)
Filing date
Publication date
Application filed by Tyco Electronics Corp filed Critical Tyco Electronics Corp
Publication of EP3113293A1 publication Critical patent/EP3113293A1/en
Withdrawn legal-status Critical Current

Links

Images

Classifications

    • HELECTRICITY
    • H01ELECTRIC ELEMENTS
    • H01RELECTRICALLY-CONDUCTIVE CONNECTIONS; STRUCTURAL ASSOCIATIONS OF A PLURALITY OF MUTUALLY-INSULATED ELECTRICAL CONNECTING ELEMENTS; COUPLING DEVICES; CURRENT COLLECTORS
    • H01R13/00Details of coupling devices of the kinds covered by groups H01R12/70 or H01R24/00 - H01R33/00
    • H01R13/46Bases; Cases
    • H01R13/52Dustproof, splashproof, drip-proof, waterproof, or flameproof cases
    • H01R13/5219Sealing means between coupling parts, e.g. interfacial seal
    • HELECTRICITY
    • H01ELECTRIC ELEMENTS
    • H01RELECTRICALLY-CONDUCTIVE CONNECTIONS; STRUCTURAL ASSOCIATIONS OF A PLURALITY OF MUTUALLY-INSULATED ELECTRICAL CONNECTING ELEMENTS; COUPLING DEVICES; CURRENT COLLECTORS
    • H01R13/00Details of coupling devices of the kinds covered by groups H01R12/70 or H01R24/00 - H01R33/00
    • H01R13/46Bases; Cases
    • H01R13/533Bases, cases made for use in extreme conditions, e.g. high temperature, radiation, vibration, corrosive environment, pressure

Definitions

  • the present invention is directed to a peripheral wedge seal member.
  • the invention is directed to a peripheral wedge seal member which provides sealing and vibration dampening between a housing of a plug connector and a housing of a receptacle connector.
  • An electrical connector assembly includes a first or plug connector and a second or receptacle connector that are configured to mate with one another.
  • Each connector typically has a housing and at least one cavity extends through the housing. Each cavity is configured to receive a terminal fitting.
  • One end of each terminal fitting typically is connected to a conductor, such as the wire, cable, busbar, an electrical device or a conductive region of a circuit board. The opposed end of each terminal fitting is configured for achieving electrical connection with a terminal fitting in the mating connector.
  • a seal of this type typically is mounted at an area where two parts of the mating housings will telescope together.
  • a frame-shaped seal or a toroid-shaped seal may be mounted over one housing of a connector assembly. The end of the mating housing will abut against the seal when the housings are connected. Thus, the seal engages the interface between the two housings to provide sealing.
  • the problem to be solved is the need to have a peripheral wedge seal which can be used to effectively seal the assembly over a wide range of functional dimensions, provides for lower mating and un-mating forces, provides more compliancy, and provides sufficient vibration dampening between the plug connector and the receptacle connector even in harsh environments.
  • the solution is provided by a seal member for use with a plug connector housing and a receptacle connector housing.
  • the seal member includes a deformable body which has tapered walls which extend from a thicker first end to a less thick second end. Each of the walls has a first surface and a second surface which is angled with respect to the first surface. At least one groove extends along the first surface. At least one support rib is provided proximate the at least one groove. The at least one groove and the at least one support rib form a spring member which allows the deformable body of the seal member to compress when the plug connector housing and the receptacle connector housing are mated together.
  • the seal member may be a peripheral or a peripheral wedge seal member.
  • the second surface may be at an acute angle with respect to the first surface.
  • the first surface may be at least part of an inner side of the seal member and the second surface may be at least part of an outer side of the seal member.
  • spatially relative terms such as “top”, “upper”, “lower” and the like, may be used herein for ease of description to describe one element's or feature's relationship to another element(s) or feature(s) as illustrated in the figures. It will be understood that the spatially relative terms are intended to encompass different orientations of the device in use or operation in addition to the orientation depicted in the figures. For example, if the device in the figures is turned over, elements described as “over” other elements or features would then be oriented “under” the other elements or features. Thus, the exemplary term “over” can encompass both an orientation of over and under. The device may be otherwise oriented (rotated 90 degrees or at other orientations) and the spatially relative descriptors used herein interpreted accordingly.
  • An embodiment is directed to a seal member for use with a plug connector housing and a receptacle connector housing.
  • the seal member includes a deformable body which has tapered walls which extend from a thicker first end to a less thick second end. Each of the walls has a first surface and a second surface which is angled with respect to the first surface. At least one groove extends along the first surface. At least one support rib is provided proximate the at least one groove. The at least one groove and the at least one support rib form a spring member which allows the deformable body of the seal member to compress when the plug connector housing and the receptacle connector housing are mated together.
  • An embodiment is directed to a peripheral wedge seal member for use with a plug connector housing and a receptacle connector housing.
  • the peripheral wedge seal member includes a deformable body which has tapered walls which extend from a thicker first end to a less thick second end. Each of the walls has a first surface and a second surface which is angled with respect to the first surfaces.
  • Each of the walls has a compliant section which absorbs forces transmitted by the plug connector housing, the receptacle connector housing or both.
  • Each compliant section has at least one groove extending along the first surface and at least one support rib provided proximate the at least one groove.
  • An embodiment is directed to a peripheral wedge seal member for use with a plug connector housing and a receptacle connector housing.
  • the peripheral wedge seal member includes a deformable body which has tapered walls which extend from a thicker first end to a less thick second end. The walls have first surfaces and second surfaces which are angled with respect to the first surfaces.
  • Each of the walls has a compliant section which absorbs forces transmitted by the plug connector housing, the receptacle connector housing or both.
  • Each compliant section has at least one groove extending along the first surface, at least one support rib provided proximate the at least one groove, at least one recess which extends along the second surface and at least one deformable rib which is provided proximate the at least one recess.
  • FIGS. 1 through 3 are sectional views of a connector assembly 2 having a first or plug connector housing 10 and a second or receptacle connector housing 12 with a peripheral wedge seal member 30 positioned on the plug connector housing.
  • the first or plug connector housing 10 and the second or receptacle connector housing 12 may be mounted to a panel or substrate or may be free standing.
  • the peripheral wedge seal member 30 may be secured to the plug connector housing 10 by known methods, such as, but not limited, to adhesive, mounting members or frictional engagement.
  • the peripheral wedge seal member 30 may also be positioned on the receptacle connector and secured thereto by using known methods. Alternatively, the peripheral wedge seal member 30 may not be attached to either the plug connector housing 10 or the receptacle connector housing 12.
  • the plug connector housing 10 has terminals (not shown) which extend therethrough to mate with mating terminals (not shown) of the receptacle connector housing 12. As many different types of terminals and mating terminals may be used, a detailed description of such terminals and mating terminals shall not be provided.
  • the receptacle connector housing 12 has a plug connector receiving opening 14 which is dimensioned to receive a mating portion 16 of the plug connector housing 10 therein.
  • the mating connector receiving opening 14 has side walls 20 which extend from a plug connector engaging wall 18.
  • An end wall 21 is provided at the bottom of the opening 14.
  • the side walls 20 extend about the periphery of the opening 14.
  • the side walls 20 may have linear configurations or may have arcuate surfaces or projections positioned thereon.
  • Receptacle contacts (not shown) extend from the end wall 21 into the opening 14.
  • the mating portion 16 of the plug connector housing 10 has side walls 24 which extend from a receptacle connector engaging wall 22.
  • the side walls 24 extend about the periphery of the mating portion 16 to form the mating portion 16.
  • the side walls 24 may have linear configurations or may have arcuate surfaces or projections positioned thereon, such as, but not limited to, latching projections.
  • the mating portion 16 has plug contacts (not shown) positioned in the mating portion 16 for electrically engaging the receptacle contacts when the plug connector housing 10 and the receptacle connector housing 12 are mated together.
  • the mating portion 16 is dimensioned to be received in the opening 14 and movable therein between an unmated position and a mated position.
  • peripheral wedge seal member 30 may be used with plug connector housings 10 and receptacle connector housings 12 of many different configurations and sizes, a more detailed description of such plug connector housings 10 and receptacle connector housings 12 shall not be provided.
  • the peripheral wedge seal member 30 is positioned on the side walls 24 of the mating portion 16 of the plug connector housing 10.
  • the peripheral wedge seal member 30 is positioned proximate the receptacle connector engaging wall 22.
  • the peripheral wedge seal member 30 may be secured to the mating portion 16 of the plug connector housing 10 by known methods, such as, but not limited, to adhesive, mounting members or frictional engagement.
  • the plug connector engaging wall 18 of the receptacle connector 12 is moved toward the receptacle connector engaging wall 22 of the plug connector housing 10.
  • leading portions 26 of the side walls 20 engage the peripheral wedge seal member 30.
  • the peripheral wedge seal member 30 is compressed, thereby providing an effective seal between the side walls 20 of the receptacle connector housing 12 and the side walls 24 of the plug connector housing 10.
  • the peripheral wedge seal member 30 has a deformable body 31 which may be made from any material having the structural integrity and structural flexibility needed. Such material includes, but is not limited to, plastic, rubber or elastomeric.
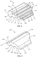
  • the peripheral wedge seal member 30 is a rectangular member with tapered walls 32 which extend from a thicker first surface or end 34 to a less thick second surface or end 36, as best shown in FIG. 6 .
  • the walls 32 have first surfaces 38 and second surfaces 40 which extend at an angle or an acute angle relative to the first surfaces 38 to create the taper of the walls 32. While a rectangular member is shown, the peripheral wedge seal member 30 may have other configurations, including, but not limited to, square or round.
  • the first surfaces 38 have two recesses or grooves 42 which extend the entire length of each respective wall 32.
  • the grooves 42 and support ribs 43 provided there between and/or proximate thereto act as spring members to allow for better compression of the peripheral wedge seal member 30 when the plug connector housing 10 and the receptacle connector housing 12 are mated together. This allows the plug connector housing 10 and the receptacle connector housing 12 to be mated and unmated with reduced force.
  • the grooves 42 and ribs 43 provide additional compliancy to the peripheral wedge seal member 30, allowing the peripheral wedge seal member 30 to provide vibration dampening between the plug connector housing 10 and the receptacle connector housing 12.
  • the spacing provided between the grooves 42 and the size of the grooves 42 may vary depending upon the insertion forces, compliancy and vibration dampening characteristics desired for the particular connector assembly 2. While two grooves 42 are shown on each side wall 32, other number of grooves may be used without departing from the scope of the invention.
  • the second surfaces 40 have four recesses or channels 44 which extend the entire length of each respective wall 32.
  • the channels 44 have slightly different configurations depending upon their location on the second surfaces 40.
  • channels 44a have bottom surfaces 46a which are positioned further from second surfaces 40 than bottom surfaces 46d of channels 44d.
  • Deformable ribs 48 are provided between and/or proximate to the channels 44.
  • the ribs 48 have slightly different configurations depending upon their location on the second surfaces 40. For example, ribs 48a are longer than ribs 48c.
  • the recesses 44 and the ribs 48 are provided to allow for better compression of the peripheral wedge seal member 30 when the plug connector housing 10 and the receptacle connector housing 12 are mated together. This allows the plug connector housing 10 and the receptacle connector housing 12 to be mated and unmated with reduced force.
  • the recesses 44 and the ribs 48 provide additional compliancy to the peripheral wedge seal member 30, allowing the peripheral wedge seal member 30 to provide a proper seal between the plug connector housing 10 and the receptacle connector housing 12 and to provide vibration dampening between the plug connector housing 10 and the receptacle connector housing 12.
  • the spacing provided between the recesses 44 and the size of the ribs 48 may vary depending upon the insertion forces, compliancy and vibration dampening characteristics desired for the particular connector assembly 2. While four recesses 44 and three ribs 48 are shown on each side wall 32, other number of recesses and ribs may be used without departing from the scope of the invention.
  • the grooves 42, ribs 43, channels 44 and ribs 48 form compliant sections which are able to absorb forces transmitted by the plug connector housing 10, the receptacle connector housing 12 or both.
  • the peripheral wedge seal member 130 has a deformable body 131 which may be made from any material having the structural integrity and structural flexibility needed. Such material includes, but is not limited to, plastic, rubber or elastomeric.
  • the peripheral wedge seal member 130 is a rectangular member tapered walls 132 which extend from a thicker first surface or end 134 to a less thick second surface or end 136, as best shown in FIG. 9 .
  • the walls 132 have first surfaces 138 and second surfaces 140 which extend at an angle or an acute angle relative to the first surfaces 138 to create the taper of the walls 132. While a rectangular member is shown, the peripheral wedge seal member 130 may have other configurations, including, but not limited to, square or round.
  • the first surfaces 138 have two recesses or grooves 142 which extend the entire length of each respective wall 132.
  • the grooves 142 and support ribs 143 provide there between and/or proximate thereto act as spring members to allow for better compression of the peripheral wedge seal member 130 when the plug connector housing 10 and the receptacle connector housing 12 are mated together. This allows the plug connector housing 10 and the receptacle connector housing 12 to be mated and unmated with reduced force.
  • the grooves 142 and ribs 143 provide additional compliancy to the peripheral wedge seal member 130, allowing the peripheral wedge seal member 130 to provide vibration dampening between the plug connector housing 10 and the receptacle connector housing 12.
  • the spacing provided between the grooves 142 and the size of the grooves 142 may vary depending upon the insertion forces, compliancy and vibration dampening characteristics desired for the particular connector assembly 2. While two grooves 142 are shown on each side wall 132, other number of grooves may be used without departing from the scope of the invention.
  • the second surfaces 140 have recesses 144 which extend the entire length of each respective wall 132.
  • the recesses 144 are provided proximate the first end 134 of the walls 132.
  • Deformable ribs 148 extend from the second surfaces 140.
  • the ribs 148 have curved or arcuate configurations which project from the second surfaces 140.
  • the ribs are positioned between the recesses 144 and second ends 136.
  • the recesses 144 and the ribs 148 are provided to allow for better compression of the peripheral wedge seal member 130 when the plug connector housing 10 and the receptacle connector housing 12 are mated together. This allows the plug connector housing 10 and the receptacle connector housing 12 to be mated and unmated with reduced force.
  • the recesses 144 and the ribs 148 provide additional compliancy to the peripheral wedge seal member 130, allowing the peripheral wedge seal member 130 to provide a proper seal between the plug connector housing 10 and the receptacle connector housing 12 and to provide vibration dampening between the plug connector housing 10 and the receptacle connector housing 12.
  • the spacing provided between the recesses 144 and the ribs, the size of the recesses 144 and the size of the ribs 148 may vary depending upon the insertion forces, compliancy and vibration dampening characteristics desired for the particular connector assembly 2. While one recess 144 and one rib 148 are shown on each side wall 132, other number of recesses and ribs may be used without departing from the scope of the invention.
  • the grooves 142, ribs 143, channels 144 and ribs 148 form compliant sections which are able to absorb forces transmitted by the plug connector housing 10, the receptacle connector housing 12 or both.
  • Peripheral wedge seals according to the present invention provide an effective seal over a wide range of functional housing dimensions, thereby accommodate a greater range of manufacturing tolerances than known seals.
  • peripheral wedge seals according to the present invention provide for lower mating and un-mating forces, provide more compliancy and provide sufficient vibration dampening between the plug connector the receptacle connector even in harsh environments.

Landscapes

  • Connector Housings Or Holding Contact Members (AREA)

Abstract

A peripheral wedge seal member (30) is provided for use with a plug connector housing and a receptacle connector housing. The peripheral wedge seal member (30) includes a deformable body (31) which has tapered walls (32) which extend from a thicker first end (34) to a less thick second end (36). Each of the walls (32) has a first surface (38) and a second surface (40) which is angled with respect to the first surfaces. Each of the walls (32) has a compliant section which absorbs forces transmitted by the plug connector housing, the receptacle connector housing or both. Each compliant section has at least one groove (42) extending along the first surface (38) and at least one support rib provided proximate the at least one groove (42).

Description

  • The present invention is directed to a peripheral wedge seal member. In particular, the invention is directed to a peripheral wedge seal member which provides sealing and vibration dampening between a housing of a plug connector and a housing of a receptacle connector.
  • An electrical connector assembly includes a first or plug connector and a second or receptacle connector that are configured to mate with one another. Each connector typically has a housing and at least one cavity extends through the housing. Each cavity is configured to receive a terminal fitting. One end of each terminal fitting typically is connected to a conductor, such as the wire, cable, busbar, an electrical device or a conductive region of a circuit board. The opposed end of each terminal fitting is configured for achieving electrical connection with a terminal fitting in the mating connector.
  • Many connectors, such as those used in automotive vehicles, will be exposed to harsh environments in which moisture and vibrations can cause the electrical connection between the mating connectors to fail. For example, while the housing of an electrical connector is typically formed from a resin or other material that can withstand periodic exposure to moisture, if the assembly is not properly sealed, moisture can adversely affect the metallic terminal fittings and can cause a shorting between two terminal fittings. A short circuit can have serious effects on critical components of a vehicle, such as warning lights, airbags and the like.
  • Many connectors include an elastomeric seal to prevent intrusion of moisture into the region of the connector that contains the terminal fittings and the conductors to which the terminal fittings are connected. A seal of this type typically is mounted at an area where two parts of the mating housings will telescope together. For example, a frame-shaped seal or a toroid-shaped seal may be mounted over one housing of a connector assembly. The end of the mating housing will abut against the seal when the housings are connected. Thus, the seal engages the interface between the two housings to provide sealing.
  • However, many of the known seals do not have sufficient structural flexibility to provide proper sealing and vibration dampening for a wide range of dimensions or in a wide range of environments. In addition, mating and un-mating forces associated with known seals makes it difficult to access when service is required.
  • Therefore, the problem to be solved is the need to have a peripheral wedge seal which can be used to effectively seal the assembly over a wide range of functional dimensions, provides for lower mating and un-mating forces, provides more compliancy, and provides sufficient vibration dampening between the plug connector and the receptacle connector even in harsh environments.
  • The solution is provided by a seal member for use with a plug connector housing and a receptacle connector housing. The seal member includes a deformable body which has tapered walls which extend from a thicker first end to a less thick second end. Each of the walls has a first surface and a second surface which is angled with respect to the first surface. At least one groove extends along the first surface. At least one support rib is provided proximate the at least one groove. The at least one groove and the at least one support rib form a spring member which allows the deformable body of the seal member to compress when the plug connector housing and the receptacle connector housing are mated together. The seal member may be a peripheral or a peripheral wedge seal member. The second surface may be at an acute angle with respect to the first surface. The first surface may be at least part of an inner side of the seal member and the second surface may be at least part of an outer side of the seal member.
  • The invention will now be described by way of example with reference to the accompanying drawings in which:
    • FIG. 1 is a cross-sectional view of a plug connector and a receptacle connector prior to being mated together, the plug connector having an illustrative embodiment of the peripheral wedge seal member of the present invention;
    • FIG. 2 is a cross-section view of the plug connector and the receptacle connector of FIG. 1 shown in a partially mated position;
    • FIG. 3 is a cross-section view of the plug connector and the receptacle connector of FIGS. 1 and 2 shown in a fully mated position;
    • FIG. 4 is a top perspective view of the illustrative peripheral wedge seal member shown in FIG. 1;
    • FIG. 5 is a bottom perspective view of the illustrative peripheral wedge seal member shown in FIG. 4;
    • FIG. 6 is a cross-sectional view of the illustrative peripheral wedge seal member shown in FIG. 4;
    • FIG. 7 is a top perspective view of an alternate illustrative peripheral wedge seal member;
    • FIG. 8 is a bottom perspective view of the illustrative peripheral wedge seal member shown in FIG. 7; and
    • FIG. 9 is a cross-sectional view of the illustrative peripheral wedge seal member shown in FIG. 7.
  • The present invention will be described more fully hereinafter with reference to the accompanying drawings, in which illustrative embodiments of the invention are shown. In the drawings, the relative sizes of regions or features may be exaggerated for clarity. This invention may, however, be embodied in many different forms and should not be construed as limited to the embodiments set forth herein; rather, these embodiments are provided so that this disclosure will be thorough and complete, and will fully convey the scope of the invention to those skilled in the art.
  • It will be understood that spatially relative terms, such as "top", "upper", "lower" and the like, may be used herein for ease of description to describe one element's or feature's relationship to another element(s) or feature(s) as illustrated in the figures. It will be understood that the spatially relative terms are intended to encompass different orientations of the device in use or operation in addition to the orientation depicted in the figures. For example, if the device in the figures is turned over, elements described as "over" other elements or features would then be oriented "under" the other elements or features. Thus, the exemplary term "over" can encompass both an orientation of over and under. The device may be otherwise oriented (rotated 90 degrees or at other orientations) and the spatially relative descriptors used herein interpreted accordingly.
  • An embodiment is directed to a seal member for use with a plug connector housing and a receptacle connector housing. The seal member includes a deformable body which has tapered walls which extend from a thicker first end to a less thick second end. Each of the walls has a first surface and a second surface which is angled with respect to the first surface. At least one groove extends along the first surface. At least one support rib is provided proximate the at least one groove. The at least one groove and the at least one support rib form a spring member which allows the deformable body of the seal member to compress when the plug connector housing and the receptacle connector housing are mated together.
  • An embodiment is directed to a peripheral wedge seal member for use with a plug connector housing and a receptacle connector housing. The peripheral wedge seal member includes a deformable body which has tapered walls which extend from a thicker first end to a less thick second end. Each of the walls has a first surface and a second surface which is angled with respect to the first surfaces. Each of the walls has a compliant section which absorbs forces transmitted by the plug connector housing, the receptacle connector housing or both. Each compliant section has at least one groove extending along the first surface and at least one support rib provided proximate the at least one groove.
  • An embodiment is directed to a peripheral wedge seal member for use with a plug connector housing and a receptacle connector housing. The peripheral wedge seal member includes a deformable body which has tapered walls which extend from a thicker first end to a less thick second end. The walls have first surfaces and second surfaces which are angled with respect to the first surfaces. Each of the walls has a compliant section which absorbs forces transmitted by the plug connector housing, the receptacle connector housing or both. Each compliant section has at least one groove extending along the first surface, at least one support rib provided proximate the at least one groove, at least one recess which extends along the second surface and at least one deformable rib which is provided proximate the at least one recess.
  • FIGS. 1 through 3 are sectional views of a connector assembly 2 having a first or plug connector housing 10 and a second or receptacle connector housing 12 with a peripheral wedge seal member 30 positioned on the plug connector housing. The first or plug connector housing 10 and the second or receptacle connector housing 12 may be mounted to a panel or substrate or may be free standing. The peripheral wedge seal member 30 may be secured to the plug connector housing 10 by known methods, such as, but not limited, to adhesive, mounting members or frictional engagement. The peripheral wedge seal member 30 may also be positioned on the receptacle connector and secured thereto by using known methods. Alternatively, the peripheral wedge seal member 30 may not be attached to either the plug connector housing 10 or the receptacle connector housing 12.
  • The plug connector housing 10 has terminals (not shown) which extend therethrough to mate with mating terminals (not shown) of the receptacle connector housing 12. As many different types of terminals and mating terminals may be used, a detailed description of such terminals and mating terminals shall not be provided.
  • As shown in FIG. 1, the receptacle connector housing 12 has a plug connector receiving opening 14 which is dimensioned to receive a mating portion 16 of the plug connector housing 10 therein. The mating connector receiving opening 14 has side walls 20 which extend from a plug connector engaging wall 18. An end wall 21 is provided at the bottom of the opening 14. The side walls 20 extend about the periphery of the opening 14. The side walls 20 may have linear configurations or may have arcuate surfaces or projections positioned thereon. Receptacle contacts (not shown) extend from the end wall 21 into the opening 14.
  • The mating portion 16 of the plug connector housing 10 has side walls 24 which extend from a receptacle connector engaging wall 22. The side walls 24 extend about the periphery of the mating portion 16 to form the mating portion 16. The side walls 24 may have linear configurations or may have arcuate surfaces or projections positioned thereon, such as, but not limited to, latching projections. The mating portion 16 has plug contacts (not shown) positioned in the mating portion 16 for electrically engaging the receptacle contacts when the plug connector housing 10 and the receptacle connector housing 12 are mated together. The mating portion 16 is dimensioned to be received in the opening 14 and movable therein between an unmated position and a mated position.
  • As the peripheral wedge seal member 30 may be used with plug connector housings 10 and receptacle connector housings 12 of many different configurations and sizes, a more detailed description of such plug connector housings 10 and receptacle connector housings 12 shall not be provided.
  • In the illustrative embodiment shown, the peripheral wedge seal member 30 is positioned on the side walls 24 of the mating portion 16 of the plug connector housing 10. The peripheral wedge seal member 30 is positioned proximate the receptacle connector engaging wall 22. As previously stated, the peripheral wedge seal member 30 may be secured to the mating portion 16 of the plug connector housing 10 by known methods, such as, but not limited, to adhesive, mounting members or frictional engagement.
  • As shown in FIGS. 1 through 3, as the plug connector housing 10 and the receptacle connector housing 12 are moved together, the plug connector engaging wall 18 of the receptacle connector 12 is moved toward the receptacle connector engaging wall 22 of the plug connector housing 10. As the plug connector housing 10 and the receptacle connector housing 12 are moved from the position shown in FIG. 1 to the position shown in FIG. 2, leading portions 26 of the side walls 20 engage the peripheral wedge seal member 30. As the plug connector housing 10 and the receptacle connector housing 12 are moved from the position shown in FIG. 2 to the fully inserted position shown in FIG. 3, the peripheral wedge seal member 30 is compressed, thereby providing an effective seal between the side walls 20 of the receptacle connector housing 12 and the side walls 24 of the plug connector housing 10.
  • Referring to FIGS. 4 through 6, the peripheral wedge seal member 30 has a deformable body 31 which may be made from any material having the structural integrity and structural flexibility needed. Such material includes, but is not limited to, plastic, rubber or elastomeric. In the illustrate embodiment shown, the peripheral wedge seal member 30 is a rectangular member with tapered walls 32 which extend from a thicker first surface or end 34 to a less thick second surface or end 36, as best shown in FIG. 6. The walls 32 have first surfaces 38 and second surfaces 40 which extend at an angle or an acute angle relative to the first surfaces 38 to create the taper of the walls 32. While a rectangular member is shown, the peripheral wedge seal member 30 may have other configurations, including, but not limited to, square or round.
  • In the embodiment shown, the first surfaces 38 have two recesses or grooves 42 which extend the entire length of each respective wall 32. The grooves 42 and support ribs 43 provided there between and/or proximate thereto act as spring members to allow for better compression of the peripheral wedge seal member 30 when the plug connector housing 10 and the receptacle connector housing 12 are mated together. This allows the plug connector housing 10 and the receptacle connector housing 12 to be mated and unmated with reduced force. In addition, the grooves 42 and ribs 43 provide additional compliancy to the peripheral wedge seal member 30, allowing the peripheral wedge seal member 30 to provide vibration dampening between the plug connector housing 10 and the receptacle connector housing 12. The spacing provided between the grooves 42 and the size of the grooves 42 may vary depending upon the insertion forces, compliancy and vibration dampening characteristics desired for the particular connector assembly 2. While two grooves 42 are shown on each side wall 32, other number of grooves may be used without departing from the scope of the invention.
  • The second surfaces 40 have four recesses or channels 44 which extend the entire length of each respective wall 32. As the walls 32 of peripheral wedge seal member 30 are tapered, the channels 44 have slightly different configurations depending upon their location on the second surfaces 40. For example, channels 44a have bottom surfaces 46a which are positioned further from second surfaces 40 than bottom surfaces 46d of channels 44d. Deformable ribs 48 are provided between and/or proximate to the channels 44. As the walls 32 of the peripheral wedge seal member 30 are tapered, the ribs 48 have slightly different configurations depending upon their location on the second surfaces 40. For example, ribs 48a are longer than ribs 48c. The recesses 44 and the ribs 48 are provided to allow for better compression of the peripheral wedge seal member 30 when the plug connector housing 10 and the receptacle connector housing 12 are mated together. This allows the plug connector housing 10 and the receptacle connector housing 12 to be mated and unmated with reduced force. In addition, the recesses 44 and the ribs 48 provide additional compliancy to the peripheral wedge seal member 30, allowing the peripheral wedge seal member 30 to provide a proper seal between the plug connector housing 10 and the receptacle connector housing 12 and to provide vibration dampening between the plug connector housing 10 and the receptacle connector housing 12. The spacing provided between the recesses 44 and the size of the ribs 48 may vary depending upon the insertion forces, compliancy and vibration dampening characteristics desired for the particular connector assembly 2. While four recesses 44 and three ribs 48 are shown on each side wall 32, other number of recesses and ribs may be used without departing from the scope of the invention.
  • The grooves 42, ribs 43, channels 44 and ribs 48 form compliant sections which are able to absorb forces transmitted by the plug connector housing 10, the receptacle connector housing 12 or both.
  • Referring to the alternate illustrative embodiment of FIGS. 7 through 9, the peripheral wedge seal member 130 has a deformable body 131 which may be made from any material having the structural integrity and structural flexibility needed. Such material includes, but is not limited to, plastic, rubber or elastomeric. In the illustrative embodiment shown, the peripheral wedge seal member 130 is a rectangular member tapered walls 132 which extend from a thicker first surface or end 134 to a less thick second surface or end 136, as best shown in FIG. 9. The walls 132 have first surfaces 138 and second surfaces 140 which extend at an angle or an acute angle relative to the first surfaces 138 to create the taper of the walls 132. While a rectangular member is shown, the peripheral wedge seal member 130 may have other configurations, including, but not limited to, square or round.
  • In the embodiment shown, the first surfaces 138 have two recesses or grooves 142 which extend the entire length of each respective wall 132. The grooves 142 and support ribs 143 provide there between and/or proximate thereto act as spring members to allow for better compression of the peripheral wedge seal member 130 when the plug connector housing 10 and the receptacle connector housing 12 are mated together. This allows the plug connector housing 10 and the receptacle connector housing 12 to be mated and unmated with reduced force. In addition, the grooves 142 and ribs 143 provide additional compliancy to the peripheral wedge seal member 130, allowing the peripheral wedge seal member 130 to provide vibration dampening between the plug connector housing 10 and the receptacle connector housing 12. The spacing provided between the grooves 142 and the size of the grooves 142 may vary depending upon the insertion forces, compliancy and vibration dampening characteristics desired for the particular connector assembly 2. While two grooves 142 are shown on each side wall 132, other number of grooves may be used without departing from the scope of the invention.
  • The second surfaces 140 have recesses 144 which extend the entire length of each respective wall 132. The recesses 144 are provided proximate the first end 134 of the walls 132. Deformable ribs 148 extend from the second surfaces 140. In the illustrative embodiment shown, the ribs 148 have curved or arcuate configurations which project from the second surfaces 140. The ribs are positioned between the recesses 144 and second ends 136. The recesses 144 and the ribs 148 are provided to allow for better compression of the peripheral wedge seal member 130 when the plug connector housing 10 and the receptacle connector housing 12 are mated together. This allows the plug connector housing 10 and the receptacle connector housing 12 to be mated and unmated with reduced force. In addition, the recesses 144 and the ribs 148 provide additional compliancy to the peripheral wedge seal member 130, allowing the peripheral wedge seal member 130 to provide a proper seal between the plug connector housing 10 and the receptacle connector housing 12 and to provide vibration dampening between the plug connector housing 10 and the receptacle connector housing 12. The spacing provided between the recesses 144 and the ribs, the size of the recesses 144 and the size of the ribs 148 may vary depending upon the insertion forces, compliancy and vibration dampening characteristics desired for the particular connector assembly 2. While one recess 144 and one rib 148 are shown on each side wall 132, other number of recesses and ribs may be used without departing from the scope of the invention.
  • The grooves 142, ribs 143, channels 144 and ribs 148 form compliant sections which are able to absorb forces transmitted by the plug connector housing 10, the receptacle connector housing 12 or both.
  • Peripheral wedge seals according to the present invention provide an effective seal over a wide range of functional housing dimensions, thereby accommodate a greater range of manufacturing tolerances than known seals. In addition peripheral wedge seals according to the present invention provide for lower mating and un-mating forces, provide more compliancy and provide sufficient vibration dampening between the plug connector the receptacle connector even in harsh environments.
  • In addition, as the seals are compressed when the plug connector housing and receptacle connector housing are mated, potential energy is developed and stored in the compliant sections. Consequently, when the plug connector housing and receptacle connector housing are unmated, the release of the compliant section releases the potential energy, thereby facilitating the unmating of the housings.

Claims (12)

  1. A seal member (30, 130) for use with a plug connector housing (10) and a receptacle connector housing (12), the seal member comprising:
    a deformable body (31, 131) having at least one tapered wall (32, 132) which extends from a thicker first end (34, 134) to a less thick second end (36, 136), the or each of the walls having a first surface (38, 138) and a second surface (40, 140) which is angled with respect to the first surface; and
    at least one groove (42, 142) extending along the first surface (38, 138), at least one support rib (43, 143) provided proximate the at least one groove, the at least one groove and the at least one support rib forming a spring member which allows the deformable body (31, 131) of the seal member (30, 130) to compress when the plug connector housing (10) and the receptacle connector housing (12) are mated together.
  2. The seal member as recited in claim 1, wherein the deformable body (31, 131) is plastic, rubber or elastomeric material.
  3. The seal member as recited in claim 1 or 2, wherein the seal member is a peripheral wedge seal member (30, 130) with a rectangular configuration.
  4. The seal member as recited in claim 1, 2 or 3, wherein the deformable body (31, 131) has a plurality of tapered walls (32, 132).
  5. The seal member as recited in claim 1 or 2, wherein the seal member is a peripheral wedge seal member with a round configuration.
  6. The seal member as recited in any preceding claim, wherein the at least one groove is two grooves (42, 142) with a support rib (43, 143) provided there between.
  7. The seal member as recited in any preceding claim, wherein at least one recess (44) extends along the second surface (40).
  8. The seal member as recited in claim 7, wherein at least one deformable rib (48) is provided proximate the at least one recess (44).
  9. The seal member as recited in claim 7 or 8, wherein the at least one recess is four recesses (44) which have different configurations depending upon their location on the second surface (40).
  10. The seal member as recited in claim 7, 8 or 9, wherein the at least one recess (144) is provided proximate the first end (134).
  11. The seal member as recited in claim 10, wherein at least one deformable rib (148) is provided on the second surface (140) between the at least one recess (144) and the second end (136).
  12. The seal member as recited in claim 11, wherein at least one deformable rib (148) has a curved or arcuate configuration.
EP16176733.0A 2015-07-01 2016-06-28 Peripheral wedge seal member Withdrawn EP3113293A1 (en)

Applications Claiming Priority (1)

Application Number Priority Date Filing Date Title
US14/788,938 US20170005432A1 (en) 2015-07-01 2015-07-01 Peripheral wedge seal member

Publications (1)

Publication Number Publication Date
EP3113293A1 true EP3113293A1 (en) 2017-01-04

Family

ID=56289386

Family Applications (1)

Application Number Title Priority Date Filing Date
EP16176733.0A Withdrawn EP3113293A1 (en) 2015-07-01 2016-06-28 Peripheral wedge seal member

Country Status (2)

Country Link
US (1) US20170005432A1 (en)
EP (1) EP3113293A1 (en)

Cited By (2)

* Cited by examiner, † Cited by third party
Publication number Priority date Publication date Assignee Title
CN110148860A (en) * 2019-05-29 2019-08-20 天长市富达电子有限公司 A kind of novel power-line plug with water-proof function
CN110998980A (en) * 2017-08-01 2020-04-10 德尔福技术有限公司 Connector assembly and seal

Families Citing this family (3)

* Cited by examiner, † Cited by third party
Publication number Priority date Publication date Assignee Title
JP2017208193A (en) * 2016-05-17 2017-11-24 日本圧着端子製造株式会社 Waterproof connector
CN116927410B (en) * 2023-07-21 2025-07-08 浙江亚厦装饰股份有限公司 Assembled ceiling structure with air conditioner radiation function and installation method thereof
CN222168790U (en) * 2024-03-19 2024-12-13 中航光电科技股份有限公司 Sealing assembly and connector

Citations (6)

* Cited by examiner, † Cited by third party
Publication number Priority date Publication date Assignee Title
EP0655802A1 (en) * 1993-11-25 1995-05-31 Sumitomo Wiring Systems, Ltd. Sealing structure for panel-mounted electrical connector
US5622512A (en) * 1994-04-15 1997-04-22 Yazaki Corporation Apparatus for forming waterproof connection
JP2003249297A (en) * 2002-02-26 2003-09-05 Nok Corp Connector packing
US7137756B1 (en) * 2005-10-27 2006-11-21 Hail Mary Rubber Co., Inc. Fluid-tight bell-and-spigot-joint for box culverts
GB2492497A (en) * 2008-03-07 2013-01-02 Otter Controls Ltd Connector for cordless electrical appliance
WO2014104122A1 (en) * 2012-12-27 2014-07-03 住友電装株式会社 Waterproof container

Patent Citations (6)

* Cited by examiner, † Cited by third party
Publication number Priority date Publication date Assignee Title
EP0655802A1 (en) * 1993-11-25 1995-05-31 Sumitomo Wiring Systems, Ltd. Sealing structure for panel-mounted electrical connector
US5622512A (en) * 1994-04-15 1997-04-22 Yazaki Corporation Apparatus for forming waterproof connection
JP2003249297A (en) * 2002-02-26 2003-09-05 Nok Corp Connector packing
US7137756B1 (en) * 2005-10-27 2006-11-21 Hail Mary Rubber Co., Inc. Fluid-tight bell-and-spigot-joint for box culverts
GB2492497A (en) * 2008-03-07 2013-01-02 Otter Controls Ltd Connector for cordless electrical appliance
WO2014104122A1 (en) * 2012-12-27 2014-07-03 住友電装株式会社 Waterproof container

Cited By (3)

* Cited by examiner, † Cited by third party
Publication number Priority date Publication date Assignee Title
CN110998980A (en) * 2017-08-01 2020-04-10 德尔福技术有限公司 Connector assembly and seal
CN110998980B (en) * 2017-08-01 2021-04-09 德尔福技术有限公司 Connector Assemblies and Seals
CN110148860A (en) * 2019-05-29 2019-08-20 天长市富达电子有限公司 A kind of novel power-line plug with water-proof function

Also Published As

Publication number Publication date
US20170005432A1 (en) 2017-01-05

Similar Documents

Publication Publication Date Title
JP5876510B2 (en) Electrical connector and connector system
CN105794048B (en) Electrical connection with sealing structure
US7892025B2 (en) Sealed connector assembly
KR102181424B1 (en) Right angle header assembly
KR101031898B1 (en) Connectors, Jack Parts, Electronics and Plug Parts
CN108988006B (en) Connector mounting structure and terminal block
US9577373B2 (en) Electric connector
EP3113293A1 (en) Peripheral wedge seal member
EP2200130A1 (en) Shielded electrical plug-in connector
JP4976560B2 (en) Electrical connector with sealing mat
CN106560955A (en) Connector
KR101701587B1 (en) Insulating body of a plug connector
CN105932473B (en) The embedded structure of connector
CN101390260A (en) Waterproof structure of the connector housing
EP3648259A2 (en) Electrical connector with latches and terminal position assurance projections provided on hinged cover
US10367293B1 (en) Electrical connector
US9209553B2 (en) Plug-connector housing and plug connector
US20030032321A1 (en) Sealed connector
EP2866305A1 (en) Connector
EP3346557B1 (en) Waterproof structure for connector
US10128605B2 (en) Connector
US10008803B2 (en) Connector for a camera with reduced dimensions in a fitting direction
KR20250117826A (en) Plug connector inserts for electrical plug connectors
US11081831B2 (en) Waterproof connector
CN113196578B (en) Plug-in connector components for contacting in several spatial directions

Legal Events

Date Code Title Description
PUAI Public reference made under article 153(3) epc to a published international application that has entered the european phase

Free format text: ORIGINAL CODE: 0009012

AK Designated contracting states

Kind code of ref document: A1

Designated state(s): AL AT BE BG CH CY CZ DE DK EE ES FI FR GB GR HR HU IE IS IT LI LT LU LV MC MK MT NL NO PL PT RO RS SE SI SK SM TR

AX Request for extension of the european patent

Extension state: BA ME

RAP1 Party data changed (applicant data changed or rights of an application transferred)

Owner name: TE CONNECTIVITY CORPORATION

17P Request for examination filed

Effective date: 20170626

RBV Designated contracting states (corrected)

Designated state(s): AL AT BE BG CH CY CZ DE DK EE ES FI FR GB GR HR HU IE IS IT LI LT LU LV MC MK MT NL NO PL PT RO RS SE SI SK SM TR

17Q First examination report despatched

Effective date: 20170929

STAA Information on the status of an ep patent application or granted ep patent

Free format text: STATUS: THE APPLICATION IS DEEMED TO BE WITHDRAWN

18D Application deemed to be withdrawn

Effective date: 20190424