EP2800446A1 - Procédé pour maintenir un flux de données en provenance d'un site cellule au sein d'un réseau de communication mobile vers un équipement coeur distant, système et programme d'ordinateur associés - Google Patents

Procédé pour maintenir un flux de données en provenance d'un site cellule au sein d'un réseau de communication mobile vers un équipement coeur distant, système et programme d'ordinateur associés Download PDF

Info

Publication number
EP2800446A1
EP2800446A1 EP20140290126 EP14290126A EP2800446A1 EP 2800446 A1 EP2800446 A1 EP 2800446A1 EP 20140290126 EP20140290126 EP 20140290126 EP 14290126 A EP14290126 A EP 14290126A EP 2800446 A1 EP2800446 A1 EP 2800446A1
Authority
EP
European Patent Office
Prior art keywords
epc
core equipment
cell site
remote core
remote
Prior art date
Legal status (The legal status is an assumption and is not a legal conclusion. Google has not performed a legal analysis and makes no representation as to the accuracy of the status listed.)
Granted
Application number
EP20140290126
Other languages
German (de)
English (en)
Other versions
EP2800446B1 (fr
Inventor
Christophe Gruet
Christopher RABOTIN
Current Assignee (The listed assignees may be inaccurate. Google has not performed a legal analysis and makes no representation or warranty as to the accuracy of the list.)
Airbus DS SAS
Original Assignee
Airbus DS SAS
Priority date (The priority date is an assumption and is not a legal conclusion. Google has not performed a legal analysis and makes no representation as to the accuracy of the date listed.)
Filing date
Publication date
Application filed by Airbus DS SAS filed Critical Airbus DS SAS
Publication of EP2800446A1 publication Critical patent/EP2800446A1/fr
Application granted granted Critical
Publication of EP2800446B1 publication Critical patent/EP2800446B1/fr
Active legal-status Critical Current
Anticipated expiration legal-status Critical

Links

Images

Classifications

    • HELECTRICITY
    • H04ELECTRIC COMMUNICATION TECHNIQUE
    • H04WWIRELESS COMMUNICATION NETWORKS
    • H04W24/00Supervisory, monitoring or testing arrangements
    • H04W24/04Arrangements for maintaining operational condition
    • HELECTRICITY
    • H04ELECTRIC COMMUNICATION TECHNIQUE
    • H04WWIRELESS COMMUNICATION NETWORKS
    • H04W92/00Interfaces specially adapted for wireless communication networks
    • H04W92/16Interfaces between hierarchically similar devices
    • H04W92/20Interfaces between hierarchically similar devices between access points

Definitions

  • the present invention relates to a method for maintaining a flow of data from a cell site within a mobile communication network to a remote core equipment and a system implementing such a method. It also relates to a system implementing such a method.
  • the invention relates more particularly but without limitation to the field of loss of connectivity and therefore service in a mobile radio communication system used over a short or medium distance (we speak of PMR in English, for "Private Mobile Radiocommunications ").
  • the invention aims to solve at least these problems posed by the state of the art.
  • Such an objective is achieved with a method for maintaining a flow of data from a cell site within a mobile communication network to a remote core equipment (EPC High) in the event of failure of a planned connection between said cell site and said remote core equipment according to a first protocol (S5), characterized in that it comprises a redirection, according to a second protocol (X2), said data flow to said remote core equipment (EPC High) via a local core equipment (EPC Low ) connected to said remote core equipment (EPC High).
  • a first protocol S5
  • X2 second protocol
  • the method according to the invention can implement dynamic load balancing of data packet gateways (PGWs) in core equipments (EPC) within the mobile communication network, in the event of a failure.
  • PGWs data packet gateways
  • EPC core equipments
  • a cell site due to its disconnection from the remote core equipment (EPC High) normally receiving from the cell site a data stream, and in that the data stream is redirected to a data packet gateway (PGW) of the local core equipment (EPC Low) then is processed by a local application server (PMR) connected to the data packet gateway (PGW), so as to route the data stream to the remote core equipment (EPC) ).
  • PMR local application server
  • This dynamic load balancing takes into account the current load of network elements used for redirection.
  • the redirection of the data stream can implement an interface connection (S5) within the core equipment (EPC Low) between a server gateway (SGW) and the data packet gateway (PGW). ) of the local core equipment (EPC Low).
  • SGW server gateway
  • PGW data packet gateway
  • the method according to the invention may further comprise a detection of base stations (eNode Bs) connected to the defective cell site, a request for information in particular relating to the load of said base stations thus detected and to the quality of the base stations. their connection with the remote core equipment (EPC High) and a processing of said information to determine at least one local core redirection equipment.
  • eNode Bs base stations
  • EPC High remote core equipment
  • the detection of the base stations (eNode Bs) connected to the defective cell site can implement a preconfigured table stored in a memory.
  • the detection of the base stations (eNode Bs) connected to the defective cell site can implement a service localization protocol (SLP).
  • SLP service localization protocol
  • the method according to the invention may further comprise a request for bandwidth allocation, sent by the faulty cell site to each cell site including one of the detected base stations and connected to the remote core equipment. (EPC High).
  • the method according to the invention may comprise in response to an approval by a cell site of the bandwidth allocation request, a switchover of the data stream intended for the remote core equipment (EPC High) via the site. cell that approved the request.
  • EPC High remote core equipment
  • the cell site that has approved the request can specify a bandwidth allocation duration for redirection.
  • the method has the advantage of taking into account temporal allocation of bandwidth.
  • the data stream to be switched is organized into data packets according to a first protocol (S5) and the data flow failover can implement encapsulation of the data packets according to a second protocol (X2) used in communications between base stations (eNode Bs).
  • S5 a first protocol
  • X2 a second protocol used in communications between base stations (eNode Bs).
  • the method according to the invention may further comprise monitoring the state of the direct connection between the faulty cell site and the remote core equipment (EPC High) and, in case of detection of a recovery of the direct connection, a re-routing of the data stream to the remote core equipment (EPC High) via the interface connection (S5) connecting the server gateway (SGW) of the local core equipment (EPC Low) to the packet gateway data (PGW) of the remote core equipment (EPC High).
  • EPC High the interface connection
  • SGW server gateway
  • PGW packet gateway data
  • the mobile communication network may be of LTE type ("Long Term Evolution").
  • a mobile communication system implementing a method of maintaining the data stream according to the invention.
  • a computer program comprising instructions for implementing the method according to the invention when the program is executed by at least one processor.
  • variants of the invention comprising only a selection of characteristics described subsequently isolated from the other characteristics described (even if this selection is isolated within a sentence comprising these other characteristics), if this selection of characteristics is sufficient to confer a technical advantage or to differentiate the invention from the state of the prior art.
  • This selection comprises at least one feature preferably functional without structural details, or with only a part of the structural details if this part alone is sufficient to confer a technical advantage or to differentiate the invention from the state of the prior art.
  • FIG. 1 a detailed schematic view of a part of a system implementing a method according to the invention.
  • the figure 1 illustrates an EPC Low local core device connected to a remote EPC High core equipment in a LTE ("Long Term Evolution”) type of mobile communication network.
  • LTE Long Term Evolution
  • the local EPC Low core equipment is also connected to an eNode B base station.
  • the MME is connected to the SGW via an S11 link, while the SGW is connected to the PGW via an S5 link and the PGW is connected to the PRM Site Applications via an SGi link.
  • the eNode B is connected to the EPC Low via an S1-MME link between the eNode B and the MME and an S1U link between the eNode B and the SGW.
  • the PCRF is connected to the PGW by an SGi link, the PGW is connected to the Centralized PMR Application server by an SGi link and the PCRF is connected to the Centralized PMR Application server via an S7 link.
  • the MME of the local EPC Low core equipment is connected to the HSS of the remote core equipment via an S6a link while the SGW of the local EPC Low core equipment is connected to the HSS of the remote EPC High core equipment.
  • the link S5 between the SGW of the EPC Low local core equipment and the EPC High remote core equipment is cut off, the link S5 between the SGW and PGW equipment of the local EPC Low core equipment is implemented.
  • the local HSS maintains a default profile of subscribers present and also allows a lighter authentication (compared to the usual authentication) of those who want to connect.
  • the method according to the invention proposes to maintain a flow of data from a cell site within a mobile communication network to an EPC High remote core device in the event of failure of a planned connection between the cell site and the remote core equipment according to a first protocol S5.
  • links between the different EPC Low are links of type X2.
  • the method of the invention maintains a flow of data from a cell site within a mobile communication network to an EPC High remote core device in case of failure of a planned connection between the cell site and the remote core equipment equipment according to a first protocol S5.
  • This redirection is performed according to a second protocol X2, from the data stream to the remote EPC High core equipment via a local EPC Low core equipment connected to the EPC High remote core equipment.
  • the method according to the invention implements dynamic load balancing of PGW data packet gateways in EPC Low core equipments within the mobile communication network, in the event of a cell site failure due to its disconnection from the remote EPC High core equipment normally receiving a data flow from the cell site.
  • the data flow is redirected to a PGW data packet gateway of the local EPC Low core device. It is then processed by a local PMR application server connected to the PGW data packet gateway, so as to route the data stream to the remote core EPC equipment.
  • the method according to the invention further comprises a detection of eNode Bs base stations connected to the defective cell site, a request for information in particular relating to the load of said base stations thus detected and the quality of their connection with the equipment.
  • remote EPC High core and processing said information to determine at least one local core redirection equipment.
  • the detection of the eNode Bs base stations connected to the defective cell site implements a preconfigured table stored in a memory and an SLP service location protocol.
  • the method according to the invention comprises a bandwidth allocation request sent by the faulty cell site to each cell site including one of the detected base stations and connected to the EPC High remote core equipment.
  • the method according to the invention proceeds to a switchover of the data stream intended for the remote core equipment (EPC High) via the approved cell site. the request.
  • the cell site that approved the request specifies a bandwidth allocation time for redirection.
  • the data stream to be switched is organized into data packets according to a first protocol S5. Failover of the data stream implements encapsulation of the data packets according to a second protocol X2 used in communications between base stations eNode Bs.
  • the method according to the invention implements a monitoring of the state of the direct connection between the defective cell site and the remote core equipment (EPC High). If a recovery of the direct connection is detected, a re-routing of the data stream is performed to the EPC High remote core device via the S5 interface connection connecting the SGW server gateway of the EPC Low local core device to the PGW data packet gateway of the remote EPC High core device.
  • EPC High the state of the direct connection between the defective cell site and the remote core equipment
  • the figure 3 illustrates two EPC Low local core equipment, noted Site controller 1 and Site controller 2, connected to a remote EPC High core equipment item, noted Network infrastructure, in a LTE ("Long Term Evolution”) type of mobile communication network.
  • LTE Long Term Evolution
  • the MME is connected to the SGW via an S11 link, while the SGW is connected to the PGW via an S5 link and the PGW is connected to the PRM Site Applications via an IP v4 / 6 link.
  • the eNode B is connected to the EPC Low via an S1-MME link between the eNode B and the MME and an S1U link between the eNode B and the SGW.
  • the PCRF is connected to the PGW by an SGi link, the PGW is connected to the Centralized PMR Application server by an SGi link and the PCRF is connected to the Centralized PMR Application server via an S7 link.
  • the MME of the local EPC Low core equipment is connected to the HSS of the remote core equipment via an S6a link while the SGW of the local EPC Low core equipment is connected to the HSS of the remote EPC High core equipment.
  • Site controller 1 and Site controller 2 are interconnected by an X2 link.
  • the eNodeB1 must send via the neighboring eNodeB2 signaling flows to one or possibly several MMEs (for the specific needs of the eNodeB1 but also for the mobile signaling needs it has to manage) and also establish bridges of traffic for connected mobiles.
  • GTP GPRS Tunneling Protocol
  • a GTP tunnel encapsulates the traffic flows of a mobile identified by a certain identity (UEId) in an IP tunnel.
  • UEId identity
  • a terminal may need to manage in parallel several traffic streams each having an identity (RBId).
  • RBId identity
  • a unique identifier called TEID Telel Endpoint Identifier
  • an SGW multiplying several PGWs to receive streams destined for different mobiles knows, by analyzing the header GTP, the identity TEID of the terminal (UEId) concerned and of which flow of the mobile it is question ( RBId). Similarly, for the upstream direction, a PGW that is multiplied by several SGWs will do the same to separate terminal and stream.
  • the value of the TEID is negotiated beforehand between the two entities that intend to encapsulate such flows.
  • eNodeB1 When negotiating between the two eNodeBs when one of the two local core devices fails (eNodeB1) and the other one does not (eNodeB2), a GTP tunnel is created between the two eNodeBs.
  • This tunnel is dedicated to lock signaling flows to an MME that eNodeB1 needs and that eNodeB2 allows it to reach.
  • an IP address translation process is performed by eNodeB2 for flows to the MME in order to substitute the address of the eNodeB1 present in the IP stream encapsulated by an address mastered by the eNodeB2.
  • this translated address is used by the eNodeB2 to reposition these flows in the good inter eNodeBs tunnel by carrying out the inverse translation.
  • the eNodeB2 When the eNodeB1 needs to indicate in the signaling messages the translated address, then the eNodeB2 must be indicated to the eNodeB1 during the initial dialog so that the eNodeB1 places it in the messages that need it, either an analysis of the signaling messages produced by the eNodeB1 (or according to the S1-AP protocol) is carried out by the eNodeB2 so that the latter acts knowingly.
  • a GTP tunnel is created by flow and by terminal between the two eNodeBs but the previously described address translation is replaced this time by a second GTP encapsulation between the eNodeB2 and the external SGW (if normal EPC) or the internal SGW and the PGW external (if EPC HIGH).
  • the invention provides a solution to the problem of isolating an LTE cell for the rest of the network in case of disconnection of the packet gateway from the network infrastructure.

Landscapes

  • Engineering & Computer Science (AREA)
  • Computer Networks & Wireless Communication (AREA)
  • Signal Processing (AREA)
  • Mobile Radio Communication Systems (AREA)

Abstract

Procédé pour maintenir un flux de données en provenance d'un site cellule au sein d'un réseau de communication mobile vers un équipement coeur distant (EPC High) en cas de défaillance d'une connexion prévue entre ledit site cellule et ledit équipement coeur distant selon un premier protocole (S5), caractérisé en ce qu'il comprend une redirection, selon un second protocole (X2), dudit flux de données vers ledit équipement coeur distant (EPC High) via un équipement coeur local (EPC Low) relié audit équipement coeur distant (EPC High).

Description

    Domaine technique
  • La présente invention concerne un procédé pour maintenir un flux de données en provenance d'un site cellule au sein d'un réseau de communication mobile vers un équipement coeur distant et un système mettant en oeuvre un tel procédé. Elle concerne également un système mettant en oeuvre un tel procédé.
  • L'invention concerne plus particulièrement mais de manière non limitative le domaine de la perte de connectivité et donc de service dans un système de communication mobile par ondes radio utilisées sur une courte ou moyenne distance (on parlera de PMR en anglais, pour « Private Mobile Radiocommunications »).
  • Etat de la technique
  • On connaît des solutions proposées pour résoudre le problème de la perte de connectivité dans les réseaux PMR. De telles solutions ont notamment été proposées dans les documents US2010/0281151 (Provisioning Available Network Resources) et US2011/0096750 (Dynamic Gateway Selection Process).
  • Cependant, un problème non résolu par de telles solutions est celui de l'isolation d'une cellule LTE du reste du réseau dans le cas d'une déconnexion du coeur distant en cas de défaillance d'une connexion prévue entre la cellule LTE et le coeur distant.
  • L'invention a pour but de résoudre au moins ces problèmes posés par l'état de la technique.
  • Exposé de l'invention
  • On atteint un tel objectif avec un procédé pour maintenir un flux de données en provenance d'un site cellule au sein d'un réseau de communication mobile vers un équipement coeur distant (EPC High) en cas de défaillance d'une connexion prévue entre ledit site cellule et ledit équipement coeur distant selon un premier protocole (S5), caractérisé en ce qu'il comprend une redirection, selon un second protocole (X2), dudit flux de données vers ledit équipement coeur distant (EPC High) via un équipement coeur local (EPC Low) relié audit équipement coeur distant (EPC High).
  • Dans une version avantageuse, le procédé selon l'invention peut mettre en oeuvre un équilibrage dynamique de charge de passerelles de paquets de données (PGW) dans des équipements coeurs (EPC) au sein du réseau de communication mobile, en cas de défaillance d'un site cellule du fait de sa déconnexion d'avec l'équipement coeur distant (EPC High) recevant normalement du site cellule un flux de données, et en ce que le flux de données est redirigé vers une passerelle de paquets de données (PGW) de l'équipement coeur local (EPC Low) puis est traité par un serveur d'application (PMR) local connecté à la passerelle de paquets de données (PGW), de façon à acheminer le flux de données vers le équipement coeur distant (EPC). Cet équilibrage dynamique de charge permet de tenir compte de la charge actuelle d'éléments de réseau utilisés pour la redirection.
  • Dans une version particulière, la redirection du flux de données peut mettre en oeuvre une connexion d'interface (S5) au sein de l'équipement coeur (EPC Low) entre une passerelle serveur (SGW) et la passerelle de paquets de données (PGW) de l'équipement coeur local (EPC Low).
  • De plus, le procédé selon l'invention peut en outre comprendre une détection de stations de base (eNode Bs) connectées au site cellule défaillant, une requête d'informations notamment relatives à la charge desdites stations de base ainsi détectées et à la qualité de leur connexion avec l'équipement coeur distant (EPC High) et un traitement desdites informations pour déterminer au moins un équipement coeur local de redirection.
  • De plus, la détection des stations de base (eNode Bs) connectées au site cellule défaillant peut mettre en oeuvre une table préconfigurée stockée dans une mémoire.
  • Avantageusement, la détection des stations de base (eNode Bs) connectées au site cellule défaillant peut mettre en oeuvre un protocole de localisation de service (SLP).
  • De plus, le procédé selon l'invention peut en outre comprendre une requête d'allocation de bande passante, émise par le site cellule défaillant auprès de chaque site cellule incluant l'une des stations de base détectées et connecté à l'équipement coeur distant (EPC High).
  • En outre, le procédé selon l'invention peut comprendre en réponse à une approbation par un site cellule de la requête d'allocation de bande passante, un basculement du flux de données destiné à l'équipement coeur distant (EPC High) via le site cellule ayant approuvé la requête.
  • Avantageusement, le site cellule ayant approuvé la requête peut spécifier une durée d'allocation d'une bande passante pour redirection. Ainsi, le procédé a pour avantage de tenir compte d'allocation temporelle de bande passante.
  • Dans une version particulière, le flux de données à basculer est organisé en paquets de données selon un premier protocole (S5) et le basculement du flux de données peut mettre en oeuvre une encapsulation des paquets de données selon un second protocole (X2) utilisé dans les communications entre stations de base (eNode Bs).
  • De plus, le procédé selon l'invention peut en outre comprendre une surveillance de l'état de la connexion directe entre le site cellule défaillant et l'équipement coeur distant (EPC High) et, en cas de détection d'un rétablissement de la connexion directe, un rebasculement du flux de données vers l'équipement coeur distant (EPC High) via la connexion d'interface (S5) reliant la passerelle serveur (SGW) de l'équipement coeur local (EPC Low) à la passerelle de paquets de données (PGW) de l'équipement coeur distant (EPC High).
  • En particulier, le réseau de communication mobile peut être de type LTE ("Long Term Evolution").
  • Selon un autre aspect de l'invention, il est proposé un système de communication mobile mettant en oeuvre un procédé de maintien de flux de données selon l'invention.
  • Selon un autre aspect de l'invention, il est proposé un programme d'ordinateur comportant des instructions pour la mise en oeuvre du procédé selon l'invention lorsque le programme est exécuté par au moins un processeur.
  • Description des figures et modes de réalisation
  • D'autres avantages et particularités de l'invention apparaîtront à la lecture de la description détaillée de mise en oeuvre et d'un mode de réalisation nullement limitatif, et du dessin annexé suivant :
    • la figure 1 est une vue schématique détaillée d'une partie d'un système mettant en oeuvre un procédé selon l'invention selon un premier mode de réalisation,
    • la figure 2 est une vue schématique de plus haut niveau d'un système mettant en oeuvre un procédé selon l'invention selon un premier mode de réalisation, et
    • la figure 3 est une vue schématique d'une partie d'un système mettant en oeuvre un procédé selon l'invention selon un deuxième mode de réalisation.
  • Ces modes de réalisation étant nullement limitatifs, on pourra notamment considérer des variantes de l'invention ne comprenant qu'une sélection de caractéristiques décrites par la suite isolées des autres caractéristiques décrites (même si cette sélection est isolée au sein d'une phrase comprenant ces autres caractéristiques), si cette sélection de caractéristiques est suffisante pour conférer un avantage technique ou pour différencier l'invention par rapport à l'état de la technique antérieure. Cette sélection comprend au moins une caractéristique de préférence fonctionnelle sans détails structurels, ou avec seulement une partie des détails structurels si cette partie uniquement est suffisante pour conférer un avantage technique ou pour différencier l'invention par rapport à l'état de la technique antérieure.
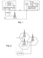
  • On va maintenant décrire en référence à la figure 1, une vue schématique détaillée d'une partie d'un système mettant en oeuvre un procédé selon l'invention.
  • La figure 1 illustre un équipement coeur local EPC Low relié à un équipement coeur distant EPC High dans un réseau de communication mobile de type LTE ("Long Term Evolution").
  • L'équipement coeur local EPC Low est également relié à une station de base eNode B.
  • L'équipement coeur local EPC Low comprend :
    • un MME, pour « Mobility Management Entity », c'est à dire une entité de gestion de la mobilité ;
    • un SGW, pour « Serving Gateway », c'est à dire une passerelle de service, et
    • un PGW, pour « PDN Gateway », c'est à dire une passerelle de PDN « Packet Data Network » , et un PMR Site Applications, c'est à dire un serveur d'application PMR local.
  • Le MME est relié au SGW par une liaison S11, tandis que le SGW est relié au PGW par une liaison S5 et le PGW est relié au PRM Site Applications par une liaison SGi.
  • L'eNode B est relié au EPC Low via une liaison S1-MME entre l'eNode B et le MME et une liaison S1U entre l'eNode B et le SGW.
  • L'équipement coeur distant EPC High comprend :
    • un HSS, pour « Home Subscriber Serveur », c'est à dire une base de données centrale qui contient des informations relatives à l'utilisateur et à l'abonnement correspondant,
    • un PCRF, pour « Policy and Charging Rules Function », c'est à dire un composant logiciel qui fonctionne au coeur de réseau et permet d'accéder à des bases de données d'abonnés et d'autres fonctions spécialisées, comme un système de charge, de manière centralisée, et
    • un PGW et un Centralized PMR applications Serveur, c'est à dire un serveur d'application PMR centralisé.
  • Le PCRF est relié au PGW par une liaison SGi, le PGW est relié au Centralized PMR Application server par une liaison SGi et le PCRF est relié au Centralized PMR Application server par une liaison S7.
  • Le MME de l'équipement coeur local EPC Low est relié au HSS de l'équipement coeur distant via une liaison S6a tandis que le SGW de l'équipement coeur local EPC Low est relié au HSS de l'équipement coeur distant EPC High.
  • Lorsque la liaison S5 entre le SGW de l'équipement coeur local EPC Low et l'équipement coeur distant EPC High est coupée, la liaison S5 entre les équipements SGW et PGW de l'équipement coeur local EPC Low est mise en oeuvre. Il y a également un HSS local (non représenté) au sein de l'équipement coeur local EPC Low servant de HSS quand le HSS au sein de l'équipement coeur distant EPC High n'est plus disponible. Le HSS local permet d'entretenir un profil par défaut des abonnés présents et permet aussi une authentification allégée (par rapport à l'authentification usuelle) de ceux qui veulent s'y connecter.
  • Le procédé selon l'invention propose de maintenir un flux de données en provenance d'un site cellule au sein d'un réseau de communication mobile vers un équipement coeur distant EPC High en cas de défaillance d'une connexion prévue entre le site cellule et l'équipement coeur distant selon un premier protocole S5.
  • Sur la figure 2 sont illustrées plusieurs cellules, représentées par des hexagones, comprenant chacune :
    • un eNode B illustré par une antenne et
    • un EPC Low, illustré par un rectangle.
  • De plus, il est représenté sur la figure 2 la présence d'un équipement coeur distant EPC High, relié via des liaisons S5 aux différents EPC Low des différentes cellules.
  • Il est également représenté des liaisons entre les différents EPC Low. Ces liaisons sont des liaisons de type X2.
  • Le procédé selon l'invention maintient un flux de données en provenance d'un site cellule au sein d'un réseau de communication mobile vers un équipement coeur distant EPC High en cas de défaillance d'une connexion prévue entre le site cellule et l'équipement équipement coeur distant selon un premier protocole S5. Cette redirection est réalisée selon un second protocole X2, du flux de données vers l'équipement coeur distant EPC High via un équipement coeur local EPC Low relié à l'équipement coeur distant EPC High.
  • De plus, le procédé selon l'invention met en oeuvre un équilibrage dynamique de charge de passerelles de paquets de données PGW dans des équipements coeurs EPC Low au sein du réseau de communication mobile, en cas de défaillance d'un site cellule du fait de sa déconnexion d'avec l'équipement coeur distant EPC High recevant normalement du site cellule un flux de données. Le flux de données est redirigé vers une passerelle de paquets de données PGW de l'équipement coeur local EPC Low. Il est ensuite traité par un serveur d'application PMR local connecté à la passerelle de paquets de données PGW, de façon à acheminer le flux de données vers l'équipement coeur distant EPC.
  • Le procédé selon l'invention comprend en outre une détection de stations de base eNode Bs connectées au site cellule défaillant, une requête d'informations notamment relatives à la charge desdites stations de base ainsi détectées et à la qualité de leur connexion avec l'équipement coeur distant EPC High et un traitement desdites informations pour déterminer au moins un équipement coeur local de redirection.
  • La détection des stations de base eNode Bs connectées au site cellule défaillant met en oeuvre une table préconfigurée stockée dans une mémoire et un protocole de localisation de service SLP.
  • Le procédé selon l'invention comprend une requête d'allocation de bande passante, émise par le site cellule défaillant auprès de chaque site cellule incluant l'une des stations de base détectées et connecté à l'équipement coeur distant EPC High.
  • En réponse à une approbation par un site cellule de la requête d'allocation de bande passante, le procédé selon l'invention procède à un basculement du flux de données destiné à l'équipement coeur distant (EPC High) via le site cellule ayant approuvé la requête.
  • Le site cellule ayant approuvé la requête spécifie une durée d'allocation d'une bande passante pour redirection.
  • Le flux de donnés à basculer est organisé en paquets de données selon un premier protocole S5. Le basculement du flux de données met en oeuvre une encapsulation des paquets de données selon un second protocole X2 utilisé dans les communications entre stations de base eNode Bs.
  • Le procédé selon l'invention met en oeuvre une surveillance de l'état de la connexion directe entre le site cellule défaillant et l'équipement coeur distant (EPC High). En cas de détection d'un rétablissement de la connexion directe, un rebasculement du flux de données est réalisé vers l'équipement coeur distant EPC High via la connexion d'interface S5 reliant la passerelle serveur SGW de l'équipement coeur local EPC Low à la passerelle de paquets de données PGW de l'équipement coeur distant EPC High.
  • La figure 3 illustre deux équipements coeur local EPC Low, notés Site controller 1 et Site controller 2, reliés à un équipement coeur distant EPC High, noté Network infrastructure, dans un réseau de communication mobile de type LTE ("Long Term Evolution").
  • Les équipements de type coeur local EPC Low comprennent:
    • un MME,
    • un SGW,
    • un PGW et un PMR Site Applications.
  • Le MME est relié au SGW par une liaison S11, tandis que le SGW est relié au PGW par une liaison S5 et le PGW est relié au PRM Site Applications par une liaison IP v4/6.
  • L'eNode B est relié au EPC Low via une liaison S1-MME entre l'eNode B et le MME et une liaison S1U entre l'eNode B et le SGW.
  • L'équipement coeur distant EPC High, noté Network Infrastructure, comprend :
    • un HSS,
    • un PCRF,
    • un PGW et un Centralized PMR applications Serveur.
  • Le PCRF est relié au PGW par une liaison SGi, le PGW est relié au Centralized PMR Application server par une liaison SGi et le PCRF est relié au Centralized PMR Application server par une liaison S7.
  • Le MME de l'équipement coeur local EPC Low est relié au HSS de l'équipement coeur distant via une liaison S6a tandis que le SGW de l'équipement coeur local EPC Low est relié au HSS de l'équipement coeur distant EPC High.
  • Lorsque la liaison S5 entre le SGW de l'équipement coeur local EP Low et l'équipement coeur distant EPC High est coupée, la liaison S5 entre les équipements SGW et PGW de l'équipement coeur local EPC Low est mise en oeuvre.
  • Les équipements coeur locaux EPC Low, notés Site controller 1 et Site controller 2, sont reliés entre eux par une liaison X2.
  • Il va maintenant être décrit une méthode de routage entre un eNode B qui perd sa connectivité avec un EPC High.
  • Il va en particulier être décrit une méthode de routage entre l'eNode B du premier équipement coeur local, Site controller 1, qui perd sa connectivité avec l'équipement coeur distant EPC High, noté Network Infrastructure.
  • Le eNodeB1 doit aiguiller via l'eNodeB2 voisin des flux de signalisation vers une ou éventuellement plusieurs MME (pour les besoins propres de l'eNodeB1 mais aussi pour les besoins de signalisation des mobiles qu'il a à gérer) et également établir des ponts de trafic pour les mobiles connectés.
  • La logique GTP (GPRS Tunneling Protocol) est utilisée. Le GTP est un mécanisme classique dans le 3GPP, permettant de créer et gérer des tunnels IP entre deux entités dont on connait les adresses IP avec une capacité de distinction des sous-flux que ces deux entités sont susceptibles d'échanger dans les tunnels. Cette distinction est pratique pour gérer les problématiques de routage qui peuvent nécessiter des gestions de qualité de service ou des redirections différentes.
  • Un tunnel GTP encapsule les flux de trafic d'un mobile identifié par une certaine identité (UEId) dans un tunnel IP. Un terminal peut avoir besoin de gérer en parallèle plusieurs flux de trafic ayant chacun une identité (RBId). Un identifiant unique appelé TEID (Tunnel Endpoint Identifier) est créé et identifie le flux de manière unique.
  • Pour le sens descendant, un SGW multiplement connecté à plusieurs PGW pour recevoir des flux à destination de différents mobiles connaît, en analysant l'entête GTP, l'identité TEID du terminal (UEId) concerné et de quel flux du mobile il est question (RBId). De même, pour le sens montant, un PGW multiplement connecté à plusieurs SGW fera de même pour séparer terminal et flux.
  • La valeur du TEID est négociée préalablement entre les deux entités qui ont l'intention d'encapsuler de tels flux.
  • Lors de la négociation entre les deux eNodeB quand l'un des deux équipements coeurs locaux est défaillant (eNodeB1) et que l'autre non (eNodeB2), il est créé un tunnel GTP entre les deux eNodeBs.
  • Ce tunnel est dédié à écluser les flux de signalisation vers un MME dont le eNodeB1 a besoin et que le eNodeB2 lui permet de joindre. Au niveau de l'eNodeB2, un processus de translation d'adresse IP est opéré par le eNodeB2 pour les flux à destination du MME afin de substituer l'adresse de l'eNodeB1 présent dans le flux IP encapsulé par une adresse maitrisée par le eNodeB2.
  • Pour les flux revenant du MME et destinés au eNodeB1, cette adresse translatée est utilisée par le eNodeB2 pour repositionner ces flux dans le bon tunnel inter eNodeBs en procédant à la translation inverse.
  • Lorsque le eNodeB1 a besoin d'indiquer dans les messages de signalisation l'adresse translatée, alors il faut soit que le eNodeB2 l'indique au eNodeB1 durant le dialogue initial afin que l'eNodeB1 la place dans les messages qui en ont besoin, soit qu'une analyse des messages de signalisation produits par l'eNodeB1 (ou selon le protocole S1-AP) soit réalisée par l'eNodeB2 afin que ce dernier agisse en connaissance de cause.
  • Pour les flux de trafic, le même principe est utilisé. Un tunnel GTP est créé par flux et par terminal entre les deux eNodeBs mais la translation d'adresse précédemment décrite est remplacée cette fois par une seconde encapsulation GTP entre le eNodeB2 et le SGW externe (si EPC normal) ou le SGW interne et le PGW externe (si EPC HIGH).
  • Ainsi, l'invention apporte une solution au problème d'isolement d'une cellule LTE pour le reste du réseau en cas de déconnexion de la passerelle de paquet de l'infrastructure de réseau.
  • Elle permet l'utilisation automatique d'une passerelle de paquet de sauvegarde locale et d'un serveur d'application en cas de déconnexion précitée.
  • Elle permet enfin l'activation d'un chemin de redirection, qui prend en compte la charge de l'élément de réseau utilisé pour la redirection.
  • Bien sûr, l'invention n'est pas limitée aux exemples qui viennent d'être décrits et de nombreux aménagements peuvent être apportés à ces exemples sans sortir du cadre de l'invention.

Claims (14)

  1. Procédé pour maintenir un flux de données en provenance d'un site cellule au sein d'un réseau de communication mobile vers un équipement coeur distant (EPC High) en cas de défaillance d'une connexion prévue entre ledit site cellule et ledit équipement coeur distant selon un premier protocole S5, caractérisé en ce qu'il comprend une redirection, selon un second protocole X2, dudit flux de données vers ledit équipement coeur distant (EPC High) via un équipement coeur local (EPC Low) relié audit équipement coeur distant (EPC High).
  2. Procédé selon la revendication 1, caractérisé en ce qu'il met en oeuvre un équilibrage dynamique de charge de passerelles de paquets de données (PGW) dans des équipements coeurs (EPC) au sein du réseau de communication mobile, en cas de défaillance d'un site cellule du fait de sa déconnexion d'avec l'équipement coeur distant (EPC High) recevant normalement dudit site cellule un flux de données, et en ce que le flux de données est redirigé vers une passerelle de paquets de données (PGW) de l'équipement coeur local (EPC Low) puis est traité par un serveur d'application (PMR) local connecté à ladite passerelle de paquets de données (PGW), de façon à acheminer ledit flux de données vers ledit équipement coeur distant (EPC).
  3. Procédé selon la revendication 2, caractérisé en ce que la redirection du flux de données met en oeuvre une connexion d'interface S5 au sein de l'équipement coeur (EPC Low) entre une passerelle serveur (SGW) et la passerelle de paquets de données (PGW) de l'équipement coeur local (EPC Low).
  4. Procédé selon la revendication 3, caractérisé en ce qu'il comprend en outre une détection de stations de base (eNode Bs) connectées au site cellule défaillant, une requête d'informations notamment relatives à la charge desdites stations de base ainsi détectées et à la qualité de leur connexion avec l'équipement coeur distant (EPC High) et un traitement desdites informations pour déterminer au moins un équipement coeur local de redirection.
  5. Procédé selon la revendication 4, caractérisé en ce que la détection des stations de base (eNode Bs) connectées au site cellule défaillant met en oeuvre une table préconfigurée stockée dans une mémoire.
  6. Procédé selon l'une des revendications 4 ou 5, caractérisé en ce que la détection des stations de base (eNode Bs) connectées au site cellule défaillant met en oeuvre un protocole de localisation de service (SLP).
  7. Procédé selon l'une des revendications 4 à 6, caractérisé en ce qu'il comprend en outre une requête d'allocation de bande passante, émise par le site cellule défaillant auprès de chaque site cellule incluant l'une des stations de base détectées et connecté à l'équipement coeur distant (EPC High).
  8. Procédé selon la revendication 7, caractérisé en ce qu'il comprend en outre, en réponse à une approbation par un site cellule de la requête d'allocation de bande passante, un basculement du flux de données destiné à l'équipement coeur distant (EPC High) via ledit site cellule ayant approuvé la requête.
  9. Procédé selon l'une des revendications 7 ou 8, caractérisé en ce que le site cellule ayant approuvé la requête spécifie une durée d'allocation d'une bande passante pour redirection.
  10. Procédé selon l'une des revendications 8 ou 9, dans lequel le flux de
    donnés à basculer est organisé en paquets de données selon un premier protocole S5, caractérisé en ce que le basculement du flux de données met en oeuvre une encapsulation desdits paquets de données selon un second protocole X2 utilisé dans les communications entre stations de base (eNode Bs).
  11. Procédé selon l'une quelconque des revendications 3 à 10, caractérisé en ce qu'il comprend en outre une surveillance de l'état de la connexion directe entre le site cellule défaillant et l'équipement coeur distant (EPC High) et, en cas de détection d'un rétablissement de ladite connexion directe, un rebasculement du flux de données vers ledit équipement coeur distant (EPC High) via la connexion d'interface S5 reliant la passerelle serveur (SGW) de l'équipement coeur local (EPC Low) à la passerelle de paquets de données (PGW) de l'équipement coeur distant (EPC High).
  12. Procédé selon l'une quelconque des revendications précédentes, caractérisé en ce que le réseau de communication mobile est de type LTE ("Long Term Evolution").
  13. Système de communication mobile mettant en oeuvre un procédé de maintien de flux de données selon l'une quelconque des revendications précédentes.
  14. Programme d'ordinateur comportant des instructions pour la mise en oeuvre du procédé de maintien de flux de données selon l'une quelconque des revendications 1 à 12 lorsque le programme est exécuté par au moins un processeur.
EP14290126.3A 2013-05-03 2014-04-29 Procédé pour maintenir un flux de données en provenance d'un site cellule au sein d'un réseau de communication mobile vers un équipement coeur distant, système et programme d'ordinateur associés Active EP2800446B1 (fr)

Applications Claiming Priority (1)

Application Number Priority Date Filing Date Title
FR1354077A FR3005387B1 (fr) 2013-05-03 2013-05-03 Procede pour maintenir un flux de donnees en provenance d'un site cellule au sein d'un reseau de communication mobile vers un equipement coeur distant, systeme et programme d'ordinateur associes

Publications (2)

Publication Number Publication Date
EP2800446A1 true EP2800446A1 (fr) 2014-11-05
EP2800446B1 EP2800446B1 (fr) 2016-09-21

Family

ID=48856873

Family Applications (1)

Application Number Title Priority Date Filing Date
EP14290126.3A Active EP2800446B1 (fr) 2013-05-03 2014-04-29 Procédé pour maintenir un flux de données en provenance d'un site cellule au sein d'un réseau de communication mobile vers un équipement coeur distant, système et programme d'ordinateur associés

Country Status (3)

Country Link
EP (1) EP2800446B1 (fr)
ES (1) ES2600552T3 (fr)
FR (1) FR3005387B1 (fr)

Cited By (1)

* Cited by examiner, † Cited by third party
Publication number Priority date Publication date Assignee Title
WO2025133089A1 (fr) * 2023-12-22 2025-06-26 Victor Kossikouma Agbegnenou Dispositif et procédé d'acheminement d'un flux de données

Citations (4)

* Cited by examiner, † Cited by third party
Publication number Priority date Publication date Assignee Title
US20100281151A1 (en) 2009-03-04 2010-11-04 Cisco Technology, Inc. Provisioning available network resources
US20110096750A1 (en) 2009-10-27 2011-04-28 Cisco Technology, Inc. Dynamic gateway selection process
US20120063300A1 (en) * 2010-09-15 2012-03-15 Yildirim Sahin Methods and apparatus for relocating and restoring connections through a failed serving gateway and traffic offloading
US20120314688A1 (en) * 2010-02-05 2012-12-13 Nec Europe Ltd. Method for routing traffic within a network and a network

Patent Citations (4)

* Cited by examiner, † Cited by third party
Publication number Priority date Publication date Assignee Title
US20100281151A1 (en) 2009-03-04 2010-11-04 Cisco Technology, Inc. Provisioning available network resources
US20110096750A1 (en) 2009-10-27 2011-04-28 Cisco Technology, Inc. Dynamic gateway selection process
US20120314688A1 (en) * 2010-02-05 2012-12-13 Nec Europe Ltd. Method for routing traffic within a network and a network
US20120063300A1 (en) * 2010-09-15 2012-03-15 Yildirim Sahin Methods and apparatus for relocating and restoring connections through a failed serving gateway and traffic offloading

Non-Patent Citations (1)

* Cited by examiner, † Cited by third party
Title
HUAWEI: "Discussion of Home NodeB Grouping Function", 3GPP DRAFT; R3-072088_DISCUSSION OF HOME NODEB GROUPING FUNCTION, 3RD GENERATION PARTNERSHIP PROJECT (3GPP), MOBILE COMPETENCE CENTRE ; 650, ROUTE DES LUCIOLES ; F-06921 SOPHIA-ANTIPOLIS CEDEX ; FRANCE, vol. RAN WG3, no. Jeju Island; 20071031, 31 October 2007 (2007-10-31), XP050162882 *

Cited By (2)

* Cited by examiner, † Cited by third party
Publication number Priority date Publication date Assignee Title
WO2025133089A1 (fr) * 2023-12-22 2025-06-26 Victor Kossikouma Agbegnenou Dispositif et procédé d'acheminement d'un flux de données
FR3157744A1 (fr) * 2023-12-22 2025-06-27 Kossikouma Victor AGBEGNENOU Dispositif et procédé d’acheminement de flux de communications pour des équipements utilisateurs nomades, sélectivement et automatiquement via un équipement cœur distant ou bien un équipement cœur local

Also Published As

Publication number Publication date
FR3005387B1 (fr) 2016-10-21
ES2600552T3 (es) 2017-02-09
FR3005387A1 (fr) 2014-11-07
EP2800446B1 (fr) 2016-09-21

Similar Documents

Publication Publication Date Title
CN107637037B (zh) 用于全局虚拟网络中的虚拟接口和高级智能路由的系统和方法
US10517011B2 (en) Automated measurement and analysis of end-to-end performance of VoLTE service
EP2485527B1 (fr) Procédé de traitement de division de service, équipement de communication et système de réseau
CN102726000B (zh) 故障通告方法、检测装置、转发装置及系统
EP3854146A1 (fr) Systèmes, dispositifs et procédés de rétablissement de connexion par l'intermédiaire de routes alternatives dans un accès et une liaison terrestre intégrés en raison de défaillances de liaison radio
CN102265555B (zh) 通信设备间的主备倒换方法、通信设备和系统及服务请求设备
US10334419B2 (en) Methods, systems, and computer readable media for optimizing machine type communication (MTC) device signaling
CN106470117B (zh) Lte宽带集群系统的传输切换方法、设备和系统
US11039338B2 (en) Methods, systems, and computer readable media for control plane traffic filtering in a control and user plane separation (CUPS) environment
EP2874349B1 (fr) Procédé et appareil de traitement de chemin de communication
KR20150033681A (ko) 연결 실패 시에 홈 네트워크에 대한 재라우팅을 인에이블시키는 방법 및 시스템
US8982842B2 (en) Monitoring 3G/4G handovers in telecommunication networks
US11076321B2 (en) Selecting 5G non-standalone architecture capable MME during registration and handover
CN102265556B (zh) 通信设备间的主备倒换方法、通信设备和系统及服务请求设备
CN110798822A (zh) 一种基于电信网络物联网设备的监控方法
EP2620013B1 (fr) Infrastructure de réseau professionnel de radiocommunication
EP2800446B1 (fr) Procédé pour maintenir un flux de données en provenance d'un site cellule au sein d'un réseau de communication mobile vers un équipement coeur distant, système et programme d'ordinateur associés
US8595568B2 (en) Integration agent device for node including multi-layered equipment and fault management method thereof
FR3017506A1 (fr) Procede de controle par anticipation des flux de donnees par un reseau sdn en cas de defaillance d'un routeur
CN102438273B (zh) 集群网元间ip通信方法及相关装置和通信系统
EP2399406B1 (fr) Procédé de commutation de noeud d'accès
EP2206384B1 (fr) Procede de commutation de noeud d'acces
CN113556291B (zh) 流量跟踪方法、装置、设备及计算机可读介质
FR3033969A1 (fr) Changement de raccordement d'un noeud dans un reseau cpl
CN116389191A (zh) 数据传输系统及其方法、设备及存储介质

Legal Events

Date Code Title Description
PUAI Public reference made under article 153(3) epc to a published international application that has entered the european phase

Free format text: ORIGINAL CODE: 0009012

17P Request for examination filed

Effective date: 20140509

AK Designated contracting states

Kind code of ref document: A1

Designated state(s): AL AT BE BG CH CY CZ DE DK EE ES FI FR GB GR HR HU IE IS IT LI LT LU LV MC MK MT NL NO PL PT RO RS SE SI SK SM TR

AX Request for extension of the european patent

Extension state: BA ME

REG Reference to a national code

Ref country code: DE

Ref legal event code: R079

Ref document number: 602014003843

Country of ref document: DE

Free format text: PREVIOUS MAIN CLASS: H04W0076040000

Ipc: H04W0028080000

RIC1 Information provided on ipc code assigned before grant

Ipc: H04W 24/04 20090101ALN20160310BHEP

Ipc: H04W 28/08 20090101AFI20160310BHEP

Ipc: H04W 92/20 20090101ALN20160310BHEP

GRAP Despatch of communication of intention to grant a patent

Free format text: ORIGINAL CODE: EPIDOSNIGR1

RIC1 Information provided on ipc code assigned before grant

Ipc: H04W 24/04 20090101ALN20160406BHEP

Ipc: H04W 28/08 20090101AFI20160406BHEP

Ipc: H04W 92/20 20090101ALN20160406BHEP

INTG Intention to grant announced

Effective date: 20160418

GRAS Grant fee paid

Free format text: ORIGINAL CODE: EPIDOSNIGR3

GRAA (expected) grant

Free format text: ORIGINAL CODE: 0009210

AK Designated contracting states

Kind code of ref document: B1

Designated state(s): AL AT BE BG CH CY CZ DE DK EE ES FI FR GB GR HR HU IE IS IT LI LT LU LV MC MK MT NL NO PL PT RO RS SE SI SK SM TR

REG Reference to a national code

Ref country code: GB

Ref legal event code: FG4D

Free format text: NOT ENGLISH

REG Reference to a national code

Ref country code: CH

Ref legal event code: EP

REG Reference to a national code

Ref country code: AT

Ref legal event code: REF

Ref document number: 831914

Country of ref document: AT

Kind code of ref document: T

Effective date: 20161015

REG Reference to a national code

Ref country code: IE

Ref legal event code: FG4D

Free format text: LANGUAGE OF EP DOCUMENT: FRENCH

REG Reference to a national code

Ref country code: DE

Ref legal event code: R096

Ref document number: 602014003843

Country of ref document: DE

REG Reference to a national code

Ref country code: LT

Ref legal event code: MG4D

Ref country code: NL

Ref legal event code: MP

Effective date: 20160921

PG25 Lapsed in a contracting state [announced via postgrant information from national office to epo]

Ref country code: RS

Free format text: LAPSE BECAUSE OF FAILURE TO SUBMIT A TRANSLATION OF THE DESCRIPTION OR TO PAY THE FEE WITHIN THE PRESCRIBED TIME-LIMIT

Effective date: 20160921

Ref country code: LT

Free format text: LAPSE BECAUSE OF FAILURE TO SUBMIT A TRANSLATION OF THE DESCRIPTION OR TO PAY THE FEE WITHIN THE PRESCRIBED TIME-LIMIT

Effective date: 20160921

Ref country code: FI

Free format text: LAPSE BECAUSE OF FAILURE TO SUBMIT A TRANSLATION OF THE DESCRIPTION OR TO PAY THE FEE WITHIN THE PRESCRIBED TIME-LIMIT

Effective date: 20160921

Ref country code: NO

Free format text: LAPSE BECAUSE OF FAILURE TO SUBMIT A TRANSLATION OF THE DESCRIPTION OR TO PAY THE FEE WITHIN THE PRESCRIBED TIME-LIMIT

Effective date: 20161221

REG Reference to a national code

Ref country code: ES

Ref legal event code: FG2A

Ref document number: 2600552

Country of ref document: ES

Kind code of ref document: T3

Effective date: 20170209

REG Reference to a national code

Ref country code: AT

Ref legal event code: MK05

Ref document number: 831914

Country of ref document: AT

Kind code of ref document: T

Effective date: 20160921

PG25 Lapsed in a contracting state [announced via postgrant information from national office to epo]

Ref country code: LV

Free format text: LAPSE BECAUSE OF FAILURE TO SUBMIT A TRANSLATION OF THE DESCRIPTION OR TO PAY THE FEE WITHIN THE PRESCRIBED TIME-LIMIT

Effective date: 20160921

Ref country code: NL

Free format text: LAPSE BECAUSE OF FAILURE TO SUBMIT A TRANSLATION OF THE DESCRIPTION OR TO PAY THE FEE WITHIN THE PRESCRIBED TIME-LIMIT

Effective date: 20160921

Ref country code: SE

Free format text: LAPSE BECAUSE OF FAILURE TO SUBMIT A TRANSLATION OF THE DESCRIPTION OR TO PAY THE FEE WITHIN THE PRESCRIBED TIME-LIMIT

Effective date: 20160921

Ref country code: GR

Free format text: LAPSE BECAUSE OF FAILURE TO SUBMIT A TRANSLATION OF THE DESCRIPTION OR TO PAY THE FEE WITHIN THE PRESCRIBED TIME-LIMIT

Effective date: 20161222

REG Reference to a national code

Ref country code: FR

Ref legal event code: PLFP

Year of fee payment: 4

PG25 Lapsed in a contracting state [announced via postgrant information from national office to epo]

Ref country code: RO

Free format text: LAPSE BECAUSE OF FAILURE TO SUBMIT A TRANSLATION OF THE DESCRIPTION OR TO PAY THE FEE WITHIN THE PRESCRIBED TIME-LIMIT

Effective date: 20160921

Ref country code: EE

Free format text: LAPSE BECAUSE OF FAILURE TO SUBMIT A TRANSLATION OF THE DESCRIPTION OR TO PAY THE FEE WITHIN THE PRESCRIBED TIME-LIMIT

Effective date: 20160921

PG25 Lapsed in a contracting state [announced via postgrant information from national office to epo]

Ref country code: SK

Free format text: LAPSE BECAUSE OF FAILURE TO SUBMIT A TRANSLATION OF THE DESCRIPTION OR TO PAY THE FEE WITHIN THE PRESCRIBED TIME-LIMIT

Effective date: 20160921

Ref country code: IS

Free format text: LAPSE BECAUSE OF FAILURE TO SUBMIT A TRANSLATION OF THE DESCRIPTION OR TO PAY THE FEE WITHIN THE PRESCRIBED TIME-LIMIT

Effective date: 20170121

Ref country code: AT

Free format text: LAPSE BECAUSE OF FAILURE TO SUBMIT A TRANSLATION OF THE DESCRIPTION OR TO PAY THE FEE WITHIN THE PRESCRIBED TIME-LIMIT

Effective date: 20160921

Ref country code: CZ

Free format text: LAPSE BECAUSE OF FAILURE TO SUBMIT A TRANSLATION OF THE DESCRIPTION OR TO PAY THE FEE WITHIN THE PRESCRIBED TIME-LIMIT

Effective date: 20160921

Ref country code: BG

Free format text: LAPSE BECAUSE OF FAILURE TO SUBMIT A TRANSLATION OF THE DESCRIPTION OR TO PAY THE FEE WITHIN THE PRESCRIBED TIME-LIMIT

Effective date: 20161221

Ref country code: SM

Free format text: LAPSE BECAUSE OF FAILURE TO SUBMIT A TRANSLATION OF THE DESCRIPTION OR TO PAY THE FEE WITHIN THE PRESCRIBED TIME-LIMIT

Effective date: 20160921

Ref country code: PL

Free format text: LAPSE BECAUSE OF FAILURE TO SUBMIT A TRANSLATION OF THE DESCRIPTION OR TO PAY THE FEE WITHIN THE PRESCRIBED TIME-LIMIT

Effective date: 20160921

Ref country code: PT

Free format text: LAPSE BECAUSE OF FAILURE TO SUBMIT A TRANSLATION OF THE DESCRIPTION OR TO PAY THE FEE WITHIN THE PRESCRIBED TIME-LIMIT

Effective date: 20170123

REG Reference to a national code

Ref country code: DE

Ref legal event code: R097

Ref document number: 602014003843

Country of ref document: DE

PG25 Lapsed in a contracting state [announced via postgrant information from national office to epo]

Ref country code: IT

Free format text: LAPSE BECAUSE OF FAILURE TO SUBMIT A TRANSLATION OF THE DESCRIPTION OR TO PAY THE FEE WITHIN THE PRESCRIBED TIME-LIMIT

Effective date: 20160921

PLBE No opposition filed within time limit

Free format text: ORIGINAL CODE: 0009261

STAA Information on the status of an ep patent application or granted ep patent

Free format text: STATUS: NO OPPOSITION FILED WITHIN TIME LIMIT

PG25 Lapsed in a contracting state [announced via postgrant information from national office to epo]

Ref country code: DK

Free format text: LAPSE BECAUSE OF FAILURE TO SUBMIT A TRANSLATION OF THE DESCRIPTION OR TO PAY THE FEE WITHIN THE PRESCRIBED TIME-LIMIT

Effective date: 20160921

26N No opposition filed

Effective date: 20170622

PG25 Lapsed in a contracting state [announced via postgrant information from national office to epo]

Ref country code: SI

Free format text: LAPSE BECAUSE OF FAILURE TO SUBMIT A TRANSLATION OF THE DESCRIPTION OR TO PAY THE FEE WITHIN THE PRESCRIBED TIME-LIMIT

Effective date: 20160921

REG Reference to a national code

Ref country code: CH

Ref legal event code: PL

REG Reference to a national code

Ref country code: IE

Ref legal event code: MM4A

PG25 Lapsed in a contracting state [announced via postgrant information from national office to epo]

Ref country code: MC

Free format text: LAPSE BECAUSE OF FAILURE TO SUBMIT A TRANSLATION OF THE DESCRIPTION OR TO PAY THE FEE WITHIN THE PRESCRIBED TIME-LIMIT

Effective date: 20160921

PG25 Lapsed in a contracting state [announced via postgrant information from national office to epo]

Ref country code: LI

Free format text: LAPSE BECAUSE OF NON-PAYMENT OF DUE FEES

Effective date: 20170430

Ref country code: CH

Free format text: LAPSE BECAUSE OF NON-PAYMENT OF DUE FEES

Effective date: 20170430

Ref country code: LU

Free format text: LAPSE BECAUSE OF NON-PAYMENT OF DUE FEES

Effective date: 20170429

REG Reference to a national code

Ref country code: BE

Ref legal event code: MM

Effective date: 20170430

REG Reference to a national code

Ref country code: FR

Ref legal event code: PLFP

Year of fee payment: 5

PG25 Lapsed in a contracting state [announced via postgrant information from national office to epo]

Ref country code: IE

Free format text: LAPSE BECAUSE OF NON-PAYMENT OF DUE FEES

Effective date: 20170429

PG25 Lapsed in a contracting state [announced via postgrant information from national office to epo]

Ref country code: BE

Free format text: LAPSE BECAUSE OF NON-PAYMENT OF DUE FEES

Effective date: 20170430

PG25 Lapsed in a contracting state [announced via postgrant information from national office to epo]

Ref country code: MT

Free format text: LAPSE BECAUSE OF FAILURE TO SUBMIT A TRANSLATION OF THE DESCRIPTION OR TO PAY THE FEE WITHIN THE PRESCRIBED TIME-LIMIT

Effective date: 20160921

PG25 Lapsed in a contracting state [announced via postgrant information from national office to epo]

Ref country code: AL

Free format text: LAPSE BECAUSE OF FAILURE TO SUBMIT A TRANSLATION OF THE DESCRIPTION OR TO PAY THE FEE WITHIN THE PRESCRIBED TIME-LIMIT

Effective date: 20160921

PG25 Lapsed in a contracting state [announced via postgrant information from national office to epo]

Ref country code: HU

Free format text: LAPSE BECAUSE OF FAILURE TO SUBMIT A TRANSLATION OF THE DESCRIPTION OR TO PAY THE FEE WITHIN THE PRESCRIBED TIME-LIMIT; INVALID AB INITIO

Effective date: 20140429

PG25 Lapsed in a contracting state [announced via postgrant information from national office to epo]

Ref country code: CY

Free format text: LAPSE BECAUSE OF FAILURE TO SUBMIT A TRANSLATION OF THE DESCRIPTION OR TO PAY THE FEE WITHIN THE PRESCRIBED TIME-LIMIT

Effective date: 20160921

PG25 Lapsed in a contracting state [announced via postgrant information from national office to epo]

Ref country code: MK

Free format text: LAPSE BECAUSE OF FAILURE TO SUBMIT A TRANSLATION OF THE DESCRIPTION OR TO PAY THE FEE WITHIN THE PRESCRIBED TIME-LIMIT

Effective date: 20160921

PG25 Lapsed in a contracting state [announced via postgrant information from national office to epo]

Ref country code: TR

Free format text: LAPSE BECAUSE OF FAILURE TO SUBMIT A TRANSLATION OF THE DESCRIPTION OR TO PAY THE FEE WITHIN THE PRESCRIBED TIME-LIMIT

Effective date: 20160921

PG25 Lapsed in a contracting state [announced via postgrant information from national office to epo]

Ref country code: HR

Free format text: LAPSE BECAUSE OF FAILURE TO SUBMIT A TRANSLATION OF THE DESCRIPTION OR TO PAY THE FEE WITHIN THE PRESCRIBED TIME-LIMIT

Effective date: 20160921

PGFP Annual fee paid to national office [announced via postgrant information from national office to epo]

Ref country code: GB

Payment date: 20220323

Year of fee payment: 9

PGFP Annual fee paid to national office [announced via postgrant information from national office to epo]

Ref country code: ES

Payment date: 20220502

Year of fee payment: 9

PGFP Annual fee paid to national office [announced via postgrant information from national office to epo]

Ref country code: DE

Payment date: 20230321

Year of fee payment: 10

GBPC Gb: european patent ceased through non-payment of renewal fee

Effective date: 20230429

PG25 Lapsed in a contracting state [announced via postgrant information from national office to epo]

Ref country code: GB

Free format text: LAPSE BECAUSE OF NON-PAYMENT OF DUE FEES

Effective date: 20230429

PG25 Lapsed in a contracting state [announced via postgrant information from national office to epo]

Ref country code: GB

Free format text: LAPSE BECAUSE OF NON-PAYMENT OF DUE FEES

Effective date: 20230429

REG Reference to a national code

Ref country code: ES

Ref legal event code: FD2A

Effective date: 20240627

PG25 Lapsed in a contracting state [announced via postgrant information from national office to epo]

Ref country code: ES

Free format text: LAPSE BECAUSE OF NON-PAYMENT OF DUE FEES

Effective date: 20230430

PG25 Lapsed in a contracting state [announced via postgrant information from national office to epo]

Ref country code: ES

Free format text: LAPSE BECAUSE OF NON-PAYMENT OF DUE FEES

Effective date: 20230430

REG Reference to a national code

Ref country code: DE

Ref legal event code: R119

Ref document number: 602014003843

Country of ref document: DE

PG25 Lapsed in a contracting state [announced via postgrant information from national office to epo]

Ref country code: DE

Free format text: LAPSE BECAUSE OF NON-PAYMENT OF DUE FEES

Effective date: 20241105

PG25 Lapsed in a contracting state [announced via postgrant information from national office to epo]

Ref country code: DE

Free format text: LAPSE BECAUSE OF NON-PAYMENT OF DUE FEES

Effective date: 20241105

PGFP Annual fee paid to national office [announced via postgrant information from national office to epo]

Ref country code: FR

Payment date: 20250423

Year of fee payment: 12