EP2684808A1 - Closure for a container and a container provided therewith - Google Patents
Closure for a container and a container provided therewith Download PDFInfo
- Publication number
- EP2684808A1 EP2684808A1 EP12175592.0A EP12175592A EP2684808A1 EP 2684808 A1 EP2684808 A1 EP 2684808A1 EP 12175592 A EP12175592 A EP 12175592A EP 2684808 A1 EP2684808 A1 EP 2684808A1
- Authority
- EP
- European Patent Office
- Prior art keywords
- closure
- opening
- score line
- stiffening
- rivet
- Prior art date
- Legal status (The legal status is an assumption and is not a legal conclusion. Google has not performed a legal analysis and makes no representation as to the accuracy of the status listed.)
- Withdrawn
Links
- 239000000463 material Substances 0.000 description 8
- 230000015572 biosynthetic process Effects 0.000 description 3
- 238000010276 construction Methods 0.000 description 3
- 238000012360 testing method Methods 0.000 description 3
- 229910000831 Steel Inorganic materials 0.000 description 2
- 238000000034 method Methods 0.000 description 2
- 239000010959 steel Substances 0.000 description 2
- 241000251468 Actinopterygii Species 0.000 description 1
- WYTGDNHDOZPMIW-RCBQFDQVSA-N alstonine Natural products C1=CC2=C3C=CC=CC3=NC2=C2N1C[C@H]1[C@H](C)OC=C(C(=O)OC)[C@H]1C2 WYTGDNHDOZPMIW-RCBQFDQVSA-N 0.000 description 1
- 229910052782 aluminium Inorganic materials 0.000 description 1
- XAGFODPZIPBFFR-UHFFFAOYSA-N aluminium Chemical compound [Al] XAGFODPZIPBFFR-UHFFFAOYSA-N 0.000 description 1
- 230000000052 comparative effect Effects 0.000 description 1
- 230000001419 dependent effect Effects 0.000 description 1
- 230000000694 effects Effects 0.000 description 1
- 230000002452 interceptive effect Effects 0.000 description 1
- 239000002650 laminated plastic Substances 0.000 description 1
- 229910052751 metal Inorganic materials 0.000 description 1
- 239000002184 metal Substances 0.000 description 1
- 230000036316 preload Effects 0.000 description 1
- 239000005028 tinplate Substances 0.000 description 1
Images
Classifications
-
- B—PERFORMING OPERATIONS; TRANSPORTING
- B65—CONVEYING; PACKING; STORING; HANDLING THIN OR FILAMENTARY MATERIAL
- B65D—CONTAINERS FOR STORAGE OR TRANSPORT OF ARTICLES OR MATERIALS, e.g. BAGS, BARRELS, BOTTLES, BOXES, CANS, CARTONS, CRATES, DRUMS, JARS, TANKS, HOPPERS, FORWARDING CONTAINERS; ACCESSORIES, CLOSURES, OR FITTINGS THEREFOR; PACKAGING ELEMENTS; PACKAGES
- B65D17/00—Rigid or semi-rigid containers specially constructed to be opened by cutting or piercing, or by tearing of frangible members or portions
- B65D17/28—Rigid or semi-rigid containers specially constructed to be opened by cutting or piercing, or by tearing of frangible members or portions at lines or points of weakness
- B65D17/401—Rigid or semi-rigid containers specially constructed to be opened by cutting or piercing, or by tearing of frangible members or portions at lines or points of weakness characterised by having the line of weakness provided in an end wall
- B65D17/4011—Rigid or semi-rigid containers specially constructed to be opened by cutting or piercing, or by tearing of frangible members or portions at lines or points of weakness characterised by having the line of weakness provided in an end wall for opening completely by means of a tearing tab
-
- B—PERFORMING OPERATIONS; TRANSPORTING
- B65—CONVEYING; PACKING; STORING; HANDLING THIN OR FILAMENTARY MATERIAL
- B65D—CONTAINERS FOR STORAGE OR TRANSPORT OF ARTICLES OR MATERIALS, e.g. BAGS, BARRELS, BOTTLES, BOXES, CANS, CARTONS, CRATES, DRUMS, JARS, TANKS, HOPPERS, FORWARDING CONTAINERS; ACCESSORIES, CLOSURES, OR FITTINGS THEREFOR; PACKAGING ELEMENTS; PACKAGES
- B65D2517/00—Containers specially constructed to be opened by cutting, piercing or tearing of wall portions, e.g. preserving cans or tins
- B65D2517/0001—Details
- B65D2517/001—Action for opening container
- B65D2517/0016—Action for opening container pivot tab, push-down and pull-out tear panel
-
- B—PERFORMING OPERATIONS; TRANSPORTING
- B65—CONVEYING; PACKING; STORING; HANDLING THIN OR FILAMENTARY MATERIAL
- B65D—CONTAINERS FOR STORAGE OR TRANSPORT OF ARTICLES OR MATERIALS, e.g. BAGS, BARRELS, BOTTLES, BOXES, CANS, CARTONS, CRATES, DRUMS, JARS, TANKS, HOPPERS, FORWARDING CONTAINERS; ACCESSORIES, CLOSURES, OR FITTINGS THEREFOR; PACKAGING ELEMENTS; PACKAGES
- B65D2517/00—Containers specially constructed to be opened by cutting, piercing or tearing of wall portions, e.g. preserving cans or tins
- B65D2517/0001—Details
- B65D2517/0058—Other details of container end panel
- B65D2517/0059—General cross-sectional shape of container end panel
- B65D2517/0061—U-shaped
- B65D2517/0062—U-shaped and provided with an additional U-shaped peripheral channel
-
- B—PERFORMING OPERATIONS; TRANSPORTING
- B65—CONVEYING; PACKING; STORING; HANDLING THIN OR FILAMENTARY MATERIAL
- B65D—CONTAINERS FOR STORAGE OR TRANSPORT OF ARTICLES OR MATERIALS, e.g. BAGS, BARRELS, BOTTLES, BOXES, CANS, CARTONS, CRATES, DRUMS, JARS, TANKS, HOPPERS, FORWARDING CONTAINERS; ACCESSORIES, CLOSURES, OR FITTINGS THEREFOR; PACKAGING ELEMENTS; PACKAGES
- B65D2517/00—Containers specially constructed to be opened by cutting, piercing or tearing of wall portions, e.g. preserving cans or tins
- B65D2517/0001—Details
- B65D2517/0058—Other details of container end panel
- B65D2517/0068—Ribs or projections in container end panel
- B65D2517/007—Ribs or projections in container end panel located within tear-out/push-in panel
-
- B—PERFORMING OPERATIONS; TRANSPORTING
- B65—CONVEYING; PACKING; STORING; HANDLING THIN OR FILAMENTARY MATERIAL
- B65D—CONTAINERS FOR STORAGE OR TRANSPORT OF ARTICLES OR MATERIALS, e.g. BAGS, BARRELS, BOTTLES, BOXES, CANS, CARTONS, CRATES, DRUMS, JARS, TANKS, HOPPERS, FORWARDING CONTAINERS; ACCESSORIES, CLOSURES, OR FITTINGS THEREFOR; PACKAGING ELEMENTS; PACKAGES
- B65D2517/00—Containers specially constructed to be opened by cutting, piercing or tearing of wall portions, e.g. preserving cans or tins
- B65D2517/0001—Details
- B65D2517/0058—Other details of container end panel
- B65D2517/008—Materials of container end panel
- B65D2517/0082—Coated or laminated metal
Definitions
- the present invention relates to a closure for a container, and to a container provided with such a closure.
- the present invention relates to a closure for a container and in particular to a closure for an easy opening container.
- An easy opening container is a container which the consumer can open without the use of a tool.
- the easy opening container is provided with a closure having a tab with which the consumer is able to form an opening in the closure along a score line, and subsequently at least partially remove the closure part provided with the tab thereby forming an opening in the closure and to make access to the container content.
- the container opening procedure to be followed by the consumer comprises first a lifting of the tab from the closure surface whereby the tab will rotate and the tab nose will press near or on the score line. The score will fail thereby popping open the closure.
- the construction of the tab is such that the rotational force for lifting the tab and for forming the initial opening in closure should be sufficiently low for easy opening. Thereafter, with the tab in an upright position the consumer has to pull the tab thereby tearing the closure part attached to the tab loose from the remainder of the closure so that the closure part is torn along the score line apart from the closure thereby forming the opening.
- a closure for a container of the type as described above comprises a tab which is attached by rivet means to the closure.
- the rivet means should be such that the tab is reliably attached to the closure and will not fail or even release during the lifting or tearing of the closure part during the opening of the container and thereby being separated in an undesired manner from the closure part. Such a situation is not desired and even dangerous because generally the torn score line comprises a sharp torn edge.
- the area where the initial opening of the closure occurs is relatively stiff because a stiff will be easier to pop open than a flexible closure.
- this area of the closure is generally stretched and relatively thin and vulnerable, particularly when the rivet means are made from the closure part material and are integral with the closure part.
- the content of the closure is pressurized, it should be avoided that when having a weaker area an undesired opening by peaking could occur.
- a tab to be reliably attached by the rivet means to the closure part, for having an easy opening of the container with the tab and without a tool.
- such container is also suitable for pressurized contents in the container.
- the skilled person will acknowledge that the area were the tab nose will act on the score line for popping open the closure and forming a so-called opening chord along the score line, is an area full with compromises for balancing conflicting constructional features.
- the closure should be easily opened but still sufficiently rigid for withstanding internal pressures and easy popping. Therefore, this delicately designed area is unlikely for the skilled person to include or be imparted further construction measures in relation to an improvement of the opening of a closure as described above, but which may interfere with the existing easy opening construction.
- the present invention relates to further improvement of the closure in particularly in the area where the tab acts with its tab nose on the score line for popping open the closure, for further improving the opening procedure and for reducing in particular the tear force for forcing an opening in the container.
- a tab attached by rivet means to a closure part to be removed for forming an opening in the closure, which opening is defined by a score line formed in the closure, and stiffening means extending along the rivet means towards the score line.
- the present invention is based on the insight that providing stiffening means near the area where the tab nose will interact with the score line, that the stiffening of this area will result after popping open the closure in the formation of an opening chord and arc along the score line over a larger length such, that the subsequent tear force required for tearing the closure at least partially part with the tab along the score line apart from the remainder of the closure thereby forming an opening, will be lowered to a surprisingly large extent.
- the stiffening means according to the invention are located along the rivet means and extend from the rivet means towards the score line in essentially a direction which is close to a radial direction. This has a result that at the same rotational force applied by the consumer when lifting the tab, after popping open the closure a larger initial opening is formed and therefore longer opening chord and opening arc.
- the stiffening means according to the invention may have any form which will provide an increase in stiffness in the area at the side and preferably ahead of the rivet towards the score line.
- Such stiffening means may comprise any type of stiffening elements, such as stiffening bars or stiffening grooves and other structural forms that will improve the stiffness although they will not interfere with the properties of the closure and of the container in relation to a reliable closure and a reliable easy opening of the closure.
- a closure for a container according to the invention may comprise at least one furrow which extends along the score line. If this furrow extends along the score line which encloses the furrow, then it is preferred that the stiffening means are connected to this furrow. This will provide for an area with an increased stiffness which may change only gradually in stiffness, whereas the stiffening means and the furrow may be formed in the closure during the same forming operation.
- the furrow is a circumferential furrow which partially or preferably substantially encloses the removable closure part of the closure.
- the closure is provided with two circumferential furrows each extending at a side along the score line.
- Such closure has a high strength.
- the scoring may be done at a relatively low scoring force and even may result in a use of a less thick closure material.
- the score line may be a closed score line so that the closure part may be removed entirely from the closure and becomes eventually separated from the closure.
- Such score line may be circular, ellipsoid, or any suitable form.
- the invention also relates to a score line which is not a closed score line, so that the closure part to be removed for forming the opening will remain attached to the closure in an area where the closure is not provided with the score line.
- Such score line may have to form of a crescent or other suitable form.
- the furrow may extend laterally of the rivet means and only along a part along the score line.
- the stiffening means may be connected and formed together and integrally with this type of furrows.
- the rivet means may comprise a separated rivet which is formed in the closure via a rivet opening formed in the closure, so that the rivet is extending through this rivet opening and attaches the tab to the closure.
- the rivet means have the form of a rivet made from the material of the closure, so that the rivet means are integrally formed from the closure part.
- integral forming requires the provision of closure material for the rivet means by stretching additionally the closure adjacent the area where the rivet means are to be formed integrally from the closure material.
- integral rivet means has the advantage of providing a closure not having an opening for the rivet.
- the stiffening means are intended to provide the area where the tab will act on the score line with a more stiff closure region.
- the stiffening means may have any form such as an elongated form being strait, curved, and wavy, or combinations thereof.
- Other forms such as a serpentine form, fish grate form and other well known form which will result in stiffening of a panel, may be considered as stiffening means to be used according to the present invention.
- the stiffening means have the form of a groove which is a form similar to a furrow and which may be formed in the material during the formation of the closure.
- a groove may be open to the inner side of the container but preferably open to the tab side of the closure part, so that it will have a form similar to other structures formed in the closure for the same or other reasons.
- Such other forms may comprise a terrace structure, dimples form supporting the tab rear part, and evidently furrows and serpentine furrows for increasing the strength of the closure.
- the presence of the stiffening means is selected such that an opening chord formed upon opening the closure by the rotational force of the tab such opening chord is longer than an opening chord formed in the closure devoid of the stiffening means according to the invention.
- the chord will be larger and surprisingly thereby the force for tearing further open the closure is reduced.
- the tear force for opening the closure is generally measured and tested with a tear force opening test.
- the tab is connected to the pulling element and preloaded (pre-load about 1N).
- the closure is rotated over about 90° whereby the tab is brought into an upright position and the closure is popped open.
- the detected maximum force is the pop force.
- the tab is pulled against the rim of the closure and then the closure is rotated back to the tear position at about 4°. The tab is then pulled and the detected maximum force is the tear force.
- the score line extends circumferentially along the outer edge of the closure thereby forming a maximal opening in the container and thereby a maximal access to the container content.
- the present invention also relates to a container provided with a closure according to the invention as has been describe as above.
- FIG. 1 shows a closure 1 of the prior art.
- the closure 1 comprises a (partially) removable closure part 2 to which is attached a tab 3 via a rivet 4.
- the closure part 2 has a terrace structure 5 defined by terrace steps 6 and a surrounding substantially circular step 7.
- the closure part 2 is surrounded by a circular score line 8. Along the score line 8 are extending an outer circular furrow 9 connected to a curl 10 for connection to a container body (not shown), and an inner circular furrow 11 (see figures 2, 3 and 4 ).
- the step 7 comprises a curved part 12 thereby providing space for the rivet 4 which is integrally formed from material of the closure part 2.
- Figure 2 shows the opening chord 16 formed on the folding line 17 when the tab 3 is lifted and the score line broken over the score line arc 18 bounded by the interceptions of the score line 8 with the folding line 17.
- the tear force for opening the closure 1 when mounted on a container body with a diameter of 73mm is about 45N.
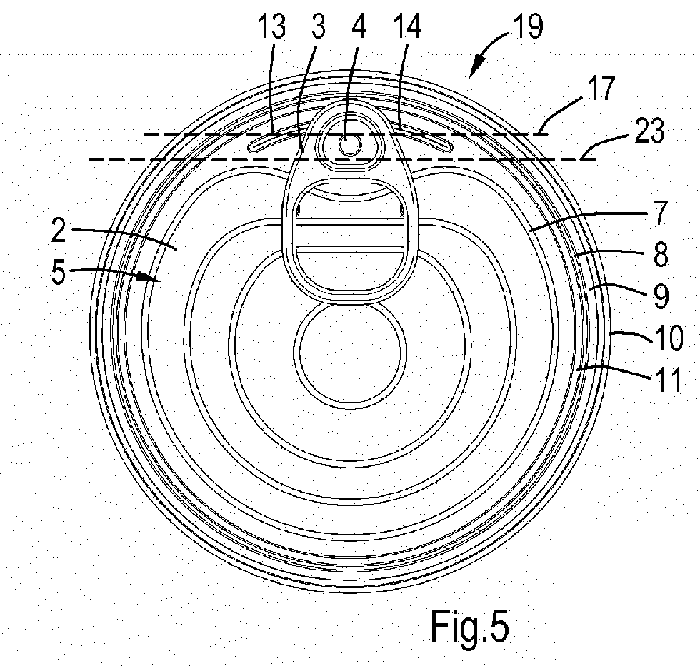
- FIGS 5-8 show a closure 19 according to the invention.
- Closure 19 comprises a closure part 2 to which is attached the tab 3 via the rivet 4.
- the closure part 2 has a terrace structure 5 defined by the steps 6 and 7.
- the terrace structure 5 is surrounded by the step 7.
- the closure part 2 is delineated by the circumferential score line 8.
- the furrows 9 and 11 extend at each side of the score line around the score line 8. Also present are arced furrows 13 and 14 extending on a hypothetical circle extension of the furrow 7 and laterally of the rivet 4.
- the closure 19 differs from the closure 1, in that stiffening means 20 extend along the rivet 4 towards the score line 8 thereby stiffening the area 21 laterally of the rivet 4, and in between the rivet 4 and the score line 8.
- the stiffening means 20 have the form of stiffening grooves 22 extending sidewise of the rivet 4 towards the score line 8 and contact the arc furrows 13 and 14.
- the closure 19 comprises stiffening grooves 22 extending laterally of the rivet 4 and/or in front of the rivet towards the score line 8, thereby stiffening the area laterally and/or in front of the rivet 4 towards the score line 8. This area is also bounded by the curved step part 12 of the step 7.
- Figure 9 clearly shows that the stiffening grooves 22 are connected with the arc furrows 13 and 14.
- the closure 27 according to the invention as shown in figure 10 comprises the same stiffening grooves 22 according to the invention, but for still further improving the stiffening of the area 21, the arc furrows 13 and 14 have an increased length in comparison to the same arc furrows 13 and 14 as illustrated in figure 9 .
- the closure 28 according to the invention as illustrated in figure 11 comprises stiffening means 20 which have the form of a curved stiffening groove 34 extending laterally and in front of the rivet 4 and contacts the arc furrows 13 and 14.
- the closure 29 according to the invention as illustrated in figure 12 comprises stiffening means 20 according to the invention, having the form of stiffening grooves 35 which extend laterally of the rivet 4 and in front of the rivet 4 but are still laterally in contact with the furrow 11 while passing in between the arc furrow 13 and 14.
- stiffening grooves 25 may also contact the arc furrows 13 and 14.
- stiffening grooves 35 are indicated as converging to one another in the direction of the score line 8, it will be appreciated by the skilled person that these stiffening grooves 35 may also run in parallel or have a curved or serpentine form.
- the closure 30 according to the invention as illustrated in figure 13 comprises stiffening means 20 in the form of stiffening grooves 36 that are connected to the furrow 11, and also arced stiffening groove 37 both partially encircling the rivet 4.
- stiffening means 20 in the form of stiffening grooves 36 that are connected to the furrow 11, and also arced stiffening groove 37 both partially encircling the rivet 4.
- the arc furrows 13 and 14 are not present.
- the arced stiffening grooves 37 may also form a single stiffening groove partially or entirely encircling the rivet 4.
- the closure 31 of the invention shows stiffening means 20 according to the invention which are partially identical to the stiffening means as discussed hereinbefore.
- the closure 31 comprises arced stiffening grooves 37 and elongated stiffening grooves 38 which are located laterally of the rivet 4.
- the arced stiffening grooves 37 extend towards the score line 8, but do not connect with the furrow 11.
- the arced furrows 13 and 14 not present but could be implemented if so desired in relation to the reduction of the tear force for opening the closure 31.
- the closure 32 according to the invention as illustrated in figure 15 also comprises stiffening means 20 according to the invention having the form of the arced stiffening grooves 37 partially encircling the rivet 4. Again it is noted that the stiffening grooves 37 may form one common stiffening groove which partially or entirely encircles the rivet 4.
- FIG 16 shows figure 16 another closure 33 according to the invention which comprises stiffening means 20 according to the invention having the form of stiffening grooves 38 which extend along the rivet 4 towards the score line 8 and are parallel to one another.
- the score line may extend along the circumference of the closure thereby dividing after tearing out the score part 2 the largest opening in the container.
- the score line may also occupy only a part of the closure thereby forming a smaller opening, when the score line is not a closed line only forming an opening as for instance illustrated by the opening 24 as shown in figure 8 .
- such closure of the invention may also be present in other types of closures than easy opening closures.
- the stiffening means may have the form of stiffening grooves contacting stiffening furrow 13 and 14, and/or contact the furrow 11 extending inwardly of the score line 8 in order to have the desired reduction in tear force for opening the container provided with such a closure of the invention.
- These furrows 13, 14 and 14 may extend at least partly inwardly (have a concave cross sectional shape) and/or extend at least partly outwardly (have a convex cross sectional shape).
- other types of stiffening structures may be used. Whether or not the various different types of stiffening means may be present, is dependent on the thickness of the closure, of the material of which the closure is made, such as steel, tin plate, aluminum, metal plastic laminates, and the like.
- the diameter of the closure may be taken into consideration, such as diameters varying from 24 to 240mm, such as 40 to 180mm, such as 73mm.
- the presence of step 7 and a terrace structure 5 the presence of dimples and other structures may be taken into consideration by the skilled person when deciding what type of stiffening means 20 according to the invention are to be used in order to reduce the tear force for opening the container while not or substantially not interfering with other structural elements present in the closure.
Landscapes
- Engineering & Computer Science (AREA)
- Mechanical Engineering (AREA)
- Containers Opened By Tearing Frangible Portions (AREA)
Abstract
Description
- The present invention relates to a closure for a container, and to a container provided with such a closure.
- The present invention relates to a closure for a container and in particular to a closure for an easy opening container. An easy opening container is a container which the consumer can open without the use of a tool. Thereto, the easy opening container is provided with a closure having a tab with which the consumer is able to form an opening in the closure along a score line, and subsequently at least partially remove the closure part provided with the tab thereby forming an opening in the closure and to make access to the container content. The container opening procedure to be followed by the consumer comprises first a lifting of the tab from the closure surface whereby the tab will rotate and the tab nose will press near or on the score line. The score will fail thereby popping open the closure. The construction of the tab is such that the rotational force for lifting the tab and for forming the initial opening in closure should be sufficiently low for easy opening. Thereafter, with the tab in an upright position the consumer has to pull the tab thereby tearing the closure part attached to the tab loose from the remainder of the closure so that the closure part is torn along the score line apart from the closure thereby forming the opening.
- Obviously, not only the rotational force for lifting the tab but also the opening tear force should be sufficiently low in order to acquire easy access to the content of the closure.
- Generally, a closure for a container of the type as described above comprises a tab which is attached by rivet means to the closure. The rivet means should be such that the tab is reliably attached to the closure and will not fail or even release during the lifting or tearing of the closure part during the opening of the container and thereby being separated in an undesired manner from the closure part. Such a situation is not desired and even dangerous because generally the torn score line comprises a sharp torn edge.
- For a reliable and easy popping open of the closure it is preferred that the area where the initial opening of the closure occurs is relatively stiff because a stiff will be easier to pop open than a flexible closure. However, due to the structural elements present in the closure for attaching the tab via the rivet means to the closure part this area of the closure is generally stretched and relatively thin and vulnerable, particularly when the rivet means are made from the closure part material and are integral with the closure part. In addition, when the content of the closure is pressurized, it should be avoided that when having a weaker area an undesired opening by peaking could occur.
- The above considerations require a tab to be reliably attached by the rivet means to the closure part, for having an easy opening of the container with the tab and without a tool. Preferably such container is also suitable for pressurized contents in the container. In view of these considerations, the skilled person will acknowledge that the area were the tab nose will act on the score line for popping open the closure and forming a so-called opening chord along the score line, is an area full with compromises for balancing conflicting constructional features. The closure should be easily opened but still sufficiently rigid for withstanding internal pressures and easy popping. Therefore, this delicately designed area is unlikely for the skilled person to include or be imparted further construction measures in relation to an improvement of the opening of a closure as described above, but which may interfere with the existing easy opening construction.
- Still, the present invention relates to further improvement of the closure in particularly in the area where the tab acts with its tab nose on the score line for popping open the closure, for further improving the opening procedure and for reducing in particular the tear force for forcing an opening in the container.
- According to the invention is provided a tab attached by rivet means to a closure part to be removed for forming an opening in the closure, which opening is defined by a score line formed in the closure, and stiffening means extending along the rivet means towards the score line.
- The present invention is based on the insight that providing stiffening means near the area where the tab nose will interact with the score line, that the stiffening of this area will result after popping open the closure in the formation of an opening chord and arc along the score line over a larger length such, that the subsequent tear force required for tearing the closure at least partially part with the tab along the score line apart from the remainder of the closure thereby forming an opening, will be lowered to a surprisingly large extent. The stiffening means according to the invention are located along the rivet means and extend from the rivet means towards the score line in essentially a direction which is close to a radial direction. This has a result that at the same rotational force applied by the consumer when lifting the tab, after popping open the closure a larger initial opening is formed and therefore longer opening chord and opening arc.
- The stiffening means according to the invention may have any form which will provide an increase in stiffness in the area at the side and preferably ahead of the rivet towards the score line. Such stiffening means may comprise any type of stiffening elements, such as stiffening bars or stiffening grooves and other structural forms that will improve the stiffness although they will not interfere with the properties of the closure and of the container in relation to a reliable closure and a reliable easy opening of the closure.
- In a preferred embodiment a closure for a container according to the invention may comprise at least one furrow which extends along the score line. If this furrow extends along the score line which encloses the furrow, then it is preferred that the stiffening means are connected to this furrow. This will provide for an area with an increased stiffness which may change only gradually in stiffness, whereas the stiffening means and the furrow may be formed in the closure during the same forming operation. In a preferred embodiment the furrow is a circumferential furrow which partially or preferably substantially encloses the removable closure part of the closure.
- According to a preferred embodiment the closure is provided with two circumferential furrows each extending at a side along the score line. Such closure has a high strength. The scoring may be done at a relatively low scoring force and even may result in a use of a less thick closure material.
- It should be noted that the score line may be a closed score line so that the closure part may be removed entirely from the closure and becomes eventually separated from the closure. Such score line may be circular, ellipsoid, or any suitable form. On the other hand, the invention also relates to a score line which is not a closed score line, so that the closure part to be removed for forming the opening will remain attached to the closure in an area where the closure is not provided with the score line. Such score line may have to form of a crescent or other suitable form.
- According to another preferred embodiment the furrow may extend laterally of the rivet means and only along a part along the score line. Obviously, also in this case the stiffening means may be connected and formed together and integrally with this type of furrows.
- As stated above, the rivet means may comprise a separated rivet which is formed in the closure via a rivet opening formed in the closure, so that the rivet is extending through this rivet opening and attaches the tab to the closure. In a preferred embodiment the rivet means have the form of a rivet made from the material of the closure, so that the rivet means are integrally formed from the closure part. Such integral forming requires the provision of closure material for the rivet means by stretching additionally the closure adjacent the area where the rivet means are to be formed integrally from the closure material. Evidently, such integral rivet means has the advantage of providing a closure not having an opening for the rivet.
- As stated above, the stiffening means are intended to provide the area where the tab will act on the score line with a more stiff closure region. The stiffening means may have any form such as an elongated form being strait, curved, and wavy, or combinations thereof. Other forms such as a serpentine form, fish grate form and other well known form which will result in stiffening of a panel, may be considered as stiffening means to be used according to the present invention.
- It is preferred, that the stiffening means have the form of a groove which is a form similar to a furrow and which may be formed in the material during the formation of the closure. Such a groove may be open to the inner side of the container but preferably open to the tab side of the closure part, so that it will have a form similar to other structures formed in the closure for the same or other reasons. Such other forms may comprise a terrace structure, dimples form supporting the tab rear part, and evidently furrows and serpentine furrows for increasing the strength of the closure.
- As indicated above, the presence of the stiffening means is selected such that an opening chord formed upon opening the closure by the rotational force of the tab such opening chord is longer than an opening chord formed in the closure devoid of the stiffening means according to the invention. The chord will be larger and surprisingly thereby the force for tearing further open the closure is reduced.
- The tear force for opening the closure is generally measured and tested with a tear force opening test. In the testing apparatus the tab is connected to the pulling element and preloaded (pre-load about 1N). The closure is rotated over about 90° whereby the tab is brought into an upright position and the closure is popped open. The detected maximum force is the pop force. The tab is pulled against the rim of the closure and then the closure is rotated back to the tear position at about 4°. The tab is then pulled and the detected maximum force is the tear force. Tests with a closure for a container according to the invention have shown that the tear force for opening the closure is reduced by for instance 5-15N, when compared with a closure devoid of the stiffening means of the invention requiring an opening tear force of about 40-60N for a 73mm diameter round steel easy opening closure. Essentially is the invention based on the formation of a longer chord (or arc) resulting in a reduction of the opening tear force.
- According to a preferred embodiment the score line extends circumferentially along the outer edge of the closure thereby forming a maximal opening in the container and thereby a maximal access to the container content.
- Finally, the present invention also relates to a container provided with a closure according to the invention as has been describe as above.
- Mentioned and other features and characteristics of a closure and container according to the present invention will be further elucidated and discussed with reference to the following embodiments which are given for information purposes only without an intention to restrict the invention further. In relation to such a description reference will be made to the figures wherein:
-
Figure 1 shows a perspective view of a closure of the prior art; -
Figure 2 is a top view of the closure offigure 1 with the tab and the opening arc; -
Figure 3 is the top view offigure 2 without the tab; -
Figure 4 is a cross section along the line IV-IV offigure 3 ; -
Figure 5 is a top view of a closure of the invention with the longer opening arc of the invention in comparison to the indicated opening arc offigure 2 ; -
Figure 6 is a top view of the closure offigure 5 without the tab; -
Figure 7 is a perspective view of the underside of the closure offigure 5 of the invention; -
Figure 8 is a perspective view of the closure of the invention offigure 5 after opening and forming of the opening chord; and -
Figures 9-16 are top views according tofigure 6 of alternative embodiments of the closure of the invention. -
Figure 1 shows aclosure 1 of the prior art. Theclosure 1 comprises a (partially)removable closure part 2 to which is attached atab 3 via arivet 4. Theclosure part 2 has aterrace structure 5 defined byterrace steps 6 and a surrounding substantiallycircular step 7. Theclosure part 2 is surrounded by acircular score line 8. Along thescore line 8 are extending an outercircular furrow 9 connected to acurl 10 for connection to a container body (not shown), and an inner circular furrow 11 (seefigures 2, 3 and 4 ). Thestep 7 comprises acurved part 12 thereby providing space for therivet 4 which is integrally formed from material of theclosure part 2. Furthermore, arepresent dimples 15 supporting thetab 3. -
Figure 2 shows theopening chord 16 formed on thefolding line 17 when thetab 3 is lifted and the score line broken over thescore line arc 18 bounded by the interceptions of thescore line 8 with thefolding line 17. The tear force for opening theclosure 1 when mounted on a container body with a diameter of 73mm is about 45N. -
Figures 5-8 show aclosure 19 according to the invention. The same structural elements for thisclosure 19 which are also present and discussed in relation to theclosure 1 are identified with the same reference numbers.Closure 19 comprises aclosure part 2 to which is attached thetab 3 via therivet 4. Theclosure part 2 has aterrace structure 5 defined by the 6 and 7. Thesteps terrace structure 5 is surrounded by thestep 7. Theclosure part 2 is delineated by thecircumferential score line 8. The 9 and 11 extend at each side of the score line around thefurrows score line 8. Also present are arced 13 and 14 extending on a hypothetical circle extension of thefurrows furrow 7 and laterally of therivet 4. - The
closure 19 according to the invention differs from theclosure 1, in that stiffening means 20 extend along therivet 4 towards thescore line 8 thereby stiffening thearea 21 laterally of therivet 4, and in between therivet 4 and thescore line 8. The stiffening means 20 have the form of stiffeninggrooves 22 extending sidewise of therivet 4 towards thescore line 8 and contact the arc furrows 13 and 14. The effect of the presence of the stiffening means 20 and the form of the stiffeninggrooves 22 is, that thefolding line 23 along which issection 25 of theclosure part 2 is folded inwardly after popping and scoring thescore line 8 thereby forming anopening 24, is now transferred more towards the center of theclosure 19 such that theopening chord 26 defined in between the intersection of thefolding line 23 with thescore line 8 is larger than the openingchord 16 as discussed in relation tofigure 2 . - For comparative reasons, is the
folding line 17 of theclosure 1 as discussed in relation tofigure 2 also indicated infigure 5 of theclosure 19 according to the invention. It is evident, that due to the presence of the stiffening means 20 in theclosure 19 according to the invention, that thefolding line 23 is transferred more to the center of theclosure 19. Accordingly, the openingchord 26 as defined in between the intersections of thefolding line 23 with thescore line 8 is longer than the openingchord 16 as defined between the intersections of thefolding line 17 with thescore line 8. With the result that the tear force for opening theclosure 19 when mounted on a container body with the diameter of 73mm is about 36N at about 60µm residual. - Hereafter are discussed various embodiments of the invention showing still other different types of stiffening means 20 according to the invention.
- As discussed in relation to the
figures 5-8 , and further shown in detail infigure 9 , theclosure 19 according to the invention comprises stiffeninggrooves 22 extending laterally of therivet 4 and/or in front of the rivet towards thescore line 8, thereby stiffening the area laterally and/or in front of therivet 4 towards thescore line 8. This area is also bounded by thecurved step part 12 of thestep 7.Figure 9 clearly shows that the stiffeninggrooves 22 are connected with the arc furrows 13 and 14. - The
closure 27 according to the invention as shown infigure 10 , comprises thesame stiffening grooves 22 according to the invention, but for still further improving the stiffening of thearea 21, the arc furrows 13 and 14 have an increased length in comparison to the same arc furrows 13 and 14 as illustrated infigure 9 . - The
closure 28 according to the invention as illustrated infigure 11 comprises stiffening means 20 which have the form of acurved stiffening groove 34 extending laterally and in front of therivet 4 and contacts the arc furrows 13 and 14. - The
closure 29 according to the invention as illustrated infigure 12 comprises stiffening means 20 according to the invention, having the form of stiffeninggrooves 35 which extend laterally of therivet 4 and in front of therivet 4 but are still laterally in contact with thefurrow 11 while passing in between the 13 and 14. The skilled person will appreciate, that in an alternative to the embodiment of thearc furrow closure 29 as shown infigure 12 , that the stiffeninggrooves 25 may also contact the arc furrows 13 and 14. Although the stiffeninggrooves 35 are indicated as converging to one another in the direction of thescore line 8, it will be appreciated by the skilled person that these stiffeninggrooves 35 may also run in parallel or have a curved or serpentine form. - The
closure 30 according to the invention as illustrated infigure 13 comprises stiffening means 20 in the form of stiffeninggrooves 36 that are connected to thefurrow 11, and also arced stiffeninggroove 37 both partially encircling therivet 4. In the embodiment of theclosure 30 according to the invention it was considered not necessary, although it may be preferred, that the arc furrows 13 and 14 are not present. The skilled person will appreciate that the arced stiffeninggrooves 37 may also form a single stiffening groove partially or entirely encircling therivet 4. - The
closure 31 of the invention as illustrated infigure 14 , shows stiffening means 20 according to the invention which are partially identical to the stiffening means as discussed hereinbefore. Theclosure 31 comprises arced stiffeninggrooves 37 and elongated stiffeninggrooves 38 which are located laterally of therivet 4. The arced stiffeninggrooves 37 extend towards thescore line 8, but do not connect with thefurrow 11. Also for this embodiment of theclosure 31 according to the invention, are the arced furrows 13 and 14 not present but could be implemented if so desired in relation to the reduction of the tear force for opening theclosure 31. - The
closure 32 according to the invention as illustrated infigure 15 also comprises stiffening means 20 according to the invention having the form of the arced stiffeninggrooves 37 partially encircling therivet 4. Again it is noted that the stiffeninggrooves 37 may form one common stiffening groove which partially or entirely encircles therivet 4. - Finally, shows
figure 16 anotherclosure 33 according to the invention which comprises stiffening means 20 according to the invention having the form of stiffeninggrooves 38 which extend along therivet 4 towards thescore line 8 and are parallel to one another. - After having discussed the various embodiments of the stiffening means 20 according to the invention for an easy opening closure, it will be appreciated to the skilled person that the score line may extend along the circumference of the closure thereby dividing after tearing out the
score part 2 the largest opening in the container. However, the score line may also occupy only a part of the closure thereby forming a smaller opening, when the score line is not a closed line only forming an opening as for instance illustrated by theopening 24 as shown infigure 8 . Evidently, such closure of the invention may also be present in other types of closures than easy opening closures. - The stiffening means may have the form of stiffening grooves contacting
13 and 14, and/or contact thestiffening furrow furrow 11 extending inwardly of thescore line 8 in order to have the desired reduction in tear force for opening the container provided with such a closure of the invention. These furrows 13, 14 and 14 may extend at least partly inwardly (have a concave cross sectional shape) and/or extend at least partly outwardly (have a convex cross sectional shape). Also other types of stiffening structures may be used. Whether or not the various different types of stiffening means may be present, is dependent on the thickness of the closure, of the material of which the closure is made, such as steel, tin plate, aluminum, metal plastic laminates, and the like. Also the diameter of the closure may be taken into consideration, such as diameters varying from 24 to 240mm, such as 40 to 180mm, such as 73mm. Obviously, the presence ofstep 7 and aterrace structure 5, the presence of dimples and other structures may be taken into consideration by the skilled person when deciding what type of stiffening means 20 according to the invention are to be used in order to reduce the tear force for opening the container while not or substantially not interfering with other structural elements present in the closure.
Claims (13)
- Closure for a container, comprising, a tab attached by rivet means to a closure part to be removed for forming an opening in the closure, which opening is defined by a score line formed in the closure, and stiffening means extending along the rivet means towards the score line.
- Closure as claimed in claim 1, wherein the stiffening means comprise stiffening bars, stiffening grooves, and the like.
- Closure as claimed in claim 1 or 2, wherein at least one furrow extends along the score line and the stiffening means are connected to the furrow.
- Closure as claimed in claim 3, wherein the furrow is a circumferential furrow.
- Closure as claimed in claim 3 or 4, wherein two circumferential furrows each extends at a side of the score line.
- Closure as claimed in claim 3-5, wherein the furrow extends laterally of the rivet means along the score line.
- Closure as claimed in any of the claims 1-6, wherein the rivet means are integrally formed from the closure part.
- Closure as claimed in any of the claims 1-7, wherein the stiffening means are straight, curved or combinations thereof.
- Closure as claimed in any of the claims 1-8, wherein the stiffening means have the form of a groove open to the tab side of the closure part.
- Closure as claimed in any of the claims 1-9, wherein an opening chord formed upon opening the closure along the score line is longer than an opening chord formed in a closure devoid of the stiffening means.
- Closures as claimed in any of the claims 1-10, having a reduced opening tear force, such as reduced by 5-15N.
- Closure as claimed in any of the claims 1-11, wherein the score line extends circumferentially along the outer edge of the closure.
- Container provided with a closure according to any of the claims 1-12.
Priority Applications (2)
| Application Number | Priority Date | Filing Date | Title |
|---|---|---|---|
| EP12175592.0A EP2684808A1 (en) | 2012-07-09 | 2012-07-09 | Closure for a container and a container provided therewith |
| PCT/EP2013/063854 WO2014009195A1 (en) | 2012-07-09 | 2013-07-01 | Closure for a container and a container provided therewith |
Applications Claiming Priority (1)
| Application Number | Priority Date | Filing Date | Title |
|---|---|---|---|
| EP12175592.0A EP2684808A1 (en) | 2012-07-09 | 2012-07-09 | Closure for a container and a container provided therewith |
Publications (1)
| Publication Number | Publication Date |
|---|---|
| EP2684808A1 true EP2684808A1 (en) | 2014-01-15 |
Family
ID=48746496
Family Applications (1)
| Application Number | Title | Priority Date | Filing Date |
|---|---|---|---|
| EP12175592.0A Withdrawn EP2684808A1 (en) | 2012-07-09 | 2012-07-09 | Closure for a container and a container provided therewith |
Country Status (2)
| Country | Link |
|---|---|
| EP (1) | EP2684808A1 (en) |
| WO (1) | WO2014009195A1 (en) |
Cited By (4)
| Publication number | Priority date | Publication date | Assignee | Title |
|---|---|---|---|---|
| EP3028952A1 (en) * | 2014-12-01 | 2016-06-08 | Ardagh MP Group Netherlands B.V. | Closure for a container and a container provided therewith |
| WO2018203027A1 (en) * | 2017-05-02 | 2018-11-08 | Crown Packaging Technology, Inc. | Easy open closure |
| USD840816S1 (en) | 2017-07-13 | 2019-02-19 | Ardagh Mp Group Netherlands B.V. | Lid |
| USD889978S1 (en) | 2018-06-14 | 2020-07-14 | Ardagh Mp Group Netherlands B.V. | Can panel |
Citations (6)
| Publication number | Priority date | Publication date | Assignee | Title |
|---|---|---|---|---|
| US3674171A (en) * | 1969-12-08 | 1972-07-04 | Schmalbach Lubeca | Fully opening cover of sheet metal for cans |
| US3735892A (en) * | 1970-10-26 | 1973-05-29 | American Can Co | Full open end having chordal start tear score sections |
| US3843012A (en) * | 1972-09-01 | 1974-10-22 | Ermal Co | Easy open can end/and hinged opening tab |
| US3858753A (en) * | 1972-04-06 | 1975-01-07 | Stolle Corp | Easy-open can end |
| US3891117A (en) * | 1974-05-24 | 1975-06-24 | Dorn Co V | Easy-opening can end construction |
| FR2645121A1 (en) * | 1989-03-24 | 1990-10-05 | Zuechner Blechwaren | LID TO PULL OUT IN PARTICULAR FOR METAL BOX |
-
2012
- 2012-07-09 EP EP12175592.0A patent/EP2684808A1/en not_active Withdrawn
-
2013
- 2013-07-01 WO PCT/EP2013/063854 patent/WO2014009195A1/en not_active Ceased
Patent Citations (6)
| Publication number | Priority date | Publication date | Assignee | Title |
|---|---|---|---|---|
| US3674171A (en) * | 1969-12-08 | 1972-07-04 | Schmalbach Lubeca | Fully opening cover of sheet metal for cans |
| US3735892A (en) * | 1970-10-26 | 1973-05-29 | American Can Co | Full open end having chordal start tear score sections |
| US3858753A (en) * | 1972-04-06 | 1975-01-07 | Stolle Corp | Easy-open can end |
| US3843012A (en) * | 1972-09-01 | 1974-10-22 | Ermal Co | Easy open can end/and hinged opening tab |
| US3891117A (en) * | 1974-05-24 | 1975-06-24 | Dorn Co V | Easy-opening can end construction |
| FR2645121A1 (en) * | 1989-03-24 | 1990-10-05 | Zuechner Blechwaren | LID TO PULL OUT IN PARTICULAR FOR METAL BOX |
Cited By (12)
| Publication number | Priority date | Publication date | Assignee | Title |
|---|---|---|---|---|
| EP3028952A1 (en) * | 2014-12-01 | 2016-06-08 | Ardagh MP Group Netherlands B.V. | Closure for a container and a container provided therewith |
| WO2016087268A1 (en) * | 2014-12-01 | 2016-06-09 | Ardagh Mp Group Netherlands B.V. | Closure for a container and a container provided therewith |
| KR20170091674A (en) * | 2014-12-01 | 2017-08-09 | 아르다 엠피 그룹 네덜란드 비.브이. | Closure for a container and a container provided therewith |
| CN107207120A (en) * | 2014-12-01 | 2017-09-26 | 阿德Mp集团荷兰有限责任公司 | For container closure member and be provided with the container of the closure member |
| JP2017536307A (en) * | 2014-12-01 | 2017-12-07 | アルダー・エムペー・グループ・ネザーランド・ベーフェー | Lid for container and container provided with the same |
| US10618685B2 (en) | 2014-12-01 | 2020-04-14 | Ardagh Mp Group Netherlands B.V. | Closure for a container and a container provided therewith |
| EA035670B1 (en) * | 2014-12-01 | 2020-07-23 | Ардаг Мп Груп Недерландс Б.В. | Closure for a container and a container provided therewith |
| WO2018203027A1 (en) * | 2017-05-02 | 2018-11-08 | Crown Packaging Technology, Inc. | Easy open closure |
| CN110582448A (en) * | 2017-05-02 | 2019-12-17 | 皇冠包装技术公司 | Easy Open Closure |
| CN110582448B (en) * | 2017-05-02 | 2021-04-06 | 皇冠包装技术公司 | Easy Open Closure |
| USD840816S1 (en) | 2017-07-13 | 2019-02-19 | Ardagh Mp Group Netherlands B.V. | Lid |
| USD889978S1 (en) | 2018-06-14 | 2020-07-14 | Ardagh Mp Group Netherlands B.V. | Can panel |
Also Published As
| Publication number | Publication date |
|---|---|
| WO2014009195A1 (en) | 2014-01-16 |
Similar Documents
| Publication | Publication Date | Title |
|---|---|---|
| JP4883995B2 (en) | Can lid with score line | |
| JP5921532B2 (en) | Degassing with can end flap score | |
| CA1178906A (en) | Full opening steel can end construction | |
| JP6127055B2 (en) | Breakable crown | |
| CN101778774B (en) | Can end and method of making same | |
| EP2684808A1 (en) | Closure for a container and a container provided therewith | |
| US8646643B2 (en) | Reliable opening beverage can end | |
| EP2197755B1 (en) | Tab and can end employing the same | |
| JP2013522132A (en) | Easy-to-open container closures and containers provided with such closures | |
| WO2008034801A1 (en) | Easy open can end with high pressure venting | |
| US7922025B2 (en) | Easy open can end with high pressure venting | |
| USRE30349E (en) | Easy-opening container wall with coreline vent | |
| US10618685B2 (en) | Closure for a container and a container provided therewith | |
| EP2671813A1 (en) | Easy open closure with improved pressure performance | |
| KR101747986B1 (en) | A panel for a container, a container provided with such container and a method for making same | |
| US20080066290A1 (en) | Tooling for making easy open can end | |
| US20100028104A1 (en) | Method of making an easy open can end with high pressure venting | |
| US20080069667A1 (en) | Tool for making easy open can end with high pressure venting | |
| JP5695663B2 (en) | Integrated metal lid with a parallelogram-shaped predetermined break line |
Legal Events
| Date | Code | Title | Description |
|---|---|---|---|
| PUAI | Public reference made under article 153(3) epc to a published international application that has entered the european phase |
Free format text: ORIGINAL CODE: 0009012 |
|
| AK | Designated contracting states |
Kind code of ref document: A1 Designated state(s): AL AT BE BG CH CY CZ DE DK EE ES FI FR GB GR HR HU IE IS IT LI LT LU LV MC MK MT NL NO PL PT RO RS SE SI SK SM TR |
|
| AX | Request for extension of the european patent |
Extension state: BA ME |
|
| 17P | Request for examination filed |
Effective date: 20140711 |
|
| RBV | Designated contracting states (corrected) |
Designated state(s): AL AT BE BG CH CY CZ DE DK EE ES FI FR GB GR HR HU IE IS IT LI LT LU LV MC MK MT NL NO PL PT RO RS SE SI SK SM TR |
|
| GRAP | Despatch of communication of intention to grant a patent |
Free format text: ORIGINAL CODE: EPIDOSNIGR1 |
|
| INTG | Intention to grant announced |
Effective date: 20150212 |
|
| STAA | Information on the status of an ep patent application or granted ep patent |
Free format text: STATUS: THE APPLICATION IS DEEMED TO BE WITHDRAWN |
|
| 18D | Application deemed to be withdrawn |
Effective date: 20150623 |
