EP2615025A1 - Polymer-pellet transport ship, polymer-pellet transport barge, and method for loading and unloading same - Google Patents

Polymer-pellet transport ship, polymer-pellet transport barge, and method for loading and unloading same Download PDF

Info

Publication number
EP2615025A1
EP2615025A1 EP11823604.1A EP11823604A EP2615025A1 EP 2615025 A1 EP2615025 A1 EP 2615025A1 EP 11823604 A EP11823604 A EP 11823604A EP 2615025 A1 EP2615025 A1 EP 2615025A1
Authority
EP
European Patent Office
Prior art keywords
unloading
cargo
polymer
lot
holds
Prior art date
Legal status (The legal status is an assumption and is not a legal conclusion. Google has not performed a legal analysis and makes no representation as to the accuracy of the status listed.)
Withdrawn
Application number
EP11823604.1A
Other languages
German (de)
French (fr)
Inventor
Hiroaki Yokota
Hirofumi Suzuki
Yoshihiro Tokunaga
Kotaro Takano
Koji Mochizuki
Masahiro Takemura
Yoshikazu Kawagoe
Jin Yamasaki
Kohei Miwa
Current Assignee (The listed assignees may be inaccurate. Google has not performed a legal analysis and makes no representation or warranty as to the accuracy of the list.)
Mitsui OSK Lines Ltd
Original Assignee
Mitsui Engineering and Shipbuilding Co Ltd
Mitsui OSK Lines Ltd
Priority date (The priority date is an assumption and is not a legal conclusion. Google has not performed a legal analysis and makes no representation as to the accuracy of the date listed.)
Filing date
Publication date
Application filed by Mitsui Engineering and Shipbuilding Co Ltd, Mitsui OSK Lines Ltd filed Critical Mitsui Engineering and Shipbuilding Co Ltd
Publication of EP2615025A1 publication Critical patent/EP2615025A1/en
Withdrawn legal-status Critical Current

Links

Images

Classifications

    • BPERFORMING OPERATIONS; TRANSPORTING
    • B63SHIPS OR OTHER WATERBORNE VESSELS; RELATED EQUIPMENT
    • B63BSHIPS OR OTHER WATERBORNE VESSELS; EQUIPMENT FOR SHIPPING 
    • B63B25/00Load-accommodating arrangements, e.g. stowing, trimming; Vessels characterised thereby
    • B63B25/02Load-accommodating arrangements, e.g. stowing, trimming; Vessels characterised thereby for bulk goods
    • B63B25/04Load-accommodating arrangements, e.g. stowing, trimming; Vessels characterised thereby for bulk goods solid
    • BPERFORMING OPERATIONS; TRANSPORTING
    • B63SHIPS OR OTHER WATERBORNE VESSELS; RELATED EQUIPMENT
    • B63BSHIPS OR OTHER WATERBORNE VESSELS; EQUIPMENT FOR SHIPPING 
    • B63B27/00Arrangement of ship-based loading or unloading equipment for cargo or passengers
    • B63B27/24Arrangement of ship-based loading or unloading equipment for cargo or passengers of pipe-lines
    • BPERFORMING OPERATIONS; TRANSPORTING
    • B63SHIPS OR OTHER WATERBORNE VESSELS; RELATED EQUIPMENT
    • B63BSHIPS OR OTHER WATERBORNE VESSELS; EQUIPMENT FOR SHIPPING 
    • B63B35/00Vessels or similar floating structures specially adapted for specific purposes and not otherwise provided for
    • B63B35/28Barges or lighters

Definitions

  • the present invention relates to a polymer-pellet transport ship, a polymer-pellet transport barge and a method for loading and unloading same that allow the transportation of particulates such as polymer pellets in bulk unlike the conventional art in which the particulates are transported in bags so as not to be damaged and contaminated, and that also allow efficient transportation of large amounts of polymer pellets of many different kinds at the same time.
  • the polymer pellets are formed of low-density polyethylene (whose specific gravity is about 0.92) manufactured under high pressure, high-density polyethylene (whose specific gravity is about 0.95) manufactured under low pressure, polypropylene (whose specific gravity is about 0.9) having transparency and crystallinity (95%), and the like, which are called polymers, in pellet shape having a size of about 3 mm in diameter x 3 mm in length to 6 mm in diameter x 6 mm in length. These polymer pellets have the following physical properties: a specific gravity of about 0.9 to 1.0, a relatively small bulk specific gravity of about 0.5, and a repose angle of about 30 degrees.
  • the polymers are manufactured as follows. In the oil refining industry, crude oil is distilled to be separated into petroleum gas, gasoline, naphtha (crude gasoline), kerosene, light oil, heavy oil, and asphalt, in accordance with differences of boiling points. Among these, naphtha is thermally cracked using a naphtha cracker to be changed into substances having simple structures, and each of the substances such as ethylene, propylene and butylene is extracted. These ethylene, propylene, and the like are chemically reacted by polymerization reaction, in which molecules in the same substance are bonded each other, to manufacture polymers such as polyethylene or polypropylene having different properties.
  • the polymer in powder state may form explosive gas mixture, leading to a dangerous condition.
  • the polymer in pellet form has no dangerousness in handling at ordinary temperature.
  • the polymer in pellet is physiologically inactive, and has no specific toxicity for human body.
  • the polymer in pellet has no reactivity with water, self-reactivity and explosibility, and is stable at ordinary temperature.
  • workers may tumble by losing their footing. Therefore, spill prevention and recovery at the time of spill are important. Particularly, when the pellets are spilled into water region at the time of transport, animals may swallow the pellets and become choked. Therefore, caution is required.
  • the molding of the polymer with water attached to the surface causes defect in surfaces, defect in appearance, and deterioration in mechanical properties (strength), of the products.
  • damages in surfaces of pellets are not desired because cracked fine polymers that are generated by the damage of the pellets become contamination. For this reason, it is desired that abrasion of pellets on an inner surface of a pipe or a cargo hold be avoided in order to prevent generation of defects in surfaces of the pellets.
  • a common structure of a cargo hold of these ships is as follows.
  • the periphery of the cargo hold is surrounded by an inner double bottom plate, side shells, an upper deck, and a bulkhead.
  • a hopper side tank is provided below the ship sides, and top side tanks are provided above the ship sides.
  • a hatch opening at the upper deck is formed and covered with a hatch cover (see cited Patent Document 1, for example).
  • the bulk dry cargo (bulk) cut at the lower end of the cargo hold is conveyed to a bow side or a stern side by use of an endless cutting conveyor extending in the longitudinal direction of the ship.
  • the cut bulk dry cargo is passed over to another conveyor to be conveyed to a conveyor of an on-shore cargo-handling facility.
  • the present invention has been made in view of the above circumstances, and an object thereof is to provide a polymer-pellet transport ship, a polymer-pellet transport barge, and a method for loading and unloading same that allow the mass transportation of polymer pellets of various kinds by conveying the polymer pellets in bulk instead conveying them in bags, and that also allow efficient transportation of large amounts of polymer pellets of many different kinds at the same time.
  • a polymer-pellet transport ship of the present invention for achieving the above object is a polymer-pellet transport ship which carries polymer pellets of multiple kinds without mixing the polymer pellets of the multiple kinds. Multiple cargo holds for holding polymer pellets are combined together to form a set of holds for lot.
  • Hold unloading lines each including a hold unloading on-off valve are provided and connected to lower parts of the cargo holds, and the hold unloading lines are connected to a lot unloading line in an united manner for each set of holds for lot so that first cargo unloading and second cargo unloading may be performed selectively using the lot unloading line, the lot unloading line being connected to an on-shore unloading line, the first cargo unloading being performed to simultaneously unload polymer pellets of a same kind for each set of holds for lot, the second cargo unloading being performed to sequentially unload polymer pellets of different kinds for each cargo hold.
  • the first cargo unloading is performed when the kinds of the polymer pellets held in the cargo holds are the same for each set of holds for lot.
  • the polymer pellets in all the cargo holds in the same set of holds for lot are unloaded at the same time, whereby the polymer pellets of the same kind can be efficiently held into on-shore cargo silos.
  • the second cargo unloading is performed when the kinds of the polymer pellets held in the cargo holds are different from each other.
  • cargo unloading is performed for each cargo hold sequentially, whereby the polymer pellets of different kinds held in the respective cargo holds can be held individually into respective on-shore cargo silos, without being mixed with each other.
  • cargo unloading for multiple cargo holds can be performed selectively and sequentially, or simultaneously. Accordingly, the number of unloading lines connecting the shore and the ship can be reduced as compared to a case where cargo handling is performed with unloading pipes being provided to individual cargo holds, respectively, and on-shore unloading lines being connected to the individual unloading pipes, respectively.
  • the man hour required for the cargo-handling work can be reduced.
  • cargo unloading is performed for each set of holds for lot, which has a holding capacity corresponding to the capacity of one lot used on the landward side in the quality management.
  • cargo unloading is performed for each cargo hold, which has a holding capacity corresponding to the capacity of one silo used on the landward side in the quality management.
  • the hold unloading lines below the cargo holds are each provided with a fixed-quantity discharge valve below the hold unloading on-off valve and also provided with an on-off valve below the fixed-quantity discharge valve.
  • air for conveyance is supplied to the lot unloading line from on-shore equipment, and the air for conveyance is used to unload the polymer pellets held in the cargo holds.
  • the polymer pellets in the cargo holds can be unloaded by pneumatic transportation using the air for conveyance supplied from the landward side. Accordingly, on the polymer-pellet transport ship, compressed air generators for cargo unloading do not need to be provided as many as the cargo-handling lines. Thus, the number of equipment on the ship can be reduced.
  • compressed air generators requiring, as a whole, a large capacity are placed on the landward side. Accordingly, the installation work and maintenance can be performed easily. Further, the availabilities of the on-shore compressors are raised, and therefore the compressed air generators can be used efficiently. Furthermore, since the compressed air generators are placed on the landward side, they can be used also for transferring polymer pellets between on-shore silos and for transferring polymer pellets carried from a production plant into on-shore silos.
  • an on-shore controller performs control on cargo unloading equipment inside the polymer-pellet transport ship.
  • the controller for the unloading lines on the ship is provided on the landward side. Accordingly, the number of controllers for the unloading lines in the whole system can be reduced.
  • Any one of the described-above polymer-pellet transport ships includes a compressed air generator capable of generating a larger amount of air than an amount of air required to unload the polymer pellets held in any one of the cargo holds.
  • the compressed air generator to be loaded is for emergency and thus has a relatively small capacity, meaning that there is not provided a compressed air generator having such a high performance as to simultaneously actuate all the unloading lines. Accordingly, the equipment on the ship can be made significantly smaller than a case where there is provided a compressed air generator to simultaneously actuate all the unloading lines.
  • a polymer-pellet transport barge for achieving the above object is obtained by forming any one of the described-above polymer-pellet transport ships into a barge having no propulsion system.
  • the polymer-pellet transport barge of this configuration can bring about similar advantageous effects to those achievable by the any one of the above-described polymer-pellet transport ships.
  • a method for loading and unloading, for achieving the above object, for any one of a polymer-pellet transport ship and a polymer-pellet transport barge is a method for loading and unloading for any one of a polymer-pellet transport ship and a polymer-pellet transport barge in which multiple cargo holds for holding polymer pellets are combined together to form a set of holds for lot and which carries polymer pellets of multiple kinds without mixing the polymer pellets of the multiple kinds.
  • the method for loading and unloading includes selectively performing first cargo unloading and second cargo unloading by using a lot unloading line connected to an on-shore unloading line, the first cargo unloading being performed to simultaneously unload polymer pellets of a same kind for each set of holds for lot, the second cargo unloading being performed to sequentially unload polymer pellets of different kinds for each cargo hold.
  • the first cargo unloading is performed when the kinds of the polymer pellets held in the cargo holds are the same for each set of holds for lot
  • the second cargo unloading is performed when the kinds of the polymer pellets held in the cargo holds are different from each other.
  • the polymer pellets of the same kind held in the cargo holds in the same set of holds for lot are unloaded all at the same time, whereby the polymer pellets of the same kind can be efficiently held into on-shore cargo silos.
  • the method for loading and unloading for any one of the polymer-pellet transport ship and the polymer-pellet transport barge includes: supplying air for conveyance to the lot unloading line from on-shore equipment; and using the air for conveyance to unload the polymer pellets held in the cargo holds. Accordingly, on the polymer-pellet transport ship, compressed air generators for cargo unloading do not need to be provided as many as the cargo-handling lines. Thus, the number of equipment on the ship can be reduced. In addition, in the whole system including the ship side and the landward side, compressed air generators requiring a large capacity are placed on the landward side. Accordingly, the installation work and maintenance can be performed easily. Further, the availabilities of the on-shore compressed air generators are raised, and thus the compressed air generators can be used efficiently.
  • the compressed air generators are placed on the landward side, they can be used also for transferring polymer pellets between on-shore silos and for transferring polymer pellets carried from a production plant into on-shore silos.
  • Any one of the above-described methods for loading and unloading for any one of the polymer-pellet transport ship and the polymer-pellet transport barge includes performing cargo unloading and cargo loading by causing an on-shore controller to perform control on cargo-handling equipment inside the any one of the polymer-pellet transport ship and the polymer-pellet transport barge. Accordingly, the correspondence between cargo silos on the landward side and the cargo holds or sets of holds for lot on the ship can be managed collectively and uniformly on the landward side. This allows significant improvements in increasing the quality management of the polymer pellets, securing the traceability, and avoiding cargo-handling operation mistakes. Moreover, the controller for the unloading lines on the ship is provided on the landward side. Accordingly, the number of controllers for the unloading lines in the whole system can be reduced.
  • particulates such as polymer pellets can be transported in bulk without damaging the particulates unlike the conventional art in which the particulates are transported in bags so as not to be damaged and contaminated.
  • large amounts of polymer pellets of many different kinds can be transported efficiently at the same time without mixing the polymer pellets of the many different kinds.
  • a polymer-pellet transport ship 1 of an embodiment according to the present invention includes cargo holds 10 (hatched areas) for holding polymer pellets.
  • Each cargo hold 10 is formed into a tubular body whose horizontal cross-sectional shape is circular, elliptical, polygonal, or the like, and is preferably circular.
  • the cargo hold 10 is provided with a hopper part 10a formed in a hopper shape at a lower part thereof.
  • the cargo hold 10 is preferably manufactured using an aluminum alloy or stainless steel.
  • the cargo hold 10 By forming the cargo hold 10 into the tubular body with an aluminum alloy or stainless steel, it is possible to substantially eliminate a reinforcement to reinforce the wall surface of the cargo hold 10. Thus, the clearance between adjacent cargo holds 10 can be made small. This as a result increases the number of cargo holds 10 to be placed in a cargo area in the ship body of the polymer-pellet transport ship 1. Moreover, use of an aluminum alloy or stainless steel as the material of the cargo hold 10 allows a weight reduction as well as the prevention of dissimilar material inclusion attributable to rust.
  • the cargo holds 10 to be placed on the polymer-pellet transport ship 1 are formed in the same size and shape, and placed efficiently in conformity with the body shape of the polymer-pellet transport ship 1 without changing the shapes and capacities of the cargo holds 10. This allows the mass production of only one type of product for the cargo holds 10 and thereby facilitates the building work. Accordingly, the manufacturing cost can be lowered.
  • each cargo hold 10 is provided with a support structure at its lower part so as to be fixed to and placed on the ship body.
  • a frame structure to fix the cargo hold 10 to the ship body is eliminated. This in turn eliminates spaces in the ship body, which would otherwise be wasted. The spaces in the ship body can therefore be used effectively.
  • another support structure may also be provided to an upper part of the cargo hold 10 and fixed to the ship body as needed.
  • a plurality (three in Figs. 1 to 3 ) of such cargo hold 10 are combined together to form a set of holds for lot 11. Since the set of holds for lot 11 is formed of multiple cargo hold 10 as above, the capacity of the set of holds for lot 11 may be associated with the quantity of a lot which is the unit of management in an on-shore cargo-handling system. Cargos can therefore be handled while keeping this management unit. Accordingly, it is possible to keep the traceability on a lot basis.
  • the cargo unit 12 obtained by the uniting is placed in the ship body.
  • multiple (two units in Figs. 1 to 3 ) cargo units 12 are placed side by side in the direction of the beam.
  • one cargo unit 12 is formed of a single or multiple sets of holds for lot 11 as described above, at the time of building, a cargo unit 12 constituted of multiple (six in Figs. 1 to 3 ) cargo holds 10 may be manufactured on the landward side, and the cargo holds 10 can be loaded in the ship body for each cargo unit 12. In this way, the man hour can be reduced and the number of days required for building can be shortened, as compared to a case where the cargo holds 10 are loaded in the ship body individually.
  • the cargo units 12 are loaded as follows. Starting from the stem, there are loaded one cargo unit 12 oriented longitudinally, one cargo unit 12 oriented crosswise, and five pairs of longitudinally-oriented cargo units 12 placed side by side crosswise, the five pairs being arranged one after another. 12 cargo units 12 in total, i.e., 24 sets of holds for lot 11 and therefore 72 cargo holds 10 are loaded.
  • the cargo holds 10 each formed into the tubular body with the hopper part 10a provided at its lower part are combined together to form the sets of holds for lot 11 and cargo units 12, and are placed efficiently in the ship body.
  • This allows the placement of many cargo holds 10 having a diameter which is relatively small as compared to the beam of the ship.
  • the height of each hopper part 10a can be made smaller than cases where cargo holds with relatively large capacities are provided in bulk cargo ships in the conventional art. Consequently, the space outside the hopper part 10a can be made smaller, allowing effective use of the spaces in the ship body.
  • polymer pellets can be loaded to a low position, it is possible to set low the center of gravity of each loaded cargo as well as the center of gravity of the ship body during a voyage in a cargo-loaded state.
  • the width of the cargo hold 10 is significantly smaller than that in bulk cargo ships in the conventional art. Therefore, polymer pellets move crosswise to a lesser extent during a voyage, thereby increasing the stability of the ship body against roll.
  • the cargo area of the ship body in a double hull, enclosed structure as shown in Fig. 3 by providing a double bottom at the bottom side, ballast tanks 3 and the like to ship side parts, and covers 5 to an upper part.
  • This configuration prevents polymer pellets from leaking to the ocean even in a case where the ship body is damaged due to stranding, collision, or the like. Also, the enclosed structure prevents an increase in the temperatures of the cargo holds 10 and the polymer pellets therein, which would otherwise occur due direct sunlight.
  • ballast tanks 3 are provided to the ship side parts of the ship body, the amounts of ballast water in the ballast tanks 3 in the ship side parts may be adjusted in a case where there are empty cargo holds 10 that may cause the ship's attitude (heel, trim) to lose the balance, where polymer pellets of some kinds differing from each other in specific gravity but the same in volume are loaded respectively at the portside and the starboard side, where the amounts of polymer pellets in the cargo holds 10 vary during cargo handling, and the like case.
  • the ship's unbalanced attitude (heel, trim) can be corrected readily.
  • the covers 5 are so provided as to surround the cargo holds 10, the whole cargo-handling lines, work spaces, and passages to upper parts of the cargo holds 10.
  • the cargo holds 10 it is possible to prevent the cargo holds 10 from being damaged by seawater hitting the cargo holds 10, and the like. It is also possible to suppress the corrosion of the inner and outer surfaces of the cargo holds 10, the outer surfaces of pipes of the cargo-handling lines, and the like caused by seawater.
  • the covers 5 also make it easier to manage the temperatures and humidities inside the cargo holds 10 during waterborne transportation.
  • the covers 5 are so designed that supports of pipes and the like required above the cargo holds 10 are provided to the covers 5. These pipes can therefore be outfitted in advance, bringing about an advantage at the time of building that the building period can be shortened.
  • the cargo-handling lines in the polymer-pellet transport ship 1 are formed of loading lines and unloading lines. As shown in Figs. 4 and 5 , hold loading lines 21 are connected to upper parts of the cargo holds 10, respectively. These hold loading lines 21 are connected in a united manner to a lot loading line 22 via hold selection valves 21a (flow passage switch valves).
  • this lot loading line 22 is extended to a loading connecting part 22b through an on-off valve 22a so as to be joined individually to an on-shore loading line 100.
  • This loading connecting part 22b is provided only at the starboard side.
  • the on-shore loading line 100 is connected to the loading connecting part 22b.
  • three cargo holds 10, i.e., one set of holds for lot 11 is connected to the on-shore loading line 100. Accordingly, cargo loading can be performed based on a lot whose capacity corresponds to the capacity of a set of holds for lot 11, whereby inter-lot contamination can be avoided.
  • the lot loading line 22 may be connected to a unit loading line (unillustrated) in a united manner or even connected to several unit loading lines in a united manner.
  • hold air lines 31 to release air A for conveyance are provided to upper parts of the cargo holds 10, respectively.
  • the hold air lines 31 includes on-off valves 31a, respectively, and are connected to a lot air line 32 in a united manner for each set of holds for lot 11.
  • An on-off valve 32b and a connecting part 32c therebeyond are provided to a leading end side of this lot air line 32.
  • an on-shore air exhaust line 110 that is connected to an on-shore exhaust air purifier 30.
  • the exhaust air purifier 30 is provided to this air exhaust line 110.
  • the pipes of the loading lines and the air exhaust lines on the ship can be shortened as a whole. Also, the air A exhausted from the cargo holds 10 after being used for conveyance and thus containing dust and the like can be purified by the exhaust air purifier 30 and then exhausted to the atmosphere.
  • the hold loading lines 21 are provided and connected to the upper parts of the cargo holds 10 via the hold selection valves 21a, respectively. Then, the hold loading lines 21 are connected to the lot loading line 22 in a united manner for each set of holds for lot 11.
  • the lot loading line 22 is so provided as to be extended to one of the portside and the starboard side (usually, the starboard side) and connected to the loading line connecting part 22b, which is provided to the one side and at which the lot loading line 22 is connected to the on-shore loading line 100.
  • hold unloading lines 41 are provided below the hopper parts 10a of the cargo holds 10, respectively.
  • the hold unloading lines 41 each include a hold unloading on-off valve 41a, a rotary valve 41b serving as a fixed-quantity discharge valve, and an on-off valve 41c, and are provided to be connected to a lot unloading line 42.
  • this lot unloading line 42 is split at a flow passage switch valve 42a into a starboard-side unloading line 42S and a portside unloading line 42P. Being extended to manifold decks 4 and passing on-off valves 42Sa and 42Pa, respectively, the starboard-side unloading line 42S and the portside unloading line 42P are extended to unloading line connecting parts 42Sb and 42Pb provided to their corresponding ship sides, respectively.
  • An on-shore unloading line 120 is connected to either one of the unloading line connecting part 42Sb or 42Pb.
  • the hold unloading lines 41 including the hold unloading on-off valves 41a are provided and connected to lower parts of the cargo holds 10, respectively. Then, the hold unloading lines 41 are connected to the lot unloading line 42 in a united manner for each set of holds for lot 11.
  • the lot unloading line 42 is so provided as to be split at the flow passage switch valve 42a and extended to the manifold decks 4 on the respective ship sides.
  • the split lot unloading lines 42 are connected to the unloading line connecting parts 42Sb and 42Pb which are provided to the respective ship sides and serve as connecting points to the on-shore unloading line 120.
  • the rotary valve 41b is provided below the hold unloading on-off valve 41a, and the on-off valve 41c is provided below the rotary valve 41b.
  • the on-off valve 41c is provided below the rotary valve 41b.
  • an on-shore compressed air generating equipment supplies compressed air A for unloading to the lot unloading line 42 through an on-shore air supply line 130, connecting parts 51b, on-off valves 51a, an unloading air supply line 51, and an on-off valve 42b.
  • the polymer pellets P held inside the cargo hold 10 fall from the cargo hold 10 onto the lot unloading line 42 after passing though the hold unloading on-off valve 41a, the rotary valve 41b, and the on-off valve 41c of the hold unloading line 41. Then, together with the air A for conveyance, the polymer pellets P pass through the lot unloading lines 42 and 42S (or 42P) and are unloaded to the on-shore unloading line 120.
  • compressors for cargo handling e.g., the number of the compressors corresponds to the number of cargo-handling lines
  • exclusive equipment for generating compressed air for cargo handling is provided to a port.
  • the availabilities of the on-shore compressors can be improved. This in turn eliminates the need for major compressors for compressed air on the ship, and thus the number of equipment on the ship can be reduced.
  • a drying line 33 including a dryer 34.
  • air A for drying is sent into the cargo holds 10 from hold drying lines 33c for the respective cargo holds 10 by way of the dryer 34, an on-off valve 33a, and on-off valves 33b.
  • the inside of the cargo holds 10 can be dried.
  • the air A after drying the cargo holds 10 returns to the drying line 33 by way of the hold air lines 31 and the lot air line 32, and keeps circulating until the cargo holds 10 to be dried are dried.
  • the inside of the cargo holds 10 may be dried both before polymer pellets P are loaded therein and during the poly pellets P are held therein. In this way, the polymer pellets P can be transported in a dry state, allowing the mass transportation of the polymer pellets P with their quality maintained at a high level.
  • the ship is preferably equipped with a compressed air generator 35 capable of generating an amount of compressed air required to unload polymer pellets P in at least one cargo hold 10 by pneumatic transportation.
  • the compressed air generator 35 is provided to be connected to the unloading air supply line 51.
  • the compressed air generator 35 on the ship may be used and air A thus generated may be supplied to the lot unloading line 42 via the unloading air supply line 51 to perform cargo unloading.
  • the compressed air generator 35 to be loaded is for emergency, and thus the ship is not equipped with a compressed air generator having such a high performance as to simultaneously actuate all the cargo-handling lines.
  • the polymer-pellet transport ship 1 includes cleaning equipment for cleaning the cargo holds 10 with cleaning water W.
  • each cargo hold 10 is provided therein with a cleaning line 52 including a cleaning nozzle 52a at its leading end, so that the inside of the cargo hold 10 can be cleaned by jetting the cleaning water W such as fresh water to the cargo hold 10.
  • the ship may be configured to use a purifier (unillustrated) provided on the ship to purify the cleaning water W having cleaned the cargo holds 10 and reuse the purified cleaning water W. Reusing the cleaning water W can prevent environmental pollution and also reduce the amount of the cleaning water W to be loaded.
  • the polymer-pellet transport ship 1 includes the cleaning lines 52 and the drying lines 33, the cargo holds 10 can be cleaned with the cleaning water W such as fresh water and then dried or dehumidified during a ballast voyage. In this way, cargos different from previous ones can be loaded immediately after arriving at a port of loading.
  • the hold loading lines 21 are connected to the lot loading line 22 in a united manner and extended to the loading connecting part 22b.
  • the hold unloading lines 41 are connected to the lot unloading line 42 in a united manner, split into the portside unit loading line 42P and the starboard-side unit unloading line 42S, and extended to the respective unloading line connecting parts 42Pb and 42Sb.
  • the pipes of the cargo-handling lines on the ship can be shortened.
  • cargo loading and unloading can be performed using exclusive lines for the sets of holds for lot 11, on the basis of one set of holds for lot 11 in which polymer pellets are held by an amount corresponding to the amount per lot which is the management unit in the on-shore cargo-handling system.
  • the loading lines separately from the unloading lines, it is possible to prevent contamination such as the mixing of polymer pellets P being transported with dirt and/or polymer pellets of different kinds.
  • cargo handling can be performed while preventing inter-lot contamination and also maintaining the lot-based management unit. Consequently, the traceability can be maintained on a lot basis.
  • the line configuration is made in such a way that the lot loading line 22 is divided into two, upper and lower sections and the multiple lines are extended leftward and rightward.
  • the limited space on the ship can be effectively used, and the covers 5 can be lowered.
  • the vertical pipes at the side of the cargo holds 10 are placed on support members provided to the cargo holds 10.
  • the pipes can be outfitted to the cargo holds 10 in an on-shore factory at the time of building.
  • the polymer-pellet transport ship 1 is configured such that an on-shore controller performs control on cargo-unloading equipment inside the polymer-pellet transport ship 1.
  • the unloading lines on the ship are controlled on the landward side using the on-shore controller.
  • the correspondence between cargo silos on the landward side and the cargo holds 10 or sets of holds for lot 11 on the ship can be managed collectively and uniformly on the landward side. This makes it possible to significantly improve the quality management of the polymer pellets P and thereby secure a high traceability.
  • the on-shore loading line 100 is connected to the loading connecting part 22b on the polymer-pellet transport ship 1. Also, the on-shore air exhaust line 110 is connected to the connecting part 32c. Then, the on-off valves 22a and 32b are opened.
  • polymer pellets P are sent to the lot loading line 22 via the on-shore loading line 100, together with air A for conveyance.
  • the polymer pellets P are then supplied into the cargo holds 10 from the respective hold unloading lines 21 and held therein.
  • the air A for conveyance is exhausted to the hold air lines 31 including the on-off valves 31a, and then sent to the on-shore air exhaust line 110 via the lot air line 32. Thereafter, the air A for conveyance is released to the atmosphere after pieces of the polymer pellets P and the like therein are removed by the exhaust air purifier 30.
  • the on-shore unloading line 120 is connected to the unloading line connecting part 42Sb (or 42Pb) provided to one of the portside and the starboard side. Then, the on-shore compressed air supply line 130 is connected to the compressed air line connecting part 51b on the ship, and air A for pneumatic transportation is sent therethrough. The air A for pneumatic transportation then passes through the unloading air supply line 51 and reaches the lot unloading line 42.
  • the polymer pellets P are conveyed to the on-shore unloading line 120 by way of the hold unloading lines 41 including the hold unloading on-off valves 41a, the rotary valves 41b, and the on-off valves 41c, the lot unloading line 42, the flow passage switch valve 42a, and the unloading line connecting part 42Sb (or 42Pb).
  • the hold unloading lines 41 including the hold unloading on-off valves 41a, the rotary valves 41b, and the on-off valves 41c, the lot unloading line 42, the flow passage switch valve 42a, and the unloading line connecting part 42Sb (or 42Pb).
  • the cargo unloading is performed while controlling the flow of the air in such an appropriate manner as to carry out the first cargo unloading in which the unloading is done for each set of holds for lot 11 or the second cargo unloading in which the unloading is done for each cargo hold 10. Accordingly, in the first cargo unloading, polymer pellets P of the same kind can be efficiently held into the on-shore cargo silos at the same time. In the second cargo unloading, polymer pellets P of various kinds can be held into the respective on-shore cargo silos sequentially, without mixing the polymer pellets P of the various kinds.
  • the hold selection valves 21a or hold unloading on-off valves 41a, the on-off valves 41c and the like may be controlled in an appropriate manner, so that cargo loading or cargo unloading for multiple cargo holds 10 can be performed all together at the same time or selectively over time. Accordingly, the numbers of loading and unloading lines connecting the landward side and the ship can be reduced. As a result, the man hour required for the cargo-handling work can be reduced.
  • the hold selection valves 21a select all the cargo holds 10 in a set of holds for lot 11 and cargo loading is performed thereon all at the same time, the cargo loading can be carried out efficiently using a fewer number of loading lines. Also, in a case where the hold selection valves 21a select one cargo hold 10 and cargo loading is performed on the selected cargo hold 10 which is to be switched to another cargo hold 10 sequentially, polymer pellets P of different kinds and grades can be loaded to individual cargo holds 10, respectively, using a fewer number of loading lines.
  • station silos on the landward side are each formed in a size corresponding to one lot of polymer pellets P.
  • several cargo holds 10 to be on the ship may be combined together to form a set of holds for lot 11 so as to correspond to one lot of the station silos.
  • the volumes of the cargo holds 10 at the time of the bulk transportation of polymer pellets P can be standardized.
  • a larger version of the polymer pellet-transport ship 1 can be designed based on the same concept.
  • the capacity of one lot in the station may become larger in the future.
  • the number of cargo holds 10 used per lot may be increased.
  • an increase in the capacity of one lot, which might occur in the future, can be handled. That is, the polymer-pellet transport ship 1 is capable of highly flexible cargo handling.
  • the pipe lengths can be reduced. Furthermore, by forming a redundant configuration by providing the unloading connecting parts 42Sb and 42Pb to the portside and starboard side, the ship can handle a situation where the port of unloading is increased to have multiple ports.
  • the polymer-pellet transport ship and polymer-pellet transport barge of the present invention allow the transportation of particulates such as polymer pellets in bulk without damaging the particulates, and also allow efficient transportation of large amounts of polymer pellets of many different kinds at the same time. Accordingly, works done in the conventional art, such as the packing of particulates in bags, the loading of the bags into containers, the taking out of the particulates from the bags, and the like are no longer needed, and therefore the work efficiency at the time of transportation can be improved. This brings about an advantageous effect of efficient mass transportation.
  • the polymer-pellet transport ship and polymer-pellet transport barge of the present invention can be used for the transportation of polymer pellets.

Landscapes

  • Engineering & Computer Science (AREA)
  • Chemical & Material Sciences (AREA)
  • Combustion & Propulsion (AREA)
  • Mechanical Engineering (AREA)
  • Ocean & Marine Engineering (AREA)
  • Transportation (AREA)
  • Ship Loading And Unloading (AREA)

Abstract

A polymer-pellet transport ship and polymer-pellet transport barge capable of efficiently transporting large amounts of many different types of polymer pellets simultaneously without mixing said different types. A plurality of cargo holds (10) that contain polymer pellets (P) are combined to form a lot hold set (11). A hold unloading line (41) provided with a hold unloading valve (41a) is connected to the bottom of each cargo hold (10), selectively performing the following using a lot unloading line(42) connected to a land-side unloading line(120): first unloading in which polymer pellets(P) of the same type are unloaded simultaneously per lot hold set (11); and second unloading in which polymer pellets (P) of differing types are unloaded sequentially per cargo hold(10). The hold unloading lines(41) are integrated into the lot unloading line(42) for each lot hold set(11).

Description

    [TECHNICAL FIELD]
  • The present invention relates to a polymer-pellet transport ship, a polymer-pellet transport barge and a method for loading and unloading same that allow the transportation of particulates such as polymer pellets in bulk unlike the conventional art in which the particulates are transported in bags so as not to be damaged and contaminated, and that also allow efficient transportation of large amounts of polymer pellets of many different kinds at the same time.
  • [BACKGROUND ART]
  • In the conventional art, the waterborne transportation of polymer pellets by a ship is carried out by container transportation in which the polymer pellets are packed in bags, and containers with the bags loaded therein are transported by a container ship.
  • The polymer pellets are formed of low-density polyethylene (whose specific gravity is about 0.92) manufactured under high pressure, high-density polyethylene (whose specific gravity is about 0.95) manufactured under low pressure, polypropylene (whose specific gravity is about 0.9) having transparency and crystallinity (95%), and the like, which are called polymers, in pellet shape having a size of about 3 mm in diameter x 3 mm in length to 6 mm in diameter x 6 mm in length. These polymer pellets have the following physical properties: a specific gravity of about 0.9 to 1.0, a relatively small bulk specific gravity of about 0.5, and a repose angle of about 30 degrees.
  • The polymers are manufactured as follows. In the oil refining industry, crude oil is distilled to be separated into petroleum gas, gasoline, naphtha (crude gasoline), kerosene, light oil, heavy oil, and asphalt, in accordance with differences of boiling points. Among these, naphtha is thermally cracked using a naphtha cracker to be changed into substances having simple structures, and each of the substances such as ethylene, propylene and butylene is extracted. These ethylene, propylene, and the like are chemically reacted by polymerization reaction, in which molecules in the same substance are bonded each other, to manufacture polymers such as polyethylene or polypropylene having different properties.
  • Since these polymers have flammable properties, the polymer in powder state may form explosive gas mixture, leading to a dangerous condition. However, the polymer in pellet form has no dangerousness in handling at ordinary temperature. In addition, the polymer in pellet is physiologically inactive, and has no specific toxicity for human body. Moreover, the polymer in pellet has no reactivity with water, self-reactivity and explosibility, and is stable at ordinary temperature. However, when the pellets are spilled, workers may tumble by losing their footing. Therefore, spill prevention and recovery at the time of spill are important. Particularly, when the pellets are spilled into water region at the time of transport, animals may swallow the pellets and become choked. Therefore, caution is required.
  • For many types of polymers, the molding of the polymer with water attached to the surface causes defect in surfaces, defect in appearance, and deterioration in mechanical properties (strength), of the products. In addition, damages in surfaces of pellets are not desired because cracked fine polymers that are generated by the damage of the pellets become contamination. For this reason, it is desired that abrasion of pellets on an inner surface of a pipe or a cargo hold be avoided in order to prevent generation of defects in surfaces of the pellets.
  • Particularly, there are numerous kinds of polymer pellets as they are distinguished from one another by their materials' component, properties, color, and so forth. Thus, the mixing of different kinds of polymer pellets may lead to the lowering of the qualities of products using the mixed polymer pellets. For this reason, it is necessary to strictly avoid the mixing of polymer pellets with coating and rust as well as the mixing of different kinds of polymer pellets. To do so, in the conventional art, the seaborne/waterborne transportation of polymer pellets is carried out by a container transportation as described above in which the polymer pellets are packed in bags, and containers with the bags loaded therein are transported by a container ship.
  • However, this transportation method using bags and containers requires works with workers and machines, such as the packing of pellets in bags, the loading of the bags into containers, the breaking of the bags for opening, the taking out of the pellets from the bags, and the like. Thus, there is a problem of poor efficiency. Particularly, in view of securing of the traceability, every bag of pellets needs to be managed, which in turn leads to a problem of causing great cumbersomeness and complication.
  • There is also another problem that using packing materials such as bags to carry pellets in small lots is a waste of resources. The demand for polymer pellets has been growing globally, and thus efficient seaborne transportation methods therefor are being awaited by the industry.
  • In general, ships that carry coal, wheat, chips, and the like in bulk are called dry bulk cargo ships or bulk carriers. A common structure of a cargo hold of these ships is as follows. The periphery of the cargo hold is surrounded by an inner double bottom plate, side shells, an upper deck, and a bulkhead. A hopper side tank is provided below the ship sides, and top side tanks are provided above the ship sides. A hatch opening at the upper deck is formed and covered with a hatch cover (see cited Patent Document 1, for example).
  • In addition, in a case of unloading a bulk dry cargo from a lower part of the cargo hold, the bulk dry cargo (bulk) cut at the lower end of the cargo hold is conveyed to a bow side or a stern side by use of an endless cutting conveyor extending in the longitudinal direction of the ship. The cut bulk dry cargo is passed over to another conveyor to be conveyed to a conveyor of an on-shore cargo-handling facility.
  • However, when it comes to the transportation of polymer pellets, there are problems that: polymer pellets of various different kinds need to be handled and transported without the polymer pellets of the different kinds being mixed together even by an amount far smaller than the load capacity of the ship; the quality management is strict; and it is required to secure the traceability through the management for each lot, starting from the production to the storage before loaded, the transportation, the storage after unloaded until the consumption.
  • [CITATION LIST] [PATENT LITERATURES]
    • [PATENT LITERATURE 1] Japanese Utility Model Registration Application Publication No. Sho 62-165193 ( JP62165193(U ))
    • [PATENT LITERATURE 2] Japanese Patent Application Publication No. Hei 5-124576 ( JP5124576(A ))
    [SUMMARY OF INVENTION] [TECHNICAL PROBLEMS]
  • The present invention has been made in view of the above circumstances, and an object thereof is to provide a polymer-pellet transport ship, a polymer-pellet transport barge, and a method for loading and unloading same that allow the mass transportation of polymer pellets of various kinds by conveying the polymer pellets in bulk instead conveying them in bags, and that also allow efficient transportation of large amounts of polymer pellets of many different kinds at the same time.
  • [SOLUTION TO PROBLEMS]
  • A polymer-pellet transport ship of the present invention for achieving the above object is a polymer-pellet transport ship which carries polymer pellets of multiple kinds without mixing the polymer pellets of the multiple kinds. Multiple cargo holds for holding polymer pellets are combined together to form a set of holds for lot. Hold unloading lines each including a hold unloading on-off valve are provided and connected to lower parts of the cargo holds, and the hold unloading lines are connected to a lot unloading line in an united manner for each set of holds for lot so that first cargo unloading and second cargo unloading may be performed selectively using the lot unloading line, the lot unloading line being connected to an on-shore unloading line, the first cargo unloading being performed to simultaneously unload polymer pellets of a same kind for each set of holds for lot, the second cargo unloading being performed to sequentially unload polymer pellets of different kinds for each cargo hold.
  • According to this configuration, in cargo unloading, based on appropriate on-off control on the hold unloading on-off valves and the like, the first cargo unloading is performed when the kinds of the polymer pellets held in the cargo holds are the same for each set of holds for lot. As a result, the polymer pellets in all the cargo holds in the same set of holds for lot are unloaded at the same time, whereby the polymer pellets of the same kind can be efficiently held into on-shore cargo silos.
  • In contrast, the second cargo unloading is performed when the kinds of the polymer pellets held in the cargo holds are different from each other. As a result, cargo unloading is performed for each cargo hold sequentially, whereby the polymer pellets of different kinds held in the respective cargo holds can be held individually into respective on-shore cargo silos, without being mixed with each other.
  • In addition, since the hold unloading on-off valves and the like are appropriately controlled while using a single lot unloading line, cargo unloading for multiple cargo holds can be performed selectively and sequentially, or simultaneously. Accordingly, the number of unloading lines connecting the shore and the ship can be reduced as compared to a case where cargo handling is performed with unloading pipes being provided to individual cargo holds, respectively, and on-shore unloading lines being connected to the individual unloading pipes, respectively.
  • Thus, the man hour required for the cargo-handling work can be reduced. In addition, in the first cargo unloading, by using the lot unloading line, cargo unloading is performed for each set of holds for lot, which has a holding capacity corresponding to the capacity of one lot used on the landward side in the quality management. Moreover, in the second cargo unloading, cargo unloading is performed for each cargo hold, which has a holding capacity corresponding to the capacity of one silo used on the landward side in the quality management. Thus, more detailed management is possible for such occasions as transportation, cargo unloading, and on-shore storage. This significantly improves the traceability in the quality management.
  • Consequently, the mass transportation of polymer pellets of various kinds can be carried out efficiently by the conveyance in bulk, instead of the conveyance in bags. Further, large amounts of polymer pellets of many different kinds can be efficiently transported at the same time without being mixed with each other.
  • In the described-above polymer-pellet transport ship, the hold unloading lines below the cargo holds are each provided with a fixed-quantity discharge valve below the hold unloading on-off valve and also provided with an on-off valve below the fixed-quantity discharge valve.
  • According to this configuration, while polymer pellets from one cargo hold are being transported in cargo unloading using the lot unloading line, one may close the on-off valves of the other cargo holds provided between the fixed-quantity discharge valves formed as rotary valves or the like and points where the respective hold unloading lines join the lot unloading line. By doing so, the polymer pellets can be prevented from entering the fixed-quantity discharge valves below the other cargo holds holding different kinds of polymer pellets. Accordingly, it is possible to prevent a situation where at the time of unloading the polymer pellets of the different kinds in the other cargo holds, the polymer pellets having entered the fixed-quantity discharge valves of these other cargo holds are mixed with those of the different kinds and unloaded together. Consequently, contamination can be prevented.
  • In any one of the described-above polymer-pellet transport ships, air for conveyance is supplied to the lot unloading line from on-shore equipment, and the air for conveyance is used to unload the polymer pellets held in the cargo holds.
  • According to this configuration, the polymer pellets in the cargo holds can be unloaded by pneumatic transportation using the air for conveyance supplied from the landward side. Accordingly, on the polymer-pellet transport ship, compressed air generators for cargo unloading do not need to be provided as many as the cargo-handling lines. Thus, the number of equipment on the ship can be reduced.
  • In addition, in the whole system including the ship side and the landward side, compressed air generators requiring, as a whole, a large capacity are placed on the landward side. Accordingly, the installation work and maintenance can be performed easily. Further, the availabilities of the on-shore compressors are raised, and therefore the compressed air generators can be used efficiently. Furthermore, since the compressed air generators are placed on the landward side, they can be used also for transferring polymer pellets between on-shore silos and for transferring polymer pellets carried from a production plant into on-shore silos.
  • In any one of the described-above polymer-pellet transport ships, an on-shore controller performs control on cargo unloading equipment inside the polymer-pellet transport ship.
  • According to this configuration, the controller for the unloading lines on the ship is provided on the landward side. Accordingly, the number of controllers for the unloading lines in the whole system can be reduced.
  • In a ship including pipe lines, such as a tanker, its unloading lines are controlled on the ship by using a controller on the ship when cargos are unloaded from the ship to the landward side. In contrast, in the polymer-pellet transport ship, the unloading lines on the ship are controlled on the landward side using the on-shore controller. Thus, the correspondence between cargo silos on the landward side and the cargo holds or sets of holds for lot on the ship can be managed collectively and uniformly on the landward side. This allows significant improvements in increasing the quality management of the polymer pellets, securing the traceability, and avoiding cargo-handling operation mistakes.
  • Any one of the described-above polymer-pellet transport ships includes a compressed air generator capable of generating a larger amount of air than an amount of air required to unload the polymer pellets held in any one of the cargo holds.
  • According to this configuration, even in a case where cargo unloading is to be performed at a port provided with no on-shore compressed air generator, or where the on-shore compressed air generator and/or an on-shore air line are malfunctioning, cargo unloading can still be performed by using the compressed air generator on the ship. In addition, the compressed air generator to be loaded is for emergency and thus has a relatively small capacity, meaning that there is not provided a compressed air generator having such a high performance as to simultaneously actuate all the unloading lines. Accordingly, the equipment on the ship can be made significantly smaller than a case where there is provided a compressed air generator to simultaneously actuate all the unloading lines.
  • A polymer-pellet transport barge for achieving the above object is obtained by forming any one of the described-above polymer-pellet transport ships into a barge having no propulsion system. The polymer-pellet transport barge of this configuration can bring about similar advantageous effects to those achievable by the any one of the above-described polymer-pellet transport ships.
  • A method for loading and unloading, for achieving the above object, for any one of a polymer-pellet transport ship and a polymer-pellet transport barge is a method for loading and unloading for any one of a polymer-pellet transport ship and a polymer-pellet transport barge in which multiple cargo holds for holding polymer pellets are combined together to form a set of holds for lot and which carries polymer pellets of multiple kinds without mixing the polymer pellets of the multiple kinds. The method for loading and unloading includes selectively performing first cargo unloading and second cargo unloading by using a lot unloading line connected to an on-shore unloading line, the first cargo unloading being performed to simultaneously unload polymer pellets of a same kind for each set of holds for lot, the second cargo unloading being performed to sequentially unload polymer pellets of different kinds for each cargo hold.
  • According to this method, in cargo unloading, based on appropriate on-off control on the hold unloading on-off valves and the like, the first cargo unloading is performed when the kinds of the polymer pellets held in the cargo holds are the same for each set of holds for lot, and the second cargo unloading is performed when the kinds of the polymer pellets held in the cargo holds are different from each other.
  • In the first cargo unloading, the polymer pellets of the same kind held in the cargo holds in the same set of holds for lot are unloaded all at the same time, whereby the polymer pellets of the same kind can be efficiently held into on-shore cargo silos.
  • In addition, in the second cargo unloading, cargo unloading is performed for each cargo hold sequentially, whereby the polymer pellets of different kinds held in the respective cargo holds can be unloaded to respective on-shore cargo silos, without being mixed with each other. This makes it possible to perform cargo unloading sequentially on the cargo holds respectively holding various kinds of polymer pellets small in amount.
  • The method for loading and unloading for any one of the polymer-pellet transport ship and the polymer-pellet transport barge includes: supplying air for conveyance to the lot unloading line from on-shore equipment; and using the air for conveyance to unload the polymer pellets held in the cargo holds. Accordingly, on the polymer-pellet transport ship, compressed air generators for cargo unloading do not need to be provided as many as the cargo-handling lines. Thus, the number of equipment on the ship can be reduced. In addition, in the whole system including the ship side and the landward side, compressed air generators requiring a large capacity are placed on the landward side. Accordingly, the installation work and maintenance can be performed easily. Further, the availabilities of the on-shore compressed air generators are raised, and thus the compressed air generators can be used efficiently.
  • Furthermore, since the compressed air generators are placed on the landward side, they can be used also for transferring polymer pellets between on-shore silos and for transferring polymer pellets carried from a production plant into on-shore silos.
  • Any one of the above-described methods for loading and unloading for any one of the polymer-pellet transport ship and the polymer-pellet transport barge includes performing cargo unloading and cargo loading by causing an on-shore controller to perform control on cargo-handling equipment inside the any one of the polymer-pellet transport ship and the polymer-pellet transport barge. Accordingly, the correspondence between cargo silos on the landward side and the cargo holds or sets of holds for lot on the ship can be managed collectively and uniformly on the landward side. This allows significant improvements in increasing the quality management of the polymer pellets, securing the traceability, and avoiding cargo-handling operation mistakes. Moreover, the controller for the unloading lines on the ship is provided on the landward side. Accordingly, the number of controllers for the unloading lines in the whole system can be reduced.
  • [ADVANTAGEOUS EFFECTS OF INVENTION]
  • According to the polymer-pellet transport ship, the polymer-pellet transport barge, and the method for loading and unloading of the present invention, particulates such as polymer pellets can be transported in bulk without damaging the particulates unlike the conventional art in which the particulates are transported in bags so as not to be damaged and contaminated. In addition, large amounts of polymer pellets of many different kinds can be transported efficiently at the same time without mixing the polymer pellets of the many different kinds.
  • Accordingly, works done in the conventional art, such as the packing of particulates in bags, the loading of the bags into containers, the taking out of the particulates from the bags, and the like are no longer needed, and therefore the work efficiency at the time of transportation can be improved. Consequently, mass transportation can be carried out efficiently.
  • [BRIEF DESCRIPTION OF DRAWINGS]
    • [Fig. 1] Fig. 1 is a side cross-sectional view of a ship body showing the arrangement of cargo holds in a polymer-pellet transport ship of an embodiment according to the present invention.
    • [Fig. 2] Fig. 2 is a horizontal plan view of the ship body showing the arrangement of the cargo holds in the polymer-pellet transport ship in Fig. 1.
    • [Fig. 3] Fig. 3 is a cross-sectional view of the ship body showing the arrangement of the cargo holds in the polymer-pellet transport ship in Fig. 1.
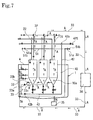
    • [Fig. 4] Fig. 4 is a diagram showing a cargo-handling line and the like of the cargo hold on the polymer-pellet transport ship of the embodiment according to the present invention.
    • [Fig. 5] Fig. 5 is a diagram schematically showing loading lines and the like in the polymer-pellet transport ship.
    • [Fig. 6] Fig. 6 is a diagram schematically showing unloading lines and the like in the polymer-pellet transport ship.
    • [Fig. 7] Fig. 7 is a diagram schematically showing air lines and the like in the polymer-pellet transport ship.
    [DESCRIPTION OF EMBODIMENT]
  • Hereinbelow, a polymer-pellet transport ship and a polymer-pellet transport barge according to the present invention will be described by referring to the drawings. Here, described is a polymer-pellet transport ship having a propulsion system, but the present invention can be applied similarly to a polymer-pellet transport barge having no propulsion system. Note that the drawings are only explanatory and may not necessarily illustrate the hull form and the proportions of cargo holds that are used in the actual ship.
  • As shown in Figs. 1 to 3, a polymer-pellet transport ship 1 of an embodiment according to the present invention includes cargo holds 10 (hatched areas) for holding polymer pellets. Each cargo hold 10 is formed into a tubular body whose horizontal cross-sectional shape is circular, elliptical, polygonal, or the like, and is preferably circular. The cargo hold 10 is provided with a hopper part 10a formed in a hopper shape at a lower part thereof. In addition, the cargo hold 10 is preferably manufactured using an aluminum alloy or stainless steel.
  • By forming the cargo hold 10 into the tubular body with an aluminum alloy or stainless steel, it is possible to substantially eliminate a reinforcement to reinforce the wall surface of the cargo hold 10. Thus, the clearance between adjacent cargo holds 10 can be made small. This as a result increases the number of cargo holds 10 to be placed in a cargo area in the ship body of the polymer-pellet transport ship 1. Moreover, use of an aluminum alloy or stainless steel as the material of the cargo hold 10 allows a weight reduction as well as the prevention of dissimilar material inclusion attributable to rust.
  • Meanwhile, most or all of the cargo holds 10 to be placed on the polymer-pellet transport ship 1 are formed in the same size and shape, and placed efficiently in conformity with the body shape of the polymer-pellet transport ship 1 without changing the shapes and capacities of the cargo holds 10. This allows the mass production of only one type of product for the cargo holds 10 and thereby facilitates the building work. Accordingly, the manufacturing cost can be lowered.
  • Further, each cargo hold 10 is provided with a support structure at its lower part so as to be fixed to and placed on the ship body. In this way, a frame structure to fix the cargo hold 10 to the ship body is eliminated. This in turn eliminates spaces in the ship body, which would otherwise be wasted. The spaces in the ship body can therefore be used effectively. Note that another support structure may also be provided to an upper part of the cargo hold 10 and fixed to the ship body as needed.
  • As shown in Fig. 2, a plurality (three in Figs. 1 to 3) of such cargo hold 10 are combined together to form a set of holds for lot 11. Since the set of holds for lot 11 is formed of multiple cargo hold 10 as above, the capacity of the set of holds for lot 11 may be associated with the quantity of a lot which is the unit of management in an on-shore cargo-handling system. Cargos can therefore be handled while keeping this management unit. Accordingly, it is possible to keep the traceability on a lot basis.
  • Further, a single set of holds for lot 11 or multiple (two sets in Figs. 1 to 3) sets of holds for lot 11 combined and united together form a cargo unit 12. The cargo unit 12 obtained by the uniting is placed in the ship body. In an area where the beam of the ship is, multiple (two units in Figs. 1 to 3) cargo units 12 are placed side by side in the direction of the beam.
  • Since one cargo unit 12 is formed of a single or multiple sets of holds for lot 11 as described above, at the time of building, a cargo unit 12 constituted of multiple (six in Figs. 1 to 3) cargo holds 10 may be manufactured on the landward side, and the cargo holds 10 can be loaded in the ship body for each cargo unit 12. In this way, the man hour can be reduced and the number of days required for building can be shortened, as compared to a case where the cargo holds 10 are loaded in the ship body individually.
  • In the polymer-pellet transport ship 1 configured as shown in Fig. 2, the cargo units 12 are loaded as follows. Starting from the stem, there are loaded one cargo unit 12 oriented longitudinally, one cargo unit 12 oriented crosswise, and five pairs of longitudinally-oriented cargo units 12 placed side by side crosswise, the five pairs being arranged one after another. 12 cargo units 12 in total, i.e., 24 sets of holds for lot 11 and therefore 72 cargo holds 10 are loaded.
  • The cargo holds 10 each formed into the tubular body with the hopper part 10a provided at its lower part are combined together to form the sets of holds for lot 11 and cargo units 12, and are placed efficiently in the ship body. This allows the placement of many cargo holds 10 having a diameter which is relatively small as compared to the beam of the ship. Thus, the height of each hopper part 10a can be made smaller than cases where cargo holds with relatively large capacities are provided in bulk cargo ships in the conventional art. Consequently, the space outside the hopper part 10a can be made smaller, allowing effective use of the spaces in the ship body.
  • Further, since polymer pellets can be loaded to a low position, it is possible to set low the center of gravity of each loaded cargo as well as the center of gravity of the ship body during a voyage in a cargo-loaded state. In addition, the width of the cargo hold 10 is significantly smaller than that in bulk cargo ships in the conventional art. Therefore, polymer pellets move crosswise to a lesser extent during a voyage, thereby increasing the stability of the ship body against roll.
  • For the polymer-pellet transport ship 1, it is preferable to form the cargo area of the ship body in a double hull, enclosed structure as shown in Fig. 3 by providing a double bottom at the bottom side, ballast tanks 3 and the like to ship side parts, and covers 5 to an upper part.
  • This configuration prevents polymer pellets from leaking to the ocean even in a case where the ship body is damaged due to stranding, collision, or the like. Also, the enclosed structure prevents an increase in the temperatures of the cargo holds 10 and the polymer pellets therein, which would otherwise occur due direct sunlight.
  • Further, since the ballast tanks 3 are provided to the ship side parts of the ship body, the amounts of ballast water in the ballast tanks 3 in the ship side parts may be adjusted in a case where there are empty cargo holds 10 that may cause the ship's attitude (heel, trim) to lose the balance, where polymer pellets of some kinds differing from each other in specific gravity but the same in volume are loaded respectively at the portside and the starboard side, where the amounts of polymer pellets in the cargo holds 10 vary during cargo handling, and the like case. Thus, the ship's unbalanced attitude (heel, trim) can be corrected readily.
  • Furthermore, the covers 5 are so provided as to surround the cargo holds 10, the whole cargo-handling lines, work spaces, and passages to upper parts of the cargo holds 10. Thus, it is possible to prevent the cargo holds 10 from being damaged by seawater hitting the cargo holds 10, and the like. It is also possible to suppress the corrosion of the inner and outer surfaces of the cargo holds 10, the outer surfaces of pipes of the cargo-handling lines, and the like caused by seawater. Moreover, it is also possible to improve the workability for the works at the upper parts of the cargo holds 10 in heavy weather, and thus make the maintenance easier. The covers 5 also make it easier to manage the temperatures and humidities inside the cargo holds 10 during waterborne transportation.
  • Meanwhile, the covers 5 are so designed that supports of pipes and the like required above the cargo holds 10 are provided to the covers 5. These pipes can therefore be outfitted in advance, bringing about an advantage at the time of building that the building period can be shortened.
  • Next, the cargo-handling lines will be described. The cargo-handling lines in the polymer-pellet transport ship 1 are formed of loading lines and unloading lines. As shown in Figs. 4 and 5, hold loading lines 21 are connected to upper parts of the cargo holds 10, respectively. These hold loading lines 21 are connected in a united manner to a lot loading line 22 via hold selection valves 21a (flow passage switch valves).
  • As shown in Fig. 5, this lot loading line 22 is extended to a loading connecting part 22b through an on-off valve 22a so as to be joined individually to an on-shore loading line 100. This loading connecting part 22b is provided only at the starboard side. The on-shore loading line 100 is connected to the loading connecting part 22b. In this embodiment, three cargo holds 10, i.e., one set of holds for lot 11 is connected to the on-shore loading line 100. Accordingly, cargo loading can be performed based on a lot whose capacity corresponds to the capacity of a set of holds for lot 11, whereby inter-lot contamination can be avoided.
  • Note that if inter-lot contamination is not problematic, the lot loading line 22 may be connected to a unit loading line (unillustrated) in a united manner or even connected to several unit loading lines in a united manner.
  • Meanwhile, hold air lines 31 to release air A for conveyance are provided to upper parts of the cargo holds 10, respectively. The hold air lines 31 includes on-off valves 31a, respectively, and are connected to a lot air line 32 in a united manner for each set of holds for lot 11.
  • An on-off valve 32b and a connecting part 32c therebeyond are provided to a leading end side of this lot air line 32. To this connecting part 32c, connected is an on-shore air exhaust line 110 that is connected to an on-shore exhaust air purifier 30. The exhaust air purifier 30 is provided to this air exhaust line 110.
  • By the uniting of the pipes as described above, the pipes of the loading lines and the air exhaust lines on the ship can be shortened as a whole. Also, the air A exhausted from the cargo holds 10 after being used for conveyance and thus containing dust and the like can be purified by the exhaust air purifier 30 and then exhausted to the atmosphere.
  • In sum, the hold loading lines 21 are provided and connected to the upper parts of the cargo holds 10 via the hold selection valves 21a, respectively. Then, the hold loading lines 21 are connected to the lot loading line 22 in a united manner for each set of holds for lot 11. The lot loading line 22 is so provided as to be extended to one of the portside and the starboard side (usually, the starboard side) and connected to the loading line connecting part 22b, which is provided to the one side and at which the lot loading line 22 is connected to the on-shore loading line 100.
  • Meanwhile, for the unloading lines, as shown in Figs. 4 and 6, hold unloading lines 41 are provided below the hopper parts 10a of the cargo holds 10, respectively. The hold unloading lines 41 each include a hold unloading on-off valve 41a, a rotary valve 41b serving as a fixed-quantity discharge valve, and an on-off valve 41c, and are provided to be connected to a lot unloading line 42.
  • As shown in Fig. 6, this lot unloading line 42 is split at a flow passage switch valve 42a into a starboard-side unloading line 42S and a portside unloading line 42P. Being extended to manifold decks 4 and passing on-off valves 42Sa and 42Pa, respectively, the starboard-side unloading line 42S and the portside unloading line 42P are extended to unloading line connecting parts 42Sb and 42Pb provided to their corresponding ship sides, respectively. An on-shore unloading line 120 is connected to either one of the unloading line connecting part 42Sb or 42Pb.
  • In sum, the hold unloading lines 41 including the hold unloading on-off valves 41a are provided and connected to lower parts of the cargo holds 10, respectively. Then, the hold unloading lines 41 are connected to the lot unloading line 42 in a united manner for each set of holds for lot 11. The lot unloading line 42 is so provided as to be split at the flow passage switch valve 42a and extended to the manifold decks 4 on the respective ship sides. The split lot unloading lines 42 are connected to the unloading line connecting parts 42Sb and 42Pb which are provided to the respective ship sides and serve as connecting points to the on-shore unloading line 120.
  • According to the polymer-pellet transport ship 1, in each of the hold unloading lines 41 below the cargo holds 10, the rotary valve 41b is provided below the hold unloading on-off valve 41a, and the on-off valve 41c is provided below the rotary valve 41b. While polymer pellets P from one cargo hold 10 are being transported in cargo unloading using the lot unloading line 42, one may close the on-off valves 41c of the other cargo holds 10 provided between the rotary valves 41b and points where the respective hold unloading lines 41 join the lot unloading line 42. By doing so, the polymer pellets P can be prevented from entering the rotary valves 41b below the other cargo holds 10 holding different kinds of polymer pellets P. Accordingly, it is possible to prevent a situation where at the time of unloading the polymer pellets P of the different kinds in the other cargo holds 10, the polymer pellets P having entered the rotary valves 41b of these other cargo holds 10 are mixed with those of the different kinds and unloaded together. Consequently, contamination can be prevented.
  • In this configuration, as shown in Fig. 6, an on-shore compressed air generating equipment (compressor) supplies compressed air A for unloading to the lot unloading line 42 through an on-shore air supply line 130, connecting parts 51b, on-off valves 51a, an unloading air supply line 51, and an on-off valve 42b.
  • At the time of this unloading, the polymer pellets P held inside the cargo hold 10 fall from the cargo hold 10 onto the lot unloading line 42 after passing though the hold unloading on-off valve 41a, the rotary valve 41b, and the on-off valve 41c of the hold unloading line 41. Then, together with the air A for conveyance, the polymer pellets P pass through the lot unloading lines 42 and 42S (or 42P) and are unloaded to the on-shore unloading line 120.
  • According to this configuration, in the unloading of the polymer pellets P in the cargo holds 10 by pneumatic transportation using the compressed air A supplied from the landward side, appropriate control on the hold unloading on-off valves 41a, the on-off valves 41c, and the like enables to perform selectively a first unloading and a second unloading, wherein the first unloading unloads polymer pellets P of the same kind for each set of holds for lot 11, and the second unloading unloads polymer pellets P of different kinds sequentially for each cargo hold 10.
  • Meanwhile, regularly-used compressors for cargo handling (e.g., the number of the compressors corresponds to the number of cargo-handling lines) are not provided on the polymer-pellet transport ship 1. Instead, exclusive equipment for generating compressed air for cargo handling is provided to a port. In this way, the availabilities of the on-shore compressors can be improved. This in turn eliminates the need for major compressors for compressed air on the ship, and thus the number of equipment on the ship can be reduced.
  • Further, as shown in Figs. 4 and 7, there is provided a drying line 33 including a dryer 34. In this drying line 33, air A for drying is sent into the cargo holds 10 from hold drying lines 33c for the respective cargo holds 10 by way of the dryer 34, an on-off valve 33a, and on-off valves 33b.
  • With this air A for drying, the inside of the cargo holds 10 can be dried. The air A after drying the cargo holds 10 returns to the drying line 33 by way of the hold air lines 31 and the lot air line 32, and keeps circulating until the cargo holds 10 to be dried are dried. Using this drying line 33, the inside of the cargo holds 10 may be dried both before polymer pellets P are loaded therein and during the poly pellets P are held therein. In this way, the polymer pellets P can be transported in a dry state, allowing the mass transportation of the polymer pellets P with their quality maintained at a high level.
  • Note that the ship is preferably equipped with a compressed air generator 35 capable of generating an amount of compressed air required to unload polymer pellets P in at least one cargo hold 10 by pneumatic transportation. In the configuration in Figs. 5 to 7, the compressed air generator 35 is provided to be connected to the unloading air supply line 51.
  • By this configuration, even when compressed air generators of the on-shore equipment are malfunctioning, the compressed air generator 35 on the ship may be used and air A thus generated may be supplied to the lot unloading line 42 via the unloading air supply line 51 to perform cargo unloading. In this case, the compressed air generator 35 to be loaded is for emergency, and thus the ship is not equipped with a compressed air generator having such a high performance as to simultaneously actuate all the cargo-handling lines.
  • Next, cleaning equipment for the cargo holds 10 will be described. The polymer-pellet transport ship 1 includes cleaning equipment for cleaning the cargo holds 10 with cleaning water W. As shown in Fig. 4, each cargo hold 10 is provided therein with a cleaning line 52 including a cleaning nozzle 52a at its leading end, so that the inside of the cargo hold 10 can be cleaned by jetting the cleaning water W such as fresh water to the cargo hold 10. Note that the ship may be configured to use a purifier (unillustrated) provided on the ship to purify the cleaning water W having cleaned the cargo holds 10 and reuse the purified cleaning water W. Reusing the cleaning water W can prevent environmental pollution and also reduce the amount of the cleaning water W to be loaded.
  • Since the polymer-pellet transport ship 1 includes the cleaning lines 52 and the drying lines 33, the cargo holds 10 can be cleaned with the cleaning water W such as fresh water and then dried or dehumidified during a ballast voyage. In this way, cargos different from previous ones can be loaded immediately after arriving at a port of loading.
  • According to this configuration, the hold loading lines 21 are connected to the lot loading line 22 in a united manner and extended to the loading connecting part 22b. In addition, the hold unloading lines 41 are connected to the lot unloading line 42 in a united manner, split into the portside unit loading line 42P and the starboard-side unit unloading line 42S, and extended to the respective unloading line connecting parts 42Pb and 42Sb.
  • Thus, the pipes of the cargo-handling lines on the ship can be shortened. In addition, cargo loading and unloading can be performed using exclusive lines for the sets of holds for lot 11, on the basis of one set of holds for lot 11 in which polymer pellets are held by an amount corresponding to the amount per lot which is the management unit in the on-shore cargo-handling system. Also, by providing the loading lines separately from the unloading lines, it is possible to prevent contamination such as the mixing of polymer pellets P being transported with dirt and/or polymer pellets of different kinds.
  • Accordingly, cargo handling can be performed while preventing inter-lot contamination and also maintaining the lot-based management unit. Consequently, the traceability can be maintained on a lot basis.
  • The line configuration is made in such a way that the lot loading line 22 is divided into two, upper and lower sections and the multiple lines are extended leftward and rightward. Thus, the limited space on the ship can be effectively used, and the covers 5 can be lowered. In addition, the vertical pipes at the side of the cargo holds 10 are placed on support members provided to the cargo holds 10. Thus, the pipes can be outfitted to the cargo holds 10 in an on-shore factory at the time of building.
  • The polymer-pellet transport ship 1 is configured such that an on-shore controller performs control on cargo-unloading equipment inside the polymer-pellet transport ship 1. By this configuration, since the controller for the cargo-unloading lines is provided not on the ship but only on the landward side, the number of controllers for the unloading lines in the whole system can be reduced.
  • Additionally, in the polymer-pellet transport ship 1, the unloading lines on the ship are controlled on the landward side using the on-shore controller. Thus, the correspondence between cargo silos on the landward side and the cargo holds 10 or sets of holds for lot 11 on the ship can be managed collectively and uniformly on the landward side. This makes it possible to significantly improve the quality management of the polymer pellets P and thereby secure a high traceability.
  • Next, cargo handling in the polymer-pellet transport ship 1 configured as described above will be described. In cargo loading, as shown in Fig. 5, the on-shore loading line 100 is connected to the loading connecting part 22b on the polymer-pellet transport ship 1. Also, the on-shore air exhaust line 110 is connected to the connecting part 32c. Then, the on-off valves 22a and 32b are opened.
  • From on-shore station silos, polymer pellets P are sent to the lot loading line 22 via the on-shore loading line 100, together with air A for conveyance. The polymer pellets P are then supplied into the cargo holds 10 from the respective hold unloading lines 21 and held therein.
  • On the other hand, the air A for conveyance is exhausted to the hold air lines 31 including the on-off valves 31a, and then sent to the on-shore air exhaust line 110 via the lot air line 32. Thereafter, the air A for conveyance is released to the atmosphere after pieces of the polymer pellets P and the like therein are removed by the exhaust air purifier 30.
  • In this event, since cargo loading is performed using the lot loading line 22 and the lot air line 32, the cargo loading can be performed on a lot basis, whereby inter-lot mixing of the polymer pellets P can be prevented. As a result, polymer pellets P of various kinds can be held into the respective cargo holds 10 efficiently in accordance with the lot-based management unit, without mixing the polymer pellets P of the various kinds.
  • Meanwhile, in cargo unloading, as shown in Fig. 6, the on-shore unloading line 120 is connected to the unloading line connecting part 42Sb (or 42Pb) provided to one of the portside and the starboard side. Then, the on-shore compressed air supply line 130 is connected to the compressed air line connecting part 51b on the ship, and air A for pneumatic transportation is sent therethrough. The air A for pneumatic transportation then passes through the unloading air supply line 51 and reaches the lot unloading line 42.
  • Meanwhile, from the lower portions of the hopper parts 10a of the cargo holds 10, the polymer pellets P are conveyed to the on-shore unloading line 120 by way of the hold unloading lines 41 including the hold unloading on-off valves 41a, the rotary valves 41b, and the on-off valves 41c, the lot unloading line 42, the flow passage switch valve 42a, and the unloading line connecting part 42Sb (or 42Pb).
  • In this event, the cargo unloading is performed while controlling the flow of the air in such an appropriate manner as to carry out the first cargo unloading in which the unloading is done for each set of holds for lot 11 or the second cargo unloading in which the unloading is done for each cargo hold 10. Accordingly, in the first cargo unloading, polymer pellets P of the same kind can be efficiently held into the on-shore cargo silos at the same time. In the second cargo unloading, polymer pellets P of various kinds can be held into the respective on-shore cargo silos sequentially, without mixing the polymer pellets P of the various kinds.
  • While using one lot loading line 22 or one lot unloading line 42, the hold selection valves 21a or hold unloading on-off valves 41a, the on-off valves 41c and the like may be controlled in an appropriate manner, so that cargo loading or cargo unloading for multiple cargo holds 10 can be performed all together at the same time or selectively over time. Accordingly, the numbers of loading and unloading lines connecting the landward side and the ship can be reduced. As a result, the man hour required for the cargo-handling work can be reduced.
  • In other words, in a case where the hold selection valves 21a select all the cargo holds 10 in a set of holds for lot 11 and cargo loading is performed thereon all at the same time, the cargo loading can be carried out efficiently using a fewer number of loading lines. Also, in a case where the hold selection valves 21a select one cargo hold 10 and cargo loading is performed on the selected cargo hold 10 which is to be switched to another cargo hold 10 sequentially, polymer pellets P of different kinds and grades can be loaded to individual cargo holds 10, respectively, using a fewer number of loading lines.
  • Usually, station silos on the landward side are each formed in a size corresponding to one lot of polymer pellets P. Instead, several cargo holds 10 to be on the ship may be combined together to form a set of holds for lot 11 so as to correspond to one lot of the station silos. In this way, the volumes of the cargo holds 10 at the time of the bulk transportation of polymer pellets P can be standardized. In addition, by designing the capacity of each cargo hold 10 on the basis of the station's manufacturing capability of polymer pellets P per lot, a larger version of the polymer pellet-transport ship 1 can be designed based on the same concept.
  • Incidentally, the capacity of one lot in the station may become larger in the future. In that case, the number of cargo holds 10 used per lot may be increased. In this way, an increase in the capacity of one lot, which might occur in the future, can be handled. That is, the polymer-pellet transport ship 1 is capable of highly flexible cargo handling.
  • This allows efficient mass transportation of polymer pellets P of various kinds through the conveyance of the polymer pellets in bulk instead of in bags. In addition, large amounts of polymer pellets of many different kinds can be transported efficiently at the same time.
  • Moreover, by placing the loading connecting part 22b only on one of the portside and the starboard side (usually, the starboard side) in consideration of the port of loading, the pipe lengths can be reduced. Furthermore, by forming a redundant configuration by providing the unloading connecting parts 42Sb and 42Pb to the portside and starboard side, the ship can handle a situation where the port of unloading is increased to have multiple ports.
  • [INDUSTRIAL APPLICABILITY]
  • The polymer-pellet transport ship and polymer-pellet transport barge of the present invention allow the transportation of particulates such as polymer pellets in bulk without damaging the particulates, and also allow efficient transportation of large amounts of polymer pellets of many different kinds at the same time. Accordingly, works done in the conventional art, such as the packing of particulates in bags, the loading of the bags into containers, the taking out of the particulates from the bags, and the like are no longer needed, and therefore the work efficiency at the time of transportation can be improved. This brings about an advantageous effect of efficient mass transportation. Thus, the polymer-pellet transport ship and polymer-pellet transport barge of the present invention can be used for the transportation of polymer pellets.
  • [REFERENCE SINGS LIST]
    1 polymer-pellet transport ship
    10 cargo hold
    10a hopper part
    11 set of holds for lot
    12 cargo unit
    21 hold loading line
    21a hold selection valve
    22 lot loading line
    22a on-off valve
    22b loading connecting part
    30 on-shore exhaust air purifier
    31 hold air line
    32 lot air line
    32b on-off valve
    32c connecting part
    33 drying line
    34 dryer
    35 compressed air generator
    41 hold unloading line
    41a hold unloading on-off valve
    41b rotary valve
    42 lot unloading line
    42a switch valve
    42b on-off valve
    42P portside unloading line
    42S starboard-side unloading line
    42Pa, 42Sa on-off valve
    42Pb, 42Sb unloading line connecting part
    51 unloading air supply line
    51a on-off valve
    51b connecting part
    52 cleaning line
    52a cleaning nozzle
    100 on-shore loading line
    110 on-shore air exhaust line
    120 on-shore unloading line
    130 on-shore compressed air supply line
    A air for conveyance
    P polymer pellet
    W cleaning water

Claims (9)

  1. A polymer-pellet transport ship which carries polymer pellets of a plurality of kinds without mixing the polymer pellets of the plurality of kinds, wherein
    a plurality of cargo holds for holding polymer pellets are combined together to form a set of holds for lot, and
    hold unloading lines each including a hold unloading on-off valve are provided and connected to lower parts of the cargo holds, and the hold unloading lines are connected to a lot unloading line in an united manner for each set of holds for lot so that first cargo unloading and second cargo unloading may be performed selectively using the lot unloading line, the lot unloading line being connected to an on-shore unloading line, the first cargo unloading being performed to simultaneously unload polymer pellets of a same kind for each set of holds for lot, the second cargo unloading being performed to sequentially unload polymer pellets of different kinds for each cargo hold.
  2. The polymer-pellet transport ship according to claim 1, wherein the hold unloading lines below the cargo holds are each provided with a fixed-quantity discharge valve below the hold unloading on-off valve and also provided with an on-off valve below the fixed-quantity discharge valve.
  3. The polymer-pellet transport ship according to any one of claims 1 and 2, wherein
    air for conveyance is supplied to the lot unloading line from on-shore equipment, and
    the air for conveyance is used to unload the polymer pellets held in the cargo holds.
  4. The polymer-pellet transport ship according to any one of claims 1 to 3, wherein an on-shore controller performs control on cargo unloading equipment inside the polymer-pellet transport ship.
  5. The polymer-pellet transport ship according to any one of claims 1 to 4, comprising a compressed air generator capable of generating a larger amount of air than an amount of air required to unload the polymer pellets held in any one of the cargo holds.
  6. A polymer-pellet transport barge, wherein it is obtained by forming the polymer-pellet transport ship according to any one of claims 1 to 5 into a barge having no propulsion system.
  7. A method for loading and unloading for any one of a polymer-pellet transport ship and a polymer-pellet transport barge in which a plurality of cargo holds for holding polymer pellets are combined together to form a set of holds for lot and which carries polymer pellets of a plurality of kinds without mixing the polymer pellets of the plurality of kinds, the method for loading and unloading comprising selectively performing first cargo unloading and second cargo unloading by using a lot unloading line connected to an on-shore unloading line, the first cargo unloading being performed to simultaneously unload polymer pellets of a same kind for each set of holds for lot, the second cargo unloading being performed to sequentially unload polymer pellets of different kinds for each cargo hold.
  8. The method for loading and unloading for any one of the polymer-pellet transport ship and the polymer-pellet transport barge according to claim 7, comprising:
    supplying air for conveyance to the lot unloading line from on-shore equipment; and
    using the air for conveyance to unload the polymer pellets held in the cargo holds.
  9. The method for loading and unloading for any one of the polymer-pellet transport ship and the polymer-pellet transport barge according to any one of claims 7 and 8, comprising performing cargo unloading and cargo loading by causing an on-shore controller to perform control on cargo-handling equipment inside the any one of the polymer-pellet transport ship and the polymer-pellet transport barge.
EP11823604.1A 2010-09-09 2011-09-07 Polymer-pellet transport ship, polymer-pellet transport barge, and method for loading and unloading same Withdrawn EP2615025A1 (en)

Applications Claiming Priority (2)

Application Number Priority Date Filing Date Title
JP2010201809A JP5363438B2 (en) 2010-09-09 2010-09-09 Polymer pellet carrier, polymer pellet carrier barge, and its cargo handling method
PCT/JP2011/070382 WO2012033130A1 (en) 2010-09-09 2011-09-07 Polymer-pellet transport ship, polymer-pellet transport barge, and method for loading and unloading same

Publications (1)

Publication Number Publication Date
EP2615025A1 true EP2615025A1 (en) 2013-07-17

Family

ID=45810727

Family Applications (1)

Application Number Title Priority Date Filing Date
EP11823604.1A Withdrawn EP2615025A1 (en) 2010-09-09 2011-09-07 Polymer-pellet transport ship, polymer-pellet transport barge, and method for loading and unloading same

Country Status (6)

Country Link
EP (1) EP2615025A1 (en)
JP (1) JP5363438B2 (en)
KR (1) KR101455157B1 (en)
CN (2) CN104787248A (en)
PH (2) PH12013500369A1 (en)
WO (1) WO2012033130A1 (en)

Families Citing this family (3)

* Cited by examiner, † Cited by third party
Publication number Priority date Publication date Assignee Title
JP2014162306A (en) * 2013-02-22 2014-09-08 Mitsubishi Heavy Ind Ltd Natural gas fuel evaporator, natural gas fuel supplying device, and supplying method for natural gas fuel to ship or motor
CN105460619A (en) * 2015-12-21 2016-04-06 新疆天业(集团)有限公司 Method for unloading PVC powder from container
CN113386910A (en) * 2021-06-21 2021-09-14 余勇 Particle material ship parallel-connection and lightering method

Family Cites Families (12)

* Cited by examiner, † Cited by third party
Publication number Priority date Publication date Assignee Title
US2868590A (en) * 1956-04-30 1959-01-13 Simon Ltd Henry Pneumatic conveyors and the like for powdered and granular materials
CN85104841B (en) * 1985-06-24 1988-10-12 麦格雷戈·拿维尔国际公司 tanker
JPS62165193U (en) 1986-04-10 1987-10-20
JP3225443B2 (en) 1991-10-31 2001-11-05 株式会社三井三池製作所 Bulk carrier
JP3327373B2 (en) * 1996-05-23 2002-09-24 日鉱金属株式会社 Carriers for transporting solid and liquid cargo
JP4699618B2 (en) * 2001-02-14 2011-06-15 株式会社三井三池製作所 Bulk carrier
CN2620665Y (en) * 2003-03-26 2004-06-16 林皆得 The cabin automatic unloading device of bulk cargo ship
JP4288141B2 (en) * 2003-11-18 2009-07-01 三井造船株式会社 Gas hydrate transport ship
CN101239652A (en) * 2007-02-06 2008-08-13 周兆弟 Self-discharging method of self-discharging bulk carrier and balk cargo
JP2008260280A (en) * 2007-03-20 2008-10-30 Mitsubishi Chemicals Corp Method for transporting and storing pellet-shaped polyester
CN201321148Y (en) * 2008-12-29 2009-10-07 吴方春 Stone carrying vessel
JP5586002B2 (en) * 2009-09-07 2014-09-10 三井造船株式会社 Bulk carrier and bulk barge

Non-Patent Citations (1)

* Cited by examiner, † Cited by third party
Title
See references of WO2012033130A1 *

Also Published As

Publication number Publication date
KR20130099016A (en) 2013-09-05
CN103124672B (en) 2016-05-25
WO2012033130A1 (en) 2012-03-15
KR101455157B1 (en) 2014-10-27
JP2013014149A (en) 2013-01-24
PH12015502298A1 (en) 2016-01-25
PH12013500369A1 (en) 2016-03-30
CN104787248A (en) 2015-07-22
CN103124672A (en) 2013-05-29
JP5363438B2 (en) 2013-12-11

Similar Documents

Publication Publication Date Title
JP5586002B2 (en) Bulk carrier and bulk barge
US6966272B2 (en) Multi-mode ship for transporting vehicles
CN102596704B (en) Water-borne transportation method for polymer pellets
EP2032426B1 (en) System and method for discharge of bulk material from a ship
EP2615025A1 (en) Polymer-pellet transport ship, polymer-pellet transport barge, and method for loading and unloading same
JP2011116160A (en) Bulker, bulk barge, and method for designing cargo hold
KR101258925B1 (en) Vessel having freight handling machinery using duct keel
JP5657071B2 (en) Onshore equipment for polymer pellet carriers and barges
JP4426367B2 (en) Gas hydrate marine transportation method and gas hydrate marine transportation ship
JP4699618B2 (en) Bulk carrier
JP5583961B2 (en) Bulk carrier, bulk barge and bulk cargo loading method
RS56959B1 (en) Method for tanker construction
CN104386210B (en) A kind of New Marine automatization bulk chemical powder carrier bar induction system
WO2005095197A1 (en) Multi-mode ship for transporting vehicles
CN113830449A (en) Offshore floating grain storage tank and grain unloading system
Florani Cargoes: Cargo damage, Cargo handling and storage on ships and in international ports
US355480A (en) Grain-silo
JP2011111147A (en) Bulk carrier, barge for bulk loading, and method for designing cargo hold
WO2023162350A1 (en) Method for treating gas of floating body, and floating body
JP4552172B2 (en) Bulk carrier
WO2015094121A1 (en) Flat deck barge and method of maximising load capacity
JPS5833159B2 (en) Transportation method by coal processing vessel and coal processing vessel
CA2670993A1 (en) System and method for economic transportation of sulfur

Legal Events

Date Code Title Description
PUAI Public reference made under article 153(3) epc to a published international application that has entered the european phase

Free format text: ORIGINAL CODE: 0009012

17P Request for examination filed

Effective date: 20130405

AK Designated contracting states

Kind code of ref document: A1

Designated state(s): AL AT BE BG CH CY CZ DE DK EE ES FI FR GB GR HR HU IE IS IT LI LT LU LV MC MK MT NL NO PL PT RO RS SE SI SK SM TR

RAP1 Party data changed (applicant data changed or rights of an application transferred)

Owner name: MITSUI O.S.K. LINES, LTD.

DAX Request for extension of the european patent (deleted)
STAA Information on the status of an ep patent application or granted ep patent

Free format text: STATUS: THE APPLICATION IS DEEMED TO BE WITHDRAWN

18D Application deemed to be withdrawn

Effective date: 20170401