EP2441925A1 - Waste heat recovery system - Google Patents

Waste heat recovery system Download PDF

Info

Publication number
EP2441925A1
EP2441925A1 EP10187523A EP10187523A EP2441925A1 EP 2441925 A1 EP2441925 A1 EP 2441925A1 EP 10187523 A EP10187523 A EP 10187523A EP 10187523 A EP10187523 A EP 10187523A EP 2441925 A1 EP2441925 A1 EP 2441925A1
Authority
EP
European Patent Office
Prior art keywords
heat
temperature
working fluid
storage medium
thermal storage
Prior art date
Legal status (The legal status is an assumption and is not a legal conclusion. Google has not performed a legal analysis and makes no representation as to the accuracy of the status listed.)
Withdrawn
Application number
EP10187523A
Other languages
German (de)
French (fr)
Other versions
EP2441925A8 (en
Inventor
Christian Ohler
Current Assignee (The listed assignees may be inaccurate. Google has not performed a legal analysis and makes no representation or warranty as to the accuracy of the list.)
ABB Research Ltd Switzerland
Original Assignee
ABB Research Ltd Switzerland
Priority date (The priority date is an assumption and is not a legal conclusion. Google has not performed a legal analysis and makes no representation as to the accuracy of the date listed.)
Filing date
Publication date
Application filed by ABB Research Ltd Switzerland filed Critical ABB Research Ltd Switzerland
Priority to EP10187523A priority Critical patent/EP2441925A1/en
Priority to PCT/EP2011/067557 priority patent/WO2012049086A1/en
Publication of EP2441925A1 publication Critical patent/EP2441925A1/en
Publication of EP2441925A8 publication Critical patent/EP2441925A8/en
Withdrawn legal-status Critical Current

Links

Images

Classifications

    • FMECHANICAL ENGINEERING; LIGHTING; HEATING; WEAPONS; BLASTING
    • F01MACHINES OR ENGINES IN GENERAL; ENGINE PLANTS IN GENERAL; STEAM ENGINES
    • F01KSTEAM ENGINE PLANTS; STEAM ACCUMULATORS; ENGINE PLANTS NOT OTHERWISE PROVIDED FOR; ENGINES USING SPECIAL WORKING FLUIDS OR CYCLES
    • F01K3/00Plants characterised by the use of steam or heat accumulators, or intermediate steam heaters, therein
    • F01K3/12Plants characterised by the use of steam or heat accumulators, or intermediate steam heaters, therein having two or more accumulators
    • FMECHANICAL ENGINEERING; LIGHTING; HEATING; WEAPONS; BLASTING
    • F01MACHINES OR ENGINES IN GENERAL; ENGINE PLANTS IN GENERAL; STEAM ENGINES
    • F01KSTEAM ENGINE PLANTS; STEAM ACCUMULATORS; ENGINE PLANTS NOT OTHERWISE PROVIDED FOR; ENGINES USING SPECIAL WORKING FLUIDS OR CYCLES
    • F01K25/00Plants or engines characterised by use of special working fluids, not otherwise provided for; Plants operating in closed cycles and not otherwise provided for
    • F01K25/08Plants or engines characterised by use of special working fluids, not otherwise provided for; Plants operating in closed cycles and not otherwise provided for using special vapours
    • F01K25/10Plants or engines characterised by use of special working fluids, not otherwise provided for; Plants operating in closed cycles and not otherwise provided for using special vapours the vapours being cold, e.g. ammonia, carbon dioxide, ether
    • F01K25/103Carbon dioxide

Definitions

  • the invention relates to the field of storing energy.
  • the invention relates to a method for recovering of waste heat and a waste heat recovery system.
  • waste heat may refer to heat produced by machines, electrical equipment and industrial processes that is produced as a by-product by the operation of the respective device or process.
  • waste heat may be used to generate electricity.
  • the waste heat may be stored in a thermoelectric energy storage system and may be later used to generate electricity.
  • the increase in efficiency of the overall system directly relates to the efficiency of the waste heat recovery system.
  • An aspect of the invention relates to a method for recovering of waste heat.
  • the method comprises the step of heating, in a heat recovery cycle, a thermal storage medium with waste heat from a continuous waste heat source to a heat recovery temperature.
  • the heat recovery temperature may be below a waste heat temperature.
  • water as thermal storage medium is heated from a low temperature to the heat recovery temperature by flue gas at the waste heat temperature.
  • the waste heat recovery temperature may be the boiling point of the water.
  • the heated thermal storage medium may be stored in a heat recovery storage, for example an isolated tank. In such a way, in the heat recovery cycle which may be seen as a heat collection step, waste heat may be extracted from a continuous fluid flow (flue gas) and may be transferred to a thermal storage medium that may be stored in a heat recovery storage for future use.
  • the method comprises the step of transferring, in a heat pump cycle, heat from the thermal storage medium at the heat recovery temperature via a working fluid to a thermal storage medium at a temperature above the heat recovery temperature.
  • the temperature above the heat recovery temperature may be referred to as high temperature and the heat recovery temperature may be referred to as intermediate temperature.
  • the expanded working fluid is heated in a heat exchanger by a stream of thermal storage medium at the heat recovery temperature flowing from the heat recovery storage to a low temperature storage. After that, the working fluid is compressed (by adding mechanical energy) and is used for heating a further stream of thermal storage medium to the high temperature.
  • the compressed working fluid may be expanded and heated again. In such a way, the heat pump cycle may be seen as an upgrading step for upgrading the waste heat to a higher temperature.
  • the terms “high”, “intermediate” and “low” may only indicate that the thermal storage medium in the high temperature storage is hotter than the thermal storage medium in the intermediate temperature storage, which is hotter than the thermal storage medium in the low temperature storage. Also, the thermal storage medium or the working fluid in the high temperature heat exchanger may be hotter as the thermal storage medium or the working fluid in the low temperature heat exchanger.
  • the method comprises the step of transferring, in a heat engine cycle, heat in the thermal storage medium of the high temperature to a compressed working fluid and generating mechanical energy by expanding the working fluid.
  • the heat recovered in the heat recovery cycle and upgraded in the heat pump cycle may be used for generating mechanical energy, for example for driving an electrical motor and for generating electricity.
  • the heat engine cycle may be seen as a energy generation step.
  • a further aspect of the invention relates to a waste heat recovery system.
  • the system comprises a thermal storage circuit with a low temperature storage, a heat recovery storage and a high temperature storage.
  • the storages may be tanks connected by lines in which the thermal storage medium is transferred by pumps and valves.
  • the system comprises a heat exchanger in the thermal storage circuit for heating a thermal storage medium flowing from the low temperature storage to the heat recovery storage.
  • This heat exchanger may be used for heating thermal storage medium flowing from the low temperature storage to the heat recovery storage with a continuous waste heat source, for example flue gas.
  • the heat recovery cycle of the system may comprise the heat exchanger, the low temperature storage and the heat recovery storage. Such, the heat recovery cycle may be adapted to execute the heat collection step mentioned above.
  • the system comprises a heat pump cycle containing a working fluid and comprising an expander for expanding the working fluid and a compressor for compressing the working fluid.
  • the heat pump cycle further comprises a first heat exchanger for heating the expanded working fluid by cooling thermal storage medium from the heat recovery storage and a second heat exchanger for heating thermal storage medium flowing to the high temperature storage by cooling the compressed working fluid.
  • the waste heat stored in the heat recovery storage may be upgraded to a higher temperature.
  • the heat pump cycle may be adapted to execute the upgrading step mentioned above.
  • the system comprises a heat engine cycle containing a working fluid and comprising a pump for compressing the working fluid and a turbine for expanding the working fluid.
  • the heat engine cycle comprises a further heat exchanger for heating the compressed working fluid by cooling thermal storage medium flowing from the high temperature storage to the low temperature storage.
  • the further heat exchanger may be the second heat exchanger used for heating the thermal storage medium.
  • the heat engine cycle may comprise a (third) heat exchanger for cooling the expanded working fluid, for example a condenser.
  • the turbine By expanding the working fluid, the turbine generates mechanical work that may be used for driving an electrical motor.
  • the heat engine cycle may be adapted to execute the energy generation step mentioned above.
  • the waste heat recovery system may be seen as a thermoelectric energy storage system that utilizes waste heat in a flue gas.
  • the waste heat may be stored in the storages of the thermo electric storage system and may be used for generating electricity later.
  • the operation of the thermo electric energy storage may utilize waste heat from flue gases or equivalent heat source.
  • the waste heat recovery system as described in the above and in the following may allow continuous harvesting (collecting) of waste heat whenever the heat is available, upgrading of the heat by a heat pump operating on demand at the time of cheap electricity, and on-demand production of electricity by heat engine.
  • the waste heat recovery system combines the concept of a thermoelectric energy storage, that may be based on a transcritical thermodynamic cycle, and the possibility of using low grade waste heat to improve the efficiency factor of the thermoelectric energy storage by partially recovering this waste heat.
  • the waste heat recovery system may elaborate the functionality of waste heat utilization with a thermoelectric energy storage in settings such as waste heat recovery from flue gases of combined cycle power plants.
  • thermoelectric energy storage based on a transcritical thermodynamic cycle will be explained with reference to Fig. 1, Fig. 2 and Fig. 3 .
  • Fig.1 shows the charging cycle 12 or heat pump cycle 12 of a thermoelectric energy storage 10.
  • the charging cycle 12 comprises an expander 14, a heat exchanger 16, a pump 18 and a heat exchanger 20 (in general, all heat exchangers mentioned in the above and in the following are counter current heat exchangers).
  • the heat exchanger may be a gas cooler and gas heater for the working fluid.
  • the thermoelectric energy storage 10 comprises further a thermal storage circuit 22 with a low temperature storage 24 and a high temperature storage 26. As indicated by the dashed line, thermal storage medium may flow from the low temperature storage 24 to the high temperature storage 26 (and vice versa).
  • the charging cycle 12 contains a working fluid flowing through lines indicated by the continuous line. The working fluid heated by waste heat in the heat exchanger 16 and compressed by the compressor 18 is used for heating the thermal storage medium in the heat exchanger 20. After that the working fluid is expanded in the expander 14 and heated in the heat exchanger 26.
  • Fig. 2 shows the discharging cycle 28 or heat engine cycle 28 of the thermoelectric energy storage 10.
  • the working fluid (dotted line) flows through a pump 30 compressing the working fluid, is heated in the heat exchanger 20 and expanded in a turbine 32 generating mechanical energy. After that, the working fluid is condensed in a condenser 31.
  • thermoelectric energy storage 10 comprises two energy conversion modes.
  • first the storage 22 is charged by a heat pump operation (low-temperature heat is upgraded to high-temperature heat by work of the compressor 18).
  • the high-temperature heat may be stored for a time needed.
  • the cycle 12 is reversed and the stored heat is used as a heat source for a heat engine (discharging cycle) 28 which produces electricity with a turbine 32 coupled with a generator.
  • thermoelectric energy storage 10 uses the storage of heat in hot water (the thermal storage medium) and CO 2 as the working fluid operating in a transcritical thermodynamic cycle.
  • the storage 10 operates at rather low temperatures, and may benefit significantly from using low-grade waste heat (typical usable range of waste heat temperature about 40 to 100°C, or up to 400°C in some situations).
  • Fig. 2 shows an ideal T-s diagram of the thermoelectric energy storage 10 charged with utilization of waste heat at temperature T WH .
  • the vertical axis of the diagram indicates the temperature T, the vertical axis the entropy s. Further, in the diagram, lines indicating states of equal pressure (isobars) and lines of equal energy of the working fluid CO 2 are shown.
  • the T-s diagram shows an example of the charging and discharging processes of the thermoelectric storage 10.
  • the charging cycle 12 is adapted to execute the charging process 34 and the discharging cycle 28 is adapted to execute the discharging process 38.
  • the diagram of Fig. 3 is ideal and additional losses are present in a real system.
  • the charging process 34 is indicated by the dashed line, and uses a heat source at temperature T WH (about 80 °C) to reduce the electric work needed to charge the storage (the work is proportional in the diagram to the area enclosed by the line outlining the charging process 34).
  • T WH about 80 °C
  • the working fluid is heated isentropic from T WH to T H , the temperature of the high temperature storage 26 (about 130 °C), as indicated by temperature profile 34a.
  • the working fluid is cooled isobaric from T H to T L , the temperature of the low temperature storage (about 20 °C), as indicated by temperature profile 34b.
  • the working fluid is expanded in the expander 14 isentropic to a temperature of about 15 °C (temperature profile 34c) and isobaric heated to T WH in the heat exchanger 16 (temperature profile 34d).
  • the discharging cycle 28 may use the ambient at temperature T A (about 10 °C) as a heat sink, which allows an increase of the electric work produced from the storage by the heat engine (proportional to the area enclosed by the discharging process 36).
  • T A about 10 °C
  • the working fluid is heated isobaric in the heat exchanger 20 from T L to T H , as indicated by temperature profile 36a.
  • the working fluid is expanded isentropic from T H to T A (temperature profile 36b).
  • the condenser 31 the working fluid is condensed (temperature profile 36c) and after that compressed to T L by pump 30 (temperature profile 36d).
  • the working fluid is transcritical since these temperature profiles are above the critical point of the working fluid.
  • thermoelectric energy storage 10 described in the above and in the following is designed to fulfill functions and comply with constraints as follows:
  • the considered waste heat sources may be frequently not timewise correlated with the ideal times to charge or discharge the thermoelectric energy storage 10. Therefore the system should allow harvesting of the waste heat energy whenever it is available, regardless of the other modes of operations of the thermoelectric energy storage 10.
  • Fig. 4 , 6 , 8 and 10 show a first embodiment of a heat recovery system 40.
  • the heat recovery system comprises a thermoelectric energy storage 10 with a charging cycle 12 and a discharging cycle 28 similar to the cycles shown in Fig. 1 and Fig. 2 .
  • the thermal storage circuit 22 further comprises a first intermediate temperature storage 42, a second intermediate temperature storage 44, a heat recovery storage 46 and a heat exchanger 48 for heating a stream of thermal storage medium flowing from the low temperature storage 24 to the heat recovery storage 46 with flue gas.
  • the storages 24, 42, and 44 may be tanks at ambient pressure, wherein the storage 26 may be a pressurized tank in which liquid water with a temperature above 100 °C may be stored.
  • the storages 42, 44 are used for better matching the temperature profile of the thermal storage medium in the heat exchanger 20 with the temperature profile of the working fluid. Therefore, the heat exchanger 20 is a split stream heat exchanger 20 and the storages 42, 44 are connected to the heat exchanger 20 such that a stream between the low temperature storage 24 and the high temperature storage 26 may be split into two streams with one stream redirected to one of the storages 42, 44 or may be joined with a stream from one of the storages 42, 44.
  • Mechanical work may be introduced into the system over a motor 52, which drives the compressor 18.
  • the mechanical work generated by the turbine 32 may be converted into electricity by a generator 54.
  • Cooling water 56 at ambient temperature is used as medium for cooling the working fluid in the condenser 31.
  • the heat recovery system 40 and the thermoelectric energy storage system 10 are designed to operate in four modes of operation that can be combined depending on the momentary availability of the waste heat and the cost of electricity.
  • the first mode or the heat recovery cycle 54 of the system 40 for the recovery of waste heat will be explained with respect to Fig. 4 and Fig. 5 .
  • the heat recovery cycle 54 operates whenever the waste heat source is available, for example the waste heat source is a flue gas.
  • the heat from the flue gas is transferred into the water that is pumped from the low temperature storage (at a temperature T L of 38°C) to an intermediate storage, the heat recovery storage 46 (at a temperature T R of 100°C), storing the water that was heated by the heat recovered from the waste heat source.
  • Fig. 4 shows a diagram analog to the diagram of Fig. 3 with a temperature profile 56 of the flue gas and a temperature profile 58 of the water used as thermal storage medium in the heat exchanger 48.
  • the temperature profiles 56, 58 may be seen in relation to the isobars of the CO 2 used as working fluid in the heat pump cycle 12 and the heat engine cycle 28. While the flue gas cools down from a temperature T FG1 above the temperature T R to a temperature T FG2 above the temperature T L , the water heats up from T L to T R .
  • waste heat source will be available practically continuously (base load coal power plants, geothermal or depleted geothermal sources, industrial waste heat, etc.), but in some cases it will be available for harvesting only during a part of the day (for example at peak power plants or waste heat from intermittent industrial processes).
  • the heat in the hot water stored in the heat recovery storage 46 is upgraded by operating the CO 2 heat pump.
  • the heat pump cycle 12 consumes electric energy, converting it into heat at a higher grade (i. e. a higher temperature) than the heat recovered from the waste heat source.
  • water from the storage 46 at 100°C is pumped through the countercurrent heat exchanger 16 to heat CO 2 that is the heat pump working fluid.
  • the water is cooled to 38°C and stored in the low temperature storage 24.
  • the temperature of the CO 2 is increased by the compressor 18 to about 125°C, and the heat is transferred with the heat exchanger 20 to water stored in the storages 24, 42, 44, 26.
  • the heat exchanger 20 comprises a split stream system with a low temperature part 20a, an intermediate part 20b and a high temperature part 20c connected together in series.
  • thermal storage medium flows from the low temperature storage 24 through the parts 20a, 20b, 20c to the high temperature storage 26.
  • the first intermediate temperature storage 42 is connected between the parts 20a and 20b with a and the second intermediate temperature storage 44 is connected between the parts 20b and 20c.
  • the heat recovery system 40 is adapted to generate different flowrates in the different parts 20a, 20b, 20c of the heat exchanger joining streams of thermal storage medium from the intermediate storages 42, 44 with a stream between the low temperature storage 24 and the high temperature storage 26 and/or by splitting this stream into two stream and redirecting one of the two stream into one of the intermediate storages 42, 44.
  • the second Mode or the heat pump process may be operated at times of cheap electricity.
  • the net electric power absorbed by the heat pump cycle is proportional to the temperature difference of the heat recovered from the flue gases (or other heat source) and the desired temperature of the hot water storage and the amount of water heated by the heat pump cycle.
  • Fig. 7 shows a diagram analog to the diagrams of Fig. 3 and Fig. 5 , with a temperature profile 34 of the working fluid in the CO2 heat pump cycle 12, a temperature profile 60 of the thermal storage medium in the heat exchanger 16 and a temperature profile 62 of the thermal storage medium in the heat exchanger 20.
  • the thermal storage medium in the heat exchanger 16 flowing from the heat recovery storage 46 to the low temperature storage 24 is cooled from T R (about 38 °C) to T L (about 100 °C), while the working fluid is heated isobaric from a slight lower temperature as T R
  • the temperature profile 60 is the reverse temperature profile 58 of Fig. 5 .
  • the temperature profile 34b of the working fluid is matched with the temperature profile 62 of the thermal storage medium.
  • the thermal storage medium is heated from T L (about 38°C) to T I1 (about 50 °C, temperature profile 62a) while the working fluid is cooled from a temperature slightly higher as T I1 (about 52 °C) to a temperature slightly higher as T L (about 40 °C).
  • the thermal storage medium is heated from T I1 to T I2 (about 75 °C, temperature profile 62b) while the working fluid is cooled from a temperature slightly higher as T I2 (about 80 °C) to the temperature slightly higher as T I1 .
  • the thermal storage medium is heated from T I2 to T H (about 120 °C, temperature profile 62c) while the working fluid is cooled from a temperature slightly higher as T H (about 130 °C) to the temperature slightly higher as T I2 .
  • the work lost in the charging cycle 12 is the area in the diagram between the temperature profile of the working fluid and the temperature profile of the thermal storage medium. Due to the matching of the profiles 34b and 62, this work is minimized and the efficiency factor of the heat pump cycle 12 is increased.
  • the heat engine cycle 28 is run to produce electricity from the upgraded heat produced by the second mode.
  • the water stored at the temperature TH and the split stream tanks 42, 44 is used to heat pressurized CO 2 that circulates in the heat engine circuit 28.
  • the CO 2 subsequently expands in the turbine 32 to produce electricity in the generator 54.
  • the CO 2 is condensed by cooling medium available externally, for example river water 56 or by air coolers 56.
  • Fig. 9 shows a diagram analog to the diagrams of Fig. 3 , 5 and 7 , with a temperature profile 36 of the working fluid in the CO 2 heat engine cycle 28, a temperature profile 64 of the thermal storage medium in the heat exchanger 20 and a temperature profile 66 of the condenser cooling water in the condenser 56.
  • the temperature profile 36a of the working fluid is matched with the temperature profile 64 of the thermal storage medium. Due to the matching of the profiles 36a and 64, the work lost is minimized and the efficiency factor of the heat engine cycle 28 is increased.
  • the thermal storage medium is cooled from T I1 to T L (temperature profile 64a) while the compressed working fluid is heated from a temperature slightly lower as T L (about 34 °C) to a temperature slightly higher as T I1 (about 45 °C).
  • the thermal storage medium is cooled from T I2 to T I1 (temperature profile 64b) while the working fluid is heated from the temperature slightly lower as T I1 to a temperature slightly lower as T I2 (about 72 °C).
  • the thermal storage medium is cooled from T H to T I2 (temperature profile 64c) while the working fluid is heated from the temperature slightly lower as T I2 to a temperature slightly lower as T H (about 117 °C).
  • the temperature profiles 64a, 64b and 64 c are the reverse temperature profiles 62a, 62b and 62c of Fig. 7 .
  • the expanded working fluid in the condenser 31 is condensed at about 20 °C, while being cooled with a cooling medium with a temperature profile 66.
  • the third mode may be normally operated at times of highest electricity prices.
  • the heat recovered in the first mode 12 (in the heat recovery cycle 54), i. e the non-upgraded heat, is used for electricity production.
  • the forth mode may be run as needed from the point of view of optimal operation of the plant (for example to fully use the heat that is not upgraded). Alternatively, it can be used to continuously produce electricity from the waste heat recovery if that is preferred (except when the third mode, i. e. the heat engine cycle 28, is running).
  • the first mode and the forth mode may run in parallel, if the heat is available continuously during peak demand.
  • the heat exchanger 20 has a further split (i.e. is equipped with suitable valves and stream splitters to redirect the flow) between a part 20d and a part 20e.
  • the split between the parts 20d and 20e is in the part 20c of the heat exchanger 20.
  • a stream of storage medium from the heat recovery storage 46 to the low temperature storage 24 is heating the working fluid in the heat pump cycle 28.
  • the operation modes as described in the above may be combined. All the modes may run in parallel in principle (for example, if a separate heat exchanger is used in the heat engine cycle 28 and the heat pump cycle 28).
  • the third and forth mode may run in parallel, only if the heat engine cycle 28 may be specifically designed for that purpose (in particular the turbine 32).
  • the second and forth mode may be in practice exclusive on economical basis.
  • the forth mode might not be used, if the thermoelectric energy storage operation is optimized in such a way that all the heat is always upgraded by the second Mode and used in the third mode.
  • Fig. 12 , 13 and 14 show a second embodiment of a heat recovery system 140.
  • the main difference between the heat recovery system 40 and the heat recovery system 140 is that the heat recovery storage 46 has been unified with the second intermediate storage 44 to the storage 146 and the heat exchanger 28 has been replaced by a split stream heat exchanger 128 receiving thermal storage medium from the first intermediate storage 42.
  • the heat recovery system 140 is designed to minimize the specific consumption of electric energy during charging, i.e. to maximize the round-trip efficiency of the storage (round trip efficiency may be defined as the electric energy discharged from the storage to the electric energy input to the storage during charging).
  • a T-s diagram with ideal cycles representing the charging cycle or process 134 and the discharging cycle or process 136 is shown.
  • the diagram in Fig. 14 is similar to the diagram diagram in Fig. 3 showing the charging and discharging of the thermoelectric energy storage 10 with the usage of waste heat at temperature T WH .
  • the temperature profile 134a, 134b, 134c, 134d, 136a, 136b 136c or 136d corresponds to the respective temperature profile 34a, 34b, 34c, 34d, 36a, 36b 36c or 36d in Fig. 3 , only the temperatures may be different.
  • the work needed for charging or discharging is proportional to the area enclosed by the cycles 134, 136. To maximize the round trip efficiency, the charging work should be minimized given the underlying constraints, such as the temperature T WH of the available waste heat.
  • the waste heat is available at temperature T WH (around 75°C).
  • the waste heat has a temperature T WH above the boiling temperature of water, thus the water may be heated up to 100 °C under ambient pressure.
  • the temperature T WH may be lower.
  • the cold temperature for condensation in the condenser 31 of the heat engine is assumed at T C of about 15°C.
  • the storage 26 for upgraded heat is assumed at a temperature T H of 120°C.
  • the thermodynamic cycles require furthermore heat sources/sinks at a temperature T L of about 30°C (point VII in the T-s diagram) and a temperature of about T I1 50°C (point I in the diagram). These sources and sinks are provided by the low temperature storage 24 and the intermediate storage 42.
  • the storage 146 is used as heat recovery storage and second intermediate storage.
  • the heat recovery system 140 is designed to operate in three modes of operation that can be combined depending on the momentary availability of the waste heat and the cost of electricity.
  • the first mode or the heat recovery cycle 54 of the system 40 for the recovery or harvesting of waste heat will be explained with respect to Fig. 11 .
  • the other modes need the correct ratios of thermal storage medium in the different storages 24, 42, 146, 26, when the correct ratios of flowrates in the parts 20a, 20b, 20c of the heat exchanger 20 should be set and none of the storages 24, 42, 146, 26 should run out of thermal storage medium.
  • the heat harvesting process 54 needs to upgrade heat from the lowest two storages 24, 42 (in the example at temperatures of 30 and 50°C) to the intermediate storage 146 at 75°C. This is performed in the heat exchanger 148 with a single split at 50°C that allows joining the streams from tanks at 30 and 50°C.
  • the thermal storage medium is heated by a flue gas to the temperature of the storage 146.
  • the second mode or the heat pump cycle 12 of the system 140 for the upgrade of heat by a heat pump will be explained with respect to Fig. 12 .
  • the third mode or the heat engine cycle 28 of the system 140 for the generation of electricity from the upgraded heat will be explained with respect to Fig. 13 .
  • the discharging process or heat engine cycle 28 is up to the temperatures close to that in the embodiment shown in Fig. 8 and 9 , and also the thermodynamic cycle is ideally the same.
  • water will be used from storages 26 and 146 at temperatures T H (120 °C) and T I2 (75°C), cooled and stored back in storages 24 and 42 at T L (30 °C) and T I2 (50°C).
  • T H 120 °C
  • T I2 75°C
  • T L (30 °C) and T I2 (50°C)
  • the cooled water will be re-heated to 75°C in the first mode.
  • the forth mode of the heat recovery system 140 i.e. discharging from the intermediate storage temperature T I2 ) may also be implemented with the heat recovery system 40.
  • the capacity and length of operation of the different modes is a matter of optimization of the thermoelectric energy storage plant.
  • the power of the charging or discharging may be independently designed to fit favorably to the periods of cheap and expensive electricity and the availability of waste heat at given site.
  • the heat recovery system 40, 140 described here is an open system and may require external cooling for condensation of the working fluid in discharging modes, e.g. by air coolers, or external water for cooling.
  • the example considered here uses heat extracted from flue gases from a gas fired combined cycle plant as the heat source, but in principle any source of heat at suitable temperatures (temperature range from about 30°C and above can be considered, depending on the temperature of the cold sink) with sufficient energy available can be applicable.
  • the heat sources may include flue gases from coal fired power plants, combined heat and power plants when heat is not used (if properly designed the hot water storage can be shared with the CHP system, using the hot water for electricity generation or heating, depending on demand), incineration plants, geothermal heat sources (including depleted geothermal sites), and industrial waste heat.
  • Other options include synergies with solar power plants, urban waste heat (e.g. sewage), and utilization of temperature difference between deep sea, surface sea and air temperature.
  • the method for recovering of waste heat comprises the steps of: in the heat recovery cycle 54, heating a thermal storage medium with waste heat from a continuous waste heat source to a heat recovery temperature T R ; in the heat pump cycle (12, transferring heat from the thermal storage medium at the heat recovery temperature T R via a working fluid to a thermal storage medium at the temperature T H above the heat recovery temperature T R ; and in the heat engine cycle 28, transferring heat in the thermal storage medium of the high temperature T H to a working fluid and generating mechanical energy by expanding the working fluid.
  • a thermal storage medium at a low temperature T L is heated to the heat recovery temperature T R in the heat exchanger 16.
  • the expanded working fluid is heated by cooling the thermal storage medium of the heat recovery temperature T R to the low temperature T L .
  • a stream of thermal storage medium with a first flowrate at the low temperature T L is heated by the compressed working fluid to a first intermediate temperature T I1 , wherein the stream with a first flowrate is mixed with a stream of thermal storage medium of a second intermediate temperature T I2 or is split into two flows to generate a stream of thermal storage medium of a second flowrate, wherein the stream of the second flowrate is heated by the compressed working fluid to the high temperature T H .
  • the high temperature T H , the intermediate temperature T I1 , T I2 and the low temperature the first flowrate and the second flowrate are set, such that a temperature profile 62, 64 of the thermal storage medium during heating or cooling is matched with a temperature profile 34b, 36a of the working fluid.
  • a maximum temperature difference between the thermal storage medium and the working fluid may be kept below 20%, in particular below 15%, of the temperature difference between the low temperature storage 24 and the high temperature storage 26.
  • a thermal storage medium at a low temperature T L is heated with waste heat, mixed with a thermal storage medium at a first intermediate temperature T I1 and heated to the heat recovery temperature T R , which is the second intermediate temperature T I2 .
  • the expanded working fluid is heated by cooling a first stream of thermal storage medium at the second intermediate temperature TI2 to the first intermediate temperature T I1 .
  • a second stream of thermal storage medium at the second intermediate temperature T I2 is heated by the compressed working fluid to the high temperature T H .
  • the working fluid in the heat pump cycle 12, is compressed in a compressor 18 by an electrical motor 52, for example by using surplus electrical energy whenever available.
  • the thermal storage medium of high temperature T H is cooled by the compressed working fluid to a second intermediate temperature T I2 and mixed with a working fluid of the second intermediate temperature T I2 to generate a different flowrate.
  • the thermal storage medium of the second intermediate temperature T I2 is cooled to a first intermediate temperature T I1 and split into two streams to generate a further different flowrate, wherein one of the streams is cooled by the working fluid to the low temperature T L .
  • the working fluid in the heat engine cycle 28 and/or the heat pump cycle 12, during heat transfer between the working fluid and the thermal storage medium, the working fluid is transcritical (i. e. has a temperature between the low and the high temperature that are set such that the working fluid is transcritical during heat transfer).
  • a flowrate of the thermal storage medium between a low and an intermediate temperature and a flowrate of the thermal storage medium between the intermediate and a high temperature are set, such that during heat transfer, the maximal temperature difference between the thermal storage medium and the working fluid is minimal (for example below 10 °C).
  • the method comprises further the step of: in an additional heat engine cycle 68, transferring heat in the thermal storage medium with the heat recovery temperature T R to a compressed working fluid and generating mechanical energy by expanding the working fluid.
  • the working fluid is expanded in a turbine 32 driving an electrical generator 54.
  • the thermal storage medium is or comprises water.
  • the working fluid is or comprises carbon dioxide.
  • a waste heat recovery system 40, 140 comprises a thermal storage circuit 22 with a low temperature storage 24, a heat recovery storage 46, 146 and a high temperature storage 26; a heat exchanger 48, 148 for heating a thermal storage medium flowing from the low temperature storage 24 to the heat recovery storage 46, 146 with waste heat; a heat pump cycle 12 containing a working fluid and comprising an expander 14 for expanding the working fluid and a compressor 18 for compressing the working fluid; and a heat engine cycle 28 containing a working fluid and comprising a pump 30 for compressing the working fluid and a turbine 32 for expanding the working fluid.
  • the heat pump cycle 12 comprises a heat exchanger 16 for heating the expanded working fluid by cooling thermal storage medium from the heat recovery storage 46, 146.
  • the heat pump cycle 12 comprises a second heat exchanger 20 for heating thermal storage medium flowing to the high temperature storage 26 by cooling the compressed working fluid.
  • the heat engine cycle 28 comprises a second heat exchanger 20 for heating the compressed working fluid by cooling thermal storage medium flowing from the high temperature storage 26 to the low temperature storage 24.
  • the heat engine cycle 28 comprises a condenser 31 for cooling the expanded working fluid.
  • the second heat exchanger 20 for cooling or heating the compressed working fluid of the heat pump cycle 12 and/or the heat engine cycle 28 comprises an internal stream splitter for generating different flowrates in the heat exchanger 20 during heat transfer, wherein the stream splitter mixes a stream of thermal storage medium in the heat exchanger 20 with thermal storage medium from an intermediate temperature storage 42, 44, 146 or splits the stream in the heat exchanger 20 into a stream to be further heated and a stream to the intermediate temperature storage 42, 44, 146.
  • cooled thermal storage medium from the heat recovery storage 46 is cooled to the low temperature T L and flows to the low temperature storage 24.
  • thermal storage medium from the low temperature storage 24 flows through the second heat exchanger 20 and is heated to the high temperature T H .
  • the thermal storage circuit comprises a first intermediate temperature storage 42 and the heat recovery storage 146 is a second intermediate temperature storage.
  • thermal storage medium from the low temperature storage 24 and the first intermediate temperature storage 42 is mixed while being heated to the second intermediate temperature T I2 for the second intermediate temperature storage 146.
  • thermal storage medium from the second intermediate temperature storage 146 is cooled in the first heat exchanger 16 to the first intermediate temperature T I1 for the first intermediate temperature storage 42.
  • thermal storage medium from the second intermediate temperature storage 146 i. e. the heat recovery storage, is heated by the compressed working fluid to the high temperature T H for the high temperature storage 26.

Landscapes

  • Engineering & Computer Science (AREA)
  • Chemical & Material Sciences (AREA)
  • Combustion & Propulsion (AREA)
  • Mechanical Engineering (AREA)
  • General Engineering & Computer Science (AREA)
  • Chemical Kinetics & Catalysis (AREA)
  • Engine Equipment That Uses Special Cycles (AREA)
  • Central Heating Systems (AREA)

Abstract

A system 40 and a method for recovering of waste heat are disclosed in which in a heat recovery cycle 54 waste heat is stored in a storage 46, in a heat pump cycle 12 the heat in the storage 46 is upgraded to heat in a high temperature storage 26, and in a heat engine cycle 28 the upgraded heat in the high temperature storage 62 is used for generating electricity.

Description

    FIELD OF THE INVENTION
  • The invention relates to the field of storing energy. In particular, the invention relates to a method for recovering of waste heat and a waste heat recovery system.
  • BACKGROUND OF THE INVENTION
  • Many industrial processes uses heat as energy carrier. For example, in conventional power plants steam is produced by heating water with coal, fuel or nuclear energy. In most engines, fuel is burnt to heat air. Although a part of the generated heat is converted into mechanical energy, a large part of the generated heat leaves the process (e. g. the plant or the engine) without further use. Such heat may be called waste heat. In general, waste heat may refer to heat produced by machines, electrical equipment and industrial processes that is produced as a by-product by the operation of the respective device or process.
  • To increase the overall efficiency of the industrial process, waste heat may be used to generate electricity. For example, the waste heat may be stored in a thermoelectric energy storage system and may be later used to generate electricity. In this case, the increase in efficiency of the overall system directly relates to the efficiency of the waste heat recovery system.
  • DESCRIPTION OF THE INVENTION
  • It is an object of the invention to increase the efficiency factor of an industrial process generating waste heat.
  • This object is achieved by the subject-matter of the independent claims. Further exemplary embodiments are evident from the dependent claims and the following description.
  • An aspect of the invention relates to a method for recovering of waste heat.
  • According to an embodiment of the invention, the method comprises the step of heating, in a heat recovery cycle, a thermal storage medium with waste heat from a continuous waste heat source to a heat recovery temperature. The heat recovery temperature may be below a waste heat temperature. For example, water as thermal storage medium is heated from a low temperature to the heat recovery temperature by flue gas at the waste heat temperature. For example, the waste heat recovery temperature may be the boiling point of the water. The heated thermal storage medium may be stored in a heat recovery storage, for example an isolated tank. In such a way, in the heat recovery cycle which may be seen as a heat collection step, waste heat may be extracted from a continuous fluid flow (flue gas) and may be transferred to a thermal storage medium that may be stored in a heat recovery storage for future use.
  • According to an embodiment of the invention, the method comprises the step of transferring, in a heat pump cycle, heat from the thermal storage medium at the heat recovery temperature via a working fluid to a thermal storage medium at a temperature above the heat recovery temperature. The temperature above the heat recovery temperature may be referred to as high temperature and the heat recovery temperature may be referred to as intermediate temperature. For example, the expanded working fluid is heated in a heat exchanger by a stream of thermal storage medium at the heat recovery temperature flowing from the heat recovery storage to a low temperature storage. After that, the working fluid is compressed (by adding mechanical energy) and is used for heating a further stream of thermal storage medium to the high temperature. In the end of the cycle, the compressed working fluid may be expanded and heated again. In such a way, the heat pump cycle may be seen as an upgrading step for upgrading the waste heat to a higher temperature.
  • It has to be understood that the terms "high", "intermediate" and "low" may only indicate that the thermal storage medium in the high temperature storage is hotter than the thermal storage medium in the intermediate temperature storage, which is hotter than the thermal storage medium in the low temperature storage. Also, the thermal storage medium or the working fluid in the high temperature heat exchanger may be hotter as the thermal storage medium or the working fluid in the low temperature heat exchanger.
  • According to an embodiment of the invention, the method comprises the step of transferring, in a heat engine cycle, heat in the thermal storage medium of the high temperature to a compressed working fluid and generating mechanical energy by expanding the working fluid. In the heat engine cycle, the heat recovered in the heat recovery cycle and upgraded in the heat pump cycle may be used for generating mechanical energy, for example for driving an electrical motor and for generating electricity. Such, the heat engine cycle may be seen as a energy generation step.
  • It is either possible that at least two of the cycles, i. e. the heat recovery cycle, the heat pump cycle and the heat engine cycle run in parallel. However, to save equipment, in particular heat exchangers and lines, at least the heat pump cycle and the heat engine cycle are executed consecutive.
  • A further aspect of the invention relates to a waste heat recovery system.
  • According to an embodiment of the invention, the system comprises a thermal storage circuit with a low temperature storage, a heat recovery storage and a high temperature storage. The storages may be tanks connected by lines in which the thermal storage medium is transferred by pumps and valves.
  • According to an embodiment of the invention, the system comprises a heat exchanger in the thermal storage circuit for heating a thermal storage medium flowing from the low temperature storage to the heat recovery storage. This heat exchanger may be used for heating thermal storage medium flowing from the low temperature storage to the heat recovery storage with a continuous waste heat source, for example flue gas. The heat recovery cycle of the system may comprise the heat exchanger, the low temperature storage and the heat recovery storage. Such, the heat recovery cycle may be adapted to execute the heat collection step mentioned above.
  • According to an embodiment of the invention, the system comprises a heat pump cycle containing a working fluid and comprising an expander for expanding the working fluid and a compressor for compressing the working fluid. The heat pump cycle further comprises a first heat exchanger for heating the expanded working fluid by cooling thermal storage medium from the heat recovery storage and a second heat exchanger for heating thermal storage medium flowing to the high temperature storage by cooling the compressed working fluid. With the heat pump cycle, the waste heat stored in the heat recovery storage may be upgraded to a higher temperature. Such, the heat pump cycle may be adapted to execute the upgrading step mentioned above.
  • According to an embodiment of the invention, the system comprises a heat engine cycle containing a working fluid and comprising a pump for compressing the working fluid and a turbine for expanding the working fluid. The heat engine cycle comprises a further heat exchanger for heating the compressed working fluid by cooling thermal storage medium flowing from the high temperature storage to the low temperature storage. The further heat exchanger may be the second heat exchanger used for heating the thermal storage medium.
  • Further, the heat engine cycle may comprise a (third) heat exchanger for cooling the expanded working fluid, for example a condenser. By expanding the working fluid, the turbine generates mechanical work that may be used for driving an electrical motor. Such, the heat engine cycle may be adapted to execute the energy generation step mentioned above.
  • The waste heat recovery system may be seen as a thermoelectric energy storage system that utilizes waste heat in a flue gas. The waste heat may be stored in the storages of the thermo electric storage system and may be used for generating electricity later. The operation of the thermo electric energy storage may utilize waste heat from flue gases or equivalent heat source.
  • The waste heat recovery system as described in the above and in the following may allow continuous harvesting (collecting) of waste heat whenever the heat is available, upgrading of the heat by a heat pump operating on demand at the time of cheap electricity, and on-demand production of electricity by heat engine.
  • The waste heat recovery system combines the concept of a thermoelectric energy storage, that may be based on a transcritical thermodynamic cycle, and the possibility of using low grade waste heat to improve the efficiency factor of the thermoelectric energy storage by partially recovering this waste heat.
  • The waste heat recovery system may elaborate the functionality of waste heat utilization with a thermoelectric energy storage in settings such as waste heat recovery from flue gases of combined cycle power plants.
  • It has to be understood that features of the method as described in the above and in the following may be features of the system as described in the above and in the following.
  • If technically possible but not explicitly mentioned, also combinations of embodiments of the invention described in the above and in the following may be embodiments of the method and the system.
  • These and other aspects of the invention will be apparent from and elucidated with reference to the embodiments described hereinafter.
  • BRIEF DESCRIPTION OF THE DRAWINGS
  • The subject matter of the invention will be explained in more detail in the following text with reference to exemplary embodiments which are illustrated in the attached drawings.
    • Fig.1 schematically shows the charging cycle of a thermoelectric energy storage for a heat recovery system according to an embodiment of the invention.
    • Fig.2 schematically shows the discharging cycle of a thermoelectric energy storage for a heat recovery system according to an embodiment of the invention.
    • Fig. 3 shows a diagram indicating an example of the heat pump cycle and heat engine cycle of the thermoelectric storage.
    • Fig. 4 schematically shows a heat recovery system according to an embodiment of the invention with the heat recovery cycle in operation.
    • Fig 5 shows a diagram indicating an example of a heat recovery cycle according to an embodiment of the invention.
    • Fig.6 schematically shows the heat recovery system of Fig. 4 with the heat pump cycle in operation.
    • Fig 7 shows a diagram indicating an example of a heat pump cycle according to an embodiment of the invention.
    • Fig.8 schematically shows the heat recovery system of Fig. 4 with the heat engine cycle in operation.
    • Fig 9 shows a diagram indicating an example of a heat engine cycle according to an embodiment of the invention.
    • Fig. 10 schematically shows the heat recovery system of Fig. 4 with the additional heat engine cycle in operation.
    • Fig. 11 schematically shows a heat recovery system according to a further embodiment of the invention with the heat recovery cycle in operation.
    • Fig. 12 schematically shows the heat recovery system of Fig. 11 with the heat pump cycle in operation.
    • Fig. 13 schematically shows the heat recovery system of Fig. 11 with the heat engine cycle in operation.
    • Fig. 14 shows a diagram indicating an example of a heat pump cycle and a heat engine cycle according to an embodiment of the invention.
  • The reference symbols used in the drawings, and their meanings, are listed in summary form in the list of reference symbols. In principle, identical parts are provided with the same reference symbols in the figures.
  • DETAILED DESCRIPTION OF EXEMPLARY EMBODIMENTS
  • In the following the concept of a thermoelectric energy storage based on a transcritical thermodynamic cycle will be explained with reference to Fig. 1, Fig. 2 and Fig. 3.
  • Fig.1 shows the charging cycle 12 or heat pump cycle 12 of a thermoelectric energy storage 10. The charging cycle 12 comprises an expander 14, a heat exchanger 16, a pump 18 and a heat exchanger 20 (in general, all heat exchangers mentioned in the above and in the following are counter current heat exchangers). The heat exchanger may be a gas cooler and gas heater for the working fluid. The thermoelectric energy storage 10 comprises further a thermal storage circuit 22 with a low temperature storage 24 and a high temperature storage 26. As indicated by the dashed line, thermal storage medium may flow from the low temperature storage 24 to the high temperature storage 26 (and vice versa). The charging cycle 12 contains a working fluid flowing through lines indicated by the continuous line. The working fluid heated by waste heat in the heat exchanger 16 and compressed by the compressor 18 is used for heating the thermal storage medium in the heat exchanger 20. After that the working fluid is expanded in the expander 14 and heated in the heat exchanger 26.
  • Fig. 2 shows the discharging cycle 28 or heat engine cycle 28 of the thermoelectric energy storage 10. The working fluid (dotted line) flows through a pump 30 compressing the working fluid, is heated in the heat exchanger 20 and expanded in a turbine 32 generating mechanical energy. After that, the working fluid is condensed in a condenser 31.
  • The operation of the thermoelectric energy storage 10 comprises two energy conversion modes. In the first mode (charging cycle 12), first the storage 22 is charged by a heat pump operation (low-temperature heat is upgraded to high-temperature heat by work of the compressor 18). The high-temperature heat may be stored for a time needed. When electricity production is required, the cycle 12 is reversed and the stored heat is used as a heat source for a heat engine (discharging cycle) 28 which produces electricity with a turbine 32 coupled with a generator.
  • The basic design of the thermoelectric energy storage 10 uses the storage of heat in hot water (the thermal storage medium) and CO2 as the working fluid operating in a transcritical thermodynamic cycle. As a result, the storage 10 operates at rather low temperatures, and may benefit significantly from using low-grade waste heat (typical usable range of waste heat temperature about 40 to 100°C, or up to 400°C in some situations).
  • Fig. 2 shows an ideal T-s diagram of the thermoelectric energy storage 10 charged with utilization of waste heat at temperature T WH. The vertical axis of the diagram indicates the temperature T, the vertical axis the entropy s. Further, in the diagram, lines indicating states of equal pressure (isobars) and lines of equal energy of the working fluid CO2 are shown.
  • The T-s diagram shows an example of the charging and discharging processes of the thermoelectric storage 10. The charging cycle 12 is adapted to execute the charging process 34 and the discharging cycle 28 is adapted to execute the discharging process 38. The diagram of Fig. 3 is ideal and additional losses are present in a real system.
  • The charging process 34 is indicated by the dashed line, and uses a heat source at temperature T WH (about 80 °C) to reduce the electric work needed to charge the storage (the work is proportional in the diagram to the area enclosed by the line outlining the charging process 34). In particular, in the compressor 18, the working fluid is heated isentropic from T WH to TH, the temperature of the high temperature storage 26 (about 130 °C), as indicated by temperature profile 34a. In the heat exchanger 20, the working fluid is cooled isobaric from TH to TL, the temperature of the low temperature storage (about 20 °C), as indicated by temperature profile 34b. After that the working fluid is expanded in the expander 14 isentropic to a temperature of about 15 °C (temperature profile 34c) and isobaric heated to TWH in the heat exchanger 16 (temperature profile 34d).
  • By executing the discharging process 36, the discharging cycle 28 on the other hand may use the ambient at temperature T A (about 10 °C) as a heat sink, which allows an increase of the electric work produced from the storage by the heat engine (proportional to the area enclosed by the discharging process 36). In particular, the working fluid is heated isobaric in the heat exchanger 20 from TL to TH, as indicated by temperature profile 36a. In the turbine 32, the working fluid is expanded isentropic from TH to TA (temperature profile 36b). In the condenser 31, the working fluid is condensed (temperature profile 36c) and after that compressed to TL by pump 30 (temperature profile 36d). During the state changes of the temperature profiles 34b, 34d, 36a, the working fluid is transcritical since these temperature profiles are above the critical point of the working fluid.
  • The thermoelectric energy storage 10 described in the above and in the following is designed to fulfill functions and comply with constraints as follows:
    • The system is to utilize waste heat in the range of temperatures of about 40 to 100°C in order to improve thermoelectric energy storage round-trip-efficiency (defined as ratio of the electric energy output to electric energy input to the system) at sites with waste heat available.
    • The system allows electric energy storage, i.e. the system includes a mode of operation in which the recovered heat is further upgraded to a higher temperature by a heat pump, which consumes/stores the electric energy.
  • The considered waste heat sources may be frequently not timewise correlated with the ideal times to charge or discharge the thermoelectric energy storage 10. Therefore the system should allow harvesting of the waste heat energy whenever it is available, regardless of the other modes of operations of the thermoelectric energy storage 10.
  • Fig. 4, 6, 8 and 10 show a first embodiment of a heat recovery system 40. The heat recovery system comprises a thermoelectric energy storage 10 with a charging cycle 12 and a discharging cycle 28 similar to the cycles shown in Fig. 1 and Fig. 2.
  • The thermal storage circuit 22 further comprises a first intermediate temperature storage 42, a second intermediate temperature storage 44, a heat recovery storage 46 and a heat exchanger 48 for heating a stream of thermal storage medium flowing from the low temperature storage 24 to the heat recovery storage 46 with flue gas. The storages 24, 42, and 44 may be tanks at ambient pressure, wherein the storage 26 may be a pressurized tank in which liquid water with a temperature above 100 °C may be stored.
  • The storages 42, 44 are used for better matching the temperature profile of the thermal storage medium in the heat exchanger 20 with the temperature profile of the working fluid. Therefore, the heat exchanger 20 is a split stream heat exchanger 20 and the storages 42, 44 are connected to the heat exchanger 20 such that a stream between the low temperature storage 24 and the high temperature storage 26 may be split into two streams with one stream redirected to one of the storages 42, 44 or may be joined with a stream from one of the storages 42, 44.
  • Mechanical work may be introduced into the system over a motor 52, which drives the compressor 18. The mechanical work generated by the turbine 32 may be converted into electricity by a generator 54.
  • Cooling water 56 at ambient temperature, for example from a river, is used as medium for cooling the working fluid in the condenser 31.
  • The heat recovery system 40 and the thermoelectric energy storage system 10 are designed to operate in four modes of operation that can be combined depending on the momentary availability of the waste heat and the cost of electricity.
  • The first mode or the heat recovery cycle 54 of the system 40 for the recovery of waste heat will be explained with respect to Fig. 4 and Fig. 5.
  • The heat recovery cycle 54 operates whenever the waste heat source is available, for example the waste heat source is a flue gas. The heat from the flue gas is transferred into the water that is pumped from the low temperature storage (at a temperature TL of 38°C) to an intermediate storage, the heat recovery storage 46 (at a temperature TR of 100°C), storing the water that was heated by the heat recovered from the waste heat source.
  • Fig. 4 shows a diagram analog to the diagram of Fig. 3 with a temperature profile 56 of the flue gas and a temperature profile 58 of the water used as thermal storage medium in the heat exchanger 48. The temperature profiles 56, 58 may be seen in relation to the isobars of the CO2 used as working fluid in the heat pump cycle 12 and the heat engine cycle 28. While the flue gas cools down from a temperature TFG1 above the temperature TR to a temperature TFG2 above the temperature TL, the water heats up from TL to TR.
  • In many cases the waste heat source will be available practically continuously (base load coal power plants, geothermal or depleted geothermal sources, industrial waste heat, etc.), but in some cases it will be available for harvesting only during a part of the day (for example at peak power plants or waste heat from intermittent industrial processes).
  • The second mode or the heat pump cycle 12 of the system 40 for the upgrade of heat by a heat pump will be explained with respect to Fig. 6 and Fig. 7.
  • In the heat pump cycle 12, the heat in the hot water stored in the heat recovery storage 46 is upgraded by operating the CO2 heat pump. In this mode the heat pump cycle 12 consumes electric energy, converting it into heat at a higher grade (i. e. a higher temperature) than the heat recovered from the waste heat source.
  • In the heat recovery cycle 12, water from the storage 46 at 100°C is pumped through the countercurrent heat exchanger 16 to heat CO2 that is the heat pump working fluid. The water is cooled to 38°C and stored in the low temperature storage 24. On the CO2 side the temperature of the CO2 is increased by the compressor 18 to about 125°C, and the heat is transferred with the heat exchanger 20 to water stored in the storages 24, 42, 44, 26.
  • The heat exchanger 20 comprises a split stream system with a low temperature part 20a, an intermediate part 20b and a high temperature part 20c connected together in series. During charging of the system 10, thermal storage medium flows from the low temperature storage 24 through the parts 20a, 20b, 20c to the high temperature storage 26. The first intermediate temperature storage 42 is connected between the parts 20a and 20b with a and the second intermediate temperature storage 44 is connected between the parts 20b and 20c.
  • The heat recovery system 40 is adapted to generate different flowrates in the different parts 20a, 20b, 20c of the heat exchanger joining streams of thermal storage medium from the intermediate storages 42, 44 with a stream between the low temperature storage 24 and the high temperature storage 26 and/or by splitting this stream into two stream and redirecting one of the two stream into one of the intermediate storages 42, 44.
  • The second Mode or the heat pump process may be operated at times of cheap electricity. The net electric power absorbed by the heat pump cycle is proportional to the temperature difference of the heat recovered from the flue gases (or other heat source) and the desired temperature of the hot water storage and the amount of water heated by the heat pump cycle.
  • Fig. 7 shows a diagram analog to the diagrams of Fig. 3 and Fig. 5, with a temperature profile 34 of the working fluid in the CO2 heat pump cycle 12, a temperature profile 60 of the thermal storage medium in the heat exchanger 16 and a temperature profile 62 of the thermal storage medium in the heat exchanger 20.
  • The thermal storage medium in the heat exchanger 16 flowing from the heat recovery storage 46 to the low temperature storage 24 is cooled from TR (about 38 °C) to TL (about 100 °C), while the working fluid is heated isobaric from a slight lower temperature as TR
  • (about 35 °C) to a slight lower temperature as TL (about 95 °C). This is indicated by the temperature profiles 60 and 34d. In principle, the temperature profile 60 is the reverse temperature profile 58 of Fig. 5.
  • Due to the split stream heat exchanger 20, the temperature profile 34b of the working fluid is matched with the temperature profile 62 of the thermal storage medium. In the first part 20a of the heat exchanger 20, the thermal storage medium is heated from TL (about 38°C) to TI1 (about 50 °C, temperature profile 62a) while the working fluid is cooled from a temperature slightly higher as TI1 (about 52 °C) to a temperature slightly higher as TL (about 40 °C). In the second part 20b, the thermal storage medium is heated from TI1 to TI2 (about 75 °C, temperature profile 62b) while the working fluid is cooled from a temperature slightly higher as TI2 (about 80 °C) to the temperature slightly higher as TI1. In the third part 20c, the thermal storage medium is heated from TI2 to TH (about 120 °C, temperature profile 62c) while the working fluid is cooled from a temperature slightly higher as TH (about 130 °C) to the temperature slightly higher as TI2.
  • The work lost in the charging cycle 12 is the area in the diagram between the temperature profile of the working fluid and the temperature profile of the thermal storage medium. Due to the matching of the profiles 34b and 62, this work is minimized and the efficiency factor of the heat pump cycle 12 is increased.
  • The third mode or the heat engine cycle 28 of the system 40 for the generation of electricity from the upgraded heat will be explained with respect to Fig. 8 and Fig. 9.
  • In the third mode the heat engine cycle 28 is run to produce electricity from the upgraded heat produced by the second mode. The water stored at the temperature TH and the split stream tanks 42, 44 is used to heat pressurized CO2 that circulates in the heat engine circuit 28. The CO2 subsequently expands in the turbine 32 to produce electricity in the generator 54. The CO2 is condensed by cooling medium available externally, for example river water 56 or by air coolers 56.
  • Fig. 9 shows a diagram analog to the diagrams of Fig. 3, 5 and 7, with a temperature profile 36 of the working fluid in the CO2 heat engine cycle 28, a temperature profile 64 of the thermal storage medium in the heat exchanger 20 and a temperature profile 66 of the condenser cooling water in the condenser 56.
  • Due to the split stream heat exchanger 20, the temperature profile 36a of the working fluid is matched with the temperature profile 64 of the thermal storage medium. Due to the matching of the profiles 36a and 64, the work lost is minimized and the efficiency factor of the heat engine cycle 28 is increased.
  • In the first part 20a of the heat exchanger 20, the thermal storage medium is cooled from TI1 to TL (temperature profile 64a) while the compressed working fluid is heated from a temperature slightly lower as TL (about 34 °C) to a temperature slightly higher as TI1 (about 45 °C). In the second part 20b, the thermal storage medium is cooled from TI2 to TI1 (temperature profile 64b) while the working fluid is heated from the temperature slightly lower as TI1 to a temperature slightly lower as TI2 (about 72 °C). In the third part 20c, the thermal storage medium is cooled from TH to TI2 (temperature profile 64c) while the working fluid is heated from the temperature slightly lower as TI2 to a temperature slightly lower as TH (about 117 °C). In principle, the temperature profiles 64a, 64b and 64 c are the reverse temperature profiles 62a, 62b and 62c of Fig. 7.
  • The expanded working fluid in the condenser 31 is condensed at about 20 °C, while being cooled with a cooling medium with a temperature profile 66.
  • The third mode may be normally operated at times of highest electricity prices.
  • The forth mode or an additional heat engine cycle 68 of the system 40 for the (direct) generation of electricity from recovered heat will be explained with respect to Fig. 10.
  • In the forth mode or the additional heat engine cycle 68 the heat recovered in the first mode 12 (in the heat recovery cycle 54), i. e the non-upgraded heat, is used for electricity production. The forth mode may be run as needed from the point of view of optimal operation of the plant (for example to fully use the heat that is not upgraded). Alternatively, it can be used to continuously produce electricity from the waste heat recovery if that is preferred (except when the third mode, i. e. the heat engine cycle 28, is running). Hence, the first mode and the forth mode may run in parallel, if the heat is available continuously during peak demand.
  • The heat exchanger 20 has a further split (i.e. is equipped with suitable valves and stream splitters to redirect the flow) between a part 20d and a part 20e. The split between the parts 20d and 20e is in the part 20c of the heat exchanger 20. A stream of storage medium from the heat recovery storage 46 to the low temperature storage 24 is heating the working fluid in the heat pump cycle 28.
  • The operation modes as described in the above may be combined. All the modes may run in parallel in principle (for example, if a separate heat exchanger is used in the heat engine cycle 28 and the heat pump cycle 28).
  • The third and forth mode may run in parallel, only if the heat engine cycle 28 may be specifically designed for that purpose (in particular the turbine 32).
  • The second and forth mode may be in practice exclusive on economical basis.
  • The forth mode might not be used, if the thermoelectric energy storage operation is optimized in such a way that all the heat is always upgraded by the second Mode and used in the third mode.
  • Fig. 12, 13 and 14 show a second embodiment of a heat recovery system 140. The main difference between the heat recovery system 40 and the heat recovery system 140 is that the heat recovery storage 46 has been unified with the second intermediate storage 44 to the storage 146 and the heat exchanger 28 has been replaced by a split stream heat exchanger 128 receiving thermal storage medium from the first intermediate storage 42.
  • The heat recovery system 140 is designed to minimize the specific consumption of electric energy during charging, i.e. to maximize the round-trip efficiency of the storage (round trip efficiency may be defined as the electric energy discharged from the storage to the electric energy input to the storage during charging).
  • In Fig. 14 a T-s diagram with ideal cycles representing the charging cycle or process 134 and the discharging cycle or process 136 is shown. The diagram in Fig. 14 is similar to the diagram diagram in Fig. 3 showing the charging and discharging of the thermoelectric energy storage 10 with the usage of waste heat at temperature T WH. The temperature profile 134a, 134b, 134c, 134d, 136a, 136b 136c or 136d corresponds to the respective temperature profile 34a, 34b, 34c, 34d, 36a, 36b 36c or 36d in Fig. 3, only the temperatures may be different.
  • The work needed for charging or discharging is proportional to the area enclosed by the cycles 134, 136. To maximize the round trip efficiency, the charging work should be minimized given the underlying constraints, such as the temperature TWH of the available waste heat.
  • In this embodiment, the waste heat is available at temperature T WH (around 75°C). In the embodiment of the heat recovery system shown in the Fig. 4 to 10, the waste heat has a temperature TWH above the boiling temperature of water, thus the water may be heated up to 100 °C under ambient pressure. In the present embodiment, the temperature TWH may be lower. The cold temperature for condensation in the condenser 31 of the heat engine is assumed at T C of about 15°C.
  • The storage 26 for upgraded heat is assumed at a temperature TH of 120°C. For high efficiency, the thermodynamic cycles require furthermore heat sources/sinks at a temperature TL of about 30°C (point VII in the T-s diagram) and a temperature of about TI1 50°C (point I in the diagram). These sources and sinks are provided by the low temperature storage 24 and the intermediate storage 42.
  • Given the storage temperature TH (120°C) and the waste heat source temperature TWH (75°C), together with the requirement to close the charging and discharging cycles, the highest round trip efficiency is achieved (in ideal case) if the points II and IV in the charging diagram are at the same temperature, corresponding to the same water tank. Thus, the storage 146 is used as heat recovery storage and second intermediate storage.
  • The heat recovery system 140 is designed to operate in three modes of operation that can be combined depending on the momentary availability of the waste heat and the cost of electricity.
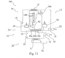
  • The first mode or the heat recovery cycle 54 of the system 40 for the recovery or harvesting of waste heat will be explained with respect to Fig. 11.
  • In a closed system, the other modes (the heat pump cycle 12 and the heat engine cycle 28) need the correct ratios of thermal storage medium in the different storages 24, 42, 146, 26, when the correct ratios of flowrates in the parts 20a, 20b, 20c of the heat exchanger 20 should be set and none of the storages 24, 42, 146, 26 should run out of thermal storage medium.
  • In this case, the heat harvesting process 54 needs to upgrade heat from the lowest two storages 24, 42 (in the example at temperatures of 30 and 50°C) to the intermediate storage 146 at 75°C. This is performed in the heat exchanger 148 with a single split at 50°C that allows joining the streams from tanks at 30 and 50°C.
  • As in the first mode of recovery system 40, the thermal storage medium is heated by a flue gas to the temperature of the storage 146.
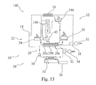
  • The second mode or the heat pump cycle 12 of the system 140 for the upgrade of heat by a heat pump will be explained with respect to Fig. 12.
  • The water from the intermediate storage tank 146 at THW = TR = TI2 (about 75°C) is used for two purposes: A first part of the water is used as the heat source in the evaporator (heat exchanger) 16 of the heat pump cycle 12. In the heat exchanger 16, the water is cooled to TI1 (about 50°C) in this process and stored back in the storage 42. Another part of the water is heated from 75°C to 120°C in the gas cooler of the heat pump (heat exchanger 20, in particular its part 20c) and stored in the high temperature storage 26 for discharging.
  • The heat pump cycle 12 operates in this point as a reversed Brayton cycle, and is principally used to split the water at TWH = TI2 (75°C) to the high and low temperature levels TI1 and TI2, absorbing the electric energy to be stored by compressor work.
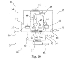
  • The third mode or the heat engine cycle 28 of the system 140 for the generation of electricity from the upgraded heat will be explained with respect to Fig. 13.
  • The discharging process or heat engine cycle 28 is up to the temperatures close to that in the embodiment shown in Fig. 8 and 9, and also the thermodynamic cycle is ideally the same. During this process, water will be used from storages 26 and 146 at temperatures TH (120 °C) and TI2 (75°C), cooled and stored back in storages 24 and 42 at TL (30 °C) and TI2 (50°C). In the next storage sequence, the cooled water will be re-heated to 75°C in the first mode.
  • If the waste heat source is at high enough temperature TWH, the forth mode of the heat recovery system 140 (i.e. discharging from the intermediate storage temperature TI2) may also be implemented with the heat recovery system 40.
  • The capacity and length of operation of the different modes is a matter of optimization of the thermoelectric energy storage plant. The power of the charging or discharging may be independently designed to fit favorably to the periods of cheap and expensive electricity and the availability of waste heat at given site.
  • The heat recovery system 40, 140 described here is an open system and may require external cooling for condensation of the working fluid in discharging modes, e.g. by air coolers, or external water for cooling.
  • The example considered here uses heat extracted from flue gases from a gas fired combined cycle plant as the heat source, but in principle any source of heat at suitable temperatures (temperature range from about 30°C and above can be considered, depending on the temperature of the cold sink) with sufficient energy available can be applicable.
  • The heat sources may include flue gases from coal fired power plants, combined heat and power plants when heat is not used (if properly designed the hot water storage can be shared with the CHP system, using the hot water for electricity generation or heating, depending on demand), incineration plants, geothermal heat sources (including depleted geothermal sites), and industrial waste heat. Other options include synergies with solar power plants, urban waste heat (e.g. sewage), and utilization of temperature difference between deep sea, surface sea and air temperature.
  • To summarize, according to an embodiment of the invention, the method for recovering of waste heat, comprises the steps of: in the heat recovery cycle 54, heating a thermal storage medium with waste heat from a continuous waste heat source to a heat recovery temperature TR; in the heat pump cycle (12, transferring heat from the thermal storage medium at the heat recovery temperature TR via a working fluid to a thermal storage medium at the temperature TH above the heat recovery temperature TR; and in the heat engine cycle 28, transferring heat in the thermal storage medium of the high temperature TH to a working fluid and generating mechanical energy by expanding the working fluid.
  • According to an embodiment of the invention, in the heat recovery cycle 28, a thermal storage medium at a low temperature TL is heated to the heat recovery temperature TR in the heat exchanger 16.
  • According to an embodiment of the invention, in the heat pump cycle 12, the expanded working fluid is heated by cooling the thermal storage medium of the heat recovery temperature TR to the low temperature TL.
  • According to an embodiment of the invention, in the heat pump cycle 12, a stream of thermal storage medium with a first flowrate at the low temperature TL is heated by the compressed working fluid to a first intermediate temperature TI1, wherein the stream with a first flowrate is mixed with a stream of thermal storage medium of a second intermediate temperature TI2 or is split into two flows to generate a stream of thermal storage medium of a second flowrate, wherein the stream of the second flowrate is heated by the compressed working fluid to the high temperature TH.
  • According to an embodiment of the invention, the high temperature TH, the intermediate temperature TI1, TI2 and the low temperature the first flowrate and the second flowrate are set, such that a temperature profile 62, 64 of the thermal storage medium during heating or cooling is matched with a temperature profile 34b, 36a of the working fluid. In such a way, by minimizing the area between the temperature profiles, the efficiency of the heat pump cycle 12 and the heat engine cycle 28 may be increased. For example, a maximum temperature difference between the thermal storage medium and the working fluid may be kept below 20%, in particular below 15%, of the temperature difference between the low temperature storage 24 and the high temperature storage 26.
  • According to an embodiment of the invention, in the heat recovery cycle 54, a thermal storage medium at a low temperature TL is heated with waste heat, mixed with a thermal storage medium at a first intermediate temperature TI1 and heated to the heat recovery temperature TR, which is the second intermediate temperature TI2.
  • According to an embodiment of the invention, in the heat pump cycle 12, the expanded working fluid is heated by cooling a first stream of thermal storage medium at the second intermediate temperature TI2 to the first intermediate temperature TI1.
  • According to an embodiment of the invention, in the heat pump cycle 12, a second stream of thermal storage medium at the second intermediate temperature TI2 is heated by the compressed working fluid to the high temperature TH.
  • According to an embodiment of the invention, in the heat pump cycle 12, the working fluid is compressed in a compressor 18 by an electrical motor 52, for example by using surplus electrical energy whenever available.
  • According to an embodiment of the invention, in the heat engine cycle 28, the thermal storage medium of high temperature TH is cooled by the compressed working fluid to a second intermediate temperature TI2 and mixed with a working fluid of the second intermediate temperature TI2 to generate a different flowrate.
  • According to an embodiment of the invention, in the heat engine cycle 28, the thermal storage medium of the second intermediate temperature TI2 is cooled to a first intermediate temperature TI1 and split into two streams to generate a further different flowrate, wherein one of the streams is cooled by the working fluid to the low temperature TL.
  • According to an embodiment of the invention, in the heat engine cycle 28 and/or the heat pump cycle 12, during heat transfer between the working fluid and the thermal storage medium, the working fluid is transcritical (i. e. has a temperature between the low and the high temperature that are set such that the working fluid is transcritical during heat transfer).
  • According to an embodiment of the invention, in the heat engine 28 cycle and/or the heat pump cycle 12, during heat transfer between the working fluid and the thermal storage medium, a flowrate of the thermal storage medium between a low and an intermediate temperature and a flowrate of the thermal storage medium between the intermediate and a high temperature are set, such that during heat transfer, the maximal temperature difference between the thermal storage medium and the working fluid is minimal (for example below 10 °C).
  • According to an embodiment of the invention, the method comprises further the step of: in an additional heat engine cycle 68, transferring heat in the thermal storage medium with the heat recovery temperature TR to a compressed working fluid and generating mechanical energy by expanding the working fluid.
  • According to an embodiment of the invention, in the heat engine cycle 28 or the additional heat engine cycle 68, the working fluid is expanded in a turbine 32 driving an electrical generator 54.
  • According to an embodiment of the invention, the thermal storage medium is or comprises water.
  • According to an embodiment of the invention, the working fluid is or comprises carbon dioxide.
  • According to an embodiment of the invention, a waste heat recovery system 40, 140 comprises a thermal storage circuit 22 with a low temperature storage 24, a heat recovery storage 46, 146 and a high temperature storage 26; a heat exchanger 48, 148 for heating a thermal storage medium flowing from the low temperature storage 24 to the heat recovery storage 46, 146 with waste heat; a heat pump cycle 12 containing a working fluid and comprising an expander 14 for expanding the working fluid and a compressor 18 for compressing the working fluid; and a heat engine cycle 28 containing a working fluid and comprising a pump 30 for compressing the working fluid and a turbine 32 for expanding the working fluid.
  • According to an embodiment of the invention, the heat pump cycle 12 comprises a heat exchanger 16 for heating the expanded working fluid by cooling thermal storage medium from the heat recovery storage 46, 146.
  • According to an embodiment of the invention, the heat pump cycle 12 comprises a second heat exchanger 20 for heating thermal storage medium flowing to the high temperature storage 26 by cooling the compressed working fluid.
  • According to an embodiment of the invention, the heat engine cycle 28 comprises a second heat exchanger 20 for heating the compressed working fluid by cooling thermal storage medium flowing from the high temperature storage 26 to the low temperature storage 24.
  • According to an embodiment of the invention, the heat engine cycle 28 comprises a condenser 31 for cooling the expanded working fluid.
  • According to an embodiment of the invention, the second heat exchanger 20 for cooling or heating the compressed working fluid of the heat pump cycle 12 and/or the heat engine cycle 28 comprises an internal stream splitter for generating different flowrates in the heat exchanger 20 during heat transfer, wherein the stream splitter mixes a stream of thermal storage medium in the heat exchanger 20 with thermal storage medium from an intermediate temperature storage 42, 44, 146 or splits the stream in the heat exchanger 20 into a stream to be further heated and a stream to the intermediate temperature storage 42, 44, 146.
  • According to an embodiment of the invention, in the heat pump cycle 12 cooled thermal storage medium from the heat recovery storage 46 is cooled to the low temperature TL and flows to the low temperature storage 24.
  • According to an embodiment of the invention, in the heat pump cycle 12 thermal storage medium from the low temperature storage 24 flows through the second heat exchanger 20 and is heated to the high temperature TH.
  • According to an embodiment of the invention, the thermal storage circuit comprises a first intermediate temperature storage 42 and the heat recovery storage 146 is a second intermediate temperature storage.
  • According to an embodiment of the invention, in the heat recovery cycle 54, thermal storage medium from the low temperature storage 24 and the first intermediate temperature storage 42 is mixed while being heated to the second intermediate temperature TI2 for the second intermediate temperature storage 146.
  • According to an embodiment of the invention, in the heat pump cycle 12, thermal storage medium from the second intermediate temperature storage 146 is cooled in the first heat exchanger 16 to the first intermediate temperature TI1 for the first intermediate temperature storage 42.
  • According to an embodiment of the invention, in the heat pump cycle 12, thermal storage medium from the second intermediate temperature storage 146, i. e. the heat recovery storage, is heated by the compressed working fluid to the high temperature TH for the high temperature storage 26.
  • While the invention has been illustrated and described in detail in the drawings and foregoing description, such illustration and description are to be considered illustrative or exemplary and not restrictive; the invention is not limited to the disclosed embodiments. Other variations to the disclosed embodiments can be understood and effected by those skilled in the art and practising the claimed invention, from a study of the drawings, the disclosure, and the appended claims. In the claims, the word "comprising" does not exclude other elements or steps, and the indefinite article "a" or "an" does not exclude a plurality. A single processor or controller or other unit may fulfil the functions of several items recited in the claims. The mere fact that certain measures are recited in mutually different dependent claims does not indicate that a combination of these measures cannot be used to advantage. Any reference symbol in the claims should not be construed as limiting the scope.
  • LIST OF REFERENCE SYMBOLS
  • 10
    thermoelectric storage system
    12
    charging cycle / heat pump cycle
    14
    expander
    16
    heat exchanger
    18
    compressor
    20
    heat exchanger
    22
    thermal storage circuit
    24
    low temperature storage
    26
    high temperature storage
    28
    discharging cycle / heat engine cycle
    30
    pump
    31
    condenser
    32
    turbine
    34, 134
    charging process, temperature profile of working fluid
    36, 136
    discharging process, temperature profile of working fluid
    40, 140
    heat recovery system
    42
    first intermediate temperature storage
    44
    first intermediate temperature storage
    46, 146
    heat recovery storage
    48, 148
    heat exchanger
    50
    motor
    52
    generator
    54
    heat recovery cycle
    56
    temperature profile of flue gas
    58
    temperature profile of thermal storage medium
    60
    temperature profile of thermal storage medium
    62
    temperature profile of thermal storage medium
    64
    temperature profile of thermal storage medium
    66
    temperature of cooling medium
    68
    additional heat engine cycle

Claims (15)

  1. A method for recovering of waste heat, comprising the steps of:
    in a heat recovery cycle (54), heating a thermal storage medium with waste heat from a continuous waste heat source to a heat recovery temperature (TR);
    in a heat pump cycle (12), transferring heat from the thermal storage medium at the heat recovery temperature (TR) via a working fluid to a thermal storage medium at a temperature (TH) above the heat recovery temperature (TR);
    in a heat engine cycle (28), transferring heat in the thermal storage medium of the high temperature (TH) to a working fluid and generating mechanical energy by expanding the working fluid.
  2. The method of claim 1,
    wherein in the heat recovery cycle (28), a thermal storage medium at a low temperature (TL) is heated to the heat recovery temperature (TR).
  3. The method of claim 1 or 2,
    wherein in the heat pump cycle (12), the working fluid is heated by cooling the thermal storage medium of the heat recovery temperature (TR) to a low temperature (TL).
  4. The method of one of the preceding claims,
    wherein in the heat pump cycle (12), a stream of thermal storage medium with a first flowrate at a low temperature (TL) is heated by the working fluid to a first intermediate temperature (TI1),
    wherein the stream with a first flowrate is mixed with a stream of thermal storage medium or is split into two flows to generate a stream of thermal storage medium of a second flowrate,
    wherein the stream of the second flowrate is heated by the working fluid to the high temperature (TH).
  5. The method of claim 1,
    wherein in the heat recovery cycle (54), a thermal storage medium at a low temperature (TL) is heated with waste heat, mixed with a thermal storage medium at a first intermediate temperature (TI1) and heated to the heat recovery temperature (TR), which is a second intermediate temperature (TI2).
  6. The method of claim 5,
    wherein in the heat pump cycle (12), the working fluid is heated by cooling a first stream of thermal storage medium at the second intermediate temperature (TI2) to the first intermediate temperature (TI1);
    wherein in the heat pump cycle (12), a second stream of thermal storage medium at the second intermediate temperature (TI2) is heated by the working fluid to the high temperature (TH).
  7. The method of one of the preceding claims,
    wherein in the heat engine cycle (28), the thermal storage medium of high temperature (TH) is cooled by the working fluid to a second intermediate temperature (TI2) and mixed with a working fluid of the second intermediate temperature (TI2) to generate a different flowrate;
    wherein in the heat engine cycle (28), the thermal storage medium of the second intermediate temperature (TI2) is cooled to a first intermediate temperature (TI1) and split into two streams to generate a further different flowrate, wherein one of the streams is cooled by the working fluid to the low temperature (TL).
  8. The method of one of the preceding claims,
    wherein in the heat engine cycle (28) and/or the heat pump cycle (12), during heat transfer between the working fluid and the thermal storage medium, the working fluid is transcritical.
  9. The method of one of the preceding claims,
    wherein in the heat engine (28) cycle and/or the heat pump cycle (12), during heat transfer between the working fluid and the thermal storage medium, a flowrate of the thermal storage medium between a low and an intermediate temperature and a flowrate of the thermal storage medium between the intermediate and a high temperature are set, such that during heat transfer, the maximal temperature difference between the thermal storage medium and the working fluid is minimal.
  10. The method of one of the preceding claims, further comprising the step of:
    in an additional heat engine cycle (68), transferring heat in the thermal storage medium with the heat recovery temperature (TR) to a compressed working fluid and generating mechanical energy by expanding the working fluid.
  11. The method of one of the preceding claims,
    wherein the working fluid comprises carbon dioxide.
  12. A waste heat recovery system (40, 140), comprising:
    a thermal storage circuit (22) with a low temperature storage (24), a heat recovery storage (46, 146) and a high temperature storage (26);
    a heat exchanger (48, 148) for heating a thermal storage medium flowing from the low temperature storage (24) to the heat recovery storage (46, 146) with waste heat;
    a heat pump cycle (12) containing a working fluid and comprising an expander (14) for expanding the working fluid and a compressor (18) for compressing the working fluid,
    a heat engine cycle (28) containing a working fluid and comprising a pump (30) for compressing the working fluid and a turbine (32) for expanding the working fluid;
    wherein the heat pump cycle (12) comprises a heat exchanger (16) for heating the expanded working fluid by cooling thermal storage medium from the heat recovery storage (46, 146);
    wherein the heat pump cycle (12) comprises a heat exchanger (20) for heating thermal storage medium flowing to the high temperature storage (26) by cooling the compressed working fluid;
    wherein the heat engine cycle (28) comprises a heat exchanger (20) for heating the compressed working fluid by cooling thermal storage medium flowing from the high temperature storage (26) to the low temperature storage (24).
  13. The system (40, 140) of claim 12,
    wherein the heat exchanger (20) for cooling or heating the compressed working fluid comprises an internal stream splitter for generating different flowrates in the heat exchanger (20) during heat transfer, wherein the stream splitter mixes a stream of thermal storage medium in the heat exchanger (20) with thermal storage medium from an intermediate temperature storage (42, 44, 146) or splits the stream in the heat exchanger (20) into a stream to be further heated and a stream to the intermediate temperature storage (42, 44, 146).
  14. The system (40) of claim 12 or 13,
    wherein in the heat pump cycle (12) cooled thermal storage medium from the heat recovery storage (46) is cooled to the low temperature (TL) and flows to the low temperature storage (24);
    wherein in the heat pump cycle (12) thermal storage medium from the low temperature storage (24) flows through the (second) heat exchanger (20) and is heated to the high temperature (TH).
  15. The system (140) of claim 12 or 13,
    wherein the thermal storage circuit comprises a first intermediate temperature storage (42) and the heat recovery storage (146) is a second intermediate temperature storage;
    wherein, in the heat recovery cycle (54), thermal storage medium from the low temperature storage (24) and the first intermediate temperature storage (42) is mixed while being heated to the second intermediate temperature (TI2) for the second intermediate temperature storage (146);
    wherein, in the heat pump cycle (12), thermal storage medium from the second intermediate temperature storage (146) is cooled in the (first) heat exchanger (16) to the first intermediate temperature (TI1) for the first intermediate temperature storage (42);
    wherein, in the heat pump cycle (12), thermal storage medium from the second intermediate temperature storage (146) is heated by the compressed working fluid to the high temperature (TH) for the high temperature storage (26).
EP10187523A 2010-10-14 2010-10-14 Waste heat recovery system Withdrawn EP2441925A1 (en)

Priority Applications (2)

Application Number Priority Date Filing Date Title
EP10187523A EP2441925A1 (en) 2010-10-14 2010-10-14 Waste heat recovery system
PCT/EP2011/067557 WO2012049086A1 (en) 2010-10-14 2011-10-07 Waste heat recovery system

Applications Claiming Priority (1)

Application Number Priority Date Filing Date Title
EP10187523A EP2441925A1 (en) 2010-10-14 2010-10-14 Waste heat recovery system

Publications (2)

Publication Number Publication Date
EP2441925A1 true EP2441925A1 (en) 2012-04-18
EP2441925A8 EP2441925A8 (en) 2013-02-06

Family

ID=44773459

Family Applications (1)

Application Number Title Priority Date Filing Date
EP10187523A Withdrawn EP2441925A1 (en) 2010-10-14 2010-10-14 Waste heat recovery system

Country Status (2)

Country Link
EP (1) EP2441925A1 (en)
WO (1) WO2012049086A1 (en)

Cited By (26)

* Cited by examiner, † Cited by third party
Publication number Priority date Publication date Assignee Title
WO2013185783A1 (en) * 2012-06-11 2013-12-19 Arano-Trade Ltd. Energy transformation system
DE102012217142A1 (en) * 2012-09-24 2014-03-27 Siemens Aktiengesellschaft A method for loading and unloading a storage medium in a heat storage and installation for carrying out this method
WO2014052927A1 (en) * 2012-09-27 2014-04-03 Gigawatt Day Storage Systems, Inc. Systems and methods for energy storage and retrieval
WO2016165687A1 (en) * 2015-04-17 2016-10-20 Nexus Gmbh Supercritical cyclic process comprising isothermal expansion and free-piston heat engine comprising hydraulic extracting of energy for said cyclic process
US9932830B2 (en) 2010-03-04 2018-04-03 X Development Llc Adiabatic salt electric energy storage
US10082045B2 (en) 2016-12-28 2018-09-25 X Development Llc Use of regenerator in thermodynamic cycle system
US10082104B2 (en) 2016-12-30 2018-09-25 X Development Llc Atmospheric storage and transfer of thermal energy
US10221775B2 (en) 2016-12-29 2019-03-05 Malta Inc. Use of external air for closed cycle inventory control
US10233833B2 (en) 2016-12-28 2019-03-19 Malta Inc. Pump control of closed cycle power generation system
US10233787B2 (en) 2016-12-28 2019-03-19 Malta Inc. Storage of excess heat in cold side of heat engine
US10280804B2 (en) 2016-12-29 2019-05-07 Malta Inc. Thermocline arrays
US10436109B2 (en) 2016-12-31 2019-10-08 Malta Inc. Modular thermal storage
US10458284B2 (en) 2016-12-28 2019-10-29 Malta Inc. Variable pressure inventory control of closed cycle system with a high pressure tank and an intermediate pressure tank
US10801404B2 (en) 2016-12-30 2020-10-13 Malta Inc. Variable pressure turbine
US11053847B2 (en) 2016-12-28 2021-07-06 Malta Inc. Baffled thermoclines in thermodynamic cycle systems
WO2021202939A3 (en) * 2020-04-02 2021-11-11 247Solar Inc. Concentrated solar energy collection, thermal storage, and power generation systems and methods with optional supplemental fuel production
US11286804B2 (en) 2020-08-12 2022-03-29 Malta Inc. Pumped heat energy storage system with charge cycle thermal integration
US11396826B2 (en) 2020-08-12 2022-07-26 Malta Inc. Pumped heat energy storage system with electric heating integration
US11454167B1 (en) 2020-08-12 2022-09-27 Malta Inc. Pumped heat energy storage system with hot-side thermal integration
US11480067B2 (en) 2020-08-12 2022-10-25 Malta Inc. Pumped heat energy storage system with generation cycle thermal integration
US11486305B2 (en) 2020-08-12 2022-11-01 Malta Inc. Pumped heat energy storage system with load following
US11678615B2 (en) 2018-01-11 2023-06-20 Lancium Llc Method and system for dynamic power delivery to a flexible growcenter using unutilized energy sources
US11852043B2 (en) 2019-11-16 2023-12-26 Malta Inc. Pumped heat electric storage system with recirculation
US11982228B2 (en) 2020-08-12 2024-05-14 Malta Inc. Pumped heat energy storage system with steam cycle
US12123327B2 (en) 2020-08-12 2024-10-22 Malta Inc. Pumped heat energy storage system with modular turbomachinery
US12428979B2 (en) 2021-12-14 2025-09-30 Malta Inc. Pumped heat energy storage system integrated with coal-fired energy generation unit

Families Citing this family (2)

* Cited by examiner, † Cited by third party
Publication number Priority date Publication date Assignee Title
MD4322C1 (en) * 2011-05-17 2015-07-31 Иван ГОНЧАРЮК Device and process for converting steam energy into electrical energy
US10488085B2 (en) 2017-05-24 2019-11-26 General Electric Company Thermoelectric energy storage system and an associated method thereof

Citations (1)

* Cited by examiner, † Cited by third party
Publication number Priority date Publication date Assignee Title
WO2010006942A2 (en) * 2008-07-16 2010-01-21 Abb Research Ltd Thermoelectric energy storage system and method for storing thermoelectric energy

Patent Citations (1)

* Cited by examiner, † Cited by third party
Publication number Priority date Publication date Assignee Title
WO2010006942A2 (en) * 2008-07-16 2010-01-21 Abb Research Ltd Thermoelectric energy storage system and method for storing thermoelectric energy

Cited By (65)

* Cited by examiner, † Cited by third party
Publication number Priority date Publication date Assignee Title
US10094219B2 (en) 2010-03-04 2018-10-09 X Development Llc Adiabatic salt energy storage
US11761336B2 (en) 2010-03-04 2023-09-19 Malta Inc. Adiabatic salt energy storage
US10907513B2 (en) 2010-03-04 2021-02-02 Malta Inc. Adiabatic salt energy storage
US9932830B2 (en) 2010-03-04 2018-04-03 X Development Llc Adiabatic salt electric energy storage
WO2013185783A1 (en) * 2012-06-11 2013-12-19 Arano-Trade Ltd. Energy transformation system
DE102012217142A1 (en) * 2012-09-24 2014-03-27 Siemens Aktiengesellschaft A method for loading and unloading a storage medium in a heat storage and installation for carrying out this method
US11754319B2 (en) 2012-09-27 2023-09-12 Malta Inc. Pumped thermal storage cycles with turbomachine speed control
US10458721B2 (en) 2012-09-27 2019-10-29 Malta Inc. Pumped thermal storage cycles with recuperation
US10458283B2 (en) 2012-09-27 2019-10-29 Malta Inc. Varying compression ratios in energy storage and retrieval systems
US10012448B2 (en) 2012-09-27 2018-07-03 X Development Llc Systems and methods for energy storage and retrieval
WO2014052927A1 (en) * 2012-09-27 2014-04-03 Gigawatt Day Storage Systems, Inc. Systems and methods for energy storage and retrieval
US11156385B2 (en) 2012-09-27 2021-10-26 Malta Inc. Pumped thermal storage cycles with working fluid management
US10428693B2 (en) 2012-09-27 2019-10-01 Malta Inc. Pumped thermal systems with dedicated compressor/turbine pairs
US10443452B2 (en) 2012-09-27 2019-10-15 Malta Inc. Methods of hot and cold side charging in thermal energy storage systems
US10288357B2 (en) 2012-09-27 2019-05-14 Malta Inc. Hybrid pumped thermal systems
US10428694B2 (en) 2012-09-27 2019-10-01 Malta Inc. Pumped thermal and energy storage system units with pumped thermal system and energy storage system subunits
US10422250B2 (en) 2012-09-27 2019-09-24 Malta Inc. Pumped thermal systems with variable stator pressure ratio control
CN107636261B (en) * 2015-04-17 2019-07-12 奈克瑟斯有限公司 Supercritical steam cycle method including isothermal expansion and include the fluid pressure type Energy extraction for the round-robin method free-piston heat engine
CN107636261A (en) * 2015-04-17 2018-01-26 奈克瑟斯有限公司 Supercritical steam cycle method including isothermal expansion and the free-piston heat engine for including the fluid pressure type Energy extraction for the round-robin method
WO2016165687A1 (en) * 2015-04-17 2016-10-20 Nexus Gmbh Supercritical cyclic process comprising isothermal expansion and free-piston heat engine comprising hydraulic extracting of energy for said cyclic process
US10082045B2 (en) 2016-12-28 2018-09-25 X Development Llc Use of regenerator in thermodynamic cycle system
US11927130B2 (en) 2016-12-28 2024-03-12 Malta Inc. Pump control of closed cycle power generation system
US12129791B2 (en) 2016-12-28 2024-10-29 Malta Inc. Baffled thermoclines in thermodynamic cycle systems
US12012902B2 (en) 2016-12-28 2024-06-18 Malta Inc. Variable pressure inventory control of closed cycle system with a high pressure tank and an intermediate pressure tank
US10458284B2 (en) 2016-12-28 2019-10-29 Malta Inc. Variable pressure inventory control of closed cycle system with a high pressure tank and an intermediate pressure tank
US11371442B2 (en) 2016-12-28 2022-06-28 Malta Inc. Variable pressure inventory control of closed cycle system with a high pressure tank and an intermediate pressure tank
US10233787B2 (en) 2016-12-28 2019-03-19 Malta Inc. Storage of excess heat in cold side of heat engine
US10907510B2 (en) 2016-12-28 2021-02-02 Malta Inc. Storage of excess heat in cold side of heat engine
US11591956B2 (en) 2016-12-28 2023-02-28 Malta Inc. Baffled thermoclines in thermodynamic generation cycle systems
US10920667B2 (en) 2016-12-28 2021-02-16 Malta Inc. Pump control of closed cycle power generation system
US10920674B2 (en) 2016-12-28 2021-02-16 Malta Inc. Variable pressure inventory control of closed cycle system with a high pressure tank and an intermediate pressure tank
US11053847B2 (en) 2016-12-28 2021-07-06 Malta Inc. Baffled thermoclines in thermodynamic cycle systems
US10233833B2 (en) 2016-12-28 2019-03-19 Malta Inc. Pump control of closed cycle power generation system
US11512613B2 (en) 2016-12-28 2022-11-29 Malta Inc. Storage of excess heat in cold side of heat engine
US11454168B2 (en) 2016-12-28 2022-09-27 Malta Inc. Pump control of closed cycle power generation system
US11578622B2 (en) 2016-12-29 2023-02-14 Malta Inc. Use of external air for closed cycle inventory control
US10221775B2 (en) 2016-12-29 2019-03-05 Malta Inc. Use of external air for closed cycle inventory control
US10280804B2 (en) 2016-12-29 2019-05-07 Malta Inc. Thermocline arrays
US10907548B2 (en) 2016-12-29 2021-02-02 Malta Inc. Use of external air for closed cycle inventory control
US10801404B2 (en) 2016-12-30 2020-10-13 Malta Inc. Variable pressure turbine
US10082104B2 (en) 2016-12-30 2018-09-25 X Development Llc Atmospheric storage and transfer of thermal energy
US11352951B2 (en) 2016-12-30 2022-06-07 Malta Inc. Variable pressure turbine
US10830134B2 (en) 2016-12-31 2020-11-10 Malta Inc. Modular thermal storage
US11655759B2 (en) 2016-12-31 2023-05-23 Malta, Inc. Modular thermal storage
US10436109B2 (en) 2016-12-31 2019-10-08 Malta Inc. Modular thermal storage
US11678615B2 (en) 2018-01-11 2023-06-20 Lancium Llc Method and system for dynamic power delivery to a flexible growcenter using unutilized energy sources
US11852043B2 (en) 2019-11-16 2023-12-26 Malta Inc. Pumped heat electric storage system with recirculation
WO2021202939A3 (en) * 2020-04-02 2021-11-11 247Solar Inc. Concentrated solar energy collection, thermal storage, and power generation systems and methods with optional supplemental fuel production
US12305888B2 (en) 2020-04-02 2025-05-20 247Solar Inc. Concentrated solar energy collection, thermal storage, and power generation systems and methods with optional supplemental fuel production
US11885244B2 (en) 2020-08-12 2024-01-30 Malta Inc. Pumped heat energy storage system with electric heating integration
US11396826B2 (en) 2020-08-12 2022-07-26 Malta Inc. Pumped heat energy storage system with electric heating integration
US11846197B2 (en) 2020-08-12 2023-12-19 Malta Inc. Pumped heat energy storage system with charge cycle thermal integration
US11286804B2 (en) 2020-08-12 2022-03-29 Malta Inc. Pumped heat energy storage system with charge cycle thermal integration
US11578650B2 (en) 2020-08-12 2023-02-14 Malta Inc. Pumped heat energy storage system with hot-side thermal integration
US11454167B1 (en) 2020-08-12 2022-09-27 Malta Inc. Pumped heat energy storage system with hot-side thermal integration
US11982228B2 (en) 2020-08-12 2024-05-14 Malta Inc. Pumped heat energy storage system with steam cycle
US11840932B1 (en) 2020-08-12 2023-12-12 Malta Inc. Pumped heat energy storage system with generation cycle thermal integration
US12123347B2 (en) 2020-08-12 2024-10-22 Malta Inc. Pumped heat energy storage system with load following
US12123327B2 (en) 2020-08-12 2024-10-22 Malta Inc. Pumped heat energy storage system with modular turbomachinery
US11480067B2 (en) 2020-08-12 2022-10-25 Malta Inc. Pumped heat energy storage system with generation cycle thermal integration
US12173648B2 (en) 2020-08-12 2024-12-24 Malta Inc. Pumped heat energy storage system with thermal plant integration
US12173643B2 (en) 2020-08-12 2024-12-24 Malta Inc. Pumped heat energy storage system with hot-side thermal integration
US11486305B2 (en) 2020-08-12 2022-11-01 Malta Inc. Pumped heat energy storage system with load following
US12428989B2 (en) 2020-08-12 2025-09-30 Malta Inc. Pumped heat energy storage system with load following
US12428979B2 (en) 2021-12-14 2025-09-30 Malta Inc. Pumped heat energy storage system integrated with coal-fired energy generation unit

Also Published As

Publication number Publication date
EP2441925A8 (en) 2013-02-06
WO2012049086A1 (en) 2012-04-19

Similar Documents

Publication Publication Date Title
EP2441925A1 (en) Waste heat recovery system
Xue et al. Performance evaluation and exergy analysis of a novel combined cooling, heating and power (CCHP) system based on liquid air energy storage
EP2241737B1 (en) Thermoelectric energy storage system having two thermal baths and method for storing thermoelectric energy
Kim et al. Isothermal transcritical CO2 cycles with TES (thermal energy storage) for electricity storage
Xia et al. Comprehensive performance analysis of cold storage Rankine Carnot batteries: Energy, exergy, economic, and environmental perspectives
EP1760275B1 (en) Heat cycle method
US9500185B2 (en) System and method using solar thermal energy for power, cogeneration and/or poly-generation using supercritical brayton cycles
EP2441926A1 (en) Thermo electric energy storage system
EP2312129A1 (en) Thermoelectric energy storage system having an internal heat exchanger and method for storing thermoelectric energy
US11591957B2 (en) Energy storage apparatus and method
EP2400120A1 (en) Thermoelectric energy storage system
NO20120029A1 (en) Thermal control system and method in one or more insustrial processes
EP2587005A1 (en) Thermoelectric energy storage system with regenerative heat exchange and method for storing thermoelectric energy
Iqbal et al. Thermo-economic assessment of sub-ambient temperature pumped-thermal electricity storage integrated with external heat sources
Koen et al. A low-temperature glide cycle for pumped thermal energy storage
WO2017065683A1 (en) Methods to store and recover electrical energy
TR201815498T4 (en) Electrical energy storage and discharging system.
Wang et al. Thermodynamic analysis of novel carbon dioxide pumped-thermal energy storage system
Yan et al. Thermodynamic evaluation of a novel Rankine-based pumped thermal energy storage concept targeting thermal coordination and large temperature span
Lin et al. Thermodynamic analysis and operation investigation of a cross-border integrated energy system based on steam Carnot battery
WO2015077235A1 (en) Concentrated solar power systems and methods utilizing cold thermal energy storage
Ganesh et al. Comprehensive review on cogeneration systems for low and medium temperature heat recoveries
Daniarta et al. Performance map and theoretical analysis of Carnot battery technology via novel reversible Rankine-based cycle
Paanu et al. Waste heat recovery: bottoming cycle alternatives
Akroot Thermodynamic and Environmental Performance Analysis of the Marib Integrated Power and Cooling Cycle

Legal Events

Date Code Title Description
PUAI Public reference made under article 153(3) epc to a published international application that has entered the european phase

Free format text: ORIGINAL CODE: 0009012

AK Designated contracting states

Kind code of ref document: A1

Designated state(s): AL AT BE BG CH CY CZ DE DK EE ES FI FR GB GR HR HU IE IS IT LI LT LU LV MC MK MT NL NO PL PT RO RS SE SI SK SM TR

AX Request for extension of the european patent

Extension state: BA ME

17P Request for examination filed

Effective date: 20121011

RIN1 Information on inventor provided before grant (corrected)

Inventor name: HERMLE, JAROSLAV

Inventor name: OHLER, CHRISTIAN

Inventor name: KAUFMANN, LILIAN

Inventor name: REISMANN, OLAF

Inventor name: BUCHER, FLORIAN

Inventor name: MUELLER, ROLF

Inventor name: MERCANGOEZ, MEHMET

Inventor name: STUCKI, ROBERT

Inventor name: MENGEDE, FRANZ-JOSEF

RIN1 Information on inventor provided before grant (corrected)

Inventor name: BUCHTER, FLORIAN

Inventor name: OHLER, CHRISTIAN

Inventor name: HERMLE, JAROSLAV

Inventor name: STUCKI, ROBERT

Inventor name: MUELLER, ROLF

Inventor name: MERCANGOEZ, MEHMET

Inventor name: MENGEDE, FRANZ-JOSEF

Inventor name: KAUFMANN, LILIAN

Inventor name: REISMANN, OLAF

STAA Information on the status of an ep patent application or granted ep patent

Free format text: STATUS: THE APPLICATION IS DEEMED TO BE WITHDRAWN

18D Application deemed to be withdrawn

Effective date: 20140501