EP2327651A1 - System for attenuating the oscillation of a container crane - Google Patents
System for attenuating the oscillation of a container crane Download PDFInfo
- Publication number
- EP2327651A1 EP2327651A1 EP09016108A EP09016108A EP2327651A1 EP 2327651 A1 EP2327651 A1 EP 2327651A1 EP 09016108 A EP09016108 A EP 09016108A EP 09016108 A EP09016108 A EP 09016108A EP 2327651 A1 EP2327651 A1 EP 2327651A1
- Authority
- EP
- European Patent Office
- Prior art keywords
- linear motor
- crane
- controller
- vibration
- control device
- Prior art date
- Legal status (The legal status is an assumption and is not a legal conclusion. Google has not performed a legal analysis and makes no representation as to the accuracy of the status listed.)
- Granted
Links
Images
Classifications
-
- B—PERFORMING OPERATIONS; TRANSPORTING
- B66—HOISTING; LIFTING; HAULING
- B66C—CRANES; LOAD-ENGAGING ELEMENTS OR DEVICES FOR CRANES, CAPSTANS, WINCHES, OR TACKLES
- B66C19/00—Cranes comprising trolleys or crabs running on fixed or movable bridges or gantries
- B66C19/002—Container cranes
-
- B—PERFORMING OPERATIONS; TRANSPORTING
- B66—HOISTING; LIFTING; HAULING
- B66C—CRANES; LOAD-ENGAGING ELEMENTS OR DEVICES FOR CRANES, CAPSTANS, WINCHES, OR TACKLES
- B66C13/00—Other constructional features or details
- B66C13/18—Control systems or devices
- B66C13/22—Control systems or devices for electric drives
-
- B—PERFORMING OPERATIONS; TRANSPORTING
- B66—HOISTING; LIFTING; HAULING
- B66C—CRANES; LOAD-ENGAGING ELEMENTS OR DEVICES FOR CRANES, CAPSTANS, WINCHES, OR TACKLES
- B66C15/00—Safety gear
Definitions
- Container bridges are used as loading and unloading.
- Containers are taken on the water side by a container crane from a ship, brought by a trolley movement to the land side and dropped there for further transport.
- the container crane is excited to a vibration in the direction of travel of the trolley. This vibration has an amplitude that can be up to one meter depending on the design and size of the container crane. Occurring wind can reinforce this even further.
- Vibration dampers can be used. Vibration dampers usually comprise dampers with spring elements and, as a central active element, have their own vibration mass which oscillates in opposite directions to a main object to be damped. In container cranes, vibration absorbers are tuned to crane vibration frequencies. The oscillating mass together with the damper forms a pendulum, to which kinetic energy of the crane vibration is transmitted, which is damped by the pendulum. The more mass a pendulum of a vibration absorber, the more effective is the vibration absorber, since with a larger mass higher forces can be transmitted. For effective vibration damping but very heavy vibration masses in the range of a few tens of tons are required for container cranes.
- the present invention has for its object to provide a simple to be integrated into a container crane system system for the effective damping of crane frame vibrations.
- the system according to the invention for damping a vibration on a container crane comprises a vibration sensor mountable on a crane frame.
- a mountable on the crane frame linear motor is provided.
- the system according to the invention comprises a movable by the linear motor and mechanically coupled to the crane frame mass.
- a control device is provided whose Meßuccneingang is connected to the vibration sensor, and whose manipulated variable output is connected to the linear motor.
- the mass that can be moved by the linear motor is only a fraction of the weight of conventional passive vibration absorbers.
- the system according to the invention can be integrated into existing system essentially without any structural changes to container cranes.
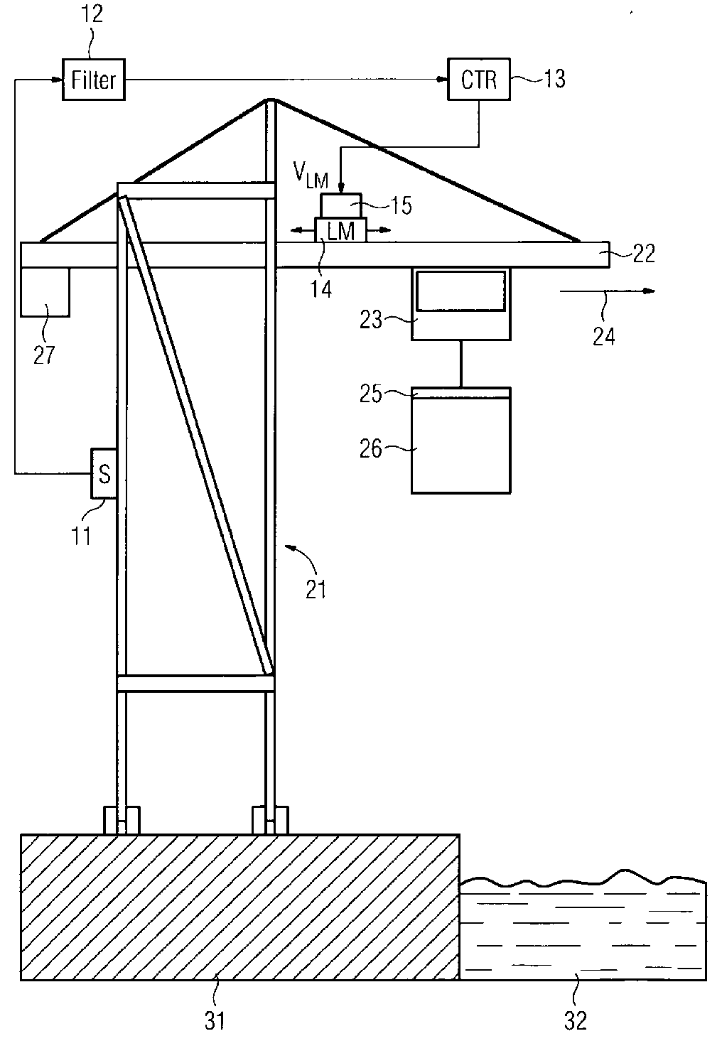
- the container crane shown in the figure comprises a system for damping a crane frame vibration with a mounted on the crane frame 21 vibration sensor 11 connected to a crane frame 21 boom 22 along which a trolley 23 with a held by a gripper 25 container 26 between a quay 31st and a water-side dock 32 for container ships, a speed-controlled linear motor 14 is mounted.
- the linear motor 14 is movable in the direction of travel of the trolley 23.
- a mass 15 is fixed, which is movable by the linear motor 14 along a direction of travel 24 of the trolley 23 and mechanically coupled via the linear motor 14 and the boom 22 to the crane frame 21.
- the linear motor 14 with the mass 15 can also be mounted on a bridge girder of a container crane.
- a balance weight 27 is mounted to stabilize the crane frame.
- the system for damping a crane frame oscillation comprises a control device 13 whose Meß foundedneingang is connected via a filter 12 to the vibration sensor 11.
- a manipulated variable output of the control device 13 is connected to the linear motor 14 and serves to transmit a speed setpoint value V LM to a speed controller integrated into the linear motor 13.
- the vibration damping system shown in the figure comprises a linear measuring system for controlling and commutating the linear motor 14.
- a current or force regulator assigned to the linear motor 14 may be provided. In this case, a force or current setpoint for the force or current controller is transmitted via the manipulated variable output of the control device.
- the filter 12 provided between the vibration sensor 11 and the control device 13 is tuned to an oscillation frequency spectrum of the crane frame 21 and also serves, for example, for conditioning a measurement signal detected by the vibration sensor 11.
- the vibration sensor 11 is designed to detect a vibration in the direction of travel 24 of the trolley 23.
- the speed-controlled linear motor 14 accelerates the mass 15 to generate a retroactive on the crane frame 21 compensation movement.
- one of the acceleration of the mass 15 opposing force via the boom 22 acts on the crane frame 21, which is utilized for damping vibrations of the crane frame 21 and the boom 22.
- a movement of the linear motor 14 is limited and is varied via an adjustment of the control device 13 and the moving mass 15 according to given boundary conditions.
- a speed control of the linear motor can be realized for example by means of a sto-optimal setting or a damping-optimal setting.
- parameters of the speed controller integrated into the linear motor 14 are set to a vibration frequency of the crane frame 21 or of the boom 22 to be damped.
- This linear motor 14 and mass 15 can be operated without sensor signal or control by the control device 13 as a passive absorber.
- a control stiffness of the linear motor 14 with integrated speed controller can be adjusted, for example, software-based on the moving through the linear motor 14 effective mass 15. With the superimposed control device 13 for vibration damping, the linear motor 14 becomes the active absorber. By means of an embodiment as an active absorber, a considerable reduction of the effective mass 15 can be realized in comparison to a passive absorber.
- the speed controller comprises a proportional-integral controller whose gain Kp and reset time T N is set to a value which is dependent on a resonance frequency f 0 of the crane frame 21 and the mass m LM moved by the linear motor 14.
- the linear motor 14 is tuned as a passive absorber to the resonance frequency of the container crane.
- the parameters of the speed controller are set so that the speed controller has the widest possible bandwidth.
- a rigid setting of the linear motor acts as firmly attached to the container crane and represents an additional mass.
- the linear motor 14 then generates the force required for vibration damping, which acts as a counterforce on the boom 22 and the crane frame 21.
- the greater the gain the greater the speed setpoint for the linear motor.
- the larger the speed command value the larger the force generated by the linear motor 14. Accordingly, the required effective mass 15 is smaller.
- An advantage of using the linear motor 14 for active damping of crane oscillations is that controller parameters can be adapted at any time to changing boundary conditions without effort. Compared to a passive absorber with a mechanical damping element, a linear motor is also nearly maintenance and wear-free.
- a cascaded control system associated with the linear motor 14 which in addition to a current or force controller comprises a speed controller and a position controller with programmable control circuit elements.
- the speed controller can be parameterized in such a way that a vibratory system that can be parameterized according to oscillation frequency and damping results, which acts as a damper.
- a control device that processes a Schwingungsmeß be parameterized such that approximately results in the place of action of the linear motor predeterminable, absolute damping in space.
- a position or speed controller assigned to the linear motor 14 is parameterized in such a way that the absolute damping which can be predetermined at the point of action of the linear motor is maintained and at the same time it is ensured that the linear motor moves within a defined working range.
Landscapes
- Engineering & Computer Science (AREA)
- Mechanical Engineering (AREA)
- Automation & Control Theory (AREA)
- Control And Safety Of Cranes (AREA)
Abstract
Ein System zur Dämpfung einer Schwingung an einem Kran umfaßt einen an einem Krangestell (21) montierbaren Schwingungssensor (11). Außerdem ist ein am Krangestell (21) montierbarer Linearmotor (14) vorgesehen. Des weiteren umfaßt das erfindungsgemäße System eine durch den Linearmotor (14) bewegbare und mit dem Krangestell (21) mechanisch koppelbare Masse (15). Darüber hinaus ist eine Regelungseinrichtung (13) vorgesehen, deren Meßgrößeneingang mit dem Schwingungssensor (11) verbunden ist, und deren Stellgrößenausgang mit dem Linearmotor (14) verbunden ist. A system for damping vibration on a crane comprises a vibration sensor (11) which can be mounted on a crane frame (21). In addition, a linear motor (14) which can be mounted on the crane frame (21) is provided. Furthermore, the system according to the invention comprises a mass (15) which can be moved by the linear motor (14) and is mechanically coupled to the crane frame (21). In addition, a control device (13) is provided whose Meßgrößeneingang is connected to the vibration sensor (11), and the manipulated variable output to the linear motor (14) is connected.
Description
Zum Be- und Entladen von Containerschiffen werden üblicherweise Containerbrücken als Be- und Entladeeinrichtung verwendet. Container werden dabei wasserseitig durch einen Containerkran von einem Schiff aufgenommen, mittels einer Laufkatzbewegung zur Landseite gebracht und dort zum Weitertransport abgesetzt. Beim Verfahren der Laufkatze wird der Containerkran zu einer Schwingung in Fahrtrichtung der Laufkatze angeregt. Diese Schwingung weist eine Amplitude auf, die je nach Bauart und -größe des Containerkrans bis zu einem Meter betragen kann. Auftretender Wind kann dies noch zusätzlich verstärken.For loading and unloading container ships usually container bridges are used as loading and unloading. Containers are taken on the water side by a container crane from a ship, brought by a trolley movement to the land side and dropped there for further transport. When moving the trolley, the container crane is excited to a vibration in the direction of travel of the trolley. This vibration has an amplitude that can be up to one meter depending on the design and size of the container crane. Occurring wind can reinforce this even further.
Beim Aufnehmen und Absetzen von Containern sind darüber hinaus Toleranzgrenzen zu beachten. Üblicherweise können bis zu ca. 10 mm Abweichung bei einem Aufnehmen oder Absetzen eines Containers im Schiff oder an Land toleriert werden. Wenn die Containerbrücke zu stark schwingt, muß abgewartet werden bis die Schwingung auf ein tolerables Minimum abgeklungen ist, bevor mit dem Be- oder Endladen fortgesetzt werden kann. Warten kostet viel Zeit beim Containerumschlag und ist aufgrund damit verbundener zusätzlicher Kosten unerwünscht.When picking up and setting down containers, tolerance limits must also be observed. Usually, up to about 10 mm deviation can be tolerated when picking up or dropping off a container in the ship or on land. If the container bridge vibrates too much, it is necessary to wait until the vibration has subsided to a tolerable minimum, before the loading or unloading can be continued. Maintenance costs a lot of time in container handling and is undesirable due to the associated additional costs.
Soll die Schwingung eines Containerkrans reduziert werden, bietet sich beispielsweise an,' ein Kranportal steifer zu bauen. Dabei reicht es vielfach nicht aus, dickere Bleche vorzusehen. Um ein steiferes Kranportal zu konstruieren, müssen oft Spurbreite, Querschnittsflächen, und Durchfahrtshöhen an einem Containerkran geändert werden. Dies ist in vielen Containerkrananlagen jedoch äußerst problematisch.If the vibration of a container crane is to be reduced, for example, it makes sense to build a crane portal stiffer. It is often not enough to provide thicker sheets. In order to construct a stiffer crane gantry, it is often necessary to change the track width, cross-sectional areas, and passage heights at a container crane. However, this is extremely problematic in many container crane systems.
Alternativ zu einer konstruktiven Änderung eines Containerkrans können Schwingungstilger verwendet werden. Schwingungstilger umfassen üblicherweise Dämpfer mit Federelementen und weisen als zentrales Wirkelement eine eigene Schwingmasse auf, die gegenläufig zu einem zu dämpfenden Hauptobjekt schwingt. Bei Containerkränen werden Schwingungstilger auf Kranschwingungsfrequenzen abgestimmt. Die Schwingmasse bildet zusammen mit dem Dämpfer ein Pendel, an das kinetische Energie der Kranschwingung übertragen wird, die durch das Pendel gedämpft wird. Je mehr Masse ein Pendel eines Schwingungstilgers aufweist, desto wirksamer ist der Schwingungstilger, da bei einer größeren Masse höhere Kräfte übertragen werden können. Zur wirksamen Schwingungsdämpfung sind bei Containerkränen jedoch sehr schwere Schwingmassen im Bereich von einigen Zig Tonnen erforderlich.As an alternative to a structural modification of a container crane, vibration absorbers can be used. Vibration dampers usually comprise dampers with spring elements and, as a central active element, have their own vibration mass which oscillates in opposite directions to a main object to be damped. In container cranes, vibration absorbers are tuned to crane vibration frequencies. The oscillating mass together with the damper forms a pendulum, to which kinetic energy of the crane vibration is transmitted, which is damped by the pendulum. The more mass a pendulum of a vibration absorber, the more effective is the vibration absorber, since with a larger mass higher forces can be transmitted. For effective vibration damping but very heavy vibration masses in the range of a few tens of tons are required for container cranes.
Der vorliegenden Erfindung liegt die Aufgabe zugrunde, ein einfach in eine Containerkrananlage zu integrierendes System zur effektiven Dämpfung von Krangestellschwingungen zu schaffen.The present invention has for its object to provide a simple to be integrated into a container crane system system for the effective damping of crane frame vibrations.
Diese Aufgabe wird erfindungsgemäß durch ein System mit den in Anspruch 1 angegebenen Merkmalen gelöst. Vorteilhafte Weiterbildungen der vorliegenden Erfindung sind in den anhängigen Ansprüchen angegeben.This object is achieved by a system having the features specified in claim 1. Advantageous developments of the present invention are given in the appended claims.
Das erfindungsgemäße System zur Dämpfung einer Schwingung an einem Containerkran umfaßt einen an einem Krangestell montierbaren Schwingungssensor. Außerdem ist ein am Krangestell montierbarer Linearmotor vorgesehen. Des weiteren umfaßt das erfindungsgemäße System eine durch den Linearmotor bewegbare und mit dem Krangestell mechanisch koppelbare Masse. Darüber hinaus ist eine Regelungseinrichtung vorgesehen, deren Meßgrößeneingang mit dem Schwingungssensor verbunden ist, und deren Stellgrößenausgang mit dem Linearmotor verbunden ist. Die durch den Linearmotor bewegbare Masse beträgt nur einen Bruchteil im Vergleich zu Schwingmassen konventioneller passiver Schwingungstilger. Darüber hinaus kann das erfindungsgemäße System im wesentlichen ohne konstruktive Änderungen an Containerkränen in bestehende Anlage integriert werden.The system according to the invention for damping a vibration on a container crane comprises a vibration sensor mountable on a crane frame. In addition, a mountable on the crane frame linear motor is provided. Furthermore, the system according to the invention comprises a movable by the linear motor and mechanically coupled to the crane frame mass. In addition, a control device is provided whose Meßgrößeneingang is connected to the vibration sensor, and whose manipulated variable output is connected to the linear motor. The mass that can be moved by the linear motor is only a fraction of the weight of conventional passive vibration absorbers. In addition, the system according to the invention can be integrated into existing system essentially without any structural changes to container cranes.
Die vorliegende Erfindung wird nachfolgend an einem Ausführungsbeispiel anhand der Zeichnung näher erläutert. Es zeigt die
- Figur
- eine schematische Darstellung eines Containerkrans mit einem aktiven Schwingungsdämpfungssystem,
- figure
- a schematic representation of a container crane with an active vibration damping system,
Der in der Figur dargestellte Containerkran umfaßt ein System zur Dämpfung einer Krangestellschwingung mit einem am Krangestell 21 montierten Schwingungssensor 11. An einem mit dem Krangestell 21 verbundenen Ausleger 22, entlang dessen eine Laufkatze 23 mit einem durch einen Greifer 25 gehaltenen Container 26 zwischen einer Kaianlage 31 und einer wasserseitigen Anlegestelle 32 für Containerschiffe bewegt werden kann, ist ein geschwindigkeitsgeregelter Linearmotor 14 montiert. Der Linearmotor 14 ist in Fahrtrichtung der Laufkatze 23 bewegbar. Auf dem Linearmotor 14 ist eine Masse 15 befestigt, die durch den Linearmotor 14 entlang einer Fahrtrichtung 24 der Laufkatze 23 bewegbar und über den Linearmotor 14 sowie den Ausleger 22 mechanisch mit dem Krangestell 21 gekoppelt ist. Alternativ zu einer Anordnung an einem Ausleger 22 kann der Linearmotor 14 mit der Masse 15 auch an einem Brückenträger eines Containerkrans montiert sein. Am Ausleger 22 bzw. Brückenträger ist zur Stabilisierung des Krangestells 21 ein Ausgleichsgewicht 27 montiert.The container crane shown in the figure comprises a system for damping a crane frame vibration with a mounted on the
Darüber hinaus umfaßt das System zur Dämpfung einer Krangestellschwingung eine Regelungseinrichtung 13, deren Meßgrößeneingang über einen Filter 12 mit dem Schwingungssensor 11 verbunden ist. Ein Stellgrößenausgang der Regelungseinrichtung 13 ist mit dem Linearmotor 14 verbunden und dient zur Übermittlung eines Geschwindigkeitssollwerts VLM an einen in den Linearmotor 13 integrierten Geschwindigkeitsregler. Außerdem umfaßt das in der Figur dargestellte Schwingungsdämpfungssystem ein Linearmeßsystem zur Regelung und Kommutierung des Linearmotors 14. Zusätzlich oder alternativ zum Geschwindigkeitsregler kann ein dem Linearmotor 14 zugeordneter Strom- bzw. Kraftregler vorgesehen sein. In diesem Fall wird über den Stellgrößenausgang der Regelungseinrichtung ein Kraft- bzw. Stromsollwert für den Kraft- bzw. Stromregler übertragen.In addition, the system for damping a crane frame oscillation comprises a
Der zwischen dem Schwingungssensor 11 und der Regelungseinrichtung 13 vorgesehene Filter 12 ist auf ein Schwingungsfrequenzspektrum des Krangestells 21 abgestimmt und dient beispielsweise auch zur Aufbereitung eines durch den Schwingungssensor 11 erfaßten Meßsignals. Darüber hinaus ist der Schwingungssensor 11 zur Erfassung einer Schwingung in Fahrtrichtung 24 der Laufkatze 23 ausgestaltet.The
Der geschwindigkeitsgeregelte Linearmotor 14 beschleunigt die Masse 15 zur Erzeugung einer auf das Krangestell 21 zurückwirkenden Kompensationsbewegung. Dabei wirkt eine der Beschleunigung der Masse 15 entgegengerichtete Kraft über den Ausleger 22 auf das Krangestell 21, die zur Dämpfung von Schwingungen des Krangestells 21 und des Auslegers 22 ausgenutzt wird. Dabei bleibt eine Bewegung des Linearmotors 14 begrenzt und wird über eine Einstellung der Regelungseinrichtung 13 sowie über die bewegte Masse 15 entsprechend gegebenen Randbedingungen variiert.The speed-controlled
Eine Geschwindigkeitsregelung des Linearmotors kann beispielsweise mittels einer störoptimalen Einstellung oder einer dämpfungsoptimalen Einstellung realisiert werden. Bei der dämpfungsoptimalen Einstellung werden Parameter des in den Linearmotor 14 integrierten Geschwindigkeitsreglers auf eine zu dämpfende Schwingungsfrequenz des Krangestells 21 bzw. des Auslegers 22 eingestellt. Damit können Linearmotor 14 und Masse 15 auch ohne Sensorsignal oder Ansteuerung durch die Regelungseinrichtung 13 als passiver Tilger betrieben werden. Eine Regelsteifigkeit des Linearmotors 14 mit integriertem Geschwindigkeitsregler kann beispielsweise softwarebasiert auf die durch den Linearmotor 14 bewegte wirksame Masse 15 eingestellt werden. Mit der überlagerten Regelungseinrichtung 13 zur Schwingungsdämpfung wird der Linearmotor 14 zum aktiven Tilger. Durch eine Ausgestaltung als aktiver Tilger kann im Vergleich zu einem passiven Tilger eine erhebliche Reduzierung der wirksamen Masse 15 realisiert werden.A speed control of the linear motor can be realized for example by means of a sto-optimal setting or a damping-optimal setting. In the damping-optimal setting, parameters of the speed controller integrated into the
Im vorliegenden Ausführungsbeispiel umfaßt der Geschwindigkeitsregler einen Proportional-Integral-Regler, dessen Verstärkung Kp und Nachstellzeit TN auf einen Wert eingestellt ist, der von einer Resonanzfrequenz f0 des Krangestells 21 und der durch den Linearmotor 14 bewegten Masse mLM abhängig ist. Durch die Verstärkung Kp und die Nachstellzeit TN ist die Regelsteifigkeit CREG des drehzahlgeregelten Linearmotors 14 bestimmt:
Diese Regelsteifigkeit CREG wird bei der dämpfungsoptimalen Einstellung in Abhängigkeit von der durch den Linearmotor 14 bewegten Masse mLM so gewählt, daß sich Frequenz fLM des Linearmotors 14 und Resonanzfrequenz f0 des Krangestells bzw. Auslegers 22 entsprechen:
Damit ist der Linearmotor 14 als passiver Tilger auf die Resonanzfrequenz des Containerkrans abgestimmt. Die Verstärkung Kp ist demzufolge nach folgender Gleichung einzustellen:
Ohne Ansteuerung durch die Regelungseinrichtung 13 arbeitet der geschwindigkeitsgeregelte Linearmotor 14 bereits als klassischer passiver Tilger. Seine Wirkung ist in diesem Fall jedoch stark von der wirksamen Masse 15 abhängig. Durch eine aktive Ansteuerung über die Regelungseinrichtung 13 wird der Linearmotor 14 zu einem aktiven Tilger, dessen Wirkung nicht mehr allein über Trägheitskräfte der schwingenden Masse 15 erzielt wird, sondern über eine Antriebskraft des Linearmotors 14. Infolgedessen sind bei einem aktiven Tilger viel geringere durch den Linearmotor 14 bewegte Massen erforderlich.Without control by the
Bei der störoptimalen Einstellung werden die Parameter des Geschwindigkeitsreglers so eingestellt, daß der Geschwindigkeitsregler eine möglichst große Bandbreite aufweist. Mit einer solchen steifen Einstellung wirkt der Linearmotor wie fest angebunden am Containerkran und stellt eine Zusatzmasse dar. Erst durch eine aktive Ansteuerung über die Regelungseinrichtung 13 kann eine Schwingungsdämpfung realisiert werden. Der Linearmotor 14 erzeugt dann die zur Schwingungsdämpfung erforderliche Kraft, die als Gegenkraft auf den Ausleger 22 bzw. das Krangestell 21 wirkt. Je größer die Verstärkung ist, desto größer ist der Geschwindigkeitssollwert für den Linearmotor. Je größer der Geschwindigkeitssollwert ist, desto größer ist die durch den Linearmotor 14 erzeugte Kraft. Dementsprechend kleiner ist die benötigte wirksame Masse 15. Ein Vorteil einer Verwendung des Linearmotors 14 zur aktiven Dämpfung von Kranschwingungen liegt darin, daß Reglerparameter zu jeder Zeit an sich ändernde Randbedingungen ohne Aufwand angepaßt werden können. Im Vergleich zu einem passiven Tilger mit mechanischem Dämpfungselement ist ein Linearmotor außerdem .nahezu wartungs- und verschleißfrei.In the sto-optimal setting, the parameters of the speed controller are set so that the speed controller has the widest possible bandwidth. With such a rigid setting of the linear motor acts as firmly attached to the container crane and represents an additional mass. Only by an active control of the
Entsprechend einer bevorzugten Ausführungsform ist ein dem Linearmotor 14 zugeordnetes kaskadiertes Regelungssystem vorgesehen, das neben einem Strom- bzw. Kraftregler einen Geschwindigkeitsregler sowie einen Lageregler mit parametrierbaren Regelkreisgliedern umfaßt. Der Geschwindigkeitsregler kann dabei derart parametriert sein, daß sich ein nach Schwingfrequenz und Dämpfung parametrierbares schwingungsfähiges System ergibt, das als Tilger wirkt. Darüber hinaus kann eine Regelungseinrichtung, die eine Schwingungsmeßgröße verarbeitet, derart parametriert sein, daß sich näherungsweise eine am Wirkungsort des Linearmotors vorgebbare, absolute Dämpfung im Raum ergibt. In diesem Fall ist ein dem Linearmotor 14 zugeordneter Lage- bzw. Geschwindigkeitsregler derart parametriert, daß die am Wirkungsort des Linearmotors vorgebbare absolute Dämpfung erhalten bleibt und gleichzeitig gewährleistet ist, daß sich der Linearmotor in einem definierten Arbeitsbereich bewegt.According to a preferred embodiment, a cascaded control system associated with the
Die Anwendung der vorliegenden Erfindung ist nicht auf das vorliegende Ausführungsbeispiel beschränkt.The application of the present invention is not limited to the present embodiment.
Claims (16)
bei dem ein Linearmeßsystem zur Regelung und Kommutierung des Linearmotors vorgesehen ist.System according to claim 1,
in which a linear measuring system is provided for controlling and commutating the linear motor.
bei dem ein dem Linearmotor zugeordneter Geschwindigkeitsregler vorgesehen ist, und bei dem eine über den Stellgrößenausgang der Regelungseinrichtung übermittelte Stellgröße ein Geschwindigkeitssollwert für den Geschwindigkeitsregler ist.System according to one of claims 1 or 2,
in which a speed controller assigned to the linear motor is provided, and in which a manipulated variable transmitted via the manipulated variable output of the closed-loop control device is a speed setpoint for the speed controller.
bei dem der Geschwindigkeitsregler einen Proportional-Integral-Regler umfaßt, dessen Verstärkung und Nachstellzeit auf einen Wert eingestellt ist, die von einer Resonanzfrequenz des Krangestells und der durch den Linearmotor bewegbaren Masse abhängig sind.System according to claim 3,
wherein the speed controller comprises a proportional-integral controller whose gain and reset time is set to a value dependent on a resonant frequency of the crane frame and the mass movable by the linear motor.
bei dem ein dem Linearmotor zugeordneter Strom- und/oder Kraftregler vorgesehen ist, und bei dem eine über den Stellgrößenausgang der Regelungseinrichtung übermittelte Stellgröße ein Kraft- und/oder Stromsollwert für den Kraft- und/oder Stromregler ist.System according to one of claims 1 or 2,
in which a current and / or force regulator assigned to the linear motor is provided, and in which a manipulated variable transmitted via the manipulated variable output of the regulating device is a force and / or current setpoint for the power and / or current controller.
bei dem ein dem Linearmotor zugeordneter Geschwindigkeitsregler und ein dem Linearmotor zugeordneter Strom- und/oder Kraftregler vorgesehen sind, und bei dem eine über den Stellgrößenausgang der Regelungseinrichtung übermittelte Stellgrößen ein Geschwindigkeitssollwert und ein Kraft- und/oder Stromsollwert für den Kraft- oder Stromregler sind.System according to one of claims 1 or 2,
in which a speed controller assigned to the linear motor and a current and / or force controller assigned to the linear motor are provided, and in which a control variable transmitted via the manipulated variable output of the control device is a speed setpoint and a force and / or current setpoint for the force or current controller.
bei dem ein dem Linearmotor zugeordnetes kaskadiertes Regelungssystem vorgesehen ist, das einen Strom- und/oder Kraftregler, einen Geschwindigkeitsregler und einen Lageregler mit parametrierbaren Regelkreisgliedern umfaßt.System according to one of claims 1 to 6,
in which a cascaded control system associated with the linear motor is provided which comprises a current and / or force controller, a speed controller and a position controller with parameterizable control circuit elements.
bei dem der Geschwindigkeitsregler derart parametriert ist, daß sich ein nach Schwingfrequenz und Dämpfung parametrierbares schwingungsfähiges System ergibt, das als Tilger wirkt.System according to claim 7,
in which the speed controller is parameterized in such a way that a vibratory system which can be parameterised according to oscillation frequency and damping results, which acts as a damper.
bei dem eine Regelungseinrichtung, die eine Schwingungsmeßgröße verarbeitet, derart parametriert ist, daß sich näherungsweise eine am Wirkungsort des Linearmotors vorgebbare absolute Dämpfung im Raum ergibt.System according to one of claims 1 to 8,
in which a control device which processes a Schwingungsmeßgröße is parameterized in such a way that approximately results in the place of action of the linear motor predetermined absolute damping in space.
bei dem ein dem Linearmotor zugeordneter Lage- und/oder Geschwindigkeitsregler derart parametriert sind/ist, daß die am Wirkungsort des Linearmotors vorgebbare absolute Dämpfung erhalten bleibt und gleichzeitig gewährleistet ist, daß sich der Linearmotor in einem definierten Arbeitsbereich bewegt.System according to claim 9,
in which a position and / or speed controller assigned to the linear motor is / are parameterized such that the absolute damping which can be predetermined at the point of action of the linear motor is maintained and at the same time it is ensured that the linear motor moves within a defined working range.
bei dem zwischen dem Schwingungssensor und der Regelungseinrichtung ein Filter vorgesehen ist, der auf ein Schwingungsfrequenzspektrum des Krangestells abgestimmt ist.System according to one of claims 1 to 10,
wherein a filter is provided between the vibration sensor and the control device, which is tuned to a vibration frequency spectrum of the crane frame.
bei dem der Schwingungssensor zur Erfassung einer Schwingung in Fahrtrichtung einer Laufkatze des Krans ausgestaltet ist.System according to one of claims 1 to 11,
in which the vibration sensor for detecting a vibration in the direction of travel of a trolley of the crane is configured.
bei dem der Linearmotor zur Bewegung in Fahrtrichtung einer Laufkatze des Krans ausgestaltet ist.System according to one of claims 1 to 12,
in which the linear motor is designed to move in the direction of travel of a trolley of the crane.
bei dem die mit dem Krangestell mechanisch koppelbare Masse am Linearmotor montiert ist.System according to one of claims 1 to 13,
in which the mass mechanically coupled to the crane frame is mounted on the linear motor.
bei dem der Linearmotor an einem Brückenträger des Krans montiert ist.System according to one of claims 1 to 14,
in which the linear motor is mounted on a bridge girder of the crane.
bei dem der Linearmotor an einem Ausleger des Krans montiert ist.System according to one of claims 1 to 14,
in which the linear motor is mounted on a jib of the crane.
Priority Applications (2)
| Application Number | Priority Date | Filing Date | Title |
|---|---|---|---|
| EP20090016108 EP2327651B1 (en) | 2009-11-30 | 2009-12-30 | System for attenuating the oscillation of a container crane |
| CN201010624992.7A CN102092638B (en) | 2009-11-30 | 2010-11-30 | System for attenuating oscillation of crane |
Applications Claiming Priority (2)
| Application Number | Priority Date | Filing Date | Title |
|---|---|---|---|
| EP09014831 | 2009-11-30 | ||
| EP20090016108 EP2327651B1 (en) | 2009-11-30 | 2009-12-30 | System for attenuating the oscillation of a container crane |
Publications (2)
| Publication Number | Publication Date |
|---|---|
| EP2327651A1 true EP2327651A1 (en) | 2011-06-01 |
| EP2327651B1 EP2327651B1 (en) | 2012-08-01 |
Family
ID=43608259
Family Applications (1)
| Application Number | Title | Priority Date | Filing Date |
|---|---|---|---|
| EP20090016108 Active EP2327651B1 (en) | 2009-11-30 | 2009-12-30 | System for attenuating the oscillation of a container crane |
Country Status (2)
| Country | Link |
|---|---|
| EP (1) | EP2327651B1 (en) |
| CN (1) | CN102092638B (en) |
Cited By (7)
| Publication number | Priority date | Publication date | Assignee | Title |
|---|---|---|---|---|
| EP2543620A1 (en) * | 2011-07-05 | 2013-01-09 | Siemens Aktiengesellschaft | Vibration damper for attenuating the oscillation of a structure which can vibrate |
| EP2543619A1 (en) * | 2011-07-05 | 2013-01-09 | Siemens Aktiengesellschaft | Vibration damper system |
| EP2546185A1 (en) * | 2011-07-14 | 2013-01-16 | Siemens Aktiengesellschaft | Vibration absorber |
| EP2574819A1 (en) * | 2011-09-30 | 2013-04-03 | Siemens Aktiengesellschaft | Speed-proportional active oscillation attenuator |
| JP2013082506A (en) * | 2011-10-06 | 2013-05-09 | Ihi Corp | Seismic isolation support device for traveling crane |
| EP2706034A1 (en) * | 2012-09-10 | 2014-03-12 | Integrated Dynamics Engineering GmbH | Active damper for low frequency oscillating structures |
| CN107176546A (en) * | 2017-05-22 | 2017-09-19 | 无锡石油化工起重机有限公司 | Separate the overhead explosion-proof crane in workshop with rolling screen door |
Families Citing this family (3)
| Publication number | Priority date | Publication date | Assignee | Title |
|---|---|---|---|---|
| JP5984642B2 (en) * | 2012-11-28 | 2016-09-06 | 住友重機械搬送システム株式会社 | Crane damping control system and crane damping control method |
| CN106005952A (en) * | 2016-05-26 | 2016-10-12 | 淮南市鸿裕工业产品设计有限公司 | Overload preventing device of stacking machine |
| CN108892025B (en) * | 2018-09-14 | 2023-09-08 | 上海久能机电制造有限公司 | Impact-resistant lifting appliance rotating pin mechanism driven by linear motor |
Citations (10)
| Publication number | Priority date | Publication date | Assignee | Title |
|---|---|---|---|---|
| JPS58220083A (en) * | 1982-06-16 | 1983-12-21 | 株式会社日立製作所 | Center rest device for crane |
| JPS63183187U (en) * | 1987-05-15 | 1988-11-25 | ||
| JPH03200694A (en) * | 1989-12-28 | 1991-09-02 | Ishikawajima Yusoki Kk | Crane |
| US5255764A (en) * | 1989-06-06 | 1993-10-26 | Takafumi Fujita | Active/passive damping apparatus |
| JPH08324967A (en) * | 1995-06-07 | 1996-12-10 | Ishikawajima Harima Heavy Ind Co Ltd | Crane damping structure |
| JPH09208009A (en) * | 1996-02-05 | 1997-08-12 | Komatsu Ltd | Swing reduction device for stacker crane |
| US5666770A (en) * | 1994-04-22 | 1997-09-16 | Kayaba Kogyo Kabushiki Kaisha | Vibration damping equipment |
| JPH09272606A (en) * | 1996-04-01 | 1997-10-21 | Komatsu Ltd | Stacker crane travel controller |
| JPH11255477A (en) * | 1998-03-12 | 1999-09-21 | Ishikawajima Harima Heavy Ind Co Ltd | Traveling crane |
| WO2009082774A1 (en) * | 2007-12-28 | 2009-07-09 | Tgw Mechanics Gmbh | Vehicle, in particular shelf storage device, and method for drive regulation of such a vehicle |
-
2009
- 2009-12-30 EP EP20090016108 patent/EP2327651B1/en active Active
-
2010
- 2010-11-30 CN CN201010624992.7A patent/CN102092638B/en active Active
Patent Citations (10)
| Publication number | Priority date | Publication date | Assignee | Title |
|---|---|---|---|---|
| JPS58220083A (en) * | 1982-06-16 | 1983-12-21 | 株式会社日立製作所 | Center rest device for crane |
| JPS63183187U (en) * | 1987-05-15 | 1988-11-25 | ||
| US5255764A (en) * | 1989-06-06 | 1993-10-26 | Takafumi Fujita | Active/passive damping apparatus |
| JPH03200694A (en) * | 1989-12-28 | 1991-09-02 | Ishikawajima Yusoki Kk | Crane |
| US5666770A (en) * | 1994-04-22 | 1997-09-16 | Kayaba Kogyo Kabushiki Kaisha | Vibration damping equipment |
| JPH08324967A (en) * | 1995-06-07 | 1996-12-10 | Ishikawajima Harima Heavy Ind Co Ltd | Crane damping structure |
| JPH09208009A (en) * | 1996-02-05 | 1997-08-12 | Komatsu Ltd | Swing reduction device for stacker crane |
| JPH09272606A (en) * | 1996-04-01 | 1997-10-21 | Komatsu Ltd | Stacker crane travel controller |
| JPH11255477A (en) * | 1998-03-12 | 1999-09-21 | Ishikawajima Harima Heavy Ind Co Ltd | Traveling crane |
| WO2009082774A1 (en) * | 2007-12-28 | 2009-07-09 | Tgw Mechanics Gmbh | Vehicle, in particular shelf storage device, and method for drive regulation of such a vehicle |
Cited By (12)
| Publication number | Priority date | Publication date | Assignee | Title |
|---|---|---|---|---|
| EP2543620A1 (en) * | 2011-07-05 | 2013-01-09 | Siemens Aktiengesellschaft | Vibration damper for attenuating the oscillation of a structure which can vibrate |
| EP2543619A1 (en) * | 2011-07-05 | 2013-01-09 | Siemens Aktiengesellschaft | Vibration damper system |
| EP2546185A1 (en) * | 2011-07-14 | 2013-01-16 | Siemens Aktiengesellschaft | Vibration absorber |
| EP2574819A1 (en) * | 2011-09-30 | 2013-04-03 | Siemens Aktiengesellschaft | Speed-proportional active oscillation attenuator |
| CN103032513A (en) * | 2011-09-30 | 2013-04-10 | 西门子公司 | Velocity-proportional active vibration damping |
| US9316283B2 (en) | 2011-09-30 | 2016-04-19 | Siemens Aktiengesellschaft | Velocity-proportional active vibration damping |
| JP2013082506A (en) * | 2011-10-06 | 2013-05-09 | Ihi Corp | Seismic isolation support device for traveling crane |
| EP2706034A1 (en) * | 2012-09-10 | 2014-03-12 | Integrated Dynamics Engineering GmbH | Active damper for low frequency oscillating structures |
| JP2014052077A (en) * | 2012-09-10 | 2014-03-20 | Integrated Dynamics Engineering Gmbh | Active damper for low frequency vibration structure |
| US20140093048A1 (en) * | 2012-09-10 | 2014-04-03 | Integrated Dynamics Engineering Gmbh | Active absorber for low-frequency vibrating structures |
| US9683621B2 (en) | 2012-09-10 | 2017-06-20 | Integrated Dynamics Engineering Gmbh | Active absorber for low-frequency vibrating structures |
| CN107176546A (en) * | 2017-05-22 | 2017-09-19 | 无锡石油化工起重机有限公司 | Separate the overhead explosion-proof crane in workshop with rolling screen door |
Also Published As
| Publication number | Publication date |
|---|---|
| CN102092638B (en) | 2015-04-29 |
| CN102092638A (en) | 2011-06-15 |
| EP2327651B1 (en) | 2012-08-01 |
Similar Documents
| Publication | Publication Date | Title |
|---|---|---|
| EP2327651B1 (en) | System for attenuating the oscillation of a container crane | |
| DE3929984B4 (en) | vibration system | |
| EP2574820B1 (en) | Processing machine with oscillation compensation of mobile mechanical structures | |
| DE102017114789A1 (en) | Crane and method for controlling such a crane | |
| EP2878566B1 (en) | Method for influencing a movement of a load lifted by a crane | |
| DE102004010083B4 (en) | Probe of the measuring type for a coordinate measuring machine | |
| EP3409636B1 (en) | Method for damping torsional vibrations of a load-bearing element of a lifting device | |
| EP4501839A2 (en) | Crane and method for controlling such a crane | |
| EP3653562A1 (en) | Method and oscillating regulator for regulating oscillations of an oscillatory technical system | |
| DE102015008506A1 (en) | Machine device that tends to oscillate from a pulse-shaped drive load, in particular storage and retrieval unit, production machine, robot, crane or the like, and method for operating such a device | |
| EP2706034B1 (en) | Active damper for low frequency oscillating structures | |
| DE4395770B4 (en) | Method for the control or regulation of a harmonically oscillating load | |
| EP2543619B1 (en) | Vibration damper system | |
| EP2902356B1 (en) | Crane with active damping of pendular movements of loads | |
| DE102017129973A1 (en) | Device for removing molded product | |
| DE102004048519A1 (en) | Drive controller for shelf storage apparatus, influences motor parameter based on measurement of oscillation of shelf storage apparatus | |
| DE102017106559A1 (en) | Design or implementation of a motion task of a moving mass in a mechanical system along at least one axis of motion | |
| AT506758B1 (en) | METHOD FOR DAMPING MACHINE RESONANCES | |
| DE102004045433B3 (en) | Device for damping oscillatory motion in a building and building with one or more of these devices | |
| EP2543620B1 (en) | Vibration damper for attenuating the oscillation of a structure which can vibrate | |
| EP2546185B1 (en) | Vibration absorber | |
| DE19811025B4 (en) | Mechanical oscillator and method for generating a mechanical vibration | |
| EP1141798B1 (en) | Control method and numerical control for the vibration-reduced acceleration of a movable machine part | |
| DE102004052616A1 (en) | Method for control of movement of element of crane system entails controlling movable crane element by first control signal with spectrum free from first natural frequency | |
| EP2977343B1 (en) | Crane with active damping of pendular movements of loads |
Legal Events
| Date | Code | Title | Description |
|---|---|---|---|
| PUAI | Public reference made under article 153(3) epc to a published international application that has entered the european phase |
Free format text: ORIGINAL CODE: 0009012 |
|
| 17P | Request for examination filed |
Effective date: 20110404 |
|
| AK | Designated contracting states |
Kind code of ref document: A1 Designated state(s): AT BE BG CH CY CZ DE DK EE ES FI FR GB GR HR HU IE IS IT LI LT LU LV MC MK MT NL NO PL PT RO SE SI SK SM TR |
|
| AX | Request for extension of the european patent |
Extension state: AL BA RS |
|
| RIC1 | Information provided on ipc code assigned before grant |
Ipc: B66C 13/18 20060101ALI20111221BHEP Ipc: B66C 5/02 20060101ALI20111221BHEP Ipc: B66C 19/00 20060101ALI20111221BHEP Ipc: B66C 13/22 20060101ALI20111221BHEP Ipc: B66C 15/00 20060101ALI20111221BHEP Ipc: B66C 13/06 20060101AFI20111221BHEP |
|
| GRAP | Despatch of communication of intention to grant a patent |
Free format text: ORIGINAL CODE: EPIDOSNIGR1 |
|
| GRAS | Grant fee paid |
Free format text: ORIGINAL CODE: EPIDOSNIGR3 |
|
| GRAA | (expected) grant |
Free format text: ORIGINAL CODE: 0009210 |
|
| AK | Designated contracting states |
Kind code of ref document: B1 Designated state(s): AT BE BG CH CY CZ DE DK EE ES FI FR GB GR HR HU IE IS IT LI LT LU LV MC MK MT NL NO PL PT RO SE SI SK SM TR |
|
| REG | Reference to a national code |
Ref country code: GB Ref legal event code: FG4D Free format text: NOT ENGLISH |
|
| REG | Reference to a national code |
Ref country code: CH Ref legal event code: EP Ref country code: AT Ref legal event code: REF Ref document number: 568565 Country of ref document: AT Kind code of ref document: T Effective date: 20120815 |
|
| REG | Reference to a national code |
Ref country code: IE Ref legal event code: FG4D Free format text: LANGUAGE OF EP DOCUMENT: GERMAN |
|
| REG | Reference to a national code |
Ref country code: DE Ref legal event code: R096 Ref document number: 502009004222 Country of ref document: DE Effective date: 20120927 |
|
| REG | Reference to a national code |
Ref country code: NL Ref legal event code: T3 |
|
| REG | Reference to a national code |
Ref country code: LT Ref legal event code: MG4D Effective date: 20120829 |
|
| PG25 | Lapsed in a contracting state [announced via postgrant information from national office to epo] |
Ref country code: NO Free format text: LAPSE BECAUSE OF FAILURE TO SUBMIT A TRANSLATION OF THE DESCRIPTION OR TO PAY THE FEE WITHIN THE PRESCRIBED TIME-LIMIT Effective date: 20121101 Ref country code: LT Free format text: LAPSE BECAUSE OF FAILURE TO SUBMIT A TRANSLATION OF THE DESCRIPTION OR TO PAY THE FEE WITHIN THE PRESCRIBED TIME-LIMIT Effective date: 20120801 Ref country code: IS Free format text: LAPSE BECAUSE OF FAILURE TO SUBMIT A TRANSLATION OF THE DESCRIPTION OR TO PAY THE FEE WITHIN THE PRESCRIBED TIME-LIMIT Effective date: 20121201 Ref country code: CY Free format text: LAPSE BECAUSE OF FAILURE TO SUBMIT A TRANSLATION OF THE DESCRIPTION OR TO PAY THE FEE WITHIN THE PRESCRIBED TIME-LIMIT Effective date: 20120801 Ref country code: HR Free format text: LAPSE BECAUSE OF FAILURE TO SUBMIT A TRANSLATION OF THE DESCRIPTION OR TO PAY THE FEE WITHIN THE PRESCRIBED TIME-LIMIT Effective date: 20120801 Ref country code: FI Free format text: LAPSE BECAUSE OF FAILURE TO SUBMIT A TRANSLATION OF THE DESCRIPTION OR TO PAY THE FEE WITHIN THE PRESCRIBED TIME-LIMIT Effective date: 20120801 |
|
| PG25 | Lapsed in a contracting state [announced via postgrant information from national office to epo] |
Ref country code: LV Free format text: LAPSE BECAUSE OF FAILURE TO SUBMIT A TRANSLATION OF THE DESCRIPTION OR TO PAY THE FEE WITHIN THE PRESCRIBED TIME-LIMIT Effective date: 20120801 Ref country code: SE Free format text: LAPSE BECAUSE OF FAILURE TO SUBMIT A TRANSLATION OF THE DESCRIPTION OR TO PAY THE FEE WITHIN THE PRESCRIBED TIME-LIMIT Effective date: 20120801 Ref country code: PT Free format text: LAPSE BECAUSE OF FAILURE TO SUBMIT A TRANSLATION OF THE DESCRIPTION OR TO PAY THE FEE WITHIN THE PRESCRIBED TIME-LIMIT Effective date: 20121203 Ref country code: PL Free format text: LAPSE BECAUSE OF FAILURE TO SUBMIT A TRANSLATION OF THE DESCRIPTION OR TO PAY THE FEE WITHIN THE PRESCRIBED TIME-LIMIT Effective date: 20120801 Ref country code: GR Free format text: LAPSE BECAUSE OF FAILURE TO SUBMIT A TRANSLATION OF THE DESCRIPTION OR TO PAY THE FEE WITHIN THE PRESCRIBED TIME-LIMIT Effective date: 20121102 Ref country code: SI Free format text: LAPSE BECAUSE OF FAILURE TO SUBMIT A TRANSLATION OF THE DESCRIPTION OR TO PAY THE FEE WITHIN THE PRESCRIBED TIME-LIMIT Effective date: 20120801 |
|
| RAP2 | Party data changed (patent owner data changed or rights of a patent transferred) |
Owner name: SIEMENS AKTIENGESELLSCHAFT |
|
| PG25 | Lapsed in a contracting state [announced via postgrant information from national office to epo] |
Ref country code: EE Free format text: LAPSE BECAUSE OF FAILURE TO SUBMIT A TRANSLATION OF THE DESCRIPTION OR TO PAY THE FEE WITHIN THE PRESCRIBED TIME-LIMIT Effective date: 20120801 Ref country code: RO Free format text: LAPSE BECAUSE OF FAILURE TO SUBMIT A TRANSLATION OF THE DESCRIPTION OR TO PAY THE FEE WITHIN THE PRESCRIBED TIME-LIMIT Effective date: 20120801 Ref country code: CZ Free format text: LAPSE BECAUSE OF FAILURE TO SUBMIT A TRANSLATION OF THE DESCRIPTION OR TO PAY THE FEE WITHIN THE PRESCRIBED TIME-LIMIT Effective date: 20120801 Ref country code: ES Free format text: LAPSE BECAUSE OF FAILURE TO SUBMIT A TRANSLATION OF THE DESCRIPTION OR TO PAY THE FEE WITHIN THE PRESCRIBED TIME-LIMIT Effective date: 20121112 Ref country code: DK Free format text: LAPSE BECAUSE OF FAILURE TO SUBMIT A TRANSLATION OF THE DESCRIPTION OR TO PAY THE FEE WITHIN THE PRESCRIBED TIME-LIMIT Effective date: 20120801 |
|
| PG25 | Lapsed in a contracting state [announced via postgrant information from national office to epo] |
Ref country code: SK Free format text: LAPSE BECAUSE OF FAILURE TO SUBMIT A TRANSLATION OF THE DESCRIPTION OR TO PAY THE FEE WITHIN THE PRESCRIBED TIME-LIMIT Effective date: 20120801 Ref country code: IT Free format text: LAPSE BECAUSE OF FAILURE TO SUBMIT A TRANSLATION OF THE DESCRIPTION OR TO PAY THE FEE WITHIN THE PRESCRIBED TIME-LIMIT Effective date: 20120801 |
|
| PLBE | No opposition filed within time limit |
Free format text: ORIGINAL CODE: 0009261 |
|
| STAA | Information on the status of an ep patent application or granted ep patent |
Free format text: STATUS: NO OPPOSITION FILED WITHIN TIME LIMIT |
|
| BERE | Be: lapsed |
Owner name: SIEMENS A.G. Effective date: 20121231 |
|
| 26N | No opposition filed |
Effective date: 20130503 |
|
| PG25 | Lapsed in a contracting state [announced via postgrant information from national office to epo] |
Ref country code: MC Free format text: LAPSE BECAUSE OF NON-PAYMENT OF DUE FEES Effective date: 20121231 Ref country code: BG Free format text: LAPSE BECAUSE OF FAILURE TO SUBMIT A TRANSLATION OF THE DESCRIPTION OR TO PAY THE FEE WITHIN THE PRESCRIBED TIME-LIMIT Effective date: 20121101 |
|
| REG | Reference to a national code |
Ref country code: DE Ref legal event code: R097 Ref document number: 502009004222 Country of ref document: DE Effective date: 20130503 |
|
| REG | Reference to a national code |
Ref country code: IE Ref legal event code: MM4A |
|
| REG | Reference to a national code |
Ref country code: FR Ref legal event code: ST Effective date: 20130830 |
|
| PG25 | Lapsed in a contracting state [announced via postgrant information from national office to epo] |
Ref country code: BE Free format text: LAPSE BECAUSE OF NON-PAYMENT OF DUE FEES Effective date: 20121231 |
|
| PG25 | Lapsed in a contracting state [announced via postgrant information from national office to epo] |
Ref country code: IE Free format text: LAPSE BECAUSE OF NON-PAYMENT OF DUE FEES Effective date: 20121230 |
|
| PG25 | Lapsed in a contracting state [announced via postgrant information from national office to epo] |
Ref country code: FR Free format text: LAPSE BECAUSE OF NON-PAYMENT OF DUE FEES Effective date: 20130102 Ref country code: MT Free format text: LAPSE BECAUSE OF FAILURE TO SUBMIT A TRANSLATION OF THE DESCRIPTION OR TO PAY THE FEE WITHIN THE PRESCRIBED TIME-LIMIT Effective date: 20120801 |
|
| PG25 | Lapsed in a contracting state [announced via postgrant information from national office to epo] |
Ref country code: TR Free format text: LAPSE BECAUSE OF FAILURE TO SUBMIT A TRANSLATION OF THE DESCRIPTION OR TO PAY THE FEE WITHIN THE PRESCRIBED TIME-LIMIT Effective date: 20120801 |
|
| PG25 | Lapsed in a contracting state [announced via postgrant information from national office to epo] |
Ref country code: LU Free format text: LAPSE BECAUSE OF NON-PAYMENT OF DUE FEES Effective date: 20121230 Ref country code: SM Free format text: LAPSE BECAUSE OF FAILURE TO SUBMIT A TRANSLATION OF THE DESCRIPTION OR TO PAY THE FEE WITHIN THE PRESCRIBED TIME-LIMIT Effective date: 20120801 |
|
| PG25 | Lapsed in a contracting state [announced via postgrant information from national office to epo] |
Ref country code: HU Free format text: LAPSE BECAUSE OF FAILURE TO SUBMIT A TRANSLATION OF THE DESCRIPTION OR TO PAY THE FEE WITHIN THE PRESCRIBED TIME-LIMIT Effective date: 20091230 |
|
| REG | Reference to a national code |
Ref country code: CH Ref legal event code: PL |
|
| GBPC | Gb: european patent ceased through non-payment of renewal fee |
Effective date: 20131230 |
|
| PG25 | Lapsed in a contracting state [announced via postgrant information from national office to epo] |
Ref country code: CH Free format text: LAPSE BECAUSE OF NON-PAYMENT OF DUE FEES Effective date: 20131231 Ref country code: LI Free format text: LAPSE BECAUSE OF NON-PAYMENT OF DUE FEES Effective date: 20131231 |
|
| PG25 | Lapsed in a contracting state [announced via postgrant information from national office to epo] |
Ref country code: GB Free format text: LAPSE BECAUSE OF NON-PAYMENT OF DUE FEES Effective date: 20131230 |
|
| PG25 | Lapsed in a contracting state [announced via postgrant information from national office to epo] |
Ref country code: MK Free format text: LAPSE BECAUSE OF FAILURE TO SUBMIT A TRANSLATION OF THE DESCRIPTION OR TO PAY THE FEE WITHIN THE PRESCRIBED TIME-LIMIT Effective date: 20120801 |
|
| REG | Reference to a national code |
Ref country code: AT Ref legal event code: MM01 Ref document number: 568565 Country of ref document: AT Kind code of ref document: T Effective date: 20141230 |
|
| PG25 | Lapsed in a contracting state [announced via postgrant information from national office to epo] |
Ref country code: AT Free format text: LAPSE BECAUSE OF NON-PAYMENT OF DUE FEES Effective date: 20141230 |
|
| PGFP | Annual fee paid to national office [announced via postgrant information from national office to epo] |
Ref country code: NL Payment date: 20241203 Year of fee payment: 16 |
|
| PGFP | Annual fee paid to national office [announced via postgrant information from national office to epo] |
Ref country code: DE Payment date: 20250220 Year of fee payment: 16 |


