EP2163718A2 - A security container - Google Patents

A security container Download PDF

Info

Publication number
EP2163718A2
EP2163718A2 EP09168676A EP09168676A EP2163718A2 EP 2163718 A2 EP2163718 A2 EP 2163718A2 EP 09168676 A EP09168676 A EP 09168676A EP 09168676 A EP09168676 A EP 09168676A EP 2163718 A2 EP2163718 A2 EP 2163718A2
Authority
EP
European Patent Office
Prior art keywords
security container
marking agent
security
fluid
marking
Prior art date
Legal status (The legal status is an assumption and is not a legal conclusion. Google has not performed a legal analysis and makes no representation as to the accuracy of the status listed.)
Withdrawn
Application number
EP09168676A
Other languages
German (de)
French (fr)
Other versions
EP2163718A3 (en
Inventor
Nick Tripp
Tony Westington
Martin Pascoe
Current Assignee (The listed assignees may be inaccurate. Google has not performed a legal analysis and makes no representation or warranty as to the accuracy of the list.)
Secure Innovation Ltd
Original Assignee
Spinnaker International Ltd
Priority date (The priority date is an assumption and is not a legal conclusion. Google has not performed a legal analysis and makes no representation as to the accuracy of the date listed.)
Filing date
Publication date
Application filed by Spinnaker International Ltd filed Critical Spinnaker International Ltd
Publication of EP2163718A2 publication Critical patent/EP2163718A2/en
Publication of EP2163718A3 publication Critical patent/EP2163718A3/en
Withdrawn legal-status Critical Current

Links

Images

Classifications

    • EFIXED CONSTRUCTIONS
    • E05LOCKS; KEYS; WINDOW OR DOOR FITTINGS; SAFES
    • E05GSAFES OR STRONG-ROOMS FOR VALUABLES; BANK PROTECTION DEVICES; SAFETY TRANSACTION PARTITIONS
    • E05G1/00Safes or strong-rooms for valuables
    • E05G1/14Safes or strong-rooms for valuables with means for masking or destroying the valuables, e.g. in case of theft
    • EFIXED CONSTRUCTIONS
    • E05LOCKS; KEYS; WINDOW OR DOOR FITTINGS; SAFES
    • E05GSAFES OR STRONG-ROOMS FOR VALUABLES; BANK PROTECTION DEVICES; SAFETY TRANSACTION PARTITIONS
    • E05G1/00Safes or strong-rooms for valuables
    • E05G1/12Safes or strong-rooms for valuables with fluent-material releasing, generating or distributing means, e.g. fire-retardant or fire extinguishing means
    • EFIXED CONSTRUCTIONS
    • E05LOCKS; KEYS; WINDOW OR DOOR FITTINGS; SAFES
    • E05GSAFES OR STRONG-ROOMS FOR VALUABLES; BANK PROTECTION DEVICES; SAFETY TRANSACTION PARTITIONS
    • E05G5/00Bank protection devices
    • E05G5/006Cashier's counters or receptables for holding valuables readily accessible for handling, with safeguard mechanisms for the valuables in case of hold-up
    • GPHYSICS
    • G08SIGNALLING
    • G08BSIGNALLING OR CALLING SYSTEMS; ORDER TELEGRAPHS; ALARM SYSTEMS
    • G08B15/00Identifying, scaring or incapacitating burglars, thieves or intruders, e.g. by explosives
    • G08B15/02Identifying, scaring or incapacitating burglars, thieves or intruders, e.g. by explosives with smoke, gas, or coloured or odorous powder or liquid

Definitions

  • the present invention relates to a security container for transporting or storing valuable items such as bank notes.
  • bank notes are commonly transported from a storage facility to local branches of banks and cash dispensers.
  • the locations at which the valuable items are stored typically have strong security measures to protect the valuable items and prevent or at least impede theft of the valuable items.
  • they can be vulnerable to theft.
  • security containers have been developed for transporting and storing valuable items, and these security containers have been successfully used to deter criminals from attempting to steal valuable items.
  • Known security containers typically comprise a lockable compartment for receiving valuable items and a security device such as an audible alarm.
  • Some known security containers also include a mechanism for dispensing a marking fluid onto items received within the enclosure in the event that the container is stolen or otherwise interfered with.
  • the items received in the container are permanently marked, rendering them useless and indicating that they have been involved in a theft or similar incident.
  • the mechanism for dispensing the marking fluid is operative in response to a signal indicating that the container has been stolen or otherwise interfered with, and the marking fluid is dispensed in a liquid or gaseous form.
  • a security container for transporting or storing a valuable item, the security container comprising a compartment for receiving the item and a dispensing mechanism for dispensing a marking agent, characterised in that the security container comprises an outwardly directed outlet such that on activation of the dispensing mechanism the marking agent is directed outwardly of the security container.
  • the outlet may be disposed towards a corner of the container. Positioning the outlet towards a corner of the container increases the likelihood of an individual involved in an incident involving the security container being marked by the marking agent.
  • the marking agent may be a fluid.
  • the outlet may comprise an atomising nozzle.
  • An atomising nozzle causes the marking agent to be dispersed over a large area, thus increasing the likelihood of marking an individual involved in an incident involving the security container.
  • the marking agent may be carried by smoke.
  • the security container may further comprise a reservoir for storing the fluid and a pressurising system for pressurising the fluid.
  • the security container may comprise a pressurised fluid reservoir.
  • the marking agent may comprise a unique identifier. Such a marking agent allows an individual to be linked to the security container and to an incident involving the security container by means of the unique identifier.
  • the unique identifier may comprise a synthetic identifier.
  • the unique identifier may comprise an organic agent.
  • the unique identifier may comprise nucleic acid.
  • the security container may further comprise a security system which is operative to activate the dispensing mechanism in the event of interference with the security container.
  • the security system may comprise a timer which controls the security system.
  • the security container may further comprise a dispensing mechanism for dispensing the marking agent into the compartment.
  • a dispensing mechanism for dispensing the marking agent into the compartment.
  • the security container may further comprise an audible alarm which is operative in the event of interference with the security container.
  • a method of marking an individual involved in an incident involving a security container having a compartment for receiving an item comprising the steps of detecting the incident and activating a marking agent dispensing mechanism so as to direct a marking agent outwardly of the security container so as to mark the individual with the marking agent.
  • the security container may comprise an outlet which is disposed towards a corner of the container.
  • the marking agent may be a fluid.
  • the outlet may comprise an atomising nozzle.
  • the marking agent may be carried by smoke.
  • the security container may comprise a reservoir for storing the fluid and a pressurising system for pressurising the fluid.
  • the security container may comprise a pressurised fluid reservoir.
  • the marking agent may comprise a unique identifier.
  • the unique identifier may comprise a synthetic identifier.
  • the unique identifier may comprise an organic agent.
  • the unique identifier may comprise nucleic acid.
  • the security container may comprise a security system which is operative to activate the dispensing mechanism in the event of interference with the security container.
  • the security system may comprise a timer which controls the security system.
  • the security container may comprise a dispensing mechanism for dispensing the marking agent into the compartment.
  • the method may further comprise activating an audible alarm in the event of interference with the security container.
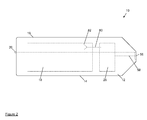
  • a security container is shown generally at 10, and comprises a housing 12 which may be of metal or of a suitable plastics material such as polypropylene. As is shown in Figure 2 , the security container has a base portion 14 and a lid 16, which cooperate to define a compartment, shown in dashed outline at 18, for receiving an item or items to be transported or stored.
  • the base portion 14 and the lid 16 are attached to each other by a hinge 20 positioned at one end of the security container 10, such that the security container 10 can be opened and closed.
  • a handle portion 22 is provided at an opposed end of the security container 10 to the hinge 20 to facilitate handling and carrying of the security container 10.
  • a locking mechanism 24 is provided on or close to the handle portion 22 to secure the base portion 14 to the lid 16 to impede opening of the security container 10.
  • the locking mechanism 24 may take a variety of forms.
  • the locking mechanism may be a physical lock which is operated by a key, or may be an electronically controlled lock requiring a combination to be entered or an electronic key such as an electronic tag to be presented to a detector of the locking mechanism 24 to activate or deactivate the locking mechanism 24.
  • the security container 10 includes a security system, indicated generally at 26 in Figures 1 and 2 , which is operative to cause a marking agent to be deployed in the event of the theft of the security container 10, or other unauthorised interference with the security container 10.
  • the security system 26 includes a dispensing mechanism for dispensing the marking agent.
  • a suitable dispensing mechanism is shown generally at 50 in Figure 4 , and comprises a reservoir 52 for holding the marking agent, the reservoir 52 having an outlet which is in fluid communication with a mechanical pressure valve 54.
  • the mechanical pressure valve 54 in turn communicates with one or more outlet nozzles 56 by means of one or more conduits 58.
  • the dispensing mechanism further comprises a pressurising system which in this example comprises a canister 60 of a compressed gas, and the canister 60 has an outlet which is controlled by an electrically operated actuator 62 such as an explosive protractor.
  • the electrically operated actuator 62 permits fluid communication between the canister 60 and the reservoir 52, such that on operation of the actuator 62 the compressed gas can flow into the reservoir 52 to increase the pressure of the reservoir 52.
  • the electrically operated actuator 62 is controlled by a theft or interference detection system, shown generally at 64.
  • the theft or interference detection system 64 may be operative, for example, to detect particular movements of the security container 10 and to activate the electrically operated actuator 62 in the event that a theft or other interference is detected.
  • the theft or interference detection system 64 may be operative to activate the electrically operated actuator 62 in the event that a predetermined period of time has elapsed since the security container 10 was removed from a docking station. It will be appreciated that these are merely examples of suitable theft or interference detection systems, and a variety of other suitable systems are known to those skilled in the art, and that any suitable theft or interference detection system 64 could be used in a security container according to the present invention.
  • the security container has an outlet nozzle 56 at one end of the handle portion 22, with further outlet nozzle 56 being disposed at another, opposed end of the handle portion 22.
  • the outlet nozzles 56 have small apertures which act as atomisers, producing a fine spray of any fluid which passes through the nozzles 56.
  • the nozzles 56 are thus configured to direct the marking agent outwardly of the security container 10, and are designed to be able to spray fluid a distance of at least one metre from the outlet nozzle 56, is as indicated generally at 66.
  • the theft or interference detection system 64 detects that the security container 10 is at risk, it sends an electrical signal to the electrically operated actuator 62 to cause the compressed gas to be released from the canister 60 into the reservoir 52. This has the effect of increasing the pressure within the reservoir 52, and when a predetermined pressure has been reached the mechanical pressure valve 54 opens, allowing the marking agent to flow through the conduits 58 to the outlet nozzles 56.
  • the positioning of the outlet nozzles 56 on the handle portion 22 improves the likelihood that an individual attempting to steal or otherwise interfere with the security container 10 will be marked by the marking agent when the security system 26 is triggered.
  • the atomising effect of the small apertures of the nozzles 56 ensures that a cloud of the marking agent is produced, covering a relatively large volume.
  • any object within a relatively large distance of the outlet nozzles 56 will be marked by the marking agent, increasing the likelihood that an individual attempting to steal or otherwise interfere with the security container 10 will be marked by the marking agent, thereby creating a link between the individual, the security container 10 and the incident.
  • the outlet nozzles 56 in this embodiment are disposed towards external corners of the security container 10, although it will be appreciated that the nozzles 56 can be positioned in any location where the desired effect of directing a marking agent outwardly of the security container 10, towards an individual interfering with the security container 10, can be achieved.
  • the marking agent may be a visible or invisible marking agent.
  • the marking agent may be a visible liquid dye which indelibly stains anything it comes into contact with.
  • the marking agent may be a unique marking agent carried by a suitable carrier fluid. This type of marking agent is extremely difficult to remove, and thus creates an almost permanent trace which can be detected using suitable known detection systems.
  • the unique marking agent may be an inorganic or synthetic marking agent such as Smartwater®, or may be an organic marking agent such as a nucleic acid or DNA-based marking agent.
  • the marking agent may include a visible component and an invisible unique marking agent of the kind discussed above. This dual marking system permits an individual involved in an incident to be visually identified, whilst also linking the individual to the security container 10 in a near-permanent manner, by means of the unique marking agent.
  • a single unique marking agent may be provided for the security container 10, such that no security container 10 has the same unique marking agent as any other security container 10.
  • a particular unique marking agent may be associated with a particular security container 10, such that in the event of an attempted theft of a security container 10, the individual involved who has been marked by the marking agent can be conclusively linked to the security container 10 and to the incident. This link may subsequently be used as evidence of the individual's involvement in the incident to assist in securing a conviction.
  • an alternative dispensing mechanism is shown generally at 70.
  • the fluid reservoir 72 is pre-pressurised, with an electrically-operated valve 74 being provided between the reservoir 72 and the conduits 58.
  • the theft or interference detection system 64 sends an electrical signal to the electrically-operated valve 74, causing pressurised marking fluid to be released into the conduits 58 and subsequently to be directed outwardly of the security container 10 by the nozzles 56.
  • the dispensing mechanism 60 or the dispensing mechanism 70 may be adapted by removing the conduits 58 such that marking fluid passing through the mechanical pressure valve 54 or the electrically-operated valve 74 passes directly through the nozzles 56. This permits faster dispensing of the marking fluid, as it need not pass through the conduits 58 before being released through the nozzles 56.
  • the dispensing mechanism 50, 70 may be extended by the inclusion of a conduit 80 leading into the compartment 18, and a spray head 82 disposed within the compartment 18, by means of which marking fluid may also be dispensed onto the contents of the compartment 18.
  • Suitable arrangements will be familiar to those skilled in the art and thus will not be described in detail here. Use of such an arrangement enables the security container 10 to render useless the contents of the compartment 18 in the event of a theft or other incident, and if a unique marker such as a synthetic marker or a nucleic acid based marker is used, this can link an individual involved in the incident with the security container 10 and the contents of the compartment 18, as the same unique marker will be present on the individual and on the interior of the compartment 18 and the contents of the compartment 18.
  • the security container 10 may include a sounder for an audible alarm such as a siren, which can be activated by the theft or interference detection system 64 in the event of a theft or other incident involving the security container 10.
  • a sounder for an audible alarm such as a siren
  • the security container 10 is also able to draw attention to the incident, offering a further deterrent.

Landscapes

  • Physics & Mathematics (AREA)
  • General Physics & Mathematics (AREA)
  • Business, Economics & Management (AREA)
  • Accounting & Taxation (AREA)
  • Finance (AREA)
  • Burglar Alarm Systems (AREA)
  • Medical Preparation Storing Or Oral Administration Devices (AREA)
  • Closures For Containers (AREA)
  • Cartons (AREA)

Abstract

A security container (10) for transporting or storing a valuable item, the security container (10) comprising a compartment (18) for receiving the item and a dispensing mechanism (50, 70) for dispensing a marking agent, characterised in that the security container (10) comprises an outwardly directed outlet (56) such that on activation of the dispensing mechanism (50, 70) the marking agent is directed outwardly of the security container (10).

Description

    Technical Field
  • The present invention relates to a security container for transporting or storing valuable items such as bank notes.
  • Background to the Invention
  • It is common for valuable items such as bank notes, credit cards, documents and the like to be transported between locations. For example, bank notes are commonly transported from a storage facility to local branches of banks and cash dispensers. The locations at which the valuable items are stored typically have strong security measures to protect the valuable items and prevent or at least impede theft of the valuable items. However, during transport of the valuable items between locations they can be vulnerable to theft.
  • Prior Art
  • To reduce this vulnerability, security containers have been developed for transporting and storing valuable items, and these security containers have been successfully used to deter criminals from attempting to steal valuable items.
  • Known security containers typically comprise a lockable compartment for receiving valuable items and a security device such as an audible alarm. Some known security containers also include a mechanism for dispensing a marking fluid onto items received within the enclosure in the event that the container is stolen or otherwise interfered with. Thus, the items received in the container are permanently marked, rendering them useless and indicating that they have been involved in a theft or similar incident. Typically the mechanism for dispensing the marking fluid is operative in response to a signal indicating that the container has been stolen or otherwise interfered with, and the marking fluid is dispensed in a liquid or gaseous form.
  • Known security containers are effective in permanently marking items in the event of theft or other interference, and thus act as a deterrent to would-be thieves.
  • Although these known security containers can be a useful deterrent to would-be thieves, in the event that such a security container is successfully stolen, it does not provide any means of associating the thief with the stolen security container. Thus, as soon as a thief is aware that the mechanism has been activated and the marking fluid has been dispensed, he can simply abandon the security container and escape without any visible indication that he has been involved in an incident. It would aid in the capture of an individual involved in the theft if that individual could be linked to the theft by a visual or other identifier.
  • Summary of Invention
  • According to a first aspect of the present invention there is provided a security container for transporting or storing a valuable item, the security container comprising a compartment for receiving the item and a dispensing mechanism for dispensing a marking agent, characterised in that the security container comprises an outwardly directed outlet such that on activation of the dispensing mechanism the marking agent is directed outwardly of the security container.
  • By directing the marking agent outwardly of the security container in this way, there is an increased likelihood that an individual involved in a theft or other incident relating to the security container will be struck by at least some of the marking agent, thereby linking the individual to the container and to the incident. This link between the individual, the container and the incident can subsequently be used as evidence in criminal proceedings against the individual to assist in securing a conviction.
  • The outlet may be disposed towards a corner of the container. Positioning the outlet towards a corner of the container increases the likelihood of an individual involved in an incident involving the security container being marked by the marking agent.
  • The marking agent may be a fluid.
  • The outlet may comprise an atomising nozzle. An atomising nozzle causes the marking agent to be dispersed over a large area, thus increasing the likelihood of marking an individual involved in an incident involving the security container.
  • The marking agent may be carried by smoke.
  • The security container may further comprise a reservoir for storing the fluid and a pressurising system for pressurising the fluid.
  • Alternatively, the security container may comprise a pressurised fluid reservoir.
  • The marking agent may comprise a unique identifier. Such a marking agent allows an individual to be linked to the security container and to an incident involving the security container by means of the unique identifier.
  • The unique identifier may comprise a synthetic identifier.
  • Alternatively, the unique identifier may comprise an organic agent.
  • For example, the unique identifier may comprise nucleic acid.
  • The security container may further comprise a security system which is operative to activate the dispensing mechanism in the event of interference with the security container.
  • The security system may comprise a timer which controls the security system.
  • The security container may further comprise a dispensing mechanism for dispensing the marking agent into the compartment. Thus, in the event of a theft or other incident involving the security container, not only is the thief marked with the marking agent, but the contents of the compartment are also marked, linking the thief to the contents and potentially rendering the contents of the compartment useless.
  • The security container may further comprise an audible alarm which is operative in the event of interference with the security container.
  • According to a second aspect of the invention there is provided a method of marking an individual involved in an incident involving a security container having a compartment for receiving an item, the method comprising the steps of detecting the incident and activating a marking agent dispensing mechanism so as to direct a marking agent outwardly of the security container so as to mark the individual with the marking agent.
  • The security container may comprise an outlet which is disposed towards a corner of the container.
  • The marking agent may be a fluid.
  • The outlet may comprise an atomising nozzle.
  • The marking agent may be carried by smoke.
  • The security container may comprise a reservoir for storing the fluid and a pressurising system for pressurising the fluid.
  • Alternatively, the security container may comprise a pressurised fluid reservoir.
  • The marking agent may comprise a unique identifier.
  • The unique identifier may comprise a synthetic identifier.
  • Alternatively, the unique identifier may comprise an organic agent.
  • For example, the unique identifier may comprise nucleic acid.
  • The security container may comprise a security system which is operative to activate the dispensing mechanism in the event of interference with the security container.
  • The security system may comprise a timer which controls the security system.
  • The security container may comprise a dispensing mechanism for dispensing the marking agent into the compartment.
  • The method may further comprise activating an audible alarm in the event of interference with the security container.
  • Brief Description of the Drawings
  • Embodiments of the invention will now be described, strictly by way of example only, with reference to the accompanying drawings, of which:
    • Figure 1 is a schematic representation showing a front of a security container;
    • Figure 2 is a schematic representation showing one side of a security container;
    • Figure 3 is a schematic representation showing one end of a security container;
    • Figure 4 is a schematic illustration of a marking agent dispensing mechanism; and
    • Figure 5 is a schematic illustration of an alternative marking agent dispensing system.
    Description of the Embodiments
  • Referring first to Figure 1, a security container is shown generally at 10, and comprises a housing 12 which may be of metal or of a suitable plastics material such as polypropylene. As is shown in Figure 2, the security container has a base portion 14 and a lid 16, which cooperate to define a compartment, shown in dashed outline at 18, for receiving an item or items to be transported or stored.
  • In this example the base portion 14 and the lid 16 are attached to each other by a hinge 20 positioned at one end of the security container 10, such that the security container 10 can be opened and closed.
  • A handle portion 22 is provided at an opposed end of the security container 10 to the hinge 20 to facilitate handling and carrying of the security container 10. As is shown in Figure 3, a locking mechanism 24 is provided on or close to the handle portion 22 to secure the base portion 14 to the lid 16 to impede opening of the security container 10. As will be appreciated by those skilled in the relevant art, the locking mechanism 24 may take a variety of forms. For example, the locking mechanism may be a physical lock which is operated by a key, or may be an electronically controlled lock requiring a combination to be entered or an electronic key such as an electronic tag to be presented to a detector of the locking mechanism 24 to activate or deactivate the locking mechanism 24.
  • The security container 10 includes a security system, indicated generally at 26 in Figures 1 and 2, which is operative to cause a marking agent to be deployed in the event of the theft of the security container 10, or other unauthorised interference with the security container 10.
  • The security system 26 includes a dispensing mechanism for dispensing the marking agent. A suitable dispensing mechanism is shown generally at 50 in Figure 4, and comprises a reservoir 52 for holding the marking agent, the reservoir 52 having an outlet which is in fluid communication with a mechanical pressure valve 54. The mechanical pressure valve 54 in turn communicates with one or more outlet nozzles 56 by means of one or more conduits 58. The dispensing mechanism further comprises a pressurising system which in this example comprises a canister 60 of a compressed gas, and the canister 60 has an outlet which is controlled by an electrically operated actuator 62 such as an explosive protractor. The electrically operated actuator 62 permits fluid communication between the canister 60 and the reservoir 52, such that on operation of the actuator 62 the compressed gas can flow into the reservoir 52 to increase the pressure of the reservoir 52.
  • The electrically operated actuator 62 is controlled by a theft or interference detection system, shown generally at 64. The theft or interference detection system 64 may be operative, for example, to detect particular movements of the security container 10 and to activate the electrically operated actuator 62 in the event that a theft or other interference is detected. Alternatively the theft or interference detection system 64 may be operative to activate the electrically operated actuator 62 in the event that a predetermined period of time has elapsed since the security container 10 was removed from a docking station. It will be appreciated that these are merely examples of suitable theft or interference detection systems, and a variety of other suitable systems are known to those skilled in the art, and that any suitable theft or interference detection system 64 could be used in a security container according to the present invention.
  • In this example the security container has an outlet nozzle 56 at one end of the handle portion 22, with further outlet nozzle 56 being disposed at another, opposed end of the handle portion 22. The outlet nozzles 56 have small apertures which act as atomisers, producing a fine spray of any fluid which passes through the nozzles 56. The nozzles 56 are thus configured to direct the marking agent outwardly of the security container 10, and are designed to be able to spray fluid a distance of at least one metre from the outlet nozzle 56, is as indicated generally at 66.
  • In the event that the theft or interference detection system 64 detects that the security container 10 is at risk, it sends an electrical signal to the electrically operated actuator 62 to cause the compressed gas to be released from the canister 60 into the reservoir 52. This has the effect of increasing the pressure within the reservoir 52, and when a predetermined pressure has been reached the mechanical pressure valve 54 opens, allowing the marking agent to flow through the conduits 58 to the outlet nozzles 56.
  • The positioning of the outlet nozzles 56 on the handle portion 22 improves the likelihood that an individual attempting to steal or otherwise interfere with the security container 10 will be marked by the marking agent when the security system 26 is triggered. The atomising effect of the small apertures of the nozzles 56 ensures that a cloud of the marking agent is produced, covering a relatively large volume. Thus, any object within a relatively large distance of the outlet nozzles 56 will be marked by the marking agent, increasing the likelihood that an individual attempting to steal or otherwise interfere with the security container 10 will be marked by the marking agent, thereby creating a link between the individual, the security container 10 and the incident. The outlet nozzles 56 in this embodiment are disposed towards external corners of the security container 10, although it will be appreciated that the nozzles 56 can be positioned in any location where the desired effect of directing a marking agent outwardly of the security container 10, towards an individual interfering with the security container 10, can be achieved.
  • The marking agent may be a visible or invisible marking agent. For example, the marking agent may be a visible liquid dye which indelibly stains anything it comes into contact with. Alternatively the marking agent may be a unique marking agent carried by a suitable carrier fluid. This type of marking agent is extremely difficult to remove, and thus creates an almost permanent trace which can be detected using suitable known detection systems. The unique marking agent may be an inorganic or synthetic marking agent such as Smartwater®, or may be an organic marking agent such as a nucleic acid or DNA-based marking agent. The marking agent may include a visible component and an invisible unique marking agent of the kind discussed above. This dual marking system permits an individual involved in an incident to be visually identified, whilst also linking the individual to the security container 10 in a near-permanent manner, by means of the unique marking agent.
  • A single unique marking agent may be provided for the security container 10, such that no security container 10 has the same unique marking agent as any other security container 10. In this way, a particular unique marking agent may be associated with a particular security container 10, such that in the event of an attempted theft of a security container 10, the individual involved who has been marked by the marking agent can be conclusively linked to the security container 10 and to the incident. This link may subsequently be used as evidence of the individual's involvement in the incident to assist in securing a conviction.
  • Referring now to Figure 5, an alternative dispensing mechanism is shown generally at 70. In this embodiment, the fluid reservoir 72 is pre-pressurised, with an electrically-operated valve 74 being provided between the reservoir 72 and the conduits 58. Thus, when the security system 26 is triggered, the theft or interference detection system 64 sends an electrical signal to the electrically-operated valve 74, causing pressurised marking fluid to be released into the conduits 58 and subsequently to be directed outwardly of the security container 10 by the nozzles 56.
  • It will be appreciated by those skilled in the art that alternative fluid dispensing systems can be employed in the security container 10. For example, the dispensing mechanism 60 or the dispensing mechanism 70 may be adapted by removing the conduits 58 such that marking fluid passing through the mechanical pressure valve 54 or the electrically-operated valve 74 passes directly through the nozzles 56. This permits faster dispensing of the marking fluid, as it need not pass through the conduits 58 before being released through the nozzles 56.
  • The dispensing mechanism 50, 70 may be extended by the inclusion of a conduit 80 leading into the compartment 18, and a spray head 82 disposed within the compartment 18, by means of which marking fluid may also be dispensed onto the contents of the compartment 18. Suitable arrangements will be familiar to those skilled in the art and thus will not be described in detail here. Use of such an arrangement enables the security container 10 to render useless the contents of the compartment 18 in the event of a theft or other incident, and if a unique marker such as a synthetic marker or a nucleic acid based marker is used, this can link an individual involved in the incident with the security container 10 and the contents of the compartment 18, as the same unique marker will be present on the individual and on the interior of the compartment 18 and the contents of the compartment 18.
  • The security container 10 may include a sounder for an audible alarm such as a siren, which can be activated by the theft or interference detection system 64 in the event of a theft or other incident involving the security container 10. Thus, as well as marking an individual involved in the incident, the security container 10 is also able to draw attention to the incident, offering a further deterrent.

Claims (14)

  1. A security container for transporting or storing a valuable item, the security container comprising a compartment for receiving the item and a dispensing mechanism for dispensing a marking agent, characterised in that the security container comprises an outwardly directed outlet such that on activation of the dispensing mechanism the marking agent is directed outwardly of the security container.
  2. A security container according to claim 1 wherein the marking agent is a fluid.
  3. A security container according to claims 1 or claim 2 further comprising a reservoir for storing the fluid and a pressurising system for pressurising the fluid.
  4. A security container according to any one of the preceding claims wherein the marking agent comprises a unique identifier.
  5. A security container according to claim 4 wherein the unique identifier comprises a synthetic identifier or an organic agent.
  6. A security container according to claim 5 wherein the unique identifier comprises nucleic acid.
  7. A security container according to any one of the preceding claims further comprising a security system, which is operative to activate the dispensing mechanism in the event of interference with the security container.
  8. A method of marking an individual involved in an incident involving a security container having a compartment for receiving an item, the method comprising the steps of detecting the incident and activating a marking agent dispensing mechanism so as to direct a marking agent outwardly of the security container so as to mark the individual with the marking agent.
  9. A method according to claim 8 wherein the marking agent is a fluid.
  10. A method according to claim 8 or claim 9 wherein the security container comprises a reservoir for storing the fluid and a pressurising system for pressurising the fluid.
  11. A method according to any one of claims 7 to 10 wherein the marking agent comprises a unique identifier.
  12. A method according to claim 11 wherein the unique identifier comprises a synthetic identifier or an organic agent.
  13. A method according to claim 12 wherein the unique identifier comprises nucleic acid.
  14. A method according to any one of claims 7 to 12 wherein the security container comprises a security system, which is operative to activate the dispensing mechanism in the event of interference with the security container.
EP09168676A 2008-09-10 2009-08-26 A security container Withdrawn EP2163718A3 (en)

Applications Claiming Priority (1)

Application Number Priority Date Filing Date Title
GB0816564.9A GB2463466B (en) 2008-09-10 2008-09-10 A security container

Publications (2)

Publication Number Publication Date
EP2163718A2 true EP2163718A2 (en) 2010-03-17
EP2163718A3 EP2163718A3 (en) 2011-11-09

Family

ID=39889136

Family Applications (1)

Application Number Title Priority Date Filing Date
EP09168676A Withdrawn EP2163718A3 (en) 2008-09-10 2009-08-26 A security container

Country Status (2)

Country Link
EP (1) EP2163718A3 (en)
GB (1) GB2463466B (en)

Family Cites Families (7)

* Cited by examiner, † Cited by third party
Publication number Priority date Publication date Assignee Title
GB2137387B (en) * 1983-03-25 1986-09-17 Graham David Francis Sharp A remotely activatable alarm system
FR2548414B1 (en) * 1983-07-01 1986-06-27 Aerosols Ste Mediterraneenne DEFENSE OR DETERRENCE AEROSOL BOMB
DE8909242U1 (en) * 1989-07-31 1989-12-28 Chen, Harold, Taipeh/T'ai-pei Container for the delivery of cash or valuables with an automatic security system against burglars
JP2979286B2 (en) * 1994-08-31 1999-11-15 ヤマトプロテック株式会社 Security case for cash transportation and security method
US5617799A (en) * 1995-03-28 1997-04-08 Kaczorowski; Paul Marking material-spraying anti-theft system
GB9927292D0 (en) * 1999-11-19 2000-01-12 Maxwell Paul Security system
GB2390055B (en) * 2002-03-22 2005-09-07 Cypher Science Internat Ltd A marking apparatus

Also Published As

Publication number Publication date
EP2163718A3 (en) 2011-11-09
GB2463466A (en) 2010-03-17
GB0816564D0 (en) 2008-10-15
GB2463466B (en) 2012-02-15

Similar Documents

Publication Publication Date Title
DK2510506T3 (en) safety Device
EP3117408B1 (en) Cash spoiling system
EP2347078B1 (en) A security apparatus and method for storing or transporting valuables
US20140368343A1 (en) Mobile Cash Transport System with Tampering Triggered Ink Deployment
AU713305B2 (en) A method of producing a marking-substance containing ampul, an ampul and ampul-fitted theft-deterrent device
EP2163718A2 (en) A security container
JP2000322625A (en) Automatic teller machine with built-in crime prevention system
GB2411274A (en) Security container for transporting valuable items
EP2511881A1 (en) A secure bag and a secure container
GB2463662A (en) A security apparatus dispensing a machine detectable marking agent
US20090084700A1 (en) Security system for storing and transporting articles
JPH0886149A (en) Safe
JPH06108741A (en) Bill safe
JP2006039775A (en) Crime prevention device
JPH1091857A (en) Anti-theft device for automatic vending machine and the like
JP3118641U (en) Bill theft prevention device
EP3535736B1 (en) Container for carrying valuables and method of manipulating valuables in response of rapid movement of such container
JP2004192083A (en) Paper-money burglar preventing device
JPH10143775A (en) Device for preventing burglary
GR1010225B (en) Transport and protection of atm cases - money transport in special plastic bags by money-transporting companies
NL2008268C2 (en) System and method for the secured transport of valuable goods, and corresponding vehicle.
JP3080247U (en) Self-contamination equipment for cash preservation of vending machines
JP2007323621A5 (en)
JP2007323621A (en) Paper currency theft suppressor
EP4038585A1 (en) Detector, security container, and method for processing recovered items

Legal Events

Date Code Title Description
PUAI Public reference made under article 153(3) epc to a published international application that has entered the european phase

Free format text: ORIGINAL CODE: 0009012

AK Designated contracting states

Kind code of ref document: A2

Designated state(s): AT BE BG CH CY CZ DE DK EE ES FI FR GB GR HR HU IE IS IT LI LT LU LV MC MK MT NL NO PL PT RO SE SI SK SM TR

AX Request for extension of the european patent

Extension state: AL BA RS

PUAL Search report despatched

Free format text: ORIGINAL CODE: 0009013

AK Designated contracting states

Kind code of ref document: A3

Designated state(s): AT BE BG CH CY CZ DE DK EE ES FI FR GB GR HR HU IE IS IT LI LT LU LV MC MK MT NL NO PL PT RO SE SI SK SM TR

AX Request for extension of the european patent

Extension state: AL BA RS

RIC1 Information provided on ipc code assigned before grant

Ipc: G08B 15/02 20060101ALI20110930BHEP

Ipc: E05G 5/00 20060101ALI20110930BHEP

Ipc: E05G 1/14 20060101ALI20110930BHEP

Ipc: E05G 1/12 20060101AFI20110930BHEP

STAA Information on the status of an ep patent application or granted ep patent

Free format text: STATUS: THE APPLICATION IS DEEMED TO BE WITHDRAWN

18D Application deemed to be withdrawn

Effective date: 20120510