EP2011927A3 - Locking device and pin - Google Patents
Locking device and pin Download PDFInfo
- Publication number
- EP2011927A3 EP2011927A3 EP08290296A EP08290296A EP2011927A3 EP 2011927 A3 EP2011927 A3 EP 2011927A3 EP 08290296 A EP08290296 A EP 08290296A EP 08290296 A EP08290296 A EP 08290296A EP 2011927 A3 EP2011927 A3 EP 2011927A3
- Authority
- EP
- European Patent Office
- Prior art keywords
- locking
- key
- adapter
- tooth
- locking device
- Prior art date
- Legal status (The legal status is an assumption and is not a legal conclusion. Google has not performed a legal analysis and makes no representation as to the accuracy of the status listed.)
- Granted
Links
Classifications
-
- E—FIXED CONSTRUCTIONS
- E02—HYDRAULIC ENGINEERING; FOUNDATIONS; SOIL SHIFTING
- E02F—DREDGING; SOIL-SHIFTING
- E02F9/00—Component parts of dredgers or soil-shifting machines, not restricted to one of the kinds covered by groups E02F3/00 - E02F7/00
- E02F9/28—Small metalwork for digging elements, e.g. teeth scraper bits
- E02F9/2808—Teeth
- E02F9/2816—Mountings therefor
- E02F9/2833—Retaining means, e.g. pins
- E02F9/2841—Retaining means, e.g. pins resilient
Landscapes
- Engineering & Computer Science (AREA)
- Mining & Mineral Resources (AREA)
- Civil Engineering (AREA)
- General Engineering & Computer Science (AREA)
- Structural Engineering (AREA)
- Component Parts Of Construction Machinery (AREA)
- Snaps, Bayonet Connections, Set Pins, And Snap Rings (AREA)
Abstract
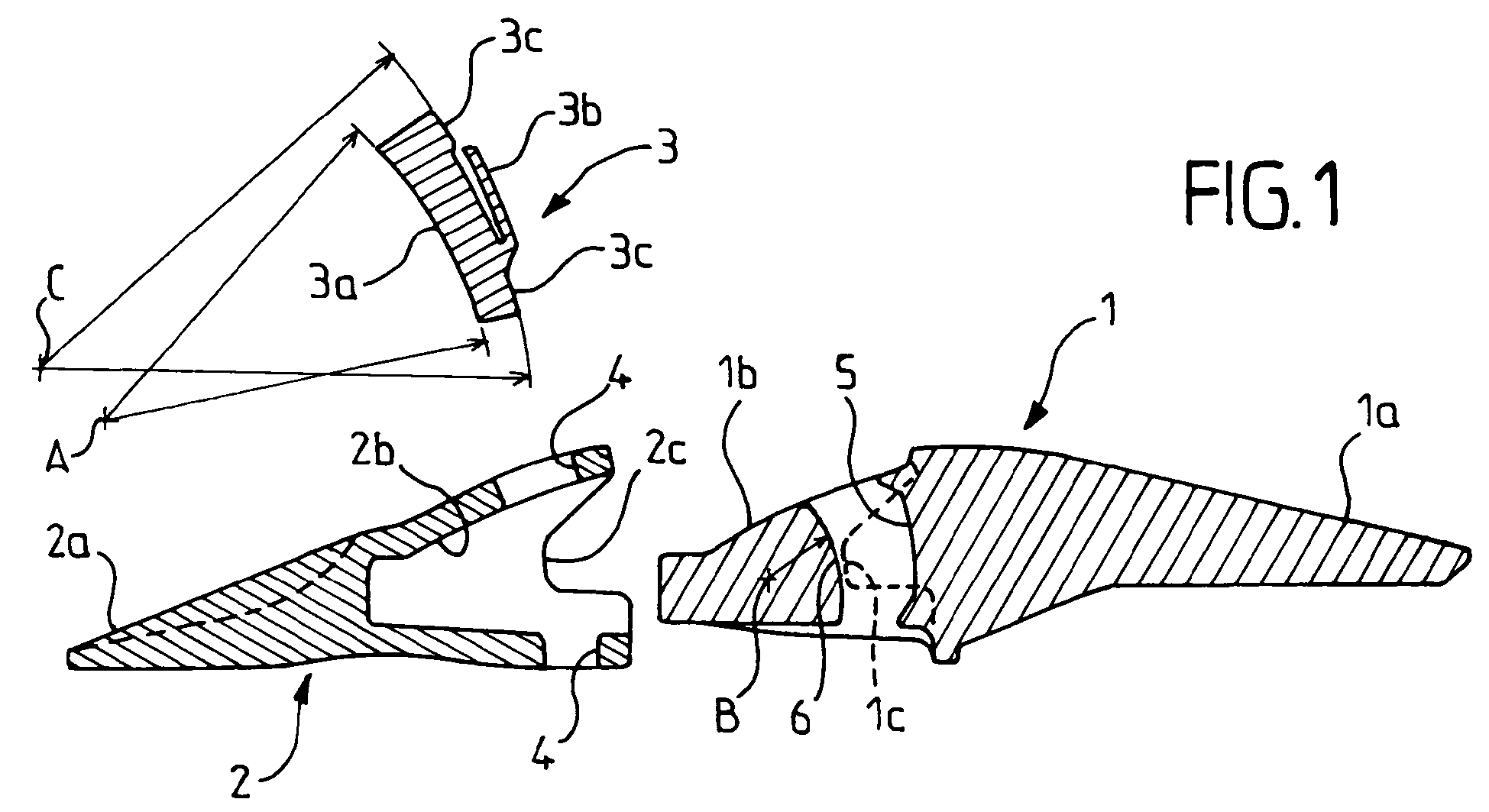
Un dispositif de verrouillage comporte un adaptateur (1), une dent (2) et une clavette (3) de verrouillage destinée à verrouiller la dent (2) sur l'adaptateur (1).A locking device comprises an adapter (1), a tooth (2) and a locking key (3) for locking the tooth (2) on the adapter (1).
La dent (2) comporte deux passages présentant chacun une face (4) d'appui de clavette (3) : l'adaptateur (1) présente un passage avec une face d'appui (6) de clavette (3) et un logement (5) ; et la clavette (3) présente un contour d'appui intérieur (3a), une lamelle de verrouillage extérieure (3b) formant ressort et deux surfaces d'appui (3c) prévues de part et d'autre de la lamelle (3b) élastique de verrouillage formant ressort. The tooth (2) has two passages each having a face (4) key support (3): the adapter (1) has a passage with a bearing surface (6) key (3) and a housing (5); and the key (3) has an inner bearing contour (3a), an outer locking leaf (3b) forming a spring and two bearing surfaces (3c) provided on either side of the elastic strip (3b). locking spring.
Applications Claiming Priority (1)
| Application Number | Priority Date | Filing Date | Title |
|---|---|---|---|
| FR0702358A FR2914378B1 (en) | 2007-03-30 | 2007-03-30 | LOCKING DEVICE AND KEY. |
Publications (3)
| Publication Number | Publication Date |
|---|---|
| EP2011927A2 EP2011927A2 (en) | 2009-01-07 |
| EP2011927A3 true EP2011927A3 (en) | 2010-03-31 |
| EP2011927B1 EP2011927B1 (en) | 2012-03-21 |
Family
ID=38658720
Family Applications (1)
| Application Number | Title | Priority Date | Filing Date |
|---|---|---|---|
| EP20080290296 Not-in-force EP2011927B1 (en) | 2007-03-30 | 2008-03-28 | Locking pin and locking device with such a pin. |
Country Status (3)
| Country | Link |
|---|---|
| EP (1) | EP2011927B1 (en) |
| ES (1) | ES2384665T3 (en) |
| FR (1) | FR2914378B1 (en) |
Families Citing this family (50)
| Publication number | Priority date | Publication date | Assignee | Title |
|---|---|---|---|---|
| WO2010089423A1 (en) * | 2009-02-06 | 2010-08-12 | Metalogenia, S.A. | Coupling system for use between a wear element and an adaptor for excavator machines and similar, and components thereof |
| USD706312S1 (en) | 2011-10-07 | 2014-06-03 | Caterpiller, Inc. | Tip for a ground engaging machine implement |
| USD706311S1 (en) | 2011-10-07 | 2014-06-03 | Caterpillar, Inc. | Tip for a ground engaging machine implement |
| USD706307S1 (en) | 2011-10-07 | 2014-06-03 | Caterpillar, Inc. | Adapter for a ground engaging machine implement |
| US8943717B2 (en) | 2011-10-08 | 2015-02-03 | Caterpillar Inc. | Implement tooth assembly with tip and adapter |
| US9062436B2 (en) | 2011-10-07 | 2015-06-23 | Caterpillar Inc. | Implement tooth assembly with tip and adapter |
| USD707263S1 (en) | 2011-10-07 | 2014-06-17 | Caterpillar, Inc. | Tip for a ground engaging machine implement |
| USD727980S1 (en) | 2014-04-08 | 2015-04-28 | Caterpillar Inc. | Tip for a ground engaging machine implement |
| USD706840S1 (en) | 2011-10-07 | 2014-06-10 | Caterpillar, Inc. | Tip for a ground engaging machine implement |
| USD706839S1 (en) | 2011-10-07 | 2014-06-10 | Caterpillar, Inc. | Tip for a ground engaging machine implement |
| USD707264S1 (en) | 2011-10-07 | 2014-06-17 | Caterpillar Inc. | Adapter for a ground engaging machine implement |
| US9057177B2 (en) | 2011-10-08 | 2015-06-16 | Caterpillar Inc. | Implement tooth assembly with tip and adapter |
| US8943716B2 (en) | 2011-10-10 | 2015-02-03 | Caterpillar Inc. | Implement tooth assembly with tip and adapter |
| EP2829664A1 (en) * | 2013-07-22 | 2015-01-28 | Metalogenia Research & Technologies S.L. | Male and female parts for a wear assembly of an earth-moving machine's bucket |
| USD774110S1 (en) | 2015-08-12 | 2016-12-13 | Caterpillar Inc. | Tip for a ground engaging machine implement |
| USD774567S1 (en) | 2015-08-12 | 2016-12-20 | Caterpillar Inc. | Tip for a ground engaging machine implement |
| USD775243S1 (en) | 2015-08-12 | 2016-12-27 | Caterpillar Inc. | Tip for a ground engaging machine implement |
| USD774564S1 (en) | 2015-08-12 | 2016-12-20 | Caterpillar Inc. | Tip for a ground engaging machine implement |
| USD774565S1 (en) | 2015-08-12 | 2016-12-20 | Caterpillar Inc. | Tip for a ground engaging machine implement |
| USD775240S1 (en) | 2015-08-12 | 2016-12-27 | Caterpillar Inc. | Tip for a ground engaging machine implement |
| USD774566S1 (en) | 2015-08-12 | 2016-12-20 | Caterpillar Inc. | Tip for a ground engaging machine implement |
| USD775673S1 (en) | 2015-08-12 | 2017-01-03 | Caterpillar Inc. | Tip for a ground engaging machine implement |
| USD774109S1 (en) | 2015-08-12 | 2016-12-13 | Caterpillar Inc. | Tip for a ground engaging machine implement |
| USD775241S1 (en) | 2015-08-12 | 2016-12-27 | Caterpillar Inc. | Tip for a ground engaging machine implement |
| USD774108S1 (en) | 2015-08-12 | 2016-12-13 | Caterpillar Inc. | Tip for a ground engaging machine implement |
| USD775242S1 (en) | 2015-08-12 | 2016-12-27 | Caterpillar Inc. | Tip for a ground engaging machine implement |
| US9909285B2 (en) * | 2015-09-10 | 2018-03-06 | Caterpillar Inc. | Shroud retention system for a work tool |
| USD840441S1 (en) | 2016-12-15 | 2019-02-12 | Caterpillar Inc. | Adapter for a ground engaging machine implement |
| USD805562S1 (en) | 2016-12-15 | 2017-12-19 | Caterpillar Inc. | Adapter for a ground engaging machine implement |
| USD803897S1 (en) | 2016-12-15 | 2017-11-28 | Caterpillar Inc. | Tip for a ground engaging machine implement |
| USD806139S1 (en) | 2016-12-15 | 2017-12-26 | Caterpillar Inc. | Adapter for a ground engaging machine implement |
| USD803275S1 (en) | 2016-12-15 | 2017-11-21 | Caterpillar Inc. | Tip for a ground engaging machine implement |
| USD806758S1 (en) | 2016-12-15 | 2018-01-02 | Caterpillar Inc. | Tip for a ground engaging machine implement |
| USD803902S1 (en) | 2016-12-15 | 2017-11-28 | Caterpillar Inc. | Tip for a ground engaging machine implement |
| USD806142S1 (en) | 2016-12-15 | 2017-12-26 | Caterpillar Inc. | Adapter for a ground engaging machine implement |
| USD806759S1 (en) | 2016-12-15 | 2018-01-02 | Caterpillar Inc. | Tip for a ground engaging machine implement |
| USD803901S1 (en) | 2016-12-15 | 2017-11-28 | Caterpillar Inc. | Tip for a ground engaging machine implement |
| USD806141S1 (en) | 2016-12-15 | 2017-12-26 | Caterpillar Inc. | Adapter for a ground engaging machine implement |
| USD803898S1 (en) | 2016-12-15 | 2017-11-28 | Caterpillar Inc. | Tip for a ground engaging machine implement |
| USD803274S1 (en) | 2016-12-15 | 2017-11-21 | Caterpillar Inc. | Tip for a ground engaging machine implement |
| USD803899S1 (en) | 2016-12-15 | 2017-11-28 | Caterpillar Inc. | Tip for a ground engaging machine implement |
| USD803900S1 (en) | 2016-12-15 | 2017-11-28 | Caterpillar Inc. | Tip for a ground engaging machine implement |
| USD806140S1 (en) | 2016-12-15 | 2017-12-26 | Caterpillar Inc. | Adapter for a ground engaging machine implement |
| USD805112S1 (en) | 2016-12-15 | 2017-12-12 | Caterpillar Inc. | Tip for a ground engaging machine implement |
| USD832310S1 (en) | 2017-08-30 | 2018-10-30 | Caterpillar Inc. | Adapter for a ground engaging machine implement |
| CN108915001B (en) * | 2018-07-09 | 2021-10-15 | 成都工合科技有限公司 | Loader front edge locking mechanism and loader front edge |
| USD905765S1 (en) | 2019-03-07 | 2020-12-22 | Caterpillar Inc. | Adapter for a ground engaging machine implement |
| USD888785S1 (en) | 2019-03-07 | 2020-06-30 | Caterpillar Inc. | Adapter for a ground engaging machine implement |
| USD945498S1 (en) | 2020-11-18 | 2022-03-08 | Caterpillar Inc. | Adapter for a ground engaging machine implement |
| USD945499S1 (en) | 2020-11-18 | 2022-03-08 | Caterpillar Inc. | Adapter for a ground engaging machine implement |
Citations (8)
| Publication number | Priority date | Publication date | Assignee | Title |
|---|---|---|---|---|
| US2901845A (en) * | 1955-07-14 | 1959-09-01 | American Brake Shoe Co | Dipper teeth |
| US2949687A (en) * | 1957-07-15 | 1960-08-23 | Electric Steel Foundry Co | Excavating tooth |
| US3012346A (en) * | 1958-09-15 | 1961-12-12 | Esco Corp | Excavating tooth and base support therefor |
| US3019537A (en) * | 1959-01-06 | 1962-02-06 | American Brake Shoe Co | Keeper for an excavator tooth |
| US4455771A (en) * | 1981-02-16 | 1984-06-26 | Andre Poncin | Shovel excavator bucket teeth |
| US5233770A (en) * | 1991-12-16 | 1993-08-10 | Gh Hensley Industries, Inc. | Locking pin apparatus |
| AU701175B2 (en) * | 1995-10-18 | 1999-01-21 | Mason & Cox Proprietary Limited | Locking clip pin arrangement |
| FR2792343A1 (en) * | 1999-04-19 | 2000-10-20 | Charles Pasqualini | CONNECTION DEVICE BETWEEN WEAR PARTS AT THE END OF TOOLS AND RECEPTACLES FOR USE ON PUBLIC WORKS MACHINERY AND EQUIPMENT |
Family Cites Families (1)
| Publication number | Priority date | Publication date | Assignee | Title |
|---|---|---|---|---|
| US2190845A (en) | 1938-06-03 | 1940-02-20 | Nitzberg Milton | Game apparatus |
-
2007
- 2007-03-30 FR FR0702358A patent/FR2914378B1/en not_active Expired - Fee Related
-
2008
- 2008-03-28 ES ES08290296T patent/ES2384665T3/en active Active
- 2008-03-28 EP EP20080290296 patent/EP2011927B1/en not_active Not-in-force
Patent Citations (8)
| Publication number | Priority date | Publication date | Assignee | Title |
|---|---|---|---|---|
| US2901845A (en) * | 1955-07-14 | 1959-09-01 | American Brake Shoe Co | Dipper teeth |
| US2949687A (en) * | 1957-07-15 | 1960-08-23 | Electric Steel Foundry Co | Excavating tooth |
| US3012346A (en) * | 1958-09-15 | 1961-12-12 | Esco Corp | Excavating tooth and base support therefor |
| US3019537A (en) * | 1959-01-06 | 1962-02-06 | American Brake Shoe Co | Keeper for an excavator tooth |
| US4455771A (en) * | 1981-02-16 | 1984-06-26 | Andre Poncin | Shovel excavator bucket teeth |
| US5233770A (en) * | 1991-12-16 | 1993-08-10 | Gh Hensley Industries, Inc. | Locking pin apparatus |
| AU701175B2 (en) * | 1995-10-18 | 1999-01-21 | Mason & Cox Proprietary Limited | Locking clip pin arrangement |
| FR2792343A1 (en) * | 1999-04-19 | 2000-10-20 | Charles Pasqualini | CONNECTION DEVICE BETWEEN WEAR PARTS AT THE END OF TOOLS AND RECEPTACLES FOR USE ON PUBLIC WORKS MACHINERY AND EQUIPMENT |
Also Published As
| Publication number | Publication date |
|---|---|
| EP2011927B1 (en) | 2012-03-21 |
| FR2914378B1 (en) | 2009-10-09 |
| FR2914378A1 (en) | 2008-10-03 |
| EP2011927A2 (en) | 2009-01-07 |
| ES2384665T3 (en) | 2012-07-10 |
Similar Documents
| Publication | Publication Date | Title |
|---|---|---|
| EP2011927A3 (en) | Locking device and pin | |
| USD797307S1 (en) | Rail assembly | |
| USD578373S1 (en) | Front portion of the housing of a handle and housing assembly | |
| USD579939S1 (en) | Housing feature for a portable computing device | |
| TW200624684A (en) | Ball joint device | |
| ATE433057T1 (en) | STORAGE ARRANGEMENT | |
| ATE436045T1 (en) | DEVICE FOR FIXING A BRACELET ON A WATCH CASE | |
| WO2007149778A3 (en) | Low-profile, aimable lighting assembly | |
| EP1594310A3 (en) | Electronic device and accessory device | |
| MA30861B1 (en) | DEVICE FOR DEFORMING BONES | |
| WO2007050411A3 (en) | Reset fixture for rekeyable lock assembly | |
| WO2006088502A3 (en) | Seismic isolation access floor assembly | |
| EP1873804A3 (en) | Method of fixing an element in an electrical device and electrical device such as a vacuum bulb comprising at least two parts fixed using such a method | |
| PL2002076T3 (en) | Door stop pin assembly | |
| TW200706968A (en) | Display | |
| ATE494164T1 (en) | BEARING FOR A VIBRATION DAMPER | |
| US7204379B2 (en) | Crane | |
| EP1793360A3 (en) | Clamping device | |
| CN101305867B (en) | Drawer Slide Fixtures | |
| DE202004002672U1 (en) | Attachment for two housing parts, preferably of window lifter, to body part forming bearer part has holding element with spring-elastic element near mounting opening that interacts with outer surface of journal | |
| USD580000S1 (en) | Basketball shooting aid | |
| TWI236648B (en) | Separable base | |
| EP1529965A3 (en) | Fastening device for two elements | |
| TW200608862A (en) | Electronic apparatus and fixed structure thereof | |
| PL1967394T3 (en) | Spring trap device |
Legal Events
| Date | Code | Title | Description |
|---|---|---|---|
| PUAI | Public reference made under article 153(3) epc to a published international application that has entered the european phase |
Free format text: ORIGINAL CODE: 0009012 |
|
| AK | Designated contracting states |
Kind code of ref document: A2 Designated state(s): AT BE BG CH CY CZ DE DK EE ES FI FR GB GR HR HU IE IS IT LI LT LU LV MC MT NL NO PL PT RO SE SI SK TR |
|
| AX | Request for extension of the european patent |
Extension state: AL BA MK RS |
|
| PUAL | Search report despatched |
Free format text: ORIGINAL CODE: 0009013 |
|
| AK | Designated contracting states |
Kind code of ref document: A3 Designated state(s): AT BE BG CH CY CZ DE DK EE ES FI FR GB GR HR HU IE IS IT LI LT LU LV MC MT NL NO PL PT RO SE SI SK TR |
|
| AX | Request for extension of the european patent |
Extension state: AL BA MK RS |
|
| 17P | Request for examination filed |
Effective date: 20100623 |
|
| 17Q | First examination report despatched |
Effective date: 20100903 |
|
| AKX | Designation fees paid |
Designated state(s): BE DE ES FR IT |
|
| GRAP | Despatch of communication of intention to grant a patent |
Free format text: ORIGINAL CODE: EPIDOSNIGR1 |
|
| RTI1 | Title (correction) |
Free format text: LOCKING PIN AND LOCKING DEVICE WITH SUCH A PIN. |
|
| GRAS | Grant fee paid |
Free format text: ORIGINAL CODE: EPIDOSNIGR3 |
|
| GRAA | (expected) grant |
Free format text: ORIGINAL CODE: 0009210 |
|
| RIN1 | Information on inventor provided before grant (corrected) |
Inventor name: DORGUIN, JEAN-PIERRE |
|
| AK | Designated contracting states |
Kind code of ref document: B1 Designated state(s): BE DE ES FR IT |
|
| RIN1 | Information on inventor provided before grant (corrected) |
Inventor name: DORGUIN, JEAN-PIERRE |
|
| REG | Reference to a national code |
Ref country code: DE Ref legal event code: R096 Ref document number: 602008014251 Country of ref document: DE Effective date: 20120524 |
|
| REG | Reference to a national code |
Ref country code: ES Ref legal event code: FG2A Ref document number: 2384665 Country of ref document: ES Kind code of ref document: T3 Effective date: 20120710 |
|
| PLBE | No opposition filed within time limit |
Free format text: ORIGINAL CODE: 0009261 |
|
| STAA | Information on the status of an ep patent application or granted ep patent |
Free format text: STATUS: NO OPPOSITION FILED WITHIN TIME LIMIT |
|
| 26N | No opposition filed |
Effective date: 20130102 |
|
| REG | Reference to a national code |
Ref country code: DE Ref legal event code: R097 Ref document number: 602008014251 Country of ref document: DE Effective date: 20130102 |
|
| REG | Reference to a national code |
Ref country code: DE Ref legal event code: R082 Ref document number: 602008014251 Country of ref document: DE Representative=s name: PATENTANWAELTE LIPPERT, STACHOW & PARTNER, DE Ref country code: DE Ref legal event code: R082 Ref document number: 602008014251 Country of ref document: DE Representative=s name: LIPPERT STACHOW PATENTANWAELTE RECHTSANWAELTE , DE |
|
| REG | Reference to a national code |
Ref country code: FR Ref legal event code: PLFP Year of fee payment: 9 |
|
| PGFP | Annual fee paid to national office [announced via postgrant information from national office to epo] |
Ref country code: DE Payment date: 20160330 Year of fee payment: 9 |
|
| PGFP | Annual fee paid to national office [announced via postgrant information from national office to epo] |
Ref country code: IT Payment date: 20160324 Year of fee payment: 9 |
|
| REG | Reference to a national code |
Ref country code: FR Ref legal event code: PLFP Year of fee payment: 10 |
|
| REG | Reference to a national code |
Ref country code: DE Ref legal event code: R119 Ref document number: 602008014251 Country of ref document: DE |
|
| PG25 | Lapsed in a contracting state [announced via postgrant information from national office to epo] |
Ref country code: DE Free format text: LAPSE BECAUSE OF NON-PAYMENT OF DUE FEES Effective date: 20171003 |
|
| PG25 | Lapsed in a contracting state [announced via postgrant information from national office to epo] |
Ref country code: IT Free format text: LAPSE BECAUSE OF NON-PAYMENT OF DUE FEES Effective date: 20170328 |
|
| REG | Reference to a national code |
Ref country code: FR Ref legal event code: PLFP Year of fee payment: 11 |
|
| PGFP | Annual fee paid to national office [announced via postgrant information from national office to epo] |
Ref country code: BE Payment date: 20200319 Year of fee payment: 13 |
|
| PGFP | Annual fee paid to national office [announced via postgrant information from national office to epo] |
Ref country code: FR Payment date: 20200319 Year of fee payment: 13 |
|
| PGFP | Annual fee paid to national office [announced via postgrant information from national office to epo] |
Ref country code: ES Payment date: 20200522 Year of fee payment: 13 |
|
| REG | Reference to a national code |
Ref country code: BE Ref legal event code: MM Effective date: 20210331 |
|
| PG25 | Lapsed in a contracting state [announced via postgrant information from national office to epo] |
Ref country code: FR Free format text: LAPSE BECAUSE OF NON-PAYMENT OF DUE FEES Effective date: 20210331 |
|
| REG | Reference to a national code |
Ref country code: ES Ref legal event code: FD2A Effective date: 20220524 |
|
| PG25 | Lapsed in a contracting state [announced via postgrant information from national office to epo] |
Ref country code: ES Free format text: LAPSE BECAUSE OF NON-PAYMENT OF DUE FEES Effective date: 20210329 Ref country code: BE Free format text: LAPSE BECAUSE OF NON-PAYMENT OF DUE FEES Effective date: 20210331 |
