EP1666201A1 - Method and machine for grinding a crank pin - Google Patents
Method and machine for grinding a crank pin Download PDFInfo
- Publication number
- EP1666201A1 EP1666201A1 EP05026279A EP05026279A EP1666201A1 EP 1666201 A1 EP1666201 A1 EP 1666201A1 EP 05026279 A EP05026279 A EP 05026279A EP 05026279 A EP05026279 A EP 05026279A EP 1666201 A1 EP1666201 A1 EP 1666201A1
- Authority
- EP
- European Patent Office
- Prior art keywords
- crankshaft
- grinding
- crank pin
- crank
- rotation
- Prior art date
- Legal status (The legal status is an assumption and is not a legal conclusion. Google has not performed a legal analysis and makes no representation as to the accuracy of the status listed.)
- Withdrawn
Links
- 238000000034 method Methods 0.000 title claims abstract description 58
- 230000008569 process Effects 0.000 claims abstract description 31
- 230000003746 surface roughness Effects 0.000 description 13
- 239000006061 abrasive grain Substances 0.000 description 10
- 230000008859 change Effects 0.000 description 9
- 239000004575 stone Substances 0.000 description 9
- 238000004904 shortening Methods 0.000 description 6
- 239000002826 coolant Substances 0.000 description 4
- 230000033001 locomotion Effects 0.000 description 3
- 230000007246 mechanism Effects 0.000 description 3
- 230000008901 benefit Effects 0.000 description 2
- 230000003111 delayed effect Effects 0.000 description 2
- 230000000694 effects Effects 0.000 description 2
- 230000006872 improvement Effects 0.000 description 2
- 238000012986 modification Methods 0.000 description 2
- 230000004048 modification Effects 0.000 description 2
- 239000007787 solid Substances 0.000 description 2
- 208000032544 Cicatrix Diseases 0.000 description 1
- 238000013459 approach Methods 0.000 description 1
- 230000005540 biological transmission Effects 0.000 description 1
- 238000001816 cooling Methods 0.000 description 1
- 230000006866 deterioration Effects 0.000 description 1
- 239000012467 final product Substances 0.000 description 1
- 238000005461 lubrication Methods 0.000 description 1
- 231100000241 scar Toxicity 0.000 description 1
- 230000037387 scars Effects 0.000 description 1
Images
Classifications
-
- B—PERFORMING OPERATIONS; TRANSPORTING
- B24—GRINDING; POLISHING
- B24B—MACHINES, DEVICES, OR PROCESSES FOR GRINDING OR POLISHING; DRESSING OR CONDITIONING OF ABRADING SURFACES; FEEDING OF GRINDING, POLISHING, OR LAPPING AGENTS
- B24B5/00—Machines or devices designed for grinding surfaces of revolution on work, including those which also grind adjacent plane surfaces; Accessories therefor
- B24B5/36—Single-purpose machines or devices
- B24B5/42—Single-purpose machines or devices for grinding crankshafts or crankpins
-
- B—PERFORMING OPERATIONS; TRANSPORTING
- B24—GRINDING; POLISHING
- B24B—MACHINES, DEVICES, OR PROCESSES FOR GRINDING OR POLISHING; DRESSING OR CONDITIONING OF ABRADING SURFACES; FEEDING OF GRINDING, POLISHING, OR LAPPING AGENTS
- B24B47/00—Drives or gearings; Equipment therefor
- B24B47/22—Equipment for exact control of the position of the grinding tool or work at the start of the grinding operation
Definitions
- the present invention relates to a grinding method of a crank pin, and particularly to the grinding method of the crank pin that grinds an outer circumferential surface of a crank pin by rotating a crankshaft having the crank journal and the crank pin eccentric to a crank journal around a central axis of the crank journal and moving a rotating grinding wheel T in a diametric direction of the crankshaft CS according to a rotation phase angle of the crankshaft.
- the present invention also relates to a grinding machine performing such method.
- a crankshaft includes a crank journal and a crank pin eccentric to the crank journal.
- An outer circumferential surface of the crank pin is ground by rotating the crankshaft around a central axis of the crank journal and moving a grinding wheel, facing the crank pin, in the diametric direction of the crankshaft according to the rotation phase angle of the crankshaft.
- 'the rotation phase angle of the crankshaft' is a position of the crankshaft represented by an angle in one revolution of the crankshaft, and more specifically, the location of the crank pin from a rotation center of the crankshaft, that is, 'the central axis of the crank journal' represented by the rotation angle of the crankshaft.
- the above grinding method of the crank pin is performed by a so-called 'C - X control', that is, the control of C-axis and X-axis, in which the rotation axis of an object is defined as a C-axis and the moving axis of the grinding wheel in the diametric direction of the object is defined as an X-axis in a grinding machine having a numerical value control device such as a NC cylindrical grinding machine or the like.
- the outer circumferential surface of the crank pin is grinded by controlling the rotation number of the C-axis to be constant, that is, by rotating the crankshaft at a constant rotation speed.
- a crankshaft CS when a crankshaft CS is rotated around a central axis of a crank journal (hereinafter referred to as 'journal center JO') (solid arrow C), a crank pin P revolves not only on an axis thereof but also around the journal center JO, a so-called 'sun and planet motion' (one-dotted line A). Therefore, a relative speed between an outer circumferential surface of a grinding wheel T and an outer circumferential surface of the crank pin P is changed according to a rotation phase angle of the crankshaft SC at grinding portions KS, at which the crank pin P comes into contact with the grinding wheel T, even when the crankshaft CS is rotated at a constant speed.
- a grinding speed is the speed of a grind stone against the object
- a grinding efficiency is an index expressed by a grinded volume per unit time
- the abrasive grain load is an index expressed by a maximum cut depth of the abrasive grain.
- the grinding portion KS is changed to be revolved around the journal center JO, the rotation center of the crankshaft CS. More specifically, the grinding portion KS moves in an elliptical orbit in one revolution of the crankshaft CS (one-dotted line B). Therefore, the grinding speed, the grinding efficiency, and abrasive grain load are variously changed even more. Since the grinding portion KS deviates vertically from the central axis PO of the crank pin P, a coolant can be flowed into the grinding portions KS in various manners, and the cooling effect or lubrication effect of the coolant is changed in various manners.
- a lifespan of the grind stone is determined under the worst grinding condition.
- the process time is increased considerably in this case, and thus the grinding method in the related art cannot meet the requirement of improving the lifespan of the grind stone while the process time is not considerably increased.
- the invention has been finalized in consideration of the above problems, and it is an object of the invention to provide a grinding method of a crank pin which is capable of properly meeting various requirements that cannot be properly dealt with by the grinding method of the crank pin using a C - X control in the related art. In addition, it is another object of the invention to provide a grinding machine capable of properly meeting the above requirements.
- a grinding method including: rotating a crankshaft comprising a crank journal and a crank pin eccentric to the crank journal around a central axis of the crank journal; moving a rotating grinding wheel in a radial direction of the crankshaft according to a rotation phase angle of the crankshaft; and grinding an outer circumferential surface of the crank pin by the moving of the rotating grinding wheel and the rotation of the crankshaft while a rotation speed of the crank shaft is changed in one revolution of the crankshaft
- the grind method further including: rotating the crankshaft and the grinding wheel in the same direction; making the rotation speed of the crankshaft when the crank pin is located closer to the grinding wheel than the center of the crank journal; and making the rotation speed of the crankshaft when the crank pin is located farther from the grinding wheel than the center of the crank journal.
- a grinding machine including: a grinding wheel capable of rotating; and a crankshaft having a crank journal and a crank pin eccentric to the crank journal.
- An outer circumferential surface of the crank pin is grinded by rotating the crankshaft around a central axis of the crank journal and moving the rotating grinding wheel in a radial direction of the crankshaft according to a rotation phase angle of the crankshaft.
- a rotation speed of the crankshaft is changed in one revolution of the crankshaft to perform a grinding process.
- crank pin P As shown in Fig. 1, in the grinding method of the crank pin P by a C - X control, a crank pin P is revolved on an axis thereof and around a journal center JO of the crankshaft CS, a so-called sun and planet motion. Therefore, various requirements can be met by changing the rotation speed, that is, “rotation number (rpm) " of the crankshaft CS in various manners like the followings in one revolution of the crankshaft CS.
- rotation speed of the crankshaft CS will be referred to as “rotation number (rpm) ".
- the rotation number of the crankshaft CS is changed according to a rotation phase angle of the crankshaft CS in order to make constant the relative speed between an outer circumferential surface of the grinding wheel T and an outer circumferential surface of the crank pin P or to make the change in the relative speed between the outer circumferential surface of the grinding wheel T and the outer circumferential surface of the crank pin P small comparing with the constant rotation number of the crankshaft CS, that is, to make the relative speed almost constant.
- the rotation number of the crankshaft CS by the rotation phase angle of the crankshaft CS is extracted from fixed values defined by the shapes of the crankshaft CS or the grinding wheel T such as "the diameter of the crank pin P", “the distance between a journal center JO and a center axis of the crank pin P", that is, “the eccentric amount of the crank pin P”, and “the diameter of the grinding wheel T” so that the relative speed between the outer circumferential surface of the grinding wheel T and the outer circumferential surface of the crank pin P becomes constant, and then the crankshaft CS is rotated on the basis of the extracted rotation number. Accordingly, the grinding speed can be kept constant at the grinding portions KS.
- the change in the grinding speed can be kept slow comparing with the constant rotation number of the crankshaft CS by calculating the rotation number of the crankshaft CS by the rotation phase angle and rotating the crankshaft CS with a simple conception not considering the diameter of the grinding wheel T.
- the change in the rotation phase angle of the crankshaft CS accompanies the change in the rotation number of the crankshaft CS in one revolution of the crankshaft CS.
- the rotation speed of the crankshaft CS becomes slow when the crank pin P is located closer to the grinding wheel T than the center JO of the crank journal J, and the rotation speed of the crankshaft CS becomes fast when the crank pin P is located farther from the grinding wheel T than the center JO of the crank journal J.
- the surface roughness can be uniform throughout the outer circumferential surface of the crank pin P by changing the rotation number of the crankshaft CS and thus making the grinding speed constant or almost constant.
- the rotation number of the crankshaft CS is changed according to the rotation phase angle of the crankshaft CS in order to make constant the relevant indices such as grinding efficiency, abrasive grain load or the like on the basis of fixed values such as "the diameter of the crank pin P", “the eccentric amount of the crank pin P", “the diameter of the grinding wheel T” or the like; theoretical values extracted from fixed values or the like such as “grinding-removal allowance”; or estimated values extracted while some fixed values are omitted.
- crankshaft CS When the crankshaft CS is revolved at a constant rotation number, there can be portions having superior surface roughness than required value and portions capable of enduring severer grinding conditions, for example, portions without grinding burn even at a higher grinding speed, throughout the outer circumferential surface of the crank pin P. Therefore, the rotation phase angles at the above portions are extracted as the theoretical values extracted from the various fixed values described above or values measured after an actual process, and then the rotation number of the crankshaft CS is changed to make the rotation number fast at the rotation phase angles.
- the entire rotation number of the crankshaft CS is made faster than the rotation number of the crankshaft CS rotated at a constant rotation number, and the rotation phase angles at portions having the highest surface roughness or high possibility of grinding burn are extracted as the theoretical values extracted from the various fixed values described above or values measured after an actual process. And then, the rotation number of the crankshaft CS is changed to partially make the rotation number slow at the rotation phase angles.
- the process time can be shortened while the sufficient process quality is secured.
- the grinding conditions are changed in various manners by the mechanical features of the respective grinding machines such as the fluctuation in the inflow way of coolant, the delayed following of the X-axis, the disturbance in the C-axis or the rotation of the grinding wheel T, or the like in one revolution of the crankshaft CS. Accordingly, there are various portions having the surface roughness getting coarsened or high possibility of grinding burn.
- the process time can be shortened while the sufficient process quality is secured.
- the rotation number of the crankshaft CS is partially changed in order to make the rotation number of the crankshaft CS slow at the rotation phase angles of the crankshaft CS, at which the grinding portions KS become portions having bad grinding conditions, for example, a portion having a fast grinding speed, portion having a high grinding efficiency, a portion having a high abrasive grain load, a portion difficult for a coolant to flow in, a portion having a high possibility of grinding burn, a portion having a large cutting angle of the abrasive grain, at which the abrasive grain of the grind stone begins to come into contact with the object, or the like. That is, bad grinding conditions can be improved by making the grinding speed slow at the rotation phase angles of the crankshaft CS having bad grinding conditions.
- the lifespan of the grind stone can be increased while the rotation number of the crankshaft SC is not made slow, that is, the process time is not increased considerably in one revolution of the crankshaft CS. Therefore, the lifespan of the grind stone can be improved.
- the grinding process includes various processes, such as a finish grinding for obtaining a grinded surface of a final product, a rough grinding performed prior to the finish grinding, or the like.
- a finish grinding for obtaining a grinded surface of a final product
- a rough grinding performed prior to the finish grinding or the like.
- the crank pin P is grinded by a series of processes such as the above various grinding processes
- the rotation number of the crankshaft CS may be changed according to the type of the grinding process.
- the rotation number of the crankshaft CS can be changed in order to shorten the process time of the rough grinding on the condition that no disadvantages such as grinding burn or the like occurs.
- the rotation number of the crankshaft CS may be changed in order to make the crank pin P have a uniform surface roughness on the entire outer circumferential surface and a precise circularity.
- the rotation number of the crankshaft CS be changed gradually in proper angle ranges before and after the rotation phase angles, at which the rotation number becomes the maximum or minimum, when the rotation number is made fast or slow partially as described in the above examples. Since there can occur unexpected disadvantages such as portions having grinding remnants resulting from incomplete removal of the removal stock, scars on the grinded surface, or the like if the rotation number of the crankshaft CS is changed abruptly.
- the grinding method of the crank pin P has been described.
- the grinding method can be performed preferably by a grinding machine having a numerical control device. Accordingly, an example of the grinding machine for performing the grinding method will be described below.
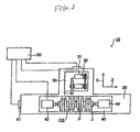
- Fig. 2 illustrates an example of the grinding machine 10.
- the grinding machine 10 includes a control device 50 such as a NC device, a CNC device, or the like, and more particularly, the machine 10 is a circular grinding machine capable of grinding a circular surface of an object.
- the grinding machine 10 includes a bed 20 composing a base, a Z-axis table 40 loaded on the bed 20 and movable in the Z-axis, and an X-axis table 30 loaded on the bed 20 and movable in the X-axis direction.
- the Z-axis table 40 is moved in the Z-axis direction by a Z-axis driving device 41
- the X-axis table 30 is moved in the X-axis direction by an X-axis driving device 31.
- each of the Z-axis driving device 41 and the X-axis driving device 31 are composed of a proper driving source such as a servo motor or the like, and a proper mechanism such as a feed screw mechanism or the like operated by the driving source.
- the Z-axis table 40 of the grinding machine 10 supports an object, that is, the crankshaft CS, more specifically, the crankshaft CS having the crank journal J and the crank pin P eccentric to the crank journal J, and composes a so-called 'object table'.
- a headstock 42 and a tailstock 43 are loaded on the Z-axis table 40, and the crankshaft CS is interposed between the headstock 42 and the tailstock 43 with the crank journals J at both ends contact the headstock 42 and the tailstock 43 respectively, and thus is rotatably supported by the Z-axis table 40.
- the headstock 42 includes a spindle-driving device (not shown), and the crankshaft CS is revolved by the spindle-driving device around the central axis of the crank journals J.
- the X-axis table 30 includes a grinding wheel shaft, on which a grinding wheel T is installed, a bearing that rotatably bears the grinding wheel, and a grinding wheel driving device 32 that rotates the grinding wheel through a transmission mechanism such as belt or the like, and composes a so-called "grinding wheel table".
- the Z-axis driving device 41, the X-axis driving device 31, the grinding wheel driving device 32, and the head-driving device are connected with the control device 50 including a computer, and the control device 50 controls the above driving devices.
- control device 50 includes various control units, as functional components, such as a Z-axis control unit that controls the Z-axis driving device 41, an X-axis control unit that controls the X-axis driving device 31, a grinding wheel control unit that controls the grinding wheel driving device 32, and a C-axis control unit that controls the spindle-driving device.
- a Z-axis control unit that controls the Z-axis driving device 41
- an X-axis control unit that controls the X-axis driving device 31
- grinding wheel control unit controls the grinding wheel driving device 32
- C-axis control unit that controls the spindle-driving device.
- the C-axis control unit is constructed to have a peculiar function not known in the related art.
- the C-axis control unit will be described in detail.
- the C-axis control unit includes a calculation unit that performs calculation on the basis of numerical values inputted to the control device 50 (hereinafter referred to as 'input values').
- 'input values' various values can be set as the input values, and thus the C-axis control unit performs various calculations according to the input values and controls the head-driving device to rotate the crankshaft CS at the rotation number corresponding to the rotation phase angle.
- the C-axis control unit calculates the rotation number corresponding to the rotating angle of the crankshaft CS as the theoretical value by using the input value and the previously stored calculation equation in order to make the grinding conditions constant or almost constant, and controls the rotation of the spindle-driving device on the basis of the calculation result.
- a proper position of the crankshaft CS such as the position of the crankshaft CS at a location, at which the crank pin P is located at the rearmost from the crank journal JO (a location expressed by a solid line in Fig. 1), or the like is defined as a reference value of the rotation phase angle '0'degree, and angles, at which the rotation number needs to be changed, are defined as 'a°'.
- the rotation number 'b' rpm, the ratio of the rotation number to the previously set rotation number 'b' % or the like are defined in order to specify the rotation number to be changed. Then the 'a' and 'b' can be set as the input values.
- the C-axis control unit performs a calculation by using the input values and the previously stored calculation equation and controls the rotation of the head-driving device on the basis of the calculation result.
- an angle range in which the rotation number can be changed, is defined by a specific angle range 'c' to 'd°'that includes 'a°' or by an allowable angle range 'e°' from the reference angle 'a°', and thus the values 'c°' and 'd°', 'e°' or the like can be used as the input value for the calculation.
- the head-driving device is controlled to increase slowly the changing amount of the rotation number from a predetermined rotation number as the rotation phase angle exceeds 'c°' or 'a° - e°', to make the changing amount reach the maximum at 'a°', to decrease the changing amount as the rotation phase angle approaches 'd°' or 'a° + e°', and to make the changing amount return to the predetermined rotation number when the rotation phase angle exceeds 'd°' or 'a °+ e°'. Therefore, the rotation number of the crankshaft CS does not change abruptly.
- a grinding can be performed at a constant grinding speed by changing the rotation speed of the crankshaft in order to make constant the relative speed between the outer circumferential surface of the grinding wheel and the outer circumferential surface of the crank pin in one revolution of the crankshaft.
- the surface roughness can be uniform throughout the outer circumferential surface of the crank pin.
- the grinding condition can be variously changed by making fast or slow the rotation speed locally at proper rotation phase angles of the crankshaft.
- the process time can be shortened, and the lifespan of the grind stone can be improved while the entire rotation speed of the crankshaft is not made slow in the revolution.
- the moving direction of the circumferential surface of the grinding wheel is opposite to that of the outer circumferential surface of the crank pin at the grinding portions, thereby the grinder performs a so-called 'up-cut grinding'.
- the grinding portions are moved vertically along the shaft line connecting the central axis of the rotating crank journal of the crankshaft with the rotation center of the grinding wheel according to the rotation of the crankshaft, the relative speed between the outer circumferential surface of the crank pin and the outer circumferential surface of the grinding wheel is changed as much as the vertical movement, described above, at the grinding portions, at which up-cut grinding is performed when the crankshaft is rotated at a constant rotation speed.
- the relative speed becomes fast when the crank pin is located closer to the grinding wheel than the central axis of the crank journal, and, on the contrary, the relative speed becomes slow when the crank pin is located farther from the grinding wheel than the central axis of the crank journal.
- the grinding condition deteriorates when the relative speed is made fast, and the grinding condition improves when the relative speed is made slow.
- the above grinding machine may be used for performing the above grinding method. Therefore, the grinding machine can properly meet various requirements for a grinding.
- the grinding method of the crank pin can deal properly with various requirements that cannot be met by the grinding method of the crank pin using the C - X control in the related art.
- the grinding machine can perform a grinding that can properly meet the various requirements described above.
- a grinding method of a crank pin that grinds an outer circumferential surface of the crank pin of a crankshaft having a crank journal and the crank pin eccentric to the crank journal by rotating a crankshaft around a central axis (a center of the journal) of the crank journal and moving a rotating grinding wheel in a diametric direction of the crankshaft according to rotation phase angle of the crankshaft, in which a rotation number of the crankshaft is changed in one revolution of the crankshaft to perform a grinding process.
Landscapes
- Engineering & Computer Science (AREA)
- Mechanical Engineering (AREA)
- Grinding Of Cylindrical And Plane Surfaces (AREA)
- Constituent Portions Of Griding Lathes, Driving, Sensing And Control (AREA)
Abstract
Description
- This application is based on and claims the benefit of priority from the prior Japanese Patent Application No. 2004-350997, filed on December 3, 2004; the entire contents of which are incorporated herein by reference.
- The present invention relates to a grinding method of a crank pin, and particularly to the grinding method of the crank pin that grinds an outer circumferential surface of a crank pin by rotating a crankshaft having the crank journal and the crank pin eccentric to a crank journal around a central axis of the crank journal and moving a rotating grinding wheel T in a diametric direction of the crankshaft CS according to a rotation phase angle of the crankshaft. The present invention also relates to a grinding machine performing such method.
- A crankshaft includes a crank journal and a crank pin eccentric to the crank journal. An outer circumferential surface of the crank pin is ground by rotating the crankshaft around a central axis of the crank journal and moving a grinding wheel, facing the crank pin, in the diametric direction of the crankshaft according to the rotation phase angle of the crankshaft. Herein, 'the rotation phase angle of the crankshaft' is a position of the crankshaft represented by an angle in one revolution of the crankshaft, and more specifically, the location of the crank pin from a rotation center of the crankshaft, that is, 'the central axis of the crank journal' represented by the rotation angle of the crankshaft.
- The above grinding method of the crank pin is performed by a so-called 'C - X control', that is, the control of C-axis and X-axis, in which the rotation axis of an object is defined as a C-axis and the moving axis of the grinding wheel in the diametric direction of the object is defined as an X-axis in a grinding machine having a numerical value control device such as a NC cylindrical grinding machine or the like. In addition, in a grinding method of the crank pin by the C - X control in the related art, the outer circumferential surface of the crank pin is grinded by controlling the rotation number of the C-axis to be constant, that is, by rotating the crankshaft at a constant rotation speed.
- However, as shown in Fig. 1, when a crankshaft CS is rotated around a central axis of a crank journal (hereinafter referred to as 'journal center JO') (solid arrow C), a crank pin P revolves not only on an axis thereof but also around the journal center JO, a so-called 'sun and planet motion' (one-dotted line A). Therefore, a relative speed between an outer circumferential surface of a grinding wheel T and an outer circumferential surface of the crank pin P is changed according to a rotation phase angle of the crankshaft SC at grinding portions KS, at which the crank pin P comes into contact with the grinding wheel T, even when the crankshaft CS is rotated at a constant speed. As a result, the grinding speed is changed variously at the grinding portions KS in one revolution of the crankshaft CS. Furthermore, the changed grinding speed affects the grinding efficiency or abrasive grain load essentially. Herein, a grinding speed is the speed of a grind stone against the object, and a grinding efficiency is an index expressed by a grinded volume per unit time, and the abrasive grain load is an index expressed by a maximum cut depth of the abrasive grain.
- Still furthermore, the grinding portion KS is changed to be revolved around the journal center JO, the rotation center of the crankshaft CS. More specifically, the grinding portion KS moves in an elliptical orbit in one revolution of the crankshaft CS (one-dotted line B). Therefore, the grinding speed, the grinding efficiency, and abrasive grain load are variously changed even more. Since the grinding portion KS deviates vertically from the central axis PO of the crank pin P, a coolant can be flowed into the grinding portions KS in various manners, and the cooling effect or lubrication effect of the coolant is changed in various manners.
- As described above, in the grinding method of the crank pin P by the C - X control in the related art, various conditions for a grinding process described above (hereinafter referred to as simply 'grinding condition') can be changed variously in one revolution of the crankshaft CS. In addition, since the grinding wheel T reciprocates in the X-axis direction as the crankshaft CS is revolved (solid arrow X), the grinding conditions can be changed by the mechanical features of the grinding machine, for example, the delayed following of the X-axis to the c-axis, the rotation speed of the crankshaft CS or the rotation speed of the grinding wheel T disturbed by the change in the grinding resistance.
- Furthermore, if the grinding conditions are changed variously in one revolution of the crankshaft CS, it is impossible to obtain grinded surfaces having uniform surface roughness throughout the outer circumferential surface of the crank pin P. Therefore, the grinding method in the related art cannot meet the requirement of making the surface roughness uniform throughout the outer circumferential surface of the crank pin P.
- Since the entire outer circumferential surface of the crank pin P including the roughest surface has to meet the required surface roughness, there is a limit in shortening the process time by hastening the rotation speed of the crankshaft CS, thereby the grinding method in the related art cannot deal with the requirement of further shortening the process time. Since no grinding burn has to occur even under the worst grinding condition, there is a limit in shortening the process time by hastening the rotation speed of the crankshaft CS, thereby the grinding method in the related art cannot meet the requirement of further shortening the process time.
- Meanwhile, a lifespan of the grind stone is determined under the worst grinding condition. Herein, even though it can be considered to improve the grinding condition by making the rotation speed of the crankshaft CS slow, the process time is increased considerably in this case, and thus the grinding method in the related art cannot meet the requirement of improving the lifespan of the grind stone while the process time is not considerably increased.
- The invention has been finalized in consideration of the above problems, and it is an object of the invention to provide a grinding method of a crank pin which is capable of properly meeting various requirements that cannot be properly dealt with by the grinding method of the crank pin using a C - X control in the related art. In addition, it is another object of the invention to provide a grinding machine capable of properly meeting the above requirements.
- According to an aspect of the invention, there is provided a grinding method including: rotating a crankshaft comprising a crank journal and a crank pin eccentric to the crank journal around a central axis of the crank journal; moving a rotating grinding wheel in a radial direction of the crankshaft according to a rotation phase angle of the crankshaft; and grinding an outer circumferential surface of the crank pin by the moving of the rotating grinding wheel and the rotation of the crankshaft while a rotation speed of the crank shaft is changed in one revolution of the crankshaft
- According to the above-aspect, there is provided the grind method further including: rotating the crankshaft and the grinding wheel in the same direction; making the rotation speed of the crankshaft when the crank pin is located closer to the grinding wheel than the center of the crank journal; and making the rotation speed of the crankshaft when the crank pin is located farther from the grinding wheel than the center of the crank journal.
- According to another aspect of the invention, there is provided a grinding machine including: a grinding wheel capable of rotating; and a crankshaft having a crank journal and a crank pin eccentric to the crank journal. An outer circumferential surface of the crank pin is grinded by rotating the crankshaft around a central axis of the crank journal and moving the rotating grinding wheel in a radial direction of the crankshaft according to a rotation phase angle of the crankshaft. A rotation speed of the crankshaft is changed in one revolution of the crankshaft to perform a grinding process.
- These and other objects and advantages of this invention will become more fully apparent from the following detailed description taken with the accompanying drawings in which:
- Fig. 1 is an explanatory view showing a change in locations of a crank pin in a grinding process by a C - X control; and
- Fig. 2 is a plan view showing an example of a grinding machine that performs a grinding method of the crank pin according to the invention.
- Next, embodiments will be described in detail. Meanwhile, the following examples describe a so-called "up-cut grinding", in which a crankshaft and a grinding wheel rotate in the same direction.
- As shown in Fig. 1, in the grinding method of the crank pin P by a C - X control, a crank pin P is revolved on an axis thereof and around a journal center JO of the crankshaft CS, a so-called sun and planet motion. Therefore, various requirements can be met by changing the rotation speed, that is, "rotation number (rpm) " of the crankshaft CS in various manners like the followings in one revolution of the crankshaft CS. Hereinafter, the rotation speed of the crankshaft CS will be referred to as "rotation number (rpm) ".
- At grinding portions KS, at which the grinding wheel T comes into contact with the crank pin P, the rotation number of the crankshaft CS is changed according to a rotation phase angle of the crankshaft CS in order to make constant the relative speed between an outer circumferential surface of the grinding wheel T and an outer circumferential surface of the crank pin P or to make the change in the relative speed between the outer circumferential surface of the grinding wheel T and the outer circumferential surface of the crank pin P small comparing with the constant rotation number of the crankshaft CS, that is, to make the relative speed almost constant.
- For example, the rotation number of the crankshaft CS by the rotation phase angle of the crankshaft CS is extracted from fixed values defined by the shapes of the crankshaft CS or the grinding wheel T such as "the diameter of the crank pin P", "the distance between a journal center JO and a center axis of the crank pin P", that is, "the eccentric amount of the crank pin P", and "the diameter of the grinding wheel T" so that the relative speed between the outer circumferential surface of the grinding wheel T and the outer circumferential surface of the crank pin P becomes constant, and then the crankshaft CS is rotated on the basis of the extracted rotation number. Accordingly, the grinding speed can be kept constant at the grinding portions KS.
- In addition, if the grinding portions KS are located on a surface connecting the journal center JO and the rotation center of the grinding wheel T without vertical deviation with respect to the journal center JO, the change in the grinding speed can be kept slow comparing with the constant rotation number of the crankshaft CS by calculating the rotation number of the crankshaft CS by the rotation phase angle and rotating the crankshaft CS with a simple conception not considering the diameter of the grinding wheel T.
- Meanwhile, in the above embodiment, the change in the rotation phase angle of the crankshaft CS accompanies the change in the rotation number of the crankshaft CS in one revolution of the crankshaft CS. In addition, the rotation speed of the crankshaft CS becomes slow when the crank pin P is located closer to the grinding wheel T than the center JO of the crank journal J, and the rotation speed of the crankshaft CS becomes fast when the crank pin P is located farther from the grinding wheel T than the center JO of the crank journal J.
- As described above, the surface roughness can be uniform throughout the outer circumferential surface of the crank pin P by changing the rotation number of the crankshaft CS and thus making the grinding speed constant or almost constant.
- In one revolution of the crankshaft CS, since the grinding portions KS deviate vertically from the surface connecting the journal center JO and the rotation center of the grinding wheel T, the position of the crank pin P with respect to the grinding wheel T is changed. Therefore, the grinding efficiency and abrasive grain load are affected by the change in the position of the crank pin P as well as the change in the grinding speed. Therefore, the rotation number of the crankshaft CS is changed according to the rotation phase angle of the crankshaft CS in order to make constant the relevant indices such as grinding efficiency, abrasive grain load or the like on the basis of fixed values such as "the diameter of the crank pin P", "the eccentric amount of the crank pin P", "the diameter of the grinding wheel T" or the like; theoretical values extracted from fixed values or the like such as "grinding-removal allowance"; or estimated values extracted while some fixed values are omitted.
- It is possible to make the grinding conditions constant more precisely and to make the surface roughness uniform throughout the outer circumferential surface of the crank pin P by changing the rotation number of the crankshaft CS as described above.
- When the crankshaft CS is revolved at a constant rotation number, there can be portions having superior surface roughness than required value and portions capable of enduring severer grinding conditions, for example, portions without grinding burn even at a higher grinding speed, throughout the outer circumferential surface of the crank pin P. Therefore, the rotation phase angles at the above portions are extracted as the theoretical values extracted from the various fixed values described above or values measured after an actual process, and then the rotation number of the crankshaft CS is changed to make the rotation number fast at the rotation phase angles.
- Then, the process time can be shortened.
- In grinding the outer circumferential surface of the crank pin P, there is a limit to make the rotation speed of the crankshaft CS fast when the crankshaft CS needs to be rotated at a constant rotation number in order to secure the surface roughness satisfying at least the required values, and to perform a grinding with no grinding burn generated.
- Contrary to the above, the entire rotation number of the crankshaft CS is made faster than the rotation number of the crankshaft CS rotated at a constant rotation number, and the rotation phase angles at portions having the highest surface roughness or high possibility of grinding burn are extracted as the theoretical values extracted from the various fixed values described above or values measured after an actual process. And then, the rotation number of the crankshaft CS is changed to partially make the rotation number slow at the rotation phase angles.
- Accordingly, the process time can be shortened while the sufficient process quality is secured.
- In an actual grinding process, the grinding conditions are changed in various manners by the mechanical features of the respective grinding machines such as the fluctuation in the inflow way of coolant, the delayed following of the X-axis, the disturbance in the C-axis or the rotation of the grinding wheel T, or the like in one revolution of the crankshaft CS. Accordingly, there are various portions having the surface roughness getting coarsened or high possibility of grinding burn.
- Therefore, such items as surface roughness, surface hardness, circularity or the like are examined on a grinded object after an actual grinding process, and portions barely generating disadvantages even at a high grinding speed are defined. Then, the rotation number of the crankshaft CS is partially changed at the proper rotation phase angles of the crankshaft CS in order to make the grinding speed fast at the above portions.
- Then, the process time can be shortened while the sufficient process quality is secured.
- In general, it is considered that the lifespan of a grind stone is shortened further as the grinding condition is worse. Therefore, the rotation number of the crankshaft CS is partially changed in order to make the rotation number of the crankshaft CS slow at the rotation phase angles of the crankshaft CS, at which the grinding portions KS become portions having bad grinding conditions, for example, a portion having a fast grinding speed, portion having a high grinding efficiency, a portion having a high abrasive grain load, a portion difficult for a coolant to flow in, a portion having a high possibility of grinding burn, a portion having a large cutting angle of the abrasive grain, at which the abrasive grain of the grind stone begins to come into contact with the object, or the like. That is, bad grinding conditions can be improved by making the grinding speed slow at the rotation phase angles of the crankshaft CS having bad grinding conditions.
- Accordingly, the lifespan of the grind stone can be increased while the rotation number of the crankshaft SC is not made slow, that is, the process time is not increased considerably in one revolution of the crankshaft CS. Therefore, the lifespan of the grind stone can be improved.
- Meanwhile, the grinding process includes various processes, such as a finish grinding for obtaining a grinded surface of a final product, a rough grinding performed prior to the finish grinding, or the like. When the crank pin P is grinded by a series of processes such as the above various grinding processes, the rotation number of the crankshaft CS may be changed according to the type of the grinding process.
- For example, although a high precision of the surface roughness, circularity or the like is required in the finish grinding, the precision as high as the above is not required in the rough grinding. Therefore, in the rough grinding, the shortening of process time is the top priority, and thus the rotation number of the crankshaft CS can be changed in order to shorten the process time of the rough grinding on the condition that no disadvantages such as grinding burn or the like occurs. On the other hand, in the finish grinding, the rotation number of the crankshaft CS may be changed in order to make the crank pin P have a uniform surface roughness on the entire outer circumferential surface and a precise circularity.
- Meanwhile, it is preferable that the rotation number of the crankshaft CS be changed gradually in proper angle ranges before and after the rotation phase angles, at which the rotation number becomes the maximum or minimum, when the rotation number is made fast or slow partially as described in the above examples. Since there can occur unexpected disadvantages such as portions having grinding remnants resulting from incomplete removal of the removal stock, scars on the grinded surface, or the like if the rotation number of the crankshaft CS is changed abruptly.
- So far, the grinding method of the crank pin P has been described. The grinding method can be performed preferably by a grinding machine having a numerical control device. Accordingly, an example of the grinding machine for performing the grinding method will be described below.
- Fig. 2 illustrates an example of the grinding machine 10. The grinding machine 10 includes a
control device 50 such as a NC device, a CNC device, or the like, and more particularly, the machine 10 is a circular grinding machine capable of grinding a circular surface of an object. - The grinding machine 10 includes a
bed 20 composing a base, a Z-axis table 40 loaded on thebed 20 and movable in the Z-axis, and an X-axis table 30 loaded on thebed 20 and movable in the X-axis direction. Herein, the Z-axis table 40 is moved in the Z-axis direction by a Z-axis driving device 41, and the X-axis table 30 is moved in the X-axis direction by anX-axis driving device 31. In addition, each of the Z-axis driving device 41 and theX-axis driving device 31 are composed of a proper driving source such as a servo motor or the like, and a proper mechanism such as a feed screw mechanism or the like operated by the driving source. - Meanwhile, the Z-axis table 40 of the grinding machine 10 according to the present example supports an object, that is, the crankshaft CS, more specifically, the crankshaft CS having the crank journal J and the crank pin P eccentric to the crank journal J, and composes a so-called 'object table'. In addition, a
headstock 42 and atailstock 43 are loaded on the Z-axis table 40, and the crankshaft CS is interposed between theheadstock 42 and thetailstock 43 with the crank journals J at both ends contact theheadstock 42 and thetailstock 43 respectively, and thus is rotatably supported by the Z-axis table 40. Furthermore, theheadstock 42 includes a spindle-driving device (not shown), and the crankshaft CS is revolved by the spindle-driving device around the central axis of the crank journals J. - Meanwhile, the X-axis table 30 includes a grinding wheel shaft, on which a grinding wheel T is installed, a bearing that rotatably bears the grinding wheel, and a grinding
wheel driving device 32 that rotates the grinding wheel through a transmission mechanism such as belt or the like, and composes a so-called "grinding wheel table". - Furthermore, the Z-
axis driving device 41, theX-axis driving device 31, the grindingwheel driving device 32, and the head-driving device are connected with thecontrol device 50 including a computer, and thecontrol device 50 controls the above driving devices. - Although not shown in the drawings, the
control device 50 includes various control units, as functional components, such as a Z-axis control unit that controls the Z-axis driving device 41, an X-axis control unit that controls theX-axis driving device 31, a grinding wheel control unit that controls the grindingwheel driving device 32, and a C-axis control unit that controls the spindle-driving device. In addition, although the Z-axis control unit, the X-axis control unit, and the grinding wheel driving control unit are constructed similar to those in the related art, the C-axis control unit is constructed to have a peculiar function not known in the related art. Hereinafter, the C-axis control unit will be described in detail. - The C-axis control unit includes a calculation unit that performs calculation on the basis of numerical values inputted to the control device 50 (hereinafter referred to as 'input values'). Herein, various values can be set as the input values, and thus the C-axis control unit performs various calculations according to the input values and controls the head-driving device to rotate the crankshaft CS at the rotation number corresponding to the rotation phase angle.
- For example, when the rotation number of the crankshaft CS needs to be changed in order to perform a grinding under the constant or almost constant conditions, numerical values for determining the grinding conditions such as "grinding speed", "grinding efficiency", "abrasive grain load" or the like can be set as the input values.
- The C-axis control unit calculates the rotation number corresponding to the rotating angle of the crankshaft CS as the theoretical value by using the input value and the previously stored calculation equation in order to make the grinding conditions constant or almost constant, and controls the rotation of the spindle-driving device on the basis of the calculation result.
- Meanwhile, in the calculation equation calculated by the C-axis control unit, proper fixed values corresponding to the calculation equation from various fixed values such as fixed values relating to the shapes of the crankshaft CS or the grinding wheel T such as "the diameter of the crank pin P", "the eccentric amount of the crank pin P", "the diameter of the grinding wheel T", "grinding removal stock" or the like, fixed values relating to the grinding contents, or the like are used. The fixed values can be inputted to the
control device 50 before the input values. - In addition, when the rotation number of the crankshaft CS needs to be changed at a certain rotation phase angle in order to meet the desired requirements such as the shortening of the grinding process time, the improvement of the grind stone lifespan or the like, values defining the rotation phase angle, at which the rotation number is changed, or values of the changed rotation number or the like can be set as the input value.
- For example, a proper position of the crankshaft CS such as the position of the crankshaft CS at a location, at which the crank pin P is located at the rearmost from the crank journal JO (a location expressed by a solid line in Fig. 1), or the like is defined as a reference value of the rotation phase angle '0'degree, and angles, at which the rotation number needs to be changed, are defined as 'a°'. In addition, the rotation number 'b' rpm, the ratio of the rotation number to the previously set rotation number 'b' % or the like are defined in order to specify the rotation number to be changed. Then the 'a' and 'b' can be set as the input values.
- The C-axis control unit performs a calculation by using the input values and the previously stored calculation equation and controls the rotation of the head-driving device on the basis of the calculation result.
- Meanwhile, when the rotation number of the crankshaft CS needs to be changed slowly, an angle range, in which the rotation number can be changed, is defined by a specific angle range 'c' to 'd°'that includes 'a°' or by an allowable angle range 'e°' from the reference angle 'a°', and thus the values 'c°' and 'd°', 'e°' or the like can be used as the input value for the calculation. In the above system, the head-driving device is controlled to increase slowly the changing amount of the rotation number from a predetermined rotation number as the rotation phase angle exceeds 'c°' or 'a° - e°', to make the changing amount reach the maximum at 'a°', to decrease the changing amount as the rotation phase angle approaches 'd°' or 'a° + e°', and to make the changing amount return to the predetermined rotation number when the rotation phase angle exceeds 'd°' or 'a °+ e°'. Therefore, the rotation number of the crankshaft CS does not change abruptly.
- According to the above-embodiments, since the rotation speed, so-called 'rotation number (rpm) ', of the crankshaft is not constant, that is, changed in one revolution of the crankshaft, the grinding condition can be changed as desired in one revolution of the crankshaft.
- For example, a grinding can be performed at a constant grinding speed by changing the rotation speed of the crankshaft in order to make constant the relative speed between the outer circumferential surface of the grinding wheel and the outer circumferential surface of the crank pin in one revolution of the crankshaft. As a result, the surface roughness can be uniform throughout the outer circumferential surface of the crank pin.
- According to the above-embodiments, the grinding condition can be variously changed by making fast or slow the rotation speed locally at proper rotation phase angles of the crankshaft. As a result, the process time can be shortened, and the lifespan of the grind stone can be improved while the entire rotation speed of the crankshaft is not made slow in the revolution.
- According the above-embodiments, since the crankshaft and the grinding wheel are rotated in the same direction, the moving direction of the circumferential surface of the grinding wheel is opposite to that of the outer circumferential surface of the crank pin at the grinding portions, thereby the grinder performs a so-called 'up-cut grinding'. Meanwhile, since the grinding portions are moved vertically along the shaft line connecting the central axis of the rotating crank journal of the crankshaft with the rotation center of the grinding wheel according to the rotation of the crankshaft, the relative speed between the outer circumferential surface of the crank pin and the outer circumferential surface of the grinding wheel is changed as much as the vertical movement, described above, at the grinding portions, at which up-cut grinding is performed when the crankshaft is rotated at a constant rotation speed. More specifically, the relative speed becomes fast when the crank pin is located closer to the grinding wheel than the central axis of the crank journal, and, on the contrary, the relative speed becomes slow when the crank pin is located farther from the grinding wheel than the central axis of the crank journal. In addition, the grinding condition deteriorates when the relative speed is made fast, and the grinding condition improves when the relative speed is made slow.
- According to the above-embodiments, it is possible to suppress the deterioration of the grinding condition when the crank pin is located at positions making the grinding condition worse and to suppress the unnecessary improvement of the grinding condition when the crank pin is located at positions making the grinding condition exceedingly better.
- According to the above-embodiments, the above grinding machine may be used for performing the above grinding method. Therefore, the grinding machine can properly meet various requirements for a grinding.
- According to the above-embodiments, the grinding method of the crank pin can deal properly with various requirements that cannot be met by the grinding method of the crank pin using the C - X control in the related art. According to the above-embodiments, the grinding machine can perform a grinding that can properly meet the various requirements described above.
- The foregoing description of the embodiments of the present invention has been provided for the purposes of illustration and description. It is not intended to be exhaustive or to limit the invention to the precise forms disclosed. Obviously, many modifications and variations will be apparent to practitioners skilled in the art. The embodiments were chosen and described in order to best explain the principles of the invention and its practical applications, thereby enabling others skilled in the art to understand the invention for various embodiments and with the various modifications as are suited to the particular use contemplated. It is intended that the scope of the invention be defined solely by the following claims and their equivalents.
- A grinding method of a crank pin that grinds an outer circumferential surface of the crank pin of a crankshaft having a crank journal and the crank pin eccentric to the crank journal by rotating a crankshaft around a central axis (a center of the journal) of the crank journal and moving a rotating grinding wheel in a diametric direction of the crankshaft according to rotation phase angle of the crankshaft, in which a rotation number of the crankshaft is changed in one revolution of the crankshaft to perform a grinding process.
Claims (3)
- A grinding method comprising:rotating a crankshaft comprising a crank journal and a crank pin eccentric to the crank journal around a central axis of the crank journal;moving a rotating grinding wheel in a radial direction of the crankshaft according to a rotation phase angle of the crankshaft; andgrinding an outer circumferential surface of the crank pin by the moving of the rotating grinding wheel and the rotation of the crankshaft while a rotation speed of the crank shaft is changed in one revolution of the crankshaft
- The grind method according to claim 1, further comprising:rotating the crankshaft and the grinding wheel in the same direction;making slow the rotation speed of the crankshaft when the crank pin is located closer to the grinding wheel than the center of the crank journal; andmaking fast the rotation speed of the crankshaft when the crank pin is located farther from the grinding wheel than the center of the crank journal.
- A grinding machine comprising:a grinding wheel capable of rotating; anda crankshaft having a crank journal and a crank pin eccentric to the crank journal, wherein an outer circumferential surface of the crank pin is grinded by rotating the crankshaft around a central axis of the crank journal and moving the rotating grinding wheel in a radial direction of the crankshaft according to a rotation phase angle of the crankshaft, andwherein a rotation speed of the crankshaft is changed in one revolution of the crankshaft to perform a grinding process.
Applications Claiming Priority (1)
| Application Number | Priority Date | Filing Date | Title |
|---|---|---|---|
| JP2004350997A JP2006159314A (en) | 2004-12-03 | 2004-12-03 | Crank pin grinding method and grinding machine |
Publications (1)
| Publication Number | Publication Date |
|---|---|
| EP1666201A1 true EP1666201A1 (en) | 2006-06-07 |
Family
ID=35809985
Family Applications (1)
| Application Number | Title | Priority Date | Filing Date |
|---|---|---|---|
| EP05026279A Withdrawn EP1666201A1 (en) | 2004-12-03 | 2005-12-01 | Method and machine for grinding a crank pin |
Country Status (3)
| Country | Link |
|---|---|
| US (1) | US20060121830A1 (en) |
| EP (1) | EP1666201A1 (en) |
| JP (1) | JP2006159314A (en) |
Cited By (4)
| Publication number | Priority date | Publication date | Assignee | Title |
|---|---|---|---|---|
| CN101214627B (en) * | 2008-01-18 | 2010-08-11 | 潘旭华 | Grinding processing method for crankshaft connecting rod neck |
| CN104400633A (en) * | 2014-10-28 | 2015-03-11 | 南通御丰塑钢包装有限公司 | Clamp for finely grinding outer circle of eccentric cylinder and method for processing by using clamp |
| CN107116404A (en) * | 2017-04-09 | 2017-09-01 | 北京工业大学 | A kind of constant speed bent axle follow-up grinding machining experiment system and process |
| CN113001274A (en) * | 2021-03-29 | 2021-06-22 | 华辰精密装备(昆山)股份有限公司 | Cylindrical grinding machine |
Families Citing this family (6)
| Publication number | Priority date | Publication date | Assignee | Title |
|---|---|---|---|---|
| JP5401757B2 (en) * | 2006-11-30 | 2014-01-29 | 株式会社ジェイテクト | Processing equipment |
| CN100591477C (en) * | 2006-12-22 | 2010-02-24 | 潘旭华 | A crankshaft grinding method |
| DE102008007175B4 (en) * | 2008-02-01 | 2010-06-02 | Erwin Junker Maschinenfabrik Gmbh | Method for grinding the main and stroke bearings of a crankshaft by external cylindrical grinding and apparatus for carrying out the method |
| DE102009021803B4 (en) * | 2009-05-18 | 2012-07-12 | Emag Holding Gmbh | Method and device for machining crankshafts |
| CN104044024B (en) * | 2014-05-30 | 2016-07-27 | 湖北伟翔数控机床股份有限公司 | Massive engine machine crankshaft numerically control grinder |
| CN110103142B (en) * | 2019-05-05 | 2021-12-21 | 广东省汉兴科技有限公司 | Intelligent grinding wheel switching method and device |
Citations (3)
| Publication number | Priority date | Publication date | Assignee | Title |
|---|---|---|---|---|
| US4444533A (en) * | 1981-10-26 | 1984-04-24 | Saginaw Machine Systems, Inc. | Methods and apparatus for machining crankshafts |
| GB2206067A (en) * | 1987-06-25 | 1988-12-29 | Litton Uk Ltd | Crankpin grinders |
| US6306018B1 (en) * | 1996-07-24 | 2001-10-23 | Unova U.K. Limited | Grinding methods and apparatus |
Family Cites Families (10)
| Publication number | Priority date | Publication date | Assignee | Title |
|---|---|---|---|---|
| US2054364A (en) * | 1934-07-25 | 1936-09-15 | Albert F Nathan | Eccentric grinder |
| US2287449A (en) * | 1940-11-08 | 1942-06-23 | Landis Tool Co | Wheel speed control |
| US4790698A (en) * | 1987-05-13 | 1988-12-13 | Cm Systems, Incorporated | Monotonic cutting machine |
| DE4137924C2 (en) * | 1991-11-18 | 1997-12-04 | Schaudt Maschinenbau Gmbh | Method and device for numerically controlled grinding of cams of a camshaft |
| DE4202513C2 (en) * | 1992-01-30 | 1997-01-23 | Naxos Union Schleifmittel | Method for grinding crank pin journals and grinding machine for carrying out the method |
| WO1997019784A1 (en) * | 1995-11-30 | 1997-06-05 | Nippei Toyama Corporation | Device and method for indexing the phase of a crank pin |
| DE19546197C1 (en) * | 1995-12-11 | 1997-01-23 | Widia Gmbh | Rotary milling of workpieces, partic. crankshafts or similar |
| US5975995A (en) * | 1997-06-25 | 1999-11-02 | Unova Ip Corp. | Machining apparatus and method |
| DE19801862A1 (en) * | 1998-01-20 | 1999-07-22 | Hegenscheidt Mfd Gmbh | Method and machine for turning the connecting rod bearing journals of crankshafts by means of disc cutters |
| DE60003835T2 (en) * | 1999-10-27 | 2004-05-27 | Unova U.K. Ltd., Aylesbury | METHOD FOR GRINDING CRANKS |
-
2004
- 2004-12-03 JP JP2004350997A patent/JP2006159314A/en active Pending
-
2005
- 2005-12-01 EP EP05026279A patent/EP1666201A1/en not_active Withdrawn
- 2005-12-02 US US11/291,816 patent/US20060121830A1/en not_active Abandoned
Patent Citations (3)
| Publication number | Priority date | Publication date | Assignee | Title |
|---|---|---|---|---|
| US4444533A (en) * | 1981-10-26 | 1984-04-24 | Saginaw Machine Systems, Inc. | Methods and apparatus for machining crankshafts |
| GB2206067A (en) * | 1987-06-25 | 1988-12-29 | Litton Uk Ltd | Crankpin grinders |
| US6306018B1 (en) * | 1996-07-24 | 2001-10-23 | Unova U.K. Limited | Grinding methods and apparatus |
Cited By (4)
| Publication number | Priority date | Publication date | Assignee | Title |
|---|---|---|---|---|
| CN101214627B (en) * | 2008-01-18 | 2010-08-11 | 潘旭华 | Grinding processing method for crankshaft connecting rod neck |
| CN104400633A (en) * | 2014-10-28 | 2015-03-11 | 南通御丰塑钢包装有限公司 | Clamp for finely grinding outer circle of eccentric cylinder and method for processing by using clamp |
| CN107116404A (en) * | 2017-04-09 | 2017-09-01 | 北京工业大学 | A kind of constant speed bent axle follow-up grinding machining experiment system and process |
| CN113001274A (en) * | 2021-03-29 | 2021-06-22 | 华辰精密装备(昆山)股份有限公司 | Cylindrical grinding machine |
Also Published As
| Publication number | Publication date |
|---|---|
| US20060121830A1 (en) | 2006-06-08 |
| JP2006159314A (en) | 2006-06-22 |
Similar Documents
| Publication | Publication Date | Title |
|---|---|---|
| US6319097B1 (en) | Grinding methods and apparatus | |
| EP1666201A1 (en) | Method and machine for grinding a crank pin | |
| US7809463B2 (en) | Numerically controlled machining apparatus | |
| JP3490534B2 (en) | Non-circular workpiece grinding method and apparatus | |
| EP3411181B1 (en) | Narrow shoe journal microfinishing apparatus and method | |
| EP1679154A1 (en) | Method for machining aspherical surface, method for forming aspherical surface, and system for machining aspherical surface | |
| JP4940729B2 (en) | Workpiece grinding method and grinding apparatus | |
| CN113561061A (en) | Dressing device | |
| JP2005199393A (en) | Method and apparatus for processing spiral groove on cylindrical inner surface | |
| JP5061558B2 (en) | Numerical control device program description method, numerical control device, and machining device | |
| RU2678349C1 (en) | Method and grinding machine for measuring and producing target outer contour of workpiece by means of grinding | |
| JP4957153B2 (en) | Processing equipment | |
| JP7557039B1 (en) | How to Machining Spiral Grooves | |
| JP6437337B2 (en) | Grinding apparatus and grinding method | |
| JP3939682B2 (en) | Non-circular workpiece grinding method and grinding apparatus | |
| JP2008264934A (en) | Grinding method | |
| JPH01246072A (en) | Grinding surface dressing method for grinding stone | |
| JP7658122B2 (en) | Grinding wheel dressing device and method | |
| JP2013158890A (en) | Super finishing device, and super finishing method | |
| RU2019384C1 (en) | Method to control process of circular cut in polishing | |
| JP6089752B2 (en) | Grinding machine and grinding method | |
| JP4788132B2 (en) | Grinding wheel apparatus and grinding machine equipped with the same | |
| JP2025179978A (en) | Gear grinding wheel and gear grinding device | |
| JP2002239901A (en) | Grinding method of revolving work | |
| JP2023079530A (en) | Grinder |
Legal Events
| Date | Code | Title | Description |
|---|---|---|---|
| PUAI | Public reference made under article 153(3) epc to a published international application that has entered the european phase |
Free format text: ORIGINAL CODE: 0009012 |
|
| AK | Designated contracting states |
Kind code of ref document: A1 Designated state(s): AT BE BG CH CY CZ DE DK EE ES FI FR GB GR HU IE IS IT LI LT LU LV MC NL PL PT RO SE SI SK TR |
|
| AX | Request for extension of the european patent |
Extension state: AL BA HR MK YU |
|
| RAP1 | Party data changed (applicant data changed or rights of an application transferred) |
Owner name: JTEKT CORPORATION |
|
| RIN1 | Information on inventor provided before grant (corrected) |
Inventor name: OKADA, KIKUTOSHI Inventor name: NONOYAMA, MAKOTO Inventor name: HORI, NOBUMITSU |
|
| AKX | Designation fees paid | ||
| STAA | Information on the status of an ep patent application or granted ep patent |
Free format text: STATUS: THE APPLICATION IS DEEMED TO BE WITHDRAWN |
|
| 18D | Application deemed to be withdrawn |
Effective date: 20061208 |
|
| REG | Reference to a national code |
Ref country code: DE Ref legal event code: 8566 |