EP1074481A1 - A flexible bag having a tear off band for easy opening - Google Patents
A flexible bag having a tear off band for easy opening Download PDFInfo
- Publication number
- EP1074481A1 EP1074481A1 EP99870165A EP99870165A EP1074481A1 EP 1074481 A1 EP1074481 A1 EP 1074481A1 EP 99870165 A EP99870165 A EP 99870165A EP 99870165 A EP99870165 A EP 99870165A EP 1074481 A1 EP1074481 A1 EP 1074481A1
- Authority
- EP
- European Patent Office
- Prior art keywords
- bag
- precut
- band
- cut
- articles
- Prior art date
- Legal status (The legal status is an assumption and is not a legal conclusion. Google has not performed a legal analysis and makes no representation as to the accuracy of the status listed.)
- Withdrawn
Links
Images
Classifications
-
- B—PERFORMING OPERATIONS; TRANSPORTING
- B65—CONVEYING; PACKING; STORING; HANDLING THIN OR FILAMENTARY MATERIAL
- B65D—CONTAINERS FOR STORAGE OR TRANSPORT OF ARTICLES OR MATERIALS, e.g. BAGS, BARRELS, BOTTLES, BOXES, CANS, CARTONS, CRATES, DRUMS, JARS, TANKS, HOPPERS, FORWARDING CONTAINERS; ACCESSORIES, CLOSURES, OR FITTINGS THEREFOR; PACKAGING ELEMENTS; PACKAGES
- B65D75/00—Packages comprising articles or materials partially or wholly enclosed in strips, sheets, blanks, tubes or webs of flexible sheet material, e.g. in folded wrappers
- B65D75/52—Details
- B65D75/58—Opening or contents-removing devices added or incorporated during package manufacture
- B65D75/5827—Tear-lines provided in a wall portion
- B65D75/5833—Tear-lines provided in a wall portion for tearing out a portion of the wall
- B65D75/5844—Tear-lines provided in a wall portion for tearing out a portion of the wall the portion of the wall being a narrow strip, e.g. between lines of weakness
-
- B—PERFORMING OPERATIONS; TRANSPORTING
- B65—CONVEYING; PACKING; STORING; HANDLING THIN OR FILAMENTARY MATERIAL
- B65D—CONTAINERS FOR STORAGE OR TRANSPORT OF ARTICLES OR MATERIALS, e.g. BAGS, BARRELS, BOTTLES, BOXES, CANS, CARTONS, CRATES, DRUMS, JARS, TANKS, HOPPERS, FORWARDING CONTAINERS; ACCESSORIES, CLOSURES, OR FITTINGS THEREFOR; PACKAGING ELEMENTS; PACKAGES
- B65D75/00—Packages comprising articles or materials partially or wholly enclosed in strips, sheets, blanks, tubes or webs of flexible sheet material, e.g. in folded wrappers
- B65D75/52—Details
- B65D75/58—Opening or contents-removing devices added or incorporated during package manufacture
- B65D75/5827—Tear-lines provided in a wall portion
- B65D75/5833—Tear-lines provided in a wall portion for tearing out a portion of the wall
- B65D75/5838—Tear-lines provided in a wall portion for tearing out a portion of the wall combined with separate fixed tearing means, e.g. tabs
Definitions
- the present invention relates to flexible bags for packaging of disposable compressed articles such as diapers.
- Flexible bags for packaging disposable compressed articles, such as diapers are representative of the various flexible bags to which the present invention can apply.
- Such bags are typically made from a flexible film of plastic, such as a polyethylene (PE), which is sealed in the shape of a parallelepipedic bag.
- PE polyethylene
- Some bags also comprise handles to facilitate handling and transportation by the consumer.
- Such bags also comprise precut lines along their surface which facilitate the opening of the bag and the dispensing of the articles packed therein.
- US 5.380.094 is a US patent to THE PROCTER & GAMBLE COMPANY. It discloses a flexible bag for compressed articles as diapers.
- the bag comprises a line of weakness located around the perimeter of the bag's top half. This enables the user to separate at least partially a portion of the bag's top half from the rest of said bag by applying a grasping force, thus giving access to the contents without releasing the tension in the remaining bottom portion of said bag.
- EP 579714B1 (D2) is a European patent to Peaudouce.
- a diaper bag comprising a handle in its top portion, the handle being attached all around the periphery of the bag's top portion.
- the bag further comprises two vertical precut lines respectively in the top portions of the front and back sides, which are prolonged into the top portion of the bag where the handle is attached, and which are linked on the top side of the bag by a third, continuous, precut line.
- EP 349050B1 (D3) is a European patent to THE PROCTER & GAMBLE COMPANY. It discloses a bag for containing compressed articles such as diapers, the bag comprising a precut portion made out of precut lines located in one side wall of the bag, i.e. perpendicular to the compression direction of the contents.
- US 5.439.166 is a US patent to Focke & Co. It discloses a reclosable cuboid bag made out of a flexible plastic film. The bag is made from a one-piece blank and comprises an opening located in its front and top sides, which is closed respectively by front and top flaps. The top flap is connected to the side walls of the bag via foldable side tabs.
- WO 98/43890 A1 is an international application to Paul Hartmann. It discloses a bag for hygiene products which comprises a precut line on at least 3 of its sides, the line defining two side-by-side receptacle parts, each part containing at least one row of articles.
- the precut line on 3 sides defines one detachable side (preferably the top one) which is remains attached to the rest of the pack by a fold line, around which it can be opened/closed.
- Documents D2 and D3 are related to flexible bags comprising openings which give access to only one portion of the whole stack of articles packed therein.
- D4 discloses a bag made out of a blank, which clearly relates to a different packaging technique compared to the packing techniques used for compressed articles such as diapers.
- Document D1 discloses a bag with precut lines on 4 sides. Such a bag is not reclosable, moreover it presents a risk of injury to the children who can play with the detached portion of the bag.
- Document D5 does not address the problem of removing compressed articles. Moreover, it does not allow proper dispensing of the diapers from the stack since each row of the articles packed therein is opened to the separating plane, i.e. the separating line lies in the plane defined by the top portions of the packed articles.
- the present invention is directed to a bag for containing a stack of compressed articles, said bag comprising: (i) back and front walls connected to one another by a pair of side walls, the bag further comprising top and bottom walls, the front, back, and side walls defining a bag perimeter, and (ii) a stack of compressed articles comprised within said bag, said articles being substantially planar and held in compression in a direction that is substantially perpendicular to their surface, the bag being characterized in that it comprises two continuous and substantially parallel precut lines, said lines being distinct from each other, and extending along at least one side of said bag, so as to define a precut band of the bag.
- said precut band is substantially horizontal.
- the bag comprises at least one cut connecting said parallel precut lines, said cut is at least partially covered by a grip-and-pull tab.
- the present invention is related to a bag made of a flexible material, for packaging of compressed articles.
- the bag comprises a precut portion in the shape of a band along at least one of its sides. It also preferably comprises a pull tab to facilitate the tearing process of the precut band when opening the bag.
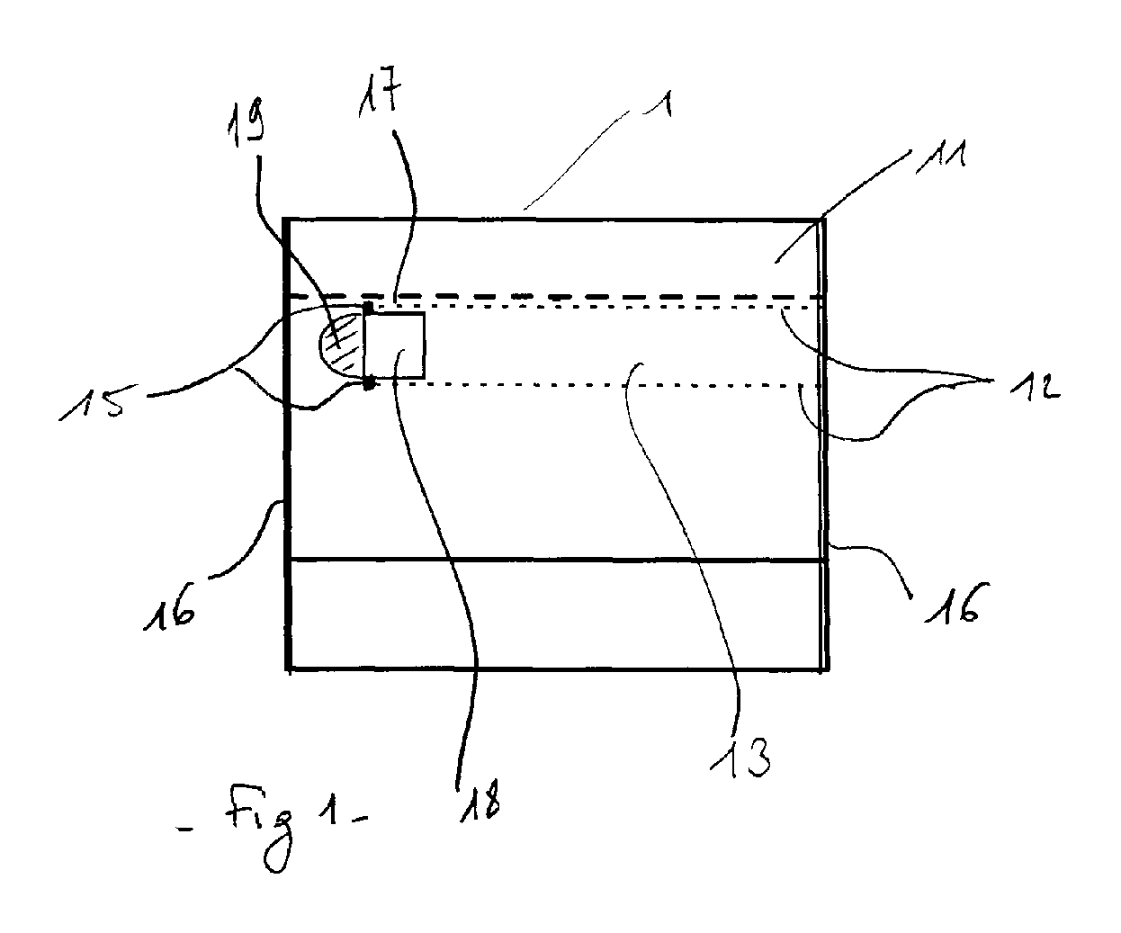
- the bag (1) of the present invention can have any suitable shape for containing compressed articles (2).
- the bag (1) is parallelepipedic, and thus, comprises front, back, side and top and bottom walls.
- the front and back walls are larger than the other walls.
- the bag (1) itself can be formed in any suitable way, but it is preferably formed from a continuous roll of film that is cut into portions whose great length is disposed perpendicular to the machine direction, each portion being W-folded in two, as shown in figure 2, and sealed on the sides so as to form a gusset that can be filled with compressed articles (2) at its bottom opening.
- the fold is usually W-folded before sealing the sides (16) so as to form an expandable top portion (11) of the bag (1).
- the bag (1) comprises handles, which are sealed in the top portion of the bag (1), so as to facilitate handling.
- the bag (1) of the present invention comprises a means for easy opening of the bag (1), and easy dispensing of the compressed articles, for example diapers (2).
- Said means is acnieved by two continuous and substantially parallel precut lines (12) as shown in figure 1, said lines being distinct from each other, and extending along at least one side - or wall - of said bag (1), so as to define a precut band (13) of the bag (1).
- said precut band (13) extends so that at least one point of the bag's periphery remains uncut. In this way, complete removal of the precut band (13) or the top portion (11) of the bag is prevented, thus avoiding accidents with young children who could detach and play with it.
- said precut band (13) is horizontal.
- Other orientations of the precut band (13) could also be applied, but they would not add any particular benefit to the consumer, and would be more difficult to obtain technically, especially in view of the cutting operation on line..
- the precut band (13) must be large enough, so as not to break at the time the consumer pulls on it to open the bag (1).
- Solutions exist in the art that consist in attaching an additional plastic band to the interior of the bag (1) in the region between the two parallel precut lines (12), said material being made out of a material with high resistance to stretching - typically polypropylene (PP) is used -.
- PP polypropylene
- a precut band (13) directly cut into the bag's material, and of sufficient width would ensure proper opening of the bag (1) without stretching or breaking. It has been found that good resistance of the precut band (13) to stretching are achieved when the two parallel precut lines (12) are positioned so that the width of said precut band (13) is comprised within the range of 0.1 to 25cm, preferably within the range of 0.5 to 15cm, more preferably within the range of 0.7 to 7cm, most preferably between 1 and 5 cm
- another essential object of the present invention is to provide the consumer with a bag (1) that, once open, allows excellent dispensing of the compressed articles (2) packed therein, especially for one by one removal of said compressed articles (2). At the same time, it is important that removal of one compressed article from the stack, does not remove the whole stack from said back (chaining).
- the opening of the bag (1) has been designed such that once the precut band (13) has been pulled out, and the top portion (11) of the bag is opened, the free portion (14) of the compressed articles (2) fans out, as shown in figure 3.
- the design of the opening gives excellent maintain of the lower portion of the articles which are still compressed, while the compression force tends to expand the upper portion of said articles.
- This surprising fanning effect is better achieved when the top of the precut band (13) is positioned 5 cm away from the top edge of the bag (1), preferably at least 7 cm away from the top edge of the bag (1).
- the bottom of the precut band (13) is preferably positioned at least 15 cm, more preferably at least 20 cm, most preferably at least 30 cm from the bottom edge of the bag (1).
- the bag (1) comprises a cut (15) made through the whole thickness of the bag's material. Said cut (15) extends between the two parallel precut lines (12), across the precut band (13), but preferably, it does not extend beyond the precut lines (12) into the bag's wall.
- This cut (15) can have any suitable orientation relatively to the precut band (13), for example oblique, but it is preferably perpendicular to said precut band.
- the cut (15) is preferably located on one of the largest walls of the bag (1). Thus, opening of the bag (1) is more obvious to the consumer.
- the depth and design of the precuts are chosen so that action by the consumer will automatically open the bag (1) along the precut lines (12), while the bag (1) remains strong enough so as not to tear open under pressure of the compressed articles (2) packaged therein.
- the precuts are dotted cuts, whose depth can be appropriately chosen by a skilled person.
- the precuts are continuous but their depth is carefully chosen in relation to the thickness of the bag (1), and to the compression of the compressed articles packed therein. Such a choice for the thickness of the bag (1) can be appropriately made by a person skilled in the art.
- the easy opening means also preferably comprises a pull tab (17) to facilitate the tearing process of the precut band (13). It was shown that identification by the consumer of the opening perforation and the mechanism for how to open it, was difficult without an element to initiate the opening process.
- a pull tab (17) is preferably achieved by a sticker that is attached - for instance sealed or glued - onto the precut band (13).
- the pull tab (17) comprises two portions: one portion (18) that is permanently attached to the precut band (13) of the bag, by means of seals or strong glue for example, and another portion (19) that is free (i.e., completely independent from the surface of the bag (1), or at least removably attached to the surface of the bag (1)).
- the pull tab (17) overlaps the cut (15).
- said cut (15) is closed by said pull tab (17) until the user lifts the free portion (19) of said tab (17), so as to tear the precut band (13) open. Since the cut (15) is closed during transportation and storage, no dust or impurities can reach the interior of the bag (1), and the compressed articles (2) packed therein remain hygienically protected.
- the overlap must be chosen such that the fixed portion (18) of the pull tab (17) is permanently sealed onto the precut band (13), and the free portion (19) of the tab (17) overlaps the rest of the bag (1), as shown in figure 1.
- the pull tab (17) is printed in such a way that it is obvious to the consumer, which side of the tab she/he must lift before pulling.
- the bag (1) of the present invention can be made of any suitable type of flexible material.
- suitable it is meant a material that is resistant to tearing and breaking, so that the bag (1) can be manufactured, stored, handled, and transported, without damages, and even more importantly, the bag (1) can contain a stack of articles under compression without tearing open. It is also meant that the material must be flexible enough so once empty, it can be easily and manually crumpled into a small volume of material.
- Suitable materials preferably include plastics, and more preferably polyethylene.
- the material which is used is oriented, more preferably mono oriented, and it is manufactured so that the orientation of the film is parallel to the direction of the two precut lines (12). In this way, once the opening is initiated by the user, whole tearing of the precut band (13) along its predetermined direction is facilitated. For instance, if the tear band is disposed horizontally along the bag's sides, the orientation of the film will be chosen horizontal as well.
- Any suitable process of forming the bag (1) of the present invention can be chosen. Machines which are currently known can be used, given that the cutting tools are adapted to the special cuts of the precut band (13). Also, a specific tool must be adapted onto the current machines, in order to place the pull tab (17).
- the bag (1) according to the present invention can be used for packaging for any type of articles, provided such articles are packed in a compressed state.
- the bag (1) is used to pack cellulose-based articles, and more preferably disposable diapers (2).
- the diapers (2) are packed in a folded configuration, and in a vertical manner.
- several layers of diapers (2) can be packaged in the bag (1), however, the bag (1) preferably contains only one layer, so that when the bag's open, accessibility to the whole stack of diapers (2) is maximum.
- the precut band (13) is disposed at such a distance that when the user pulls the precut band (13), the top portion of the bag (1) opens, and the stack of diapers (2) fans out under the compression force. Fanning out of the stack of diapers (2) provides a good configuration for easy removal of said diapers (2), especially for one-by-one removal.
Landscapes
- Engineering & Computer Science (AREA)
- Mechanical Engineering (AREA)
- Bag Frames (AREA)
- Packaging Of Annular Or Rod-Shaped Articles, Wearing Apparel, Cassettes, Or The Like (AREA)
Abstract
The present invention is directed to a bag (1) for containing a stack
of compressed articles (2), said bag comprising: (i) back and front
walls connected to one another by a pair of side walls, the bag further
comprising top and bottom walls, the front, back, and side walls
defining a bag perimeter, and (ii) a stack of compressed articles
comprised within said bag, said articles being substantially planar and
held in compression in a direction that is substantially perpendicular
to their surface, the bag being characterized in that it
comprises two continuous and substantially parallel precut lines (12),
said lines being distinct from each other, and extending along at least
one side of said bag, so as to define a precut band (13) of the bag.
Description
- The present invention relates to flexible bags for packaging of disposable compressed articles such as diapers.
- Flexible bags for packaging disposable compressed articles, such as diapers, are representative of the various flexible bags to which the present invention can apply. Such bags are typically made from a flexible film of plastic, such as a polyethylene (PE), which is sealed in the shape of a parallelepipedic bag. Some bags also comprise handles to facilitate handling and transportation by the consumer. Such bags also comprise precut lines along their surface which facilitate the opening of the bag and the dispensing of the articles packed therein.
- The following references are directed to such flexible bags for packaging compressed articles, comprising a precut line of weakness for easy opening: US 5.380.094 (D1) is a US patent to THE PROCTER & GAMBLE COMPANY. It discloses a flexible bag for compressed articles as diapers. The bag comprises a line of weakness located around the perimeter of the bag's top half. This enables the user to separate at least partially a portion of the bag's top half from the rest of said bag by applying a grasping force, thus giving access to the contents without releasing the tension in the remaining bottom portion of said bag. EP 579714B1 (D2) is a European patent to Peaudouce. It discloses a diaper bag comprising a handle in its top portion, the handle being attached all around the periphery of the bag's top portion. The bag further comprises two vertical precut lines respectively in the top portions of the front and back sides, which are prolonged into the top portion of the bag where the handle is attached, and which are linked on the top side of the bag by a third, continuous, precut line. EP 349050B1 (D3) is a European patent to THE PROCTER & GAMBLE COMPANY. It discloses a bag for containing compressed articles such as diapers, the bag comprising a precut portion made out of precut lines located in one side wall of the bag, i.e. perpendicular to the compression direction of the contents. Those lines are preferably provided with a means to initiate tearing of the precut portion. US 5.439.166 (D4) is a US patent to Focke & Co. It discloses a reclosable cuboid bag made out of a flexible plastic film. The bag is made from a one-piece blank and comprises an opening located in its front and top sides, which is closed respectively by front and top flaps. The top flap is connected to the side walls of the bag via foldable side tabs. WO 98/43890 A1 (D5) is an international application to Paul Hartmann. It discloses a bag for hygiene products which comprises a precut line on at least 3 of its sides, the line defining two side-by-side receptacle parts, each part containing at least one row of articles. In a second embodiment, the precut line on 3 sides defines one detachable side (preferably the top one) which is remains attached to the rest of the pack by a fold line, around which it can be opened/closed.
- While solving several issues, the above mentioned inventions still have some disadvantages. Documents D2 and D3 are related to flexible bags comprising openings which give access to only one portion of the whole stack of articles packed therein. D4 discloses a bag made out of a blank, which clearly relates to a different packaging technique compared to the packing techniques used for compressed articles such as diapers. Document D1 discloses a bag with precut lines on 4 sides. Such a bag is not reclosable, moreover it presents a risk of injury to the children who can play with the detached portion of the bag. Document D5 does not address the problem of removing compressed articles. Moreover, it does not allow proper dispensing of the diapers from the stack since each row of the articles packed therein is opened to the separating plane, i.e. the separating line lies in the plane defined by the top portions of the packed articles.
- It is therefore one main object of the present invention to provide the user with a flexible bag for packaging compressed articles which comprises an opening which provides excellent dispensing of the packaged articles once opened.
- It is a further object of the present invention to provide a bag which is cheap and easy to manufacture, while using the current manufacturing techniques used for forming such bags.
- The present invention is directed to a bag for containing a stack of compressed articles, said bag comprising: (i) back and front walls connected to one another by a pair of side walls, the bag further comprising top and bottom walls, the front, back, and side walls defining a bag perimeter, and (ii) a stack of compressed articles comprised within said bag, said articles being substantially planar and held in compression in a direction that is substantially perpendicular to their surface, the bag being characterized in that it comprises two continuous and substantially parallel precut lines, said lines being distinct from each other, and extending along at least one side of said bag, so as to define a precut band of the bag.
- Preferably, said precut band is substantially horizontal. Also preferably, the bag comprises at least one cut connecting said parallel precut lines, said cut is at least partially covered by a grip-and-pull tab.
- The invention will now be explained in detail with reference to the accompanying drawings, in which:
- Figure 1 is a front view of the bag according to the invention in the flat (empty) configuration.
- Figure 2 is a side view of the bag according to the invention in the flat (empty) configuration, showing the way the film is folded and cut prior to being sealed along its side edges.
- Figure 3 is a perspective view of the bag according to the invention in the loaded configuration, with its top part opened, showing the stack of diapers which has fanned out.
- The present invention is related to a bag made of a flexible material, for packaging of compressed articles. The bag comprises a precut portion in the shape of a band along at least one of its sides. It also preferably comprises a pull tab to facilitate the tearing process of the precut band when opening the bag.
- The bag (1) of the present invention can have any suitable shape for containing compressed articles (2). In a preferred embodiment of the present invention, the bag (1) is parallelepipedic, and thus, comprises front, back, side and top and bottom walls. The front and back walls are larger than the other walls.
- The bag (1) itself can be formed in any suitable way, but it is preferably formed from a continuous roll of film that is cut into portions whose great length is disposed perpendicular to the machine direction, each portion being W-folded in two, as shown in figure 2, and sealed on the sides so as to form a gusset that can be filled with compressed articles (2) at its bottom opening. The fold is usually W-folded before sealing the sides (16) so as to form an expandable top portion (11) of the bag (1).
- Optionally, the bag (1) comprises handles, which are sealed in the top portion of the bag (1), so as to facilitate handling.
- It is an essential feature of the bag (1) of the present invention that it comprises a means for easy opening of the bag (1), and easy dispensing of the compressed articles, for example diapers (2). Said means is acnieved by two continuous and substantially parallel precut lines (12) as shown in figure 1, said lines being distinct from each other, and extending along at least one side - or wall - of said bag (1), so as to define a precut band (13) of the bag (1).
- Preferably, said precut band (13) extends so that at least one point of the bag's periphery remains uncut. In this way, complete removal of the precut band (13) or the top portion (11) of the bag is prevented, thus avoiding accidents with young children who could detach and play with it.
- Also preferably, said precut band (13) is horizontal. Other orientations of the precut band (13) could also be applied, but they would not add any particular benefit to the consumer, and would be more difficult to obtain technically, especially in view of the cutting operation on line..
- It has further been shown that the precut band (13) must be large enough, so as not to break at the time the consumer pulls on it to open the bag (1). Solutions exist in the art that consist in attaching an additional plastic band to the interior of the bag (1) in the region between the two parallel precut lines (12), said material being made out of a material with high resistance to stretching - typically polypropylene (PP) is used -. However, it has been found that such a double tear strip requires an additional material, and thus increases the material costs of the bag (1), and moreover, it requires at least one additional manufacturing step for correctly positioning and attaching the PP band in the inner side of the bag (1) between the two precut lines (12). To avoid such drawbacks, it has been found that a precut band (13) directly cut into the bag's material, and of sufficient width would ensure proper opening of the bag (1) without stretching or breaking. It has been found that good resistance of the precut band (13) to stretching are achieved when the two parallel precut lines (12) are positioned so that the width of said precut band (13) is comprised within the range of 0.1 to 25cm, preferably within the range of 0.5 to 15cm, more preferably within the range of 0.7 to 7cm, most preferably between 1 and 5 cm
- Furthermore, another essential object of the present invention is to provide the consumer with a bag (1) that, once open, allows excellent dispensing of the compressed articles (2) packed therein, especially for one by one removal of said compressed articles (2). At the same time, it is important that removal of one compressed article from the stack, does not remove the whole stack from said back (chaining). To that purpose, the opening of the bag (1) has been designed such that once the precut band (13) has been pulled out, and the top portion (11) of the bag is opened, the free portion (14) of the compressed articles (2) fans out, as shown in figure 3. The design of the opening gives excellent maintain of the lower portion of the articles which are still compressed, while the compression force tends to expand the upper portion of said articles. Of course, the higher the compression strength, the wider the free portion (14) of the compressed articles fans out. This results in fanning out of the upper portion of the articles, so that the user can grab each article one by one from the bag (1). This surprising fanning effect is better achieved when the top of the precut band (13) is positioned 5 cm away from the top edge of the bag (1), preferably at least 7 cm away from the top edge of the bag (1). Moreover, and to ensure that the lower portion of the compressed articles (2) is still correctly maintained inside the bag (1), the bottom of the precut band (13) is preferably positioned at least 15 cm, more preferably at least 20 cm, most preferably at least 30 cm from the bottom edge of the bag (1).
- In a particularly preferred embodiment of the present invention, the bag (1) comprises a cut (15) made through the whole thickness of the bag's material. Said cut (15) extends between the two parallel precut lines (12), across the precut band (13), but preferably, it does not extend beyond the precut lines (12) into the bag's wall. This cut (15) can have any suitable orientation relatively to the precut band (13), for example oblique, but it is preferably perpendicular to said precut band. The cut (15) is preferably located on one of the largest walls of the bag (1). Thus, opening of the bag (1) is more obvious to the consumer.
- The depth and design of the precuts are chosen so that action by the consumer will automatically open the bag (1) along the precut lines (12), while the bag (1) remains strong enough so as not to tear open under pressure of the compressed articles (2) packaged therein. In one embodiment, the precuts are dotted cuts, whose depth can be appropriately chosen by a skilled person. In another embodiment, the precuts are continuous but their depth is carefully chosen in relation to the thickness of the bag (1), and to the compression of the compressed articles packed therein. Such a choice for the thickness of the bag (1) can be appropriately made by a person skilled in the art.
- The easy opening means also preferably comprises a pull tab (17) to facilitate the tearing process of the precut band (13). It was shown that identification by the consumer of the opening perforation and the mechanism for how to open it, was difficult without an element to initiate the opening process. A pull tab (17) is preferably achieved by a sticker that is attached - for instance sealed or glued - onto the precut band (13). The pull tab (17) comprises two portions: one portion (18) that is permanently attached to the precut band (13) of the bag, by means of seals or strong glue for example, and another portion (19) that is free (i.e., completely independent from the surface of the bag (1), or at least removably attached to the surface of the bag (1)).
- More preferably, the pull tab (17) overlaps the cut (15). In this way, said cut (15) is closed by said pull tab (17) until the user lifts the free portion (19) of said tab (17), so as to tear the precut band (13) open. Since the cut (15) is closed during transportation and storage, no dust or impurities can reach the interior of the bag (1), and the compressed articles (2) packed therein remain hygienically protected. The overlap must be chosen such that the fixed portion (18) of the pull tab (17) is permanently sealed onto the precut band (13), and the free portion (19) of the tab (17) overlaps the rest of the bag (1), as shown in figure 1.
- Optionally but preferably, the pull tab (17) is printed in such a way that it is obvious to the consumer, which side of the tab she/he must lift before pulling.
- The bag (1) of the present invention can be made of any suitable type of flexible material. By suitable, it is meant a material that is resistant to tearing and breaking, so that the bag (1) can be manufactured, stored, handled, and transported, without damages, and even more importantly, the bag (1) can contain a stack of articles under compression without tearing open. It is also meant that the material must be flexible enough so once empty, it can be easily and manually crumpled into a small volume of material.
- Suitable materials preferably include plastics, and more preferably polyethylene. In a particularly preferred embodiment of the present invention, the material which is used is oriented, more preferably mono oriented, and it is manufactured so that the orientation of the film is parallel to the direction of the two precut lines (12). In this way, once the opening is initiated by the user, whole tearing of the precut band (13) along its predetermined direction is facilitated. For instance, if the tear band is disposed horizontally along the bag's sides, the orientation of the film will be chosen horizontal as well.
- It is a normal ability of the skilled person to chose the right quality of film, so as to achieve excellent printing and sealing of the bag film.
- Any suitable process of forming the bag (1) of the present invention can be chosen. Machines which are currently known can be used, given that the cutting tools are adapted to the special cuts of the precut band (13). Also, a specific tool must be adapted onto the current machines, in order to place the pull tab (17).
- The bag (1) according to the present invention can be used for packaging for any type of articles, provided such articles are packed in a compressed state. In a preferred embodiment of the invention, the bag (1) is used to pack cellulose-based articles, and more preferably disposable diapers (2). The diapers (2) are packed in a folded configuration, and in a vertical manner. Optionally, several layers of diapers (2) can be packaged in the bag (1), however, the bag (1) preferably contains only one layer, so that when the bag's open, accessibility to the whole stack of diapers (2) is maximum.
- In a preferred embodiment of the invention, the precut band (13) is disposed at such a distance that when the user pulls the precut band (13), the top portion of the bag (1) opens, and the stack of diapers (2) fans out under the compression force. Fanning out of the stack of diapers (2) provides a good configuration for easy removal of said diapers (2), especially for one-by-one removal.
Claims (10)
- A bag for containing a stack of compressed articles, said bag comprising:the bag being characterized in that it comprises two continuous and substantially parallel precut lines, said lines being distinct from each other, and extending along at least one side of said bag, so as to define a precut band of the bag.(i) back and front walls connected to one another by a pair of side walls, the bag further comprising top and bottom walls, the front, back, and side walls defining a bag perimeter, and(ii) a stack of compressed articles comprised within said bag, said articles being substantially planar and held in compression in a direction that is substantially perpendicular to their surface,
- A bag according to claim 1, wherein said precut band extends so that at least one point of the bag's periphery remains uncut.
- A bag according to any of the preceding claims, wherein said precut band is substantially horizontal.
- A bag according to any of the preceding claims, which comprises at least one cut connecting said parallel precut lines.
- A bag according to claim 4, wherein said cut is substantially perpendicular to the direction of the parallel precut lines.
- A bag according to claims 4 or 5, wherein said cut is positioned on one wide side of the bag, at less than 10 cm, preferably less than 5 cm from one edge of the bag.
- A bag according to claims 4 to 6, wherein said cut is at least partially covered by a grip-and-pull tab.
- A bag according to claim 7, wherein said tab is a sticking label, disposed so that it overlaps said cut, is permanently attached to the precut band, and is releasably attached to the rest of the bag.
- A bag according to any of the preceding claims, wherein the width of said precut band is comprised within the range of 0.1 to 25cm, preferably within the range of 0.5 to 15cm, more preferably within the range of 0.7 to 7cm, most preferably between 1 and 5cm.
- A bag according to any of the preceding claims, wherein the precut band is positioned at least 5cm away from the top edge of the bag, preferably at least 7cm away from the top edge of the bag.
Priority Applications (3)
| Application Number | Priority Date | Filing Date | Title |
|---|---|---|---|
| EP99870165A EP1074481A1 (en) | 1999-07-22 | 1999-07-22 | A flexible bag having a tear off band for easy opening |
| AU61109/00A AU6110900A (en) | 1999-07-22 | 2000-07-19 | Flexible bag having a tear-off band for easy opening |
| PCT/US2000/019648 WO2001007336A1 (en) | 1999-07-22 | 2000-07-19 | Flexible bag having a tear-off band for easy opening |
Applications Claiming Priority (1)
| Application Number | Priority Date | Filing Date | Title |
|---|---|---|---|
| EP99870165A EP1074481A1 (en) | 1999-07-22 | 1999-07-22 | A flexible bag having a tear off band for easy opening |
Publications (1)
| Publication Number | Publication Date |
|---|---|
| EP1074481A1 true EP1074481A1 (en) | 2001-02-07 |
Family
ID=8243876
Family Applications (1)
| Application Number | Title | Priority Date | Filing Date |
|---|---|---|---|
| EP99870165A Withdrawn EP1074481A1 (en) | 1999-07-22 | 1999-07-22 | A flexible bag having a tear off band for easy opening |
Country Status (3)
| Country | Link |
|---|---|
| EP (1) | EP1074481A1 (en) |
| AU (1) | AU6110900A (en) |
| WO (1) | WO2001007336A1 (en) |
Cited By (6)
| Publication number | Priority date | Publication date | Assignee | Title |
|---|---|---|---|---|
| WO2003072454A1 (en) * | 2002-02-27 | 2003-09-04 | Ucb, S.A. | Films, packaging and methods for making them |
| US6926149B2 (en) | 2003-11-18 | 2005-08-09 | Kimberly-Clark Worldwide, Inc. | Compressed package having an opening mechanism and an expansion member |
| WO2005082726A1 (en) * | 2004-02-26 | 2005-09-09 | Kimberly-Clark Worldwide, Inc. | Shipping carton with pull tabs and tear strip |
| US7198154B2 (en) | 2003-10-09 | 2007-04-03 | Kimberly-Clark Worldwide, Inc. | Compressed package having an expansion mechanism |
| EP1785357A1 (en) * | 2005-11-09 | 2007-05-16 | Sealed Air Limited | Apparatus and method for the manufacture of easy-to-open shrink sleeve wrap packages |
| US7370760B2 (en) | 2005-04-15 | 2008-05-13 | Kimberly-Clark Worldwide, Inc. | Package that includes a plurality of disposable absorbent articles |
Citations (10)
| Publication number | Priority date | Publication date | Assignee | Title |
|---|---|---|---|---|
| US2213758A (en) * | 1938-05-09 | 1940-09-03 | Glenn R Eichberg | Wrapper |
| WO1983000677A1 (en) * | 1981-08-21 | 1983-03-03 | Jud, Wilfried | Package with gas-tight envelope |
| EP0349050A2 (en) | 1988-06-28 | 1990-01-03 | The Procter & Gamble Company | Flexible bag filled with compressed flexible articles |
| DE9105943U1 (en) * | 1991-04-18 | 1991-07-04 | M & W Verpackungen Mildenberger & Willing GmbH, 4432 Gronau | Bag packaging made of flexible plastic film |
| DE9109154U1 (en) * | 1991-05-04 | 1991-09-12 | M & W Verpackungen Mildenberger & Willing GmbH, 4432 Gronau | Portable packaging bag with removal opening prepared by weakening lines |
| EP0579714A1 (en) | 1991-04-11 | 1994-01-26 | Peaudouce | DEVICE FOR OPENING A BAG OF FLEXIBLE MATERIAL FOR PRESSABLE PRODUCTS. |
| US5380094A (en) | 1994-02-03 | 1995-01-10 | The Procter & Gamble Company | Easy open feature for polymeric package with contents under high compression |
| US5439166A (en) | 1993-03-16 | 1995-08-08 | Focke & Co. (Gmbh & Co.) | Reclosable pack made from plastic foil |
| US5464285A (en) * | 1994-05-12 | 1995-11-07 | Venture Packaging, Inc. | Bag with perforated opening |
| WO1998043890A1 (en) | 1997-04-02 | 1998-10-08 | Paul Hartmann Ag | Bag for packaging and transporting hygiene products |
-
1999
- 1999-07-22 EP EP99870165A patent/EP1074481A1/en not_active Withdrawn
-
2000
- 2000-07-19 WO PCT/US2000/019648 patent/WO2001007336A1/en not_active Ceased
- 2000-07-19 AU AU61109/00A patent/AU6110900A/en not_active Abandoned
Patent Citations (10)
| Publication number | Priority date | Publication date | Assignee | Title |
|---|---|---|---|---|
| US2213758A (en) * | 1938-05-09 | 1940-09-03 | Glenn R Eichberg | Wrapper |
| WO1983000677A1 (en) * | 1981-08-21 | 1983-03-03 | Jud, Wilfried | Package with gas-tight envelope |
| EP0349050A2 (en) | 1988-06-28 | 1990-01-03 | The Procter & Gamble Company | Flexible bag filled with compressed flexible articles |
| EP0579714A1 (en) | 1991-04-11 | 1994-01-26 | Peaudouce | DEVICE FOR OPENING A BAG OF FLEXIBLE MATERIAL FOR PRESSABLE PRODUCTS. |
| DE9105943U1 (en) * | 1991-04-18 | 1991-07-04 | M & W Verpackungen Mildenberger & Willing GmbH, 4432 Gronau | Bag packaging made of flexible plastic film |
| DE9109154U1 (en) * | 1991-05-04 | 1991-09-12 | M & W Verpackungen Mildenberger & Willing GmbH, 4432 Gronau | Portable packaging bag with removal opening prepared by weakening lines |
| US5439166A (en) | 1993-03-16 | 1995-08-08 | Focke & Co. (Gmbh & Co.) | Reclosable pack made from plastic foil |
| US5380094A (en) | 1994-02-03 | 1995-01-10 | The Procter & Gamble Company | Easy open feature for polymeric package with contents under high compression |
| US5464285A (en) * | 1994-05-12 | 1995-11-07 | Venture Packaging, Inc. | Bag with perforated opening |
| WO1998043890A1 (en) | 1997-04-02 | 1998-10-08 | Paul Hartmann Ag | Bag for packaging and transporting hygiene products |
Cited By (6)
| Publication number | Priority date | Publication date | Assignee | Title |
|---|---|---|---|---|
| WO2003072454A1 (en) * | 2002-02-27 | 2003-09-04 | Ucb, S.A. | Films, packaging and methods for making them |
| US7198154B2 (en) | 2003-10-09 | 2007-04-03 | Kimberly-Clark Worldwide, Inc. | Compressed package having an expansion mechanism |
| US6926149B2 (en) | 2003-11-18 | 2005-08-09 | Kimberly-Clark Worldwide, Inc. | Compressed package having an opening mechanism and an expansion member |
| WO2005082726A1 (en) * | 2004-02-26 | 2005-09-09 | Kimberly-Clark Worldwide, Inc. | Shipping carton with pull tabs and tear strip |
| US7370760B2 (en) | 2005-04-15 | 2008-05-13 | Kimberly-Clark Worldwide, Inc. | Package that includes a plurality of disposable absorbent articles |
| EP1785357A1 (en) * | 2005-11-09 | 2007-05-16 | Sealed Air Limited | Apparatus and method for the manufacture of easy-to-open shrink sleeve wrap packages |
Also Published As
| Publication number | Publication date |
|---|---|
| WO2001007336A1 (en) | 2001-02-01 |
| AU6110900A (en) | 2001-02-13 |
Similar Documents
| Publication | Publication Date | Title |
|---|---|---|
| EP2316748B1 (en) | Resealable food container | |
| US8746483B2 (en) | Tamper evident resealable closure | |
| EP2391556B1 (en) | Openable and reclosable sealed package for confectionery products | |
| EP2265513B1 (en) | Reconfigurable package for confectionery products | |
| US4793487A (en) | Dispensing of bags initially joined head-to-head | |
| EP2325104A1 (en) | Resealable food container with tamper-evident indicator | |
| EP0433973A1 (en) | Package having an opening feature | |
| US6957914B2 (en) | Pouch multipackage | |
| MX2007000102A (en) | Reclosable consumable product package assembly. | |
| CZ20004480A3 (en) | Food packaging system for a meal kit | |
| US5427245A (en) | Opening device for a bag made from flexible material and packaging compressible products | |
| US5862944A (en) | Dispenser for plastic bags | |
| EP1074481A1 (en) | A flexible bag having a tear off band for easy opening | |
| EP2637950B1 (en) | Multi-compartment package for consumable products, and method for configuring and using such a package | |
| KR100356760B1 (en) | Flexible bag for storing compressed products | |
| US20050111765A1 (en) | POM PT one step with a cross directional ripping-strip | |
| US12486094B2 (en) | Tamper evident sealable bag assembly with note tab and method | |
| EP3386883B1 (en) | Food package having a reclosable opening feature and method of opening, removing a food product and reclosing a reclosable food package | |
| GB2270895A (en) | Package with apertures for carrying | |
| JP2012056602A (en) | Wrapper sheet of packaging tray for greengrocery | |
| CN107922080A (en) | It is easy to open and transportable box | |
| JPH08104356A (en) | Packaging bag for tissue carton | |
| JP3947446B2 (en) | Packaging box | |
| CZ20004485A3 (en) | Food packaging system with easy-open feature for a meal kit and the meal kit per | |
| JP2000318729A (en) | Packaging container |
Legal Events
| Date | Code | Title | Description |
|---|---|---|---|
| PUAI | Public reference made under article 153(3) epc to a published international application that has entered the european phase |
Free format text: ORIGINAL CODE: 0009012 |
|
| AK | Designated contracting states |
Kind code of ref document: A1 Designated state(s): AT BE CH CY DE DK ES FI FR GB GR IE IT LI LU MC NL PT SE |
|
| AX | Request for extension of the european patent |
Free format text: AL;LT;LV;MK;RO;SI |
|
| AKX | Designation fees paid | ||
| STAA | Information on the status of an ep patent application or granted ep patent |
Free format text: STATUS: THE APPLICATION IS DEEMED TO BE WITHDRAWN |
|
| 18D | Application deemed to be withdrawn |
Effective date: 20010808 |
|
| REG | Reference to a national code |
Ref country code: DE Ref legal event code: 8566 |
