EP0596451A1 - Verbindungsstück und verlorene Schalung - Google Patents

Verbindungsstück und verlorene Schalung Download PDF

Info

Publication number
EP0596451A1
EP0596451A1 EP93117730A EP93117730A EP0596451A1 EP 0596451 A1 EP0596451 A1 EP 0596451A1 EP 93117730 A EP93117730 A EP 93117730A EP 93117730 A EP93117730 A EP 93117730A EP 0596451 A1 EP0596451 A1 EP 0596451A1
Authority
EP
European Patent Office
Prior art keywords
connecting piece
fastening
base plates
spacing
spacing area
Prior art date
Legal status (The legal status is an assumption and is not a legal conclusion. Google has not performed a legal analysis and makes no representation as to the accuracy of the status listed.)
Withdrawn
Application number
EP93117730A
Other languages
English (en)
French (fr)
Inventor
Walter Friesser
Hans Weber
Current Assignee (The listed assignees may be inaccurate. Google has not performed a legal analysis and makes no representation or warranty as to the accuracy of the list.)
Weberhaus & Co KG GmbH
Original Assignee
Weberhaus & Co KG GmbH
Priority date (The priority date is an assumption and is not a legal conclusion. Google has not performed a legal analysis and makes no representation as to the accuracy of the date listed.)
Filing date
Publication date
Application filed by Weberhaus & Co KG GmbH filed Critical Weberhaus & Co KG GmbH
Publication of EP0596451A1 publication Critical patent/EP0596451A1/de
Withdrawn legal-status Critical Current

Links

Images

Classifications

    • EFIXED CONSTRUCTIONS
    • E04BUILDING
    • E04BGENERAL BUILDING CONSTRUCTIONS; WALLS, e.g. PARTITIONS; ROOFS; FLOORS; CEILINGS; INSULATION OR OTHER PROTECTION OF BUILDINGS
    • E04B2/00Walls, e.g. partitions, for buildings; Wall construction with regard to insulation; Connections specially adapted to walls
    • E04B2/84Walls made by casting, pouring, or tamping in situ
    • E04B2/86Walls made by casting, pouring, or tamping in situ made in permanent forms
    • E04B2/8647Walls made by casting, pouring, or tamping in situ made in permanent forms with ties going through the forms
    • EFIXED CONSTRUCTIONS
    • E04BUILDING
    • E04BGENERAL BUILDING CONSTRUCTIONS; WALLS, e.g. PARTITIONS; ROOFS; FLOORS; CEILINGS; INSULATION OR OTHER PROTECTION OF BUILDINGS
    • E04B2/00Walls, e.g. partitions, for buildings; Wall construction with regard to insulation; Connections specially adapted to walls
    • E04B2/84Walls made by casting, pouring, or tamping in situ
    • E04B2/86Walls made by casting, pouring, or tamping in situ made in permanent forms
    • E04B2/8635Walls made by casting, pouring, or tamping in situ made in permanent forms with ties attached to the inner faces of the forms

Definitions

  • the invention relates to a connecting piece for spaced connection of flat parts, in particular two base plates of a lost formwork, preferably for the manufacture of possibly reinforced concrete walls with two fastening areas serving for fastening to the parts and having contact areas and a spacing area extending between the fastening areas.
  • the known connecting pieces of the type in question are at least two-part connecting pieces which are screwed on to the parts or base plates of the formwork to be connected independently of one another - exclusively from the inside. At their projecting ends, these parts of the connecting pieces have latching mechanisms which can be connected to one another, as it were, by pushing one into the other and latching. It is no longer possible to loosen the parts after they have snapped into place.
  • the known connectors are problematic in many ways.
  • the complicated structure of the individual parts of these connecting pieces entails considerable manufacturing costs and thus also significantly increases the costs of the formwork or the wall to be manufactured.
  • the connecting pieces have to withstand the pressure created when pouring concrete, which can only be achieved by the locking mechanism - as the weakest link.
  • the locking mechanism is a very special weak point of the known connectors, since the walls of the locking mechanism are only extremely weak.
  • a major disadvantage of the known connecting pieces is that the parts of the connecting pieces are always to be installed from the inside, with an exact positioning of the two individual parts being necessary so that a later engagement can actually take place.
  • the invention is therefore based on the object of specifying a connecting piece for the spaced connection of flat parts, in particular two base plates of a lost formwork, preferably for the manufacture of reinforced concrete walls, if necessary, with which a quick, simple and safe installation with the simplest construction is possible. Furthermore, a lost formwork for the production of preferably reinforced concrete walls or ceilings with base plates forming the wall or ceiling surfaces and several connecting pieces according to the invention connecting the base plates at a predetermined distance are to be specified.
  • the connector according to the invention is characterized by the features of claim 1. Thereafter, the connector in question is designed such that the fastening areas and the spacing area are made in one piece and that the contact surfaces at least from the side facing away from the spacing area, i.e. through the parts to be connected, by means of screws, rivets or the like. Can be fixed on the parts to be connected.
  • the connecting piece can also be made in one piece, in deviation from the prior art discussed at the outset. This is precisely possible if the contact surfaces of the fastening areas on at least one side from the side facing away from the distance area, i.e. through the part to be connected, by means of screws, rivets or the like. Can be fixed to the part.
  • the connector according to the invention can be screwed to one of the parts to be connected - from the inside or from the outside - to this, for example, so that, after preassembly of the connectors, the other part or the other base plate is placed on the free contact surfaces of the fastening areas or thus in Contact is made so that screwing can take place through the second flat part into the contact surfaces assigned to this part.
  • the connector according to the invention has the enormous advantage that an actually effective connection between the parts or base plates can be realized, especially since the screws, rivets or the like reach through the entire part or through the entire base plate into the contact areas of the connector. Tearing out of the screws from the base plate is effectively prevented, especially since the entire thickness of the base plate offers considerable support for the screws. Tearing out the screws from the fastening areas of the connecting pieces is also not to be expected, especially since the material of the connecting pieces is mostly metal or hard plastic, into which the screws literally cut.
  • the spacing area is of single-walled design and forms an approximately double-T-shaped cross section together with the fastening areas.
  • the distance area would be designed, for example, in the form of a rectangular sheet or the like, and the fastening areas would be which connect approximately orthogonally to the end. These could also be designed in the sense of rectangular sheets, but with dimensions much smaller than the distance range.
  • the fastening areas in the case of a single-walled configuration of the distance area in such a way that they form an approximately Z-shaped cross section together with the distance area.
  • This configuration would be particularly simple in construction and would have the great advantage that the distance between the fastening areas can be varied by changing the angle between the distance area and the fastening areas.
  • a metallic connecting piece one could, for example, bend the fastening areas more or less relative to the distance area, so that the distance between the parts to be connected can be changed - quasi manually.
  • screw clamps or the like to be attached from the outside.
  • the distance area could be double-walled.
  • This double-walled distance area would then be the fastening areas at their edge areas, i.e. connect on both sides.
  • the walls of the spacing area could run parallel to one another so that, together with the fastening areas, they form a profile part with a rectangular cross section in the sense of a rectangular shaped tube.
  • standard shaped pipes could be used, from which, depending on the desired stability or strength, correspondingly wide connecting pieces would be cut off.
  • the connecting piece according to the invention could also be designed in the context of a double-walled configuration of the spacing area such that the spacing area together with the fastening areas has an approximately double-T-shaped cross section with a double-walled axis.
  • Such a configuration would have the enormous advantage over the rectangular molded tube that the contact surfaces lie outside the distance range and are therefore easily accessible on both sides for screwing.
  • the walls of the spacing area preferably change their distance from one another from the one fastening area to the opposite fastening area, so that these walls run approximately in a V-shape.
  • Such a configuration would enormously increase the bending stiffness or torsional strength of the connecting piece.
  • one of the fastening areas has two contact surfaces serving to abut the flat part, and if these two contact surfaces project outwards from the walls of the distance area. Consequently, the connecting piece on the side having two contact surfaces could easily be screwed onto the part or the base plate both from the inside and from the outside.
  • any formable materials with corresponding mechanical properties or strength values can be used to manufacture the connecting piece according to the invention.
  • the machining can take place without cutting or also by machining.
  • the connecting piece could, for example, consist of a preferably fiber-reinforced plastic, the fiber reinforcement bringing about a considerable increase in strength compared to the pure plastic.
  • a glass fiber reinforcement would be appropriate.
  • the connecting piece could also be made of aluminum, the injection molding technique being particularly suitable for production.
  • a formwork of the type in question is characterized in that at least one of the two base plates is screwed or riveted from the outside - with the connecting piece according to the invention.
  • a structurally simple - one-piece - connecting piece can be used if the connecting piece is either on both sides or at least on one side from the outside, i.e. screwed through the base plate.
  • the base plate to be used it is particularly advantageous for cost reasons to manufacture it from chipboard.
  • self-tapping screws can be used for screwing the connecting piece to the base plates, which can be easily rotated through the chipboard into the predrilled contact surfaces of the connecting pieces. Tearing out of the screw from the base plates is at least effectively prevented when the screw passes through the base plate protrudes overall and is virtually secured by the screw head.
  • the screws screwed in from the outside could be sunk with their screw heads in the base plate, so that there is no obstruction in this respect.
  • the connecting piece could, at least on the side screwed from the outside, rest directly on the base plate with its contact surface or surfaces. If the connecting piece is screwed to the base plate from the inside on at least one side, additional relining is advantageous, so that there is sufficient thickness for screwing in - due to the relining in the base plate. In this respect, an additional constructive measure would effectively prevent the screw from being pulled out even when screwing in from the inside.
  • connecting piece with a Z-shaped cross-section
  • the connecting pieces are arranged between the base plates with changing orientation of the connecting area. It would be of particular advantage if the connecting pieces had an orientation directed towards or away from one another in pairs, so that the then generally single-walled spacing areas of the connecting pieces largely compensate for their shape and material-related elasticities approximately orthogonally to the spacing areas.
  • Figures 1 to 3 show three embodiments of a connector according to the invention in use in a lost formwork for the production of preferably reinforced concrete walls with base plates forming the wall surfaces, which are connected to each other at a predetermined distance by the connector.
  • the figures each show a connecting piece 1 for the spaced connection of two base plates 2, 3 of a lost formwork.
  • the connecting piece 1 has two fastening regions 5 serving for fastening to the base plates 2, 3 and having contact surfaces 4 and a spacing region 6 extending between the fastening regions 5.
  • the contact surfaces 4 are at least on one side from the side facing away from the distance region 6, i.e. through the base plates 2, 3 to be connected, by means of screws 7 on the base plates 2, 3.
  • the connector 1 is a connector 1 with a double-walled spacing area 6.
  • the walls 8 of the spacing area 6 and the fastening areas 5 are designed and arranged such that they together form a profile part with a rectangular cross-section in the sense form a rectangular shaped tube.
  • the exemplary embodiment of a connecting piece according to the invention shown in FIG. 2 also has a double-walled spacing area 6.
  • one of the fastening areas 5 is formed with two contact surfaces 9 serving to abut the base plate 1.
  • These two contact surfaces 9 protrude outwards from the walls 8 of the spacing area 6 and are screwed directly to the base plate 2 from the inside by means of screws.
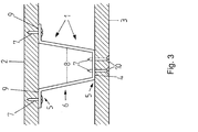
  • the third exemplary embodiment of a connecting piece according to the invention finally shown in FIG. 3 is comparable to the exemplary embodiment shown in FIG. 2, the walls 8 of the double-walled spacing region 6 extending from one fastening region 5 to the opposite fastening region 5 in their Change relative position to each other, ie run approximately V-shaped. This creates a special connection stiffness or bending strength.
  • FIGS 1 to 3 clearly show that in the selected embodiments of a lost formwork at least one of the two base plates 2, 3 is screwed from the outside.
  • the base plates 2, 3 are designed as particle boards in the exemplary embodiments selected here.
  • self-tapping screws 7 are used, which are only shown schematically in the figures.
  • FIGs 1 to 3 also clearly show that the screws 7 screwed in from the outside are countersunk with their screw heads 10 in the base plate.

Landscapes

  • Engineering & Computer Science (AREA)
  • Architecture (AREA)
  • Physics & Mathematics (AREA)
  • Electromagnetism (AREA)
  • Civil Engineering (AREA)
  • Structural Engineering (AREA)
  • Forms Removed On Construction Sites Or Auxiliary Members Thereof (AREA)

Abstract

Ein Verbindungsstück (1) zum beabstandeten Verbinden flächiger Teile, insbesondere zweier Grundplatten (2, 3) einer verlorenen Schalung, vorzugsweise zur Fertigung von ggf. bewehrten Betonwänden, mit zwei zum Befestigen an den Teilen dienenden, Kontaktflächen (4) aufweisenden Befestigungsbereichen (5) und einem sich zwischen den Befestigungsbereichen (5) erstreckenden Distanzbereich (6), ist zur schnellen, einfachen und sicheren Montage bei einfachster Konstruktion derart ausgebildet, daß die Befestigungsbereiche (5) und der Distanzbereich (6) einteilig ausgeführt sind und daß die Kontaktflächen (4) zumindest von der dem Distanzbereich (6) abgewandten Seite her, d.h. durch die zu verbindenden Teile hindurch, mittels Schrauben (7), Nieten oder dgl. an den Teilen festlegbar sind. Desweiteren wird eine verlorene Schalung angegeben, deren Grundplatten (2, 3) mittels erfindungsgemäßer Verbindungsstücke (1) verbunden werden. <IMAGE>

Description

  • Die Erfindung betrifft ein Verbindungsstück zum beabstandeten Verbinden flachiger Teile, insbesondere zweier Grundplatten einer verlorenen Schalung, vorzugsweise zur Fertigung von ggf. bewehrten Betomwänden mit zwei zum Befestigen an den Teilen dienenden, Kontaktflächen aufweisenden Befestigungsbereichen und einem sich zwischen den Befestigungsbereichen erstreckenden Distanzbereich.
  • Verbindungsstücke der in Rede stehenden Art sind bereits seit geraumer Zeit aus der Praxis bekannt. Lediglich beispielhaft wird hier auf die EP 0 258 205 A1 verwiesen.
  • Bei den bekannten Verbindungsstücken der in Rede stehenden Art handelt es sich um mindestens zweiteilige Verbindungsstücke, die unabhängig voneinander an den zu verbindenden Teilen bzw. Grundplatten der Schalung - ausschließlich von innen - angeschraubt werden. An ihren abragenden Enden weisen diese Teile der Verbindungsstücke Rastmechanismen auf, die durch Ineinanderschieben und Verrasten quasi fest miteinander verbindbar sind. Ein Lösen der Teile ist nach erfolgtem Einrasten jedenfalls nicht mehr möglich.
  • Die bekannten Verbindungsstücke sind in vielerlei Hinsicht problematisch. Zum einen bringt der komplizierte Aufbau der Einzelteile dieser Verbindungsstücke erhebliche Fertigungskosten mit sich und erhöht somit auch die Kosten der Schalung bzw. der zu fertigenden Wand erheblich. Zum anderen müssen die Verbindungsstücke dem beim Eingießen von Beton entstehenden Druck standhalten, was ausschließlich durch den Rastmechanismus - als schwächstes Glied - zu bewerkstelligen ist. Hier liegt eine ganz besondere Schwachstelle der bekannten Verbindungsstücke vor, da die Wandungen des Rastmechanismus nur äußerst schwach dimensioniert sind. Schließlich liegt ein wesentlicher Nachteil der bekannten Verbindungsstücke darin, daß die Teile der Verbindungsstücke stets von innen zu montieren sind, wobei eine genaue Positionierung der beiden Einzelteile erforderlich ist, damit ein späteres Einrasten auch tatsächlich erfolgen kann.
  • Der Erfindung liegt daher die Aufgabe zugrunde, ein Verbindungsstück zum beabstandeten Verbinden flächiger Teile, insbesondere zweier Grundplatten einer verlorenen Schalung, vorzugsweise zur Fertigung von ggf. bewehrten Betonwänden, anzugeben, mit dem eine schnelle, einfache und sichere Montage bei einfachster Konstruktion möglich ist. Des weiteren soll eine verlorene Schalung zur Herstellung vorzugsweise bewehrter Betonwände oder -decken mit die Wand- bzw. Deckenflächen bildenden Grundplatten und mehreren die Grundplatten in vorgegebenem Abstand miteinander verbindenden erfindungsgemäßen Verbindungsstücken angegeben werden.
  • Das erfindungsgemäße Verbindungsstück ist durch die Merkmale des Patentanspruches 1 gekennzeichnet. Danach ist das in Rede stehende Verbindungsstück derart ausgebildet, daß die Befestigungsbereiche und der Distanzbereich einteilig ausgeführt sind und daß die Kontaktflächen zumindest von der dem Distanzbereich abgewandten Seite her, d.h. durch die zu verbindenden Teile hindurch, mittels Schrauben, Nieten oder dgl. an den zu verbindenden Teilen festlegbar sind.
  • In erfindungsgemäßer Weise ist erkannt worden, daß das Verbindungsstück durchaus auch - in Abweichung von dem eingangs erörterten Stand der Technik - einteilig ausgeführt sein kann. Dies ist nämlich genau dann möglich, wenn die Kontaktflächen der Befestigungsbereiche zumindest auf einer Seite von der dem Distanzbereich abgewandten Seite her, d.h. durch das zu verbindende Teil hindurch, mittels Schrauben, Nieten oder dgl. an dem Teil festlegbar sind. Folglich läßt sich das erfindungsgemäße Verbindungsstück an einem der zu verbindenden Teile - von innen oder von außen - an diesem bspw. festschrauben, so daß nach Vormontage der Verbindungsstücke das andere Teil bzw. die andere Grundplatte auf die freien Kontaktflächen der Befestigungsbereiche gelegt bzw. damit in Kontakt verbracht wird, so daß eine Verschraubung durch das zweite flächige Teil hindurch in die diesem Teil zugeordneten Kontaktflächen hinein erfolgen kann.
  • Das erfindungsgemäße Verbindungsstück bringt den enormen Vorteil mit sich, daß eine tatsächlich wirksame Verbindung zwischen den Teilen bzw. Grundplatten realisierbar ist, zumal die Schrauben, Nieten oder dgl. durch das gesamte Teil bzw. durch die gesamte Grundplatte hindurch in die Kontaktbereiche des Verbindungsstücks greifen. Ein Ausreißen der Schrauben aus der Grundplatte ist wirksam verhindert, zumal die gesamte Dicke der Grundplatte einen doch erheblichen Halt für die Schrauben bietet. Ein Ausreißen der Schrauben aus den Befestigungsbereichen der Verbindungsstücke ist ebenfalls nicht zu erwarten, zumal es sich bei dem Material der Verbindungsstücke doch meist um Metall oder harten Kunststoff handelt, in das bzw. den die Schrauben regelrecht hineinschneiden.
  • Im Hinblick auf eine konkrete konstruktive Ausgestaltung des erfindungsgemäßen Verbindungsstückes ist es zumindest im Hinblick auf einen geringen Materialbedarf bei der Herstellung des Verbindungsstückes von Vorteil, wenn der Distanzbereich einwandig ausgeführt ist und gemeinsam mit den Befestigungsbereichen einen in etwa doppel-T-förmigen Querschnitt bildet. Im Rahmen einer solchen Ausgestaltung wäre der Distanzbereich bspw. im Sinne eines rechteckigen Bleches oder dgl. ausgebildet und die Befestigungsbereiche würden sich in etwa orthogonal daran endseitig anschließen. Auch diese könnten im Sinne rechtwinkliger Bleche, jedoch mit wesentlich kleineren Dimensionen als der Distanzbereich, ausgeführt sein.
  • Ebenso wäre es denkbar, bei einwandiger Ausgestaltung des Distanzbereichs die Befestigungsbereiche derart vorzusehen, daß sie gemeinsam mit dem Distanzbereich einen in etwa Z-förmigen Querschnitt bilden. Diese Ausgestaltung wäre besonders einfach in der Konstruktion und hätte den großen Vorteil, daß der Abstand zwischen den Befestigungsbereichen durch Ändern der Winkel zwischen dem Distanzbereich und den Befestigungsbereichen variiert werden kann. Im Falle eines metallischen Verbindungsstücks könnte man bspw. die Befestigungsbereiche relativ zum Distanzbereich mehr oder weniger biegen, so daß man den Abstand zwischen den zu verbindenden Teilen - quasi manuell - verändern kann. Allerdings ist hier zu beachten, daß beim Einfüllen des Betons sicherlich ein gewisses Auseinanderrücken der zu verbindenden Teile bzw. Grundplatten aufgrund des im Zwischenraum entstehenden Drucks auftritt. Dies könnte man durch von außen anzubringende Schraubzwingen oder dgl. ausschließen.
  • Im Hinblick auf eine ganz besonders stabile und dabei dennoch einfache Ausgestaltung des Verbindungsstückes könnte der Distanzbereich doppelwandig ausgeführt sein. Dieser doppelwandige Distanzbereich würde dann die Befestigungsbereiche an deren Randbereichen, d.h. beidseitig, miteinander verbinden. Dabei könnten die Wandungen des Distanzbereichs parallel zueinander verlaufen, so daß diese gemeinsam mit den Befestigungsbereichen ein Profilteil mit rechteckigem Querschnitt im Sinne eines Rechteck-Formrohres bilden. Im Rahmen einer solchen Ausgestaltung ließen sich Standard-Formrohre verwenden, von denen je nach gewünschter Stabilität bzw. Festigkeit entsprechend breite Verbindungstücke abgetrennt würden.
  • Das erfindungsgemäße Verbindungsstück könnte auch im Rahmen einer doppelwandigen Ausgestaltung des Distanzbereichs derart ausgebildet sein, daß der Distanzbereich gemeinsam mit den Befestigungsbereichen einen in etwa doppel-T-förmigen Querschnitt mit doppelwandiger Achse aufweist. Eine solche Ausgestaltung hätte gegenüber dem Rechteck-Formrohr den enormen Vorteil, daß die Kontaktflächen außerhalb des Distanzbereichs liegen und somit - zum Verschrauben - beidseitig leicht zugänglich sind.
  • Nun ist es bei doppelwandiger Ausgestaltung des Distanzbereichs auch möglich, daß die Wandungen des Distanzbereichs von dem einen Befestigungsbereich zu dem gegenüberliegenden Befestigungsbereich ihren Abstand zueinander vorzugsweise kontinuierlich ändern, so daß diese Wandungen in etwa V-förmig verlaufen. Eine solche Ausgestaltung würde die Biegesteifigkeit bzw. Torsionsfestigkeit des Verbindungsstückes enorm erhöhen.
  • Insbesondere im Hinblick auf eine Montage des Verbindungsstückes einmal von der Seite des Verbindungsstückes her und einmal von außerhalb des zwischen den zu verbindenden Teilen gebildeten Raumes, ist es von besonderem Vorteil, wenn einer der Befestigungsbereiche zwei zur Anlage an das flächige Teil dienende Kontaktflächen aufweist und wenn diese beiden Kontaktflächen von den Wandungen des Distanzbereichs nach außen abragen. Folglich könnte das Verbindungsstück auf der zwei Kontaktflächen aufweisenden Seite mühelos sowohl von innen als auch von außen an das Teil bzw. die Grundplatte angeschraubt werden.
  • Zur Fertigung des erfindungsgemäßen Verbindungsstückes lassen sich grundsätzlich irgendwie formbaren Materialien mit entsprechenden mechanischen Eigenschaften bzw. Festigkeitswerten verwenden. Die Bearbeitung kann spanlos oder auch spangebend erfolgen. Im Hinblick auf das zu verwendende Material könnte das Verbindungsstück bspw. aus einem vorzugsweise faserverstärkten Kunststoff bestehen, wobei die Faserverstärkung eine erhebliche Festigkeitssteigerung gegenüber dem reinen Kunststoff mit sich bringt. Hier böte sich eine Glasfaserverstärkung an. Ebenso könnte das Verbindungsstück aus Aluminium hergestellt sein, wobei sich die Spritzgußtechnik zur Fertigung ganz besonders eignet.
  • Im Hinblick auf eine erfindungsgemäße verlorene Schalung wird die zuvor genannte Aufgabe durch die Merkmale des Patentanspruches 12 gelöst. Danach ist eine Schalung der in Rede stehenden Art dadurch gekennzeichnet, daß zumindest eine der beiden Grundplatten von der Außenseite her - mit dem erfindungsgemäßen Verbindungsstück - verschraubt oder vernietet ist. Insoweit ist unter Bezugnahme auf die das erfindungsgemäße Verbindungsstück betreffenden Ausführungen erkannt worden, daß ein konstruktiv einfaches - einteiliges - Verbindungsstück dann verwendet werden kann, wenn das Verbindungsstück entweder beidseitig oder zumindest einseitig von der Außenseite, d.h. durch die Grundplatte hindurch, verschraubt wird.
  • Im Hinblick auf die zu verwendende Grundplatte ist es vor allem aus Kostengründen von Vorteil, diese aus Spanplatten zu fertigen. Entsprechend lassen sich zur Verschraubung des Verbindungsstückes mit den Grundplatten vorzugsweise selbstschneidende Schrauben verwenden, die sich mühelos durch die Spanplatten in die ggf. vorgebohrten Kontaktflächen der Verbindungsstücke drehen lassen. Ein Ausreißen der Schraube aus den Grundplatten ist zumindest dann wirksam verhindert, wenn die Schraube durch die Grundplatte insgesamt hindurchragt und durch den Schraubenkopf quasi gesichert ist. Die von der Außenseite her eingedrehten Schrauben könnten mit ihren Schraubköpfen in der Grundplatte versenkt sein, so daß insoweit keine Behinderung erfolgt.
  • Da im Rahmen einer Verschraubung von außen die Schraube durch die Grundplatte insgesamt hindurchragt, könnte das Verbindungsstück zumindest auf der von der Außenseite her verschraubten Seite mit seiner Kontaktfläche bzw. seinen Kontaktflächen direkt an der Grundplatte anliegen. Wird das Verbindungsstück zumindest auf einer Seite von innen an die Grundplatte geschraubt, so bietet sich eine zusätzliche Unterfütterung in vorteilhafter Weise an, damit eine hinreichende Dicke zum Einschrauben - durch die Unterfütterung in die Grundplatte - vorhanden ist. Insoweit wäre durch eine zusätzliche konstruktive Maßnahme auch beim Einschrauben von der Innenseite her ein Ausreißen der Schraube wirksam vermieden.
  • Schließlich bietet sich bei der Verwendung eines Verbindungsstückes mit im Querschnitt Z-förmiger Ausgestaltung ein ganz besonderer konstruktiver Vorteil bei der Herstellung der erfindungsgemäßen Schalung zur statischen Verbesserung dahingehend, daß die Verbindungsstücke zwischen den Grundplatten mit wechselnder Orientierung des Verbindungsbereichs angeordnet werden. Dabei wäre es von ganz besonderem Vorteil, wenn die Verbindungsstücke eine paarweise aufeinander zu- bzw. voneinander weggerichtete Orientierung aufweisen, so daß die dann in der Regel einwandigen Distanzbereiche der Verbindungsstücke ihre form-und materialbedingten Elastizitäten in etwa orthogonal zu den Distanzbereichen weitgehend kompensieren.
  • Schließlich ist es im Hinblick auf den beim Einfüllen von Beton in den Zwischenraum zwischen den Grundplatten entstehenden Druck von Vorteil, wenn pro laufendem Meter Schalung 10 bis 20 Verbindungsstücke, vorzugsweise etwa 14 bis 16 Verbindungsstücke, mit den Grundplatten verschraubt sind.
  • Es gibt nun verschiedene Möglichkeiten, die Lehre der vorliegenden Erfindung in vorteilhafter Weise auszugestalten und weiterzubilden. Dazu ist einerseits auf die den Patentansprüchen 1 und 12 nachgeordneten Ansprüche, andererseits auf die nachfolgende Erläuterung dreier Ausführungsbeispiele der Erfindung anhand der Zeichnung zu verweisen. In Verbindung mit der Erläuterung der bevorzugten Ausführungsbeispiele der Erfindung anhand der Zeichnung werden auch im allgemeinen bevorzugte Ausgestaltungen und Weiterbildungen der Lehre erläutert. In der Zeichnung zeigt
    • Fig. 1 ein erstes Ausführungsbeispiel eines erfindungsgemäßen Verbindungsstükkes zwischen zwei Grundplatten einer verlorenen Schalung,
    • Fig. 2 ein zweites Ausführungsbeispiel eines erfindungsgemäßen Verbindungsstükkes zwischen zwei Grundplatten einer verlorenen Schalung und
    • Fig. 3 ein drittes Ausführungsbeispiel eines erfindungsgemäßen Verbindungsstükkes zwischen zwei Grundplatten einer verlorenen Schalung.
  • Die Figuren 1 bis 3 zeigen drei Ausführungsbeispiele eines erfindungsgemäßen Verbindungsstückes im Einsatz bei einer verlorenen Schalung zur Herstellung vorzugsweise bewehrter Betonwände mit die Wandflächen bildenden Grundplatten, die in durch das Verbindungsstück vorgegebenem Abstand miteinander verbunden sind.
  • Die Figuren zeigen jeweils für sich ein Verbindungsstück 1 zum beabstandeten Verbinden zweier Grundplatten 2, 3 einer verlorenen Schalung. Das Verbindungsstück 1 weist zwei zum Befestigen an den Grundplatten 2, 3 dienende, Kontaktflächen 4 aufweisende Befestigungsbereiche 5 und einen sich zwischen den Befestigungsbereichen 5 erstreckenden Distanzbereich 6 auf.
  • In erfindungsgemäßer Weise sind die Befestigungsbereiche 5 und der Distanzbereich 6, d.h. das Verbindungsstück 1, einteilig ausgeführt. Die Kontaktflächen 4 sind zumindest auf einer Seite von der dem Distanzbereich 6 abgewandten Seite her, d.h. durch die zu verbindenden Grundplatten 2, 3 hindurch, mittels Schrauben 7 an den Grundplatten 2, 3 festgelegt.
  • Bei dem in Figur 1 dargestellten Ausführungsbeispiel handelt es sich bei dem Verbindungsstück 1 um ein Verbindungsstück 1 mit doppelwandigem Distanzbereich 6. Genauergesagt sind die Wandungen 8 des Distanzbereichs 6 und die Befestigungsbereiche 5 derart ausgebildet und angeordnet, daß sie gemeinsam ein Profilteil mit rechteckigem Querschnitt im Sinne eines Rechteck-Formrohres bilden.
  • Das in Fig. 2 dargestellte Ausführungsbeispiel eines erfindungsgemäßen Verbindungsstückes weist ebenfalls einen doppelwandigen Distanzbereich 6 auf. Dort ist jedoch einer der Befestigungsbereiche 5 mit zwei zur Anlage an die Grundplatte 1 dienenden Kontaktflächen 9 ausgebildet. Diese beiden Kontaktflächen 9 ragen von den Wandungen 8 des Distanzbereichs 6 nach außen ab und sind mittels Schrauben - von innen - mit der Grundplatte 2 direkt verschraubt.
  • Das schließlich in Fig. 3 dargesteltte dritte Ausführungsbeispiel eines erfindungsgemäßen Verbindungsstückes ist mit dem in Fig. 2 dargestellten Ausführungsbeispiel vergleichbar, wobei die Wandungen 8 des doppelwandigen Distanzbereichs 6 sich von dem einen Befestigungsbereich 5 zu dem gegenüberliegenden Befestigungsbereich 5 in ihrer Relativlage zueinander verändern, d.h. in etwa V-förmig verlaufen. Dadurch ist eine besondere Verbindungssteifigkeit bzw. Biegefestigkeit hervorgerufen.
  • Die Figuren 1 bis 3 zeigen deutlich, daß bei den hier gewählten Ausführungsbeispielen einer verlorenen Schalung jeweils zumindest eine der beiden Grundplatten 2, 3 von der Außenseite her verschraubt ist. Die Grundplatten 2, 3 sind bei den hier gewählten Ausführungsbeispielen als Spanplatten ausgeführt. Zur Verschraubung des Verbindungsstückes 1 mit den Grundplatten 2, 3 sind selbstschneidende Schrauben 7 verwendet, die in den Figuren lediglich schematisch dargestellt sind.
  • Die Figuren 1 bis 3 zeigen des weiteren deutlich, daß die von der Außenseite her eingedrehten Schrauben 7 mit ihren Schraubköpfen 10 in der Grundplatte versenkt sind.
  • Abschließend sei hervorgehoben, daß die lediglich zur Erörterung der beanspruchten Lehre gewählten Ausführungsbeispiele die beanspruchte Lehre keineswegs auf diese Ausführungsbeispiele einschränken.

Claims (18)

1. Verbindungsstück (1) zum beabstandeten Verbinden flächiger Teile, insbesondere zweier Grundplatten (2, 3) einer verlorenen Schalung, vorzugsweise zur Fertigung von ggf. bewehrten Betonwänden, mit zwei zum Befestigen an den Teilen dienenden, Kontaktflächen (4) aufweisenden Befestigungsbereichen (5) und einem sich zwischen den Befestigungsbereichen (5) erstreckenden Distanzbereich (6), dadurch gekennzeichnet, daß die Befestigungsbereiche (5) und der Distanzbereich (6) einteilig ausgeführt sind und daß die Kontaktflächen (4) zumindest von der dem Distanzbereich (6) abgewandten Seite her, d.h. durch die zu verbindenden Teile hindurch, mittels Schrauben (7), Nieten oder dgl. an den Teilen festlegbar sind.
2. Verbindungsstück (1) nach Anspruch 1, dadurch gekennzeichnet, daß der Distanzbereich (6) einwandig ausgeführt ist und gemeinsam mit den Befestigungsbereichen (5) einen in etwa doppel-T-förmigen Querschnitt bildet.
3. Verbindungsstück (1) nach Anspruch 1, dadurch gekennzeichnet, daß der Distanzbereich (6) einwandig ausgeführt ist und gemeinsam mit den Befestigungsbereichen (5) einen in etwa Z-förmigen Querschnitt bildet.
4. Verbindungsstück (1) nach Anspruch 1, dadurch gekennzeichnet, daß der Distanzbereich (6) doppelwandig ausgeführt ist und die Befestigungsbereiche (5) an deren Randbereiche, d.h. beidseitig, miteinander verbindet.
5. Verbindungsstück (1) nach Anspruch 4, dadurch gekennzeichnet, daß die Wandungen (8) des Distanzbereichs (6) parallel zueinander verlaufen.
6. Verbindungsstück (1) nach Anspruch 5, dadurch gekennzeichnet, daß die Wandungen (8) des Distanzbereichs (6) und die Befestigungsbereiche (5) gemeinsam ein Profilteil mit rechteckigem Querschnitt im Sinne eines Rechteck-Formrohres bilden.
7. Verbindungsstück (1) nach Anspruch 5, dadurch gekennzeichnet, daß der doppelwandige Distanzbereich (6) gemeinsam mit den Befestigungsbereichen (5) einen in etwa doppel-T-förmigen Querschnitt mit doppelwandiger Achse aufweist.
8. Verbindungsstück (1) nach Anspruch 4, dadurch gekennzeichnet, daß die Wandungen (8) des Distanzbereichs (6) von dem einen Befestigungsbereich (5) zu dem gegenüberliegenden Befestigungsbereich (5) ihren Abstand zueinander verändern, d.h. in etwa V-förmig verlaufen.
9. Verbindungsstück (1) nach einem der Ansprüche 4, 5, 7 oder 8, dadurch gekennzeichnet, daß einer der Befestigungsbereiche (5) zwei zur Anlage an das flächige Teil dienende Kontaktflächen (9) aufweist und daß die beiden Kontaktflächen (9) von den Wandungen (8) des Distanzbereichs (6) nach außen abragen.
10. Verbindungsstück (1) nach einem der Ansprüche 1 bis 9, dadurch gekennzeichnet, daß die Befestigungsbereiche (5) und der Distanzbereich (6) insgesamt aus vorzugsweise faserverstärktem Kunststoff hergestellt sind.
11. Verbindungsstück (1) nach einem der Ansprüche 1 bis 9, dadurch gekennzeichnet, daß die Befestigungsbereiche (5) und der Distanzbereich (6) insgesamt aus Aluminium hergestellt sind.
12. Verlorene Schalung zur Herstellung vorzugsweise bewehrter Betonwände oder -decken mit die Wand- bzw. Deckenflächen bildenden Grundplatten (2, 3) und mehreren die Grundplatten (2, 3) in vorgegebenem Abstand miteinander verbindenden Verbindungsstücken (1), vorzugsweise Verbindungsstücke (1) nach einem der Ansprüche 1 bis 11, wobei die Grundplatten (2, 3) mit dem Verbindungsstück (1) verschraubt oder vernietet sind, dadurch gekennzeichnet, daß zumindest eine der beiden Grundplatten (2, 3) von der Außenseite her verschraubt oder vernietet ist.
13. Schalung nach Anspruch 12, dadurch gekennzeichnet, daß die Grundplatten (2, 3) als Spanplatten ausgeführt sind.
14. Schalung nach Anspruch 12 oder 13, dadurch gekennzeichnet, daß zur Verschraubung des Verbindungsstücks (1) mit den Grundplatten (2, 3) vorzugsweise selbstschneidende Schrauben (7) verwendet sind.
15. Schalung nach Anspruch 14, dadurch gekennzeichnet, daß die von der Außenseite her eingedrehten Schrauben (7) mit den Schraubköpfen (10) in der Grundplatte (2, 3) versenkt sind.
16. Schalung nach einem der Ansprüche 12 bis 15, dadurch gekennzeichnet, daß das Verbindungsstück (1) zumindest auf der von der Außenseite her verschraubten Seite direkt an der Grundplatte (2, 3) anliegt.
17. Schalung nach einem der Ansprüche 12 bis 16, wobei das Verbindungsstück (1) im Querschnitt Z-förmig ausgebildet ist, dadurch gekennzeichnet, daß die Verbindungsstücke (1) zwischen den Grundplatten (2, 3) mit wechselnder Orientierung des Verbindungsbereichs des Verbindungsstückes (1), vorzugsweise mit paarweise aufeinander zu- bzw. voneinander weggerichteter Orientierung angeordnet sind.
18. Schalung nach einem der Ansprüche 12 bis 17, dadurch gekennzeichnet, daß pro Ifdm. 10 bis 20 Verbindungsstücke (1), vorzugsweise 14 bis 16 Verbindungsstücke (1), mit den Grundplatten (2, 3) verschraubt sind.
EP93117730A 1992-11-02 1993-11-02 Verbindungsstück und verlorene Schalung Withdrawn EP0596451A1 (de)

Applications Claiming Priority (2)

Application Number Priority Date Filing Date Title
DE19924236958 DE4236958A1 (de) 1992-11-02 1992-11-02 Verbindungsstück und eine verlorene Schalung
DE4236958 1992-11-02

Publications (1)

Publication Number Publication Date
EP0596451A1 true EP0596451A1 (de) 1994-05-11

Family

ID=6471907

Family Applications (1)

Application Number Title Priority Date Filing Date
EP93117730A Withdrawn EP0596451A1 (de) 1992-11-02 1993-11-02 Verbindungsstück und verlorene Schalung

Country Status (2)

Country Link
EP (1) EP0596451A1 (de)
DE (1) DE4236958A1 (de)

Cited By (1)

* Cited by examiner, † Cited by third party
Publication number Priority date Publication date Assignee Title
EP0767280A1 (de) * 1995-10-06 1997-04-09 KEWO Holding GmbH Distanzelement für eine Betonschalung

Families Citing this family (6)

* Cited by examiner, † Cited by third party
Publication number Priority date Publication date Assignee Title
DE19533539A1 (de) 1995-09-11 1997-03-13 Henkel Kgaa O/W-Emulgatoren
DE19544710C2 (de) 1995-11-30 1998-11-26 Henkel Kgaa Verdickungsmittel
DE19548068C1 (de) 1995-12-21 1997-06-19 Henkel Kgaa Verfahren zur Herstellung hellfarbiger, niedrigviskoser Tensidkonzentrate
DE19547986C1 (de) * 1995-12-21 1997-07-10 Henkel Kgaa O/W-Mikroemulsionen
US5932535A (en) * 1995-12-21 1999-08-03 Henkel Kommanditgesellschaft Auf Aktien Process for the production of light-colored, low-viscosity surfactant concentrates
DE19625516A1 (de) * 1996-06-26 1998-01-02 Weberhaus Gmbh & Co Kg Abstandhalter

Citations (12)

* Cited by examiner, † Cited by third party
Publication number Priority date Publication date Assignee Title
BE657693A (de) * 1964-01-04
FR632133A (fr) * 1927-04-04 1928-01-04 Construction de bâtiments en béton au moyen de plaques formant coffrages, et ensuite, revêtements par leur incorporation même dans la construction
US3265217A (en) * 1964-07-22 1966-08-09 Angeles Metal Trim Co Building construction
US3449877A (en) * 1966-07-11 1969-06-17 Miller Herman Inc Space divider
DE1609464A1 (de) * 1966-12-08 1970-06-11 Reising Wolfgang Bauelemente
DE1784998A1 (de) * 1967-09-30 1972-07-06 Tempes Geb Manthey Abstandhalter fuer eine mantelbetonwand
US3841051A (en) * 1972-05-30 1974-10-15 D Zinn Method of making walls
US4245442A (en) * 1979-07-19 1981-01-20 Durham I Milt Reusable interior wall and ceiling construction system for buildings
DE3214502A1 (de) * 1981-05-05 1982-12-02 Franz Dipl.-Ing. Innsbruck Bucher Plattenfoermiges bauelement fuer die mantelbetonbauweise
FR2562584A1 (fr) * 1984-04-06 1985-10-11 Sodeteg Procede de fabrication de mur et mur obtenu par ce procede
DE3414388A1 (de) * 1984-04-16 1985-12-12 Peter Dipl.-Ing. 8910 Landsberg Wohlfahrt Verlorene schalung fuer tragende gebaeudeteile aus beton, insbesondere fuer gebaeudedecken, ringanker und stuerze
US4651484A (en) * 1986-03-31 1987-03-24 National Gypsum Company Furniture channel

Family Cites Families (1)

* Cited by examiner, † Cited by third party
Publication number Priority date Publication date Assignee Title
AT385806B (de) * 1986-07-03 1988-05-25 Fuechtner Eva Maria Dipl Ing Mindestens zweiteiliges verbindungsstueck zum zusammenhalten von zwei die fertige wand- bzw. deckenflaeche aufweisenden grundplatten

Patent Citations (12)

* Cited by examiner, † Cited by third party
Publication number Priority date Publication date Assignee Title
FR632133A (fr) * 1927-04-04 1928-01-04 Construction de bâtiments en béton au moyen de plaques formant coffrages, et ensuite, revêtements par leur incorporation même dans la construction
BE657693A (de) * 1964-01-04
US3265217A (en) * 1964-07-22 1966-08-09 Angeles Metal Trim Co Building construction
US3449877A (en) * 1966-07-11 1969-06-17 Miller Herman Inc Space divider
DE1609464A1 (de) * 1966-12-08 1970-06-11 Reising Wolfgang Bauelemente
DE1784998A1 (de) * 1967-09-30 1972-07-06 Tempes Geb Manthey Abstandhalter fuer eine mantelbetonwand
US3841051A (en) * 1972-05-30 1974-10-15 D Zinn Method of making walls
US4245442A (en) * 1979-07-19 1981-01-20 Durham I Milt Reusable interior wall and ceiling construction system for buildings
DE3214502A1 (de) * 1981-05-05 1982-12-02 Franz Dipl.-Ing. Innsbruck Bucher Plattenfoermiges bauelement fuer die mantelbetonbauweise
FR2562584A1 (fr) * 1984-04-06 1985-10-11 Sodeteg Procede de fabrication de mur et mur obtenu par ce procede
DE3414388A1 (de) * 1984-04-16 1985-12-12 Peter Dipl.-Ing. 8910 Landsberg Wohlfahrt Verlorene schalung fuer tragende gebaeudeteile aus beton, insbesondere fuer gebaeudedecken, ringanker und stuerze
US4651484A (en) * 1986-03-31 1987-03-24 National Gypsum Company Furniture channel

Cited By (1)

* Cited by examiner, † Cited by third party
Publication number Priority date Publication date Assignee Title
EP0767280A1 (de) * 1995-10-06 1997-04-09 KEWO Holding GmbH Distanzelement für eine Betonschalung

Also Published As

Publication number Publication date
DE4236958A1 (de) 1994-08-18

Similar Documents

Publication Publication Date Title
EP0531869B1 (de) Montageklemme
EP3540145B1 (de) Verkleidungselement und verkleidungssystem für eine wand
EP2446096B1 (de) Haltewinkel für ein fassadensystem
CH699766B1 (de) Rahmenanschlussteil zur Befestigung an einem Rahmen.
DE202012008857U1 (de) Vorwandmontagesystem
CH652786A5 (de) Plattenfoermiges bauelement und baukonstruktion mit derartigen bauelementen.
EP0464367A1 (de) Bauelementesatz zur Erstellung eines Tragwerks für Reinraumdecken
EP0596451A1 (de) Verbindungsstück und verlorene Schalung
DE2255086C2 (de) Abstandhaltendes Verbindungsglied zur Herstellung einer mehrschaligen Wand
DE202011100168U1 (de) Befestigungswinkel für die Unterkonstruktion von vorgehängten Fassaden und Montagesystem umfassend wenigstens einen solchen Befestigungswinkel
WO2008092699A1 (de) Revisionsvorrichtung, insbesondere revisionsabdeckung
EP0430921A1 (de) Wand, die aus kastenförmigen Plattenelementen besteht
EP3453807A1 (de) Befestigungsvorrichtung für plattenförmige bauelemente, insbesondere fassadenelemente
DE3606812A1 (de) Verkleidung fuer einen einstiegsschweller eines kraftfahrzeugs
DE9214930U1 (de) Verbindungsstück und eine verlorene Schalung
DE29717135U1 (de) Profilsystem für die Halterung von Verkleidungsplatten an Wänden oder Decken
WO2022084167A1 (de) Plattenverbindungssystem
EP3216937A1 (de) Verfahren zur montage einer pfosten-riegel-konstruktion und montagehilfe
DE202010014648U1 (de) Befestigungsvorrichtung zur Befestigung eines Fassadenverkleidungselementes an einer Gebäudefassade
DE19835106B4 (de) Eckschutzschiene für Leichtbauplatten
DE9214484U1 (de) Vorrichtung zum abgewinkelten Verbinden vorzugsweise flächiger Teile
DE102009016917B3 (de) Montage-Hilfswerkzeug und Verfahren zur Montage von Bauplatten an eine Unterkonstruktion
DE102022115118A1 (de) Tragprofilkonstruktion
AT391163B (de) Tuere
EP0069798A1 (de) Bauelement zum Befestigen von Bauplatten an Stahlträgern

Legal Events

Date Code Title Description
PUAI Public reference made under article 153(3) epc to a published international application that has entered the european phase

Free format text: ORIGINAL CODE: 0009012

AK Designated contracting states

Kind code of ref document: A1

Designated state(s): AT BE CH DE DK ES FR GB GR IE IT LI LU MC NL PT SE

17P Request for examination filed

Effective date: 19940726

RBV Designated contracting states (corrected)

Designated state(s): AT BE CH FR LI LU

REG Reference to a national code

Ref country code: DE

Ref legal event code: 8566

17Q First examination report despatched

Effective date: 19950807

STAA Information on the status of an ep patent application or granted ep patent

Free format text: STATUS: THE APPLICATION HAS BEEN WITHDRAWN

18W Application withdrawn

Withdrawal date: 19951205