EP0227370A2 - Pneumatic splicer with thread twisting means - Google Patents

Pneumatic splicer with thread twisting means Download PDF

Info

Publication number
EP0227370A2
EP0227370A2 EP86309554A EP86309554A EP0227370A2 EP 0227370 A2 EP0227370 A2 EP 0227370A2 EP 86309554 A EP86309554 A EP 86309554A EP 86309554 A EP86309554 A EP 86309554A EP 0227370 A2 EP0227370 A2 EP 0227370A2
Authority
EP
European Patent Office
Prior art keywords
yarn
chamber
splicing
yarns
thread
Prior art date
Legal status (The legal status is an assumption and is not a legal conclusion. Google has not performed a legal analysis and makes no representation as to the accuracy of the status listed.)
Withdrawn
Application number
EP86309554A
Other languages
German (de)
French (fr)
Other versions
EP0227370A3 (en
Inventor
James William Barnes Clayton
David Thomas Arthur Fuller
Current Assignee (The listed assignees may be inaccurate. Google has not performed a legal analysis and makes no representation or warranty as to the accuracy of the list.)
Pentwyn Precision Ltd
Original Assignee
Pentwyn Precision Ltd
Priority date (The priority date is an assumption and is not a legal conclusion. Google has not performed a legal analysis and makes no representation as to the accuracy of the date listed.)
Filing date
Publication date
Priority claimed from GB858530283A external-priority patent/GB8530283D0/en
Priority claimed from GB868615636A external-priority patent/GB8615636D0/en
Application filed by Pentwyn Precision Ltd filed Critical Pentwyn Precision Ltd
Publication of EP0227370A2 publication Critical patent/EP0227370A2/en
Publication of EP0227370A3 publication Critical patent/EP0227370A3/en
Withdrawn legal-status Critical Current

Links

Images

Classifications

    • BPERFORMING OPERATIONS; TRANSPORTING
    • B65CONVEYING; PACKING; STORING; HANDLING THIN OR FILAMENTARY MATERIAL
    • B65HHANDLING THIN OR FILAMENTARY MATERIAL, e.g. SHEETS, WEBS, CABLES
    • B65H69/00Methods of, or devices for, interconnecting successive lengths of material; Knot-tying devices ;Control of the correct working of the interconnecting device
    • B65H69/06Methods of, or devices for, interconnecting successive lengths of material; Knot-tying devices ;Control of the correct working of the interconnecting device by splicing
    • B65H69/061Methods of, or devices for, interconnecting successive lengths of material; Knot-tying devices ;Control of the correct working of the interconnecting device by splicing using pneumatic means
    • BPERFORMING OPERATIONS; TRANSPORTING
    • B65CONVEYING; PACKING; STORING; HANDLING THIN OR FILAMENTARY MATERIAL
    • B65HHANDLING THIN OR FILAMENTARY MATERIAL, e.g. SHEETS, WEBS, CABLES
    • B65H69/00Methods of, or devices for, interconnecting successive lengths of material; Knot-tying devices ;Control of the correct working of the interconnecting device
    • B65H69/06Methods of, or devices for, interconnecting successive lengths of material; Knot-tying devices ;Control of the correct working of the interconnecting device by splicing
    • B65H69/061Methods of, or devices for, interconnecting successive lengths of material; Knot-tying devices ;Control of the correct working of the interconnecting device by splicing using pneumatic means
    • B65H69/063Preparation of the yarn ends
    • B65H69/065Preparation of the yarn ends using mechanical means
    • BPERFORMING OPERATIONS; TRANSPORTING
    • B65CONVEYING; PACKING; STORING; HANDLING THIN OR FILAMENTARY MATERIAL
    • B65HHANDLING THIN OR FILAMENTARY MATERIAL, e.g. SHEETS, WEBS, CABLES
    • B65H2402/00Constructional details of the handling apparatus
    • B65H2402/40Details of frames, housings or mountings of the whole handling apparatus
    • B65H2402/41Portable or hand-held apparatus
    • B65H2402/414Manual tools for filamentary material, e.g. for mounting or removing a bobbin, measuring tension or splicing
    • BPERFORMING OPERATIONS; TRANSPORTING
    • B65CONVEYING; PACKING; STORING; HANDLING THIN OR FILAMENTARY MATERIAL
    • B65HHANDLING THIN OR FILAMENTARY MATERIAL, e.g. SHEETS, WEBS, CABLES
    • B65H2701/00Handled material; Storage means
    • B65H2701/30Handled filamentary material
    • B65H2701/31Textiles threads or artificial strands of filaments

Definitions

  • This invention relates to yarn splicing devices and in particular to such devices having pneumatic chambers.
  • the present invention has as its object an improved splicer in which the above-mentioned difficulty is overcome. It is a further object of the invention to provide means whereby the threads which are to be spliced are automatically detwisted at the commencement of the splicing operation and the twist is restored to the spliced thread during the termination of the splicing operation.
  • discrete yarn rolling means disposed adjacent each end of the chamber, each said means for operating on the running end of a respective one of the said yarns, and respective yarn gripping means corresponding to each said yarn rolling means disposed adjacent the respective opposite end of the chamber for gripping the free or broken end of each yarn, said yarn rolling means each engaging a respective yarn and twisting it in a direction to cause unravelling of its strands at the commencement of the splicing operation and retwisting the respective yarn in the opposite direction to cause the normal twist to be restored to the yarn during the termination of the splicing operation.
  • thread or yarn detwisting is carried out on each side of the splicing chamber by pairs of opposed contra-displacing linear members in between which the threads on each side are trapped.
  • the movement required of the linear members is considerable, especially with high-twist multi-ply yarns, and the housing of these members increases the physical dimensions of the splicer.
  • somewhat complicated drives are required to displace the linear members.
  • the detwisting means comprises a pair of operably contra-rotating bodies having common axes of rotation adjacent each end of the splicing chamber, which bodies present conical axial end faces to one another between which faces the running end of one of the threads to be joined is engaged so as to rotate the thread to detwist it at the commencement of the splicing operation, and to rotate the thread in the opposite direction during the termination of the splicing operation so as to retwist it.
  • This arrangement can be made more compact than the embodiment with the linear detwisting members and, moreover, the required contra-rotation can be provided by entirely manual operation in a relatively simple manner.
  • the detwisting and retwisting can be provided by respective flexible pairs of contra-rotating/friction discs arranged in contact on each side of the splicer, the plates of each pair rotating about axes which are slightly and oppositely angled to a perpendicular to a vertical plane longitudinally bisecting the splicing chamber so that parts of one disc lying along a radius are parallel to corresponding parts of the facing disc.
  • a thread guide and air baffle plate is fitted so as to extend away from each end of the splicing chamber.
  • Respective slots in this plate guide the threads or yarn ends where they leave the splicing chamber.
  • Each------------------------------------------------------slot extends from a respective end of the plate towards the chamber along a line which is slightly offset in the lateral plane from the longitudinal axis of the chamber, the respective offsets being in opposite directions so that the threads leave the chamber at small angles to the said axis.
  • the offset direction is dependent upon the direction of twist of the thread, so that when the type of thread changes so as to have a different direction of twist, the plate will be replaced or turned upside down.
  • An additional twist i.e.
  • the contra-rotating friction plates are preferably coupled on each side to respective pulleys and are belt driven from a drive pulley coupled to a rack and pinion drive, the rack being in the form of a sector which is attached to the manual splicing actuator.
  • On each side two belts, appropriately quarter-twisted in counter directions, engage the respective common drive pulley, and are guided by an intermediate idler roller. This arrangement ensures that the respective friction plates rotate equally in opposite directions and in unison without the use of pneumatic drives or complicated gearing to the friction plates.
  • FIG. 1 to 4 The embodiment of the invention disclosed in Figures 1 to 4 comprises a threaded splicer body 1 which is formed to be held in the hand, having a lower portion 2 defining and shaped as a hand grip and an upper open casing 3 having side walls 4, 5.
  • a pivot pin 6 supported by the side walls 4, 5, defines a pivotal axis 7 and is positioned at the top and rear of the splicer body 1.
  • an actuating lever 8 which extends downwards from the pivot pin 6 and a crank shaped spool valve body 9 having an elongate intermediate portion 10 between a cranked end portion mounted on the pivot pin 6 and a free end.
  • the intermediate portion 10 of the spool valve body houses a conventional pneumatic spool valve 11 including a spool member 12.
  • An air pressure supply is coupled to the spool valve 11 through a union 13 on the base of the spool valve body 9, through a flexible air hose 14 which passes through a bore 44 in the splicer body and through a coupling 15 provided in an axially offset position at the bottom end of the hand grip portion 2.
  • Spool member 12 extends towards lever 8 outside the spool valve body 9 to form an actuator 16 which co-operates with an intermediate portion provided on the lever 8.
  • Actuator 16 is biased towards lever 8 by means of a spring 17.
  • Spool valve body 10 is biased downwards (clockwise as shown in Figure 1) by means of a torsion spring 18 mounted on a pin 19 which passes through the casing. Bore 44 is closed by means of a blanking plug 60.
  • Actuating lever 8 is provided with bifurcated arms which extend upwards to provide pivot bearings in which the pivot pin is journalled and which also extend into the casing 3 on either side of of the spool valve body 9 to form scissor actuating members 20, 21 for actuating a scissor mechanism, described hereinafter.
  • Lever 8 extends downwards out of said housing at an angle to the hand grip to form a manual operator 22 (called hereinafter “the trigger 22").
  • a head assembly 23 is mounted on the casing by means of the pivot pin 6 for angular displacement relative to the casing but is normally secured thereto by a captive screw (not shown).
  • Head assembly 23 comprises a cap 25 which is articulated to the pivot pin 6 and a removable cartridge 26 which is fastened on the underside of the cap by means of a screw 24.
  • Cartridge 26 mounts a cylindrical sleeve 27 which is secured in the cartridge body by fastening means 28.
  • Cylindrical sleeve 27 has a screw-threaded bore 29 which contains a correspondingly screw-threaded member 30 (also called herein the pneumatic chamber body 30).
  • This member is provided with an external head portion 31 defining an end face 32 which is substantially curved in the vertical plane and which bears a slot 33 along a line which passes through the common axis 34 of said member and said sleeve, said slot being normally arranged parallel with the pivotal axis 7 of the pivot pin 6.
  • This slot 33 comprises the pneumatic chamber of the splicer. Axis 34 of the pneumatic chamber body 30 intersects the pivotal axis 7 of the pivot pin 6.
  • cylindrical sleeve 27 extends from the cartridge 26 to provide an outer cylindrical bearing surface on which are mounted two pivotable scissor blade members 35, 36.
  • the latter are biased in opposite angular directions by means of springs 37, 38, so that scissors formed by the scissor blades are normally in an open condition.
  • Each scissor blade member is mounted on said sleeve near its mid-point and defines an upper blade 3 y , 40, - which normally abuts the underside of the cap 25 and a diametrically opposite lower blade 41, 42 which extends downwards towards the scissor actuating members 20, 21.
  • On each respective side of the casing each top and bottom blade co-operate to form a pair of scissors.
  • the external head portion 31 of the pneumatic chamber body 30 is formed with flat sides 43 parallel to the slot 33, one of which is arranged to abut the underside of the cap 25 so as to prevent rotational movement of the chamber body in the sleeve 27.
  • Axial adjustment of the scissors relative to the splicing chamber is obtained by removing the cartridge 26 from the cap 25 (or by slackening off its fastening means 24 sufficiently) and rotating the chamber body in the sleeve in the appropriate direction. The cartridge is then once more secured to the cap.
  • Spool valve body 9 extends away from the pivot pin 6 beyond the intermediate portion to a boss 45 defining an upstanding end face 46 facing towards the pivot pin.
  • a blast chamber 47 comprising a cylindrical bore in the boss 45 which enters from the end face 46 contains a piston 48 having a cylindrical portion which is slidable within the said bore and a crown 49 which normally projects from the bore.
  • Crown 49 has a planar surface 50 which is parallel to the end face 46 and has an orifice 51 at the centre thereof which communicates with the interior of the blast chamber.
  • An 0-ring provided on the cylindrical portion of the piston provides an air seal therefor.
  • the casing 6 and the spool valve body 9 are dimensioned so that when the spool valve body is rotated in an upward direction (anticlockwise as shown in Figure 1) by the full extent permitted by the head assembly 23, the common axis 53 of the piston and the blast chamber forms an extension of the axis 34 of the pneumatic chamber body, whilst the end face 46 of the boss 45 is spaced sufficiently far away from the pivot pin 6 to allow the crown of the piston to ride over the end face 32 of the chamber body, as the spool valve body rotates, from a position where it engages only the bottom curved edge of said end face 32.
  • Appendages 101, 102 comprising friction-gripping members for the running ends of each of the threads which are to be joined are provided on the side plates 4, 5. Further friction-gripping means (not shown) for gripping the free ends of the threads, are defined by friction surfaces provided on the downward facing side edges of the cap 25 and by spring biased arms positioned within the casing which are pivotally mounted on the pivot pin 7.
  • a casing extension 103 housing a second spool valve 104 and providing a pneumatic communication between said second spool valve and said appendages 101, 102 is mounted on the rear of the casing 3.
  • Spool valve 104 has a spool member 105 which extends to and is articulated on the lever 8 on a pivot 106.
  • Each of the said appendages contains two, parallel, closely adjacent bores 107, 108 (107', 108') having axes which lie in a common plane 113 parallel with the axis of the pivot pin 7, which bores comprise pneumatic cylinders of equal ' strokes.
  • Each bore contains in the portion thereof which extends rearward of the casing, a piston 109, 110 (109', 110') each having conventional 0-ring seals.
  • Each piston has an integrally formed elongate linear extension having an axially offset co-extensive insert 111, 112 (111',112') of rectangular cross-section, said extensions extending from the piston in a forward direction. These extensions are substantially of equal length.
  • the spool valve 104 is designed to supply pressurized air through internal ducts in the casings (see Figure 4) to provide a first set of conditions in said cylinders, before actuation of the splicer, in which the pistons 110, 110' within the inner bore on each side of the casing 3 are positioned at their foremost extent of their travels within the respective bores and the pistons 109, 109' within the outer bores on each side of the casing 3 are positioned at their rearmost extent of their travels in the respective bores.
  • the spool valve 104 is actuated to provide a second set of conditions in said cylinders in which each piston is displaced to the other end of its respective bore.
  • the pistons and their extensions are dimensioned such that when they are in their rearmost positions in their respective bores their extensions extend slightly forward of the aforesaid plane 113 and when the pistons are in their foremost positions the ends of their respective extensions adjoining the pneumatically operative parts of the respective pistons extend to positions which are behind the aforesaid plane.
  • the extensions of the pairs of pistons in the adjacent bores are arranged so that their mutually facing sides are spaced apart only sufficiently to admit and grip a thread. These sides are provided with friction surfaces.
  • the arrangement is such that on each side of the housing a forward- facing, vertical, open slot is provided between the respective two extensions of the pistons, the face of the slot being slightly forward of said plane 113 containing the splicing chamber.
  • the running portions of the threads are inserted, care being taken to ensure that the said running threads are placed in the splicer from the appropriate directions for the operation which is to follow.
  • the pneumatic connections between the second spool valve 104 and the cylinders 107, 107', 108, 108' and the pneumatic and the mechanical connections between the said second spool valve and corresponding elements on the casing 3 of the splicer are shown diagrammatically in Figure 4.
  • the air passages indicated therein are formed by drillings in the walls of appendages 101, 102 and added portion 103 of the casing.
  • the casings complete with the splicing head can be separated from the hand grip portion and mounted directly on a mule or other textile apparatus.
  • the trigger 22 is preferably dismountable from the lever 8, actuation being provided by means of a push rod or rotating cam.
  • the trigger 22 is then squeezed towards the hand grip with a first pressure so that the intermediate portion of lever 8 presses against the spool valve actuator 16.
  • This pressure is transmitted to the spool valve body 10 through the spring 17, causing the body to pivot upwards until the scissor actuating members 20, 21 formed on lever 8 contact the depending lower portions of the two scissor blade members 35, 36, further movement of the lever being then resisted by the scissor springs 37, 38.
  • the boss 45 is moved up to a position in which its end face 46 confronts the end face 32 of the chamber body and the crown of the piston slides over the end face 32 of the chamber body in contact therewith until the axis 7 of pivot pin 6, the axis of the chamber body 30 and the common axis of the blast chamber 47 and piston 48 all lie in the same plane, at which position the chamber is closed and the orifice 51 in the crown of the piston is exactly in registration with the splicing chamber.
  • This initial pressure on the trigger 22 causes the actuator 16 to move slightly into the spool valve body, thereby bleeding some air to the blast chamber and ensuring that the piston 48 extends therefrom into contact with the end face 32 of the chamber body.
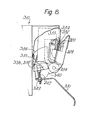
  • FIG. 5 and 6 there is shown a diagrammatic sectional view of a second embodiment of the invention in which the detwisting and twisting of the thread is obtained by rotating in opposite directions the members, on each side of the chamber, of a respective pair of concentric rings whilst the thread is being gripped between those members.
  • the splicer body 200 includes a pair of side-by-side coaxial outer cylindrical sleeves 201, 202, which are slit along their lengths to provide, when the slots are brought together into end-to- end registration, a continuous slot 203 (see Figure 6) through which access is gained to the splicing chamber.
  • the latter comprises an axially aligned slot 204 in the crown of a radially disposed piston 205 which is mounted in a corresponding bore 206 in a central ring 207 on which the sleeves 201 and 202 indirectly bear.
  • the sleeves are capable of limited relative angular displacement and at least one of the sleeves has a knurled portion 208 at one end for convenience of handling.
  • Ring 207 is concentrically fixed on a hollow spigot 209 which extends substantially along the length of the device and which has two threaded end plugs 210, 211, secured thereto.
  • Each end plug has a circumferential outer flange 212, 213, and an inner reduced diameter cylindrical portion 214, 215 which acts as a journal for a respective stepped cylindrical sleeve 216, 217.
  • Each stepped sleeve has an axial outer end 218, 219, into which the respective end plug is journalled and a cutaway part-circumferential inner portion 220, 221 arranged on a larger diameter which extends longitudinally over the ring 207 and beneath the central portions of both,of the outer sleeves 201, 202.
  • the two stepped sleeves 216, 217 therefore intermesh but their cutaway part-circumferential portions 220, 221 extend over arcs which subtend substantially less than 180 degrees to the axis of the sleeves thereby leaving spaces on each side for the insertion of the threads into the splicing chamber and so as to permit relative angular displacement of the sleeves 216, 217.
  • Respective sets of rollers 222, 223 are mounted for rotation on respective cages which are fastened to the respective end plugs. Each roller of the respective set engages the inner wall of the adjacent outer sleeve 201 (202) and the outer wall of the adjacent stepped sleeve 216 (217). Angular motion is therefore transmitted from the outer sleeves to the stepped sleeves.
  • the splicing chamber is closed by twisting the outer sleeves relative to one another, which has the effect of rotating the cutaway part-circumferential portion 220 of the stepped sleeve 216 into registration with the splicing chamber.
  • An arcuate pad 224 provided on the underside of the cutaway portion 220 engages with the slot 204 and thereby provides closure of the chamber.
  • a ring 225, 226 is mounted on an intermediate diameter portion of each stepped sleeve 216, 217 so as to rotate therewith.
  • a larger ring 227, 228 of a similar axial length snugly fits within the respective outer cylindrical sleeve 201, 202 in registration with the respective inner ring 225, 226 and is fastened to the outer sleeve so as to rotate therewith.
  • Each of the larger rings is slit along its length on one side so as to define a slot in registration with the slot in the corresponding outer sleeve.
  • the axial inner ends of the smaller rings 225, 226 have a circumferential external shoulder portion 229 defining an axially inward facing cone.
  • Each ring 227, 228 has an internal circumferential shoulder 230 at the axial inner end of the ring,in registration with the shoulder on the concentric inner ring which has a complementary conical surface which engages with the conical surface on the inner ring.
  • Shoulder 230 is notched adjacent the slot in the ring 227, 228 so as to define a circumferential ramp which co-operates with and slopes in the opposite direction to the ramp on the inner ring.
  • Each inner ring is capable of limited axial movement relative to its respective stepped sleeve and is axially biased inwardly towards the central axially perpendicular plane of the device.
  • a pair of scissor actuating rings 231, 232 (and 233, 234) situated on either side of the splicing chamber are mounted on the spigot 209.
  • the axially inner ring of each pair of scissor actuating rings is capable of angular displacement.
  • Each ring on each side is provided with an extension (235 to 238) which is formed as a scissor blade, the rings together defining a pair of scissors on each side of and directly in line with the slot 204.
  • Inner ring 231 is constrained to move with the corresponding stepped sleeve 216 and is provided with a radial peg 240 which passes through the circumferential slot in the spigot 209 and enters a helical slot 241 in a bush 242.
  • Inner ring 233 is constrained to move with the corresponding stepped sleeve 217 and is also provided with a radial peg which enters into a concentric slot in spigot 209 which does not pass through the wall
  • an axially displaceable valve stem 243 mounted within the hollow portion of the spigot 209 is an axially displaceable valve stem 243 on which the bush 242 is threadingly mounted.
  • a pressurized air supply is provided through a union on the right-hand side as seen in Figure 1 into an inner chamber 244 of the spigot which is sealed at an internal circumferential shoulder portion 245 of the spigot by means of an 0-ring 246.
  • a spring 247 biases the valve stem against the 0-ring so as to seal an axial passage 248 from the pressurized air supply.
  • Axial passage 248 communicates with a radial passage 249 which in turn communicates with the interior of the piston 205.
  • the latter is provided with an orifice 250 through which pressurized air is exhausted into the splicing chamber.
  • the device is used and is operated in the following manner. With the device open the two threads to be spliced are laid in the slot 203 so that each thread lies in the splicing chamber and the broken end of each thread engages the scissors on the respective side of the chamber and the running end of each thread lies alongside the scissors on the opposite side of the chamber but within the slots provided on the sleeves 201, 216, 202, and the outer rings 227, 228, all of which are in registration with the splicing chamber when the chamber is open.
  • the two outer sleeves 201, 202 are then relatively rotated to the full extent permitted by the inter-engagement of the stepped sleeves 216, 217 and this causes the two rings 225, 227 and 226, 228 on each side to rotate in opposite directions as a consequence of the outside rotation being transferred via the respective rollers to the respective stepped sleeve.
  • the ramps in the two rings 225, 227 (or 226, 228) on each side which were initially in radial registration move in opposition directions away from the respective thread, thus trapping the latter between the conical faces of the respective pair of rings.
  • the strands of the thread are untwisted as the rotation proceeds as a consequence of the thread being gripped between the conical faces.
  • the scissors are caused to close and cut the loose ends of the threads.
  • This movement is also transferred via the peg 240 and the helical slot 241 in the bush 242 to cause the latter to displace towards the central axially perpendicular plane of the device which in turn axially displaces the valve spindle and allows air to pass through passages 248, 249 into the piston 205 and from the piston through the orifice 250 into the splicing chamber.
  • Reverse movement of the outer sleeves after splicing has taken place restores the twist to the thread and brings the slots into registration one with another, thereby opening the splicing chamber and allowing the spliced thread to be removed.
  • the scissors are reset and the valve stem is moved back to a closed position.
  • Figures 7 to 11 illustrate a third embodiment of the invention.
  • the general arrangement of its pneumatic splicing chamber is similar to that described in relation to the embodiment shown in Figs. 1-4.
  • the splicer 310 is adapted for mounting on a structural part 311 of the associated mule, thereby leaving both the operator's hands free for threading the splicer and attending to his general duties.
  • a supply of high pressure air is required for the splicing operation and a connection (not shown) for an air hose 312 is provided beneath the cover 313.
  • the threads 314, 315 to be joined by the splicer 310 are laid one from each direction on the left and the right in the slots 316, 317 in the side covers 318, 319 and also in the open slot 320 in the fixed portion of the splicing chamber.
  • the free ends of the threads are taken through narrow gaps or passages 321, 322, formed at the sides of the hinged front plate 323, which mounts the fixed part of the splicing chamber, and between this plate and the side plates 324, 325, and are then pulled down through the respective slots 326, 327 in a thread guide and baffle plate 328 (best seen in Figure 9).
  • a respective pair of scissors 329, 330 operated manually by means of the manual actuator 331, is mounted immediately behind each respective slot 326, 327 in the plate 328.
  • the slots 326, 327 are offset from the longitudinal axis of the plate 328 in opposite directions by small amounts. Therefore the thread ends are disposed at small angles to the axis of the chamber where they pass from the latter to the said slots.
  • the direction of the offset is dependent upon whether the threads being spliced have "S" twists or "Z" twists. Therefore when the threads change in this respect the plate must be removed, turned-over and be replaced so that the offsets are disposed in the opposite directions to what they were before the change.
  • a pneumatic piston 332 having a complementary splicing chamber slot 333 is housed in a movable portion 334 of the splicing chamber which is mounted in the splicer housing on a pivot 339.
  • This movable portion is pulled towards an abutment at the rear of the splicer by means of a spring in the housing (not shown) which is connected between the said movable portion 334 of the splicing chamber at the housing wall.
  • a further spring 335 is situated between said movable portion 334 of the splicing chamber and a bracket 336 which mounts a pneumatic valve 337 and has a pair of parallel arms 338, 338' which extend on each side of the said movable portion 334 of the splicing chamber to the pivot 339 on which they are mounted.
  • Spring 335 maintains bracket 336 and movable portion 334 angularly separated and provides a lost motion linkage.
  • the manual actuator 331 is also mounted on extensions of the pivot 339 by means of a pair of parallel arms 340, 340' which embrace the side plates 324, 325 and it has an adjustable abutment in the form of a screw 342 which at one end engages a thread in a boss 343 on the actuator 331 and at the other end engages an actuator of the pneumatic valve 337. Screw 342 provides adjustment of the lost motion between the manual actuator 331 and the movable portion 334 of the splicing chamber.
  • Depression of the manual actuator 331 results, inter alia, in the said movable portion 334 of the splicing chamber pivoting out of the splicer 310 about the pivot 339 until the two slots 320, 333 are in conjunction, at which position the said movable portion abuts a stop.
  • Pressure on the pneumatic actuator of valve 337 by the screw 342 causes air to be bled into the housing at the rear of the piston 332, forcing the latter into contact with the fixed portion of the splicing chamber, and finally, when the said slots of the chamber are in conjunction, causing high pressure air to be vented into the chamber through a small orifice in the piston (not shown).
  • the manual actuator 331 is biased to its initial, rest, position by a pair of springs 344, 344' (see Figure 9) each of which is attached at one end to the respective side plate 324, 325 and at its other end to an over-centre portion of the respective arm 340 (340') of the actuator 331.
  • Rack 347 (347') which is situated at the lower end of the sector 345 (345') meshes on each side with a pinion 348 (348') formed on the inside of a respective pulley 349 (349') mounted for rotation on a stub axle 350 (350') extending from the respective side plate 325 (324).
  • Pulley 349 (349') has a pair of side-by-side circumferential grooves 351, 352 (351', 352') which receive respective circular cross-section belts 353, 354 (353', 354') which may be rubber "0" rings.
  • Each small pulley axle has a plate 359, 360 (359', 360') mounted at its inside end on which there is a smaller diameter boss facing away from the respective small pulley and on each boss there is mounted a stiff rubber washer (or washer of similar inherently resilient frictional material) 361, 362 (361', 362'), each washer being a friction fit on its respective boss. Because of the inclination of the axes of the pulleys the respective pair of washers provide a fact-engagement nip at the top edges thereof nearest to the splicing chamber.
  • An idling roller 363 (363') is mounted for rotation on each side on a shaft forming an extension of the pivot 339.
  • the belts 353, 354 (353', 354') are respectively taken one side and the other of the respective roller. Consequently one run of each belt from opposite sides of the large pulley 349 (349') is in contact with the roller.
  • the belts are quarter-twisted in opposite directions so that when the manual actuator is depressed the small pulleys of each pair rotate in opposite directions, causing the respective washers to likewise rotate oppositely and in such directions as to untwist a thread trapped between them.
  • the detwisting and retwisting operation is as follows.
  • yarns or threads, of appropriate twist are threaded through the splicing chamber and the slots 316, 317, they are automatically engaged by the nip of the respective washers 361, 362 (361', 362') which are sprung apart to admit the respective yarn or thread.
  • the sector racks 347, 347' swing through the major part of their operating arcs as the movable portion 334 of the splicing chamber displaces to its operating position.
  • the meshing pinions 348, 348' are rotated during the movement and as a consequence the drive pulleys 349, 349' are likewise rotated.
  • the displacement is translated, though the action of the belts 353, 354 and 353', 354' engaging with the pulleys 349, 355, 356, 349', 355', 356', to the washers 361, 362 and 361', 362' with velocity ratios corresponding to the ratios of the diameters of the large and small pulleys, said ratios being sufficient in magnitude to provide just the appropriate amount of detwist to totally unravel the yarns or threads.
  • the two slots 320, 333 of the pneumatic chamber are in conjunction and air is blasted therein.
  • the apparatus is rendered suitable equally for "S" twist and "Z” twist yarns or threads by suitably mounting the belts 353, 354, 353', 354' on their respective pulleys 349, 355, 356, 349', 355', 356'.

Landscapes

  • Engineering & Computer Science (AREA)
  • Textile Engineering (AREA)
  • Spinning Or Twisting Of Yarns (AREA)

Abstract

A yarn splicer (310) having a closable pneumatic chamber (320) which is permanently open at each end so as to receive the yarns to be spliced from opposite ends, discrete yarn rolling means (361, 362 (361', 362')) arranged on either side of the splicer adjacent each end of the chamber to engage the running portion of a respective yarn in the chamber, and yarn gripping means (326, 327, 328) also disposed at either end of the chamber to engage the respective loose ends of the yarns. Actuation of the splicer results in a prescribed rolling action on the yarns in a direction to completely detwist them, and deactivation results in an equal and opposite action on the yarns so as to restore the original twist.
The preferred arrangement has a biased lost motion linkage between the actuation means and the chamber- mechanism which provides a drive to the rolling means and gives an over-twist to the yarns during detwisting and which recovers the over-twist as well as restoring the original twist at the termination of the splice.

Description

  • This invention relates to yarn splicing devices and in particular to such devices having pneumatic chambers.
  • With pneumatic splicers a blast of air injected into the pneumatic chamber unravels the loose ends of the yarns or threads and tangles the separated strands together to form the splice. Knives provided at each end of the chamber snip off the "tails" or free ends of the yarns or threads during the termination of the splicing operation. However, forming a strong yet tidy splice by such means with sufficient entrapment of strands has proved difficult for certain forms of threads, for example with sewing threads.
  • The present invention has as its object an improved splicer in which the above-mentioned difficulty is overcome. It is a further object of the invention to provide means whereby the threads which are to be spliced are automatically detwisted at the commencement of the splicing operation and the twist is restored to the spliced thread during the termination of the splicing operation. Accordingly there is provided discrete yarn rolling means disposed adjacent each end of the chamber, each said means for operating on the running end of a respective one of the said yarns, and respective yarn gripping means corresponding to each said yarn rolling means disposed adjacent the respective opposite end of the chamber for gripping the free or broken end of each yarn, said yarn rolling means each engaging a respective yarn and twisting it in a direction to cause unravelling of its strands at the commencement of the splicing operation and retwisting the respective yarn in the opposite direction to cause the normal twist to be restored to the yarn during the termination of the splicing operation.
  • In one embodiment of the invention thread or yarn detwisting is carried out on each side of the splicing chamber by pairs of opposed contra-displacing linear members in between which the threads on each side are trapped. The movement required of the linear members is considerable, especially with high-twist multi-ply yarns, and the housing of these members increases the physical dimensions of the splicer. In addition, somewhat complicated drives are required to displace the linear members.
  • In a further embodiment of the invention the detwisting means comprises a pair of operably contra-rotating bodies having common axes of rotation adjacent each end of the splicing chamber, which bodies present conical axial end faces to one another between which faces the running end of one of the threads to be joined is engaged so as to rotate the thread to detwist it at the commencement of the splicing operation, and to rotate the thread in the opposite direction during the termination of the splicing operation so as to retwist it. This arrangement can be made more compact than the embodiment with the linear detwisting members and, moreover, the required contra-rotation can be provided by entirely manual operation in a relatively simple manner.
  • The detwisting and retwisting can be provided by respective flexible pairs of contra-rotating/friction discs arranged in contact on each side of the splicer, the plates of each pair rotating about axes which are slightly and oppositely angled to a perpendicular to a vertical plane longitudinally bisecting the splicing chamber so that parts of one disc lying along a radius are parallel to corresponding parts of the facing disc.
  • Preferably a thread guide and air baffle plate is fitted so as to extend away from each end of the splicing chamber. Respective slots in this plate guide the threads or yarn ends where they leave the splicing chamber. Each---------------------------slot extends from a respective end of the plate towards the chamber along a line which is slightly offset in the lateral plane from the longitudinal axis of the chamber, the respective offsets being in opposite directions so that the threads leave the chamber at small angles to the said axis. The offset direction is dependent upon the direction of twist of the thread, so that when the type of thread changes so as to have a different direction of twist, the plate will be replaced or turned upside down. An additional twist, i.e. an over twist, is imparted to the threads or yarns during splicing and a corresponding additional retwisting is provided in the thread or yarn after splicing. By said means any tendency of the cut ends of the separate threads (or yarns) to lift from the splice during the processing of the spliced thread before weaving is discouraged.
  • The contra-rotating friction plates are preferably coupled on each side to respective pulleys and are belt driven from a drive pulley coupled to a rack and pinion drive, the rack being in the form of a sector which is attached to the manual splicing actuator. On each side two belts, appropriately quarter-twisted in counter directions, engage the respective common drive pulley, and are guided by an intermediate idler roller. This arrangement ensures that the respective friction plates rotate equally in opposite directions and in unison without the use of pneumatic drives or complicated gearing to the friction plates.
  • BRIEF DESCRIPTION OF THE DRAWINGS
  • These and other objects and improvements of the invention are illustrated by way of example in the accompanying drawings, in which:
    • Figure 1 is a part-sectional side view of a first embodiment of the splicer according to the invention in a condition ready to perform a splicing operation, the section planes corresponding to the planes I, I indicated in Figure 3;
    • Figure 2 is a bit drawing of the casing with the latter broken away to show the scissor mechanism;
    • Figure 3 is a view of the splicer of Figure 1 from the direction of arrow A as shown in Figure 1;
    • Figure 4 is a schematic diagram referring to Figure 1 showing the couplings between the pneumatic cylinders and the second spool valve and between the latter and the body of the splicer;
    • Figure 5 shows a section through a diameter of a cylindrical splicer comprising a second embodiment of the invention;
    • Figure 6 is a plan view of the splicer of Figure 5;
    • Figure 7 is a perspective view of a third embodiment of the invention, with threads arranged for splicing in the splicing chamber and the latter in the loading position;
    • Figure 8 is a sectional end elevation of a portion of the pneumatic splicer of Figure 7 showing the splicing chamber in the loading position and the actuating linkage therefor;
    • Figure 9 is a perspective view of the pneumatic splicer like that of Figure 7, but with the splicing head opened and with the side covers removed;
    • Figure 10 is a side elevation of a portion of the pneumatic splicer of Figure 7 with the respective side cover removed to show the friction plates and drive arrangements; and
    • Figure 11 is a similar view to that of Figure 10 but with the drive plates, pulleys and belts removed so as to show the sector rack.
  • The embodiment of the invention disclosed in Figures 1 to 4 comprises a threaded splicer body 1 which is formed to be held in the hand, having a lower portion 2 defining and shaped as a hand grip and an upper open casing 3 having side walls 4, 5. A pivot pin 6 supported by the side walls 4, 5, defines a pivotal axis 7 and is positioned at the top and rear of the splicer body 1. Mounted on the pivot pin 6 within the casing 3 for independent, limited, angular movement in an anti-clockwise direction from the position shown in Figure 1 is an actuating lever 8 which extends downwards from the pivot pin 6 and a crank shaped spool valve body 9 having an elongate intermediate portion 10 between a cranked end portion mounted on the pivot pin 6 and a free end. The intermediate portion 10 of the spool valve body houses a conventional pneumatic spool valve 11 including a spool member 12. An air pressure supply is coupled to the spool valve 11 through a union 13 on the base of the spool valve body 9, through a flexible air hose 14 which passes through a bore 44 in the splicer body and through a coupling 15 provided in an axially offset position at the bottom end of the hand grip portion 2. Spool member 12 extends towards lever 8 outside the spool valve body 9 to form an actuator 16 which co-operates with an intermediate portion provided on the lever 8. Actuator 16 is biased towards lever 8 by means of a spring 17. Spool valve body 10 is biased downwards (clockwise as shown in Figure 1) by means of a torsion spring 18 mounted on a pin 19 which passes through the casing. Bore 44 is closed by means of a blanking plug 60.
  • Actuating lever 8 is provided with bifurcated arms which extend upwards to provide pivot bearings in which the pivot pin is journalled and which also extend into the casing 3 on either side of of the spool valve body 9 to form scissor actuating members 20, 21 for actuating a scissor mechanism, described hereinafter. Lever 8 extends downwards out of said housing at an angle to the hand grip to form a manual operator 22 (called hereinafter "the trigger 22").
  • A head assembly 23 is mounted on the casing by means of the pivot pin 6 for angular displacement relative to the casing but is normally secured thereto by a captive screw (not shown). Head assembly 23 comprises a cap 25 which is articulated to the pivot pin 6 and a removable cartridge 26 which is fastened on the underside of the cap by means of a screw 24. Cartridge 26 mounts a cylindrical sleeve 27 which is secured in the cartridge body by fastening means 28. Cylindrical sleeve 27 has a screw-threaded bore 29 which contains a correspondingly screw-threaded member 30 (also called herein the pneumatic chamber body 30). This member is provided with an external head portion 31 defining an end face 32 which is substantially curved in the vertical plane and which bears a slot 33 along a line which passes through the common axis 34 of said member and said sleeve, said slot being normally arranged parallel with the pivotal axis 7 of the pivot pin 6. This slot 33 comprises the pneumatic chamber of the splicer. Axis 34 of the pneumatic chamber body 30 intersects the pivotal axis 7 of the pivot pin 6.
  • As best seen in Figure 2, cylindrical sleeve 27 extends from the cartridge 26 to provide an outer cylindrical bearing surface on which are mounted two pivotable scissor blade members 35, 36. The latter are biased in opposite angular directions by means of springs 37, 38, so that scissors formed by the scissor blades are normally in an open condition. Each scissor blade member is mounted on said sleeve near its mid-point and defines an upper blade 3y, 40,- which normally abuts the underside of the cap 25 and a diametrically opposite lower blade 41, 42 which extends downwards towards the scissor actuating members 20, 21. On each respective side of the casing each top and bottom blade co-operate to form a pair of scissors. The external head portion 31 of the pneumatic chamber body 30 is formed with flat sides 43 parallel to the slot 33, one of which is arranged to abut the underside of the cap 25 so as to prevent rotational movement of the chamber body in the sleeve 27. Axial adjustment of the scissors relative to the splicing chamber is obtained by removing the cartridge 26 from the cap 25 (or by slackening off its fastening means 24 sufficiently) and rotating the chamber body in the sleeve in the appropriate direction. The cartridge is then once more secured to the cap.
  • Spool valve body 9 extends away from the pivot pin 6 beyond the intermediate portion to a boss 45 defining an upstanding end face 46 facing towards the pivot pin. A blast chamber 47 comprising a cylindrical bore in the boss 45 which enters from the end face 46 contains a piston 48 having a cylindrical portion which is slidable within the said bore and a crown 49 which normally projects from the bore. Crown 49 has a planar surface 50 which is parallel to the end face 46 and has an orifice 51 at the centre thereof which communicates with the interior of the blast chamber. An 0-ring provided on the cylindrical portion of the piston provides an air seal therefor.
  • The casing 6 and the spool valve body 9 are dimensioned so that when the spool valve body is rotated in an upward direction (anticlockwise as shown in Figure 1) by the full extent permitted by the head assembly 23, the common axis 53 of the piston and the blast chamber forms an extension of the axis 34 of the pneumatic chamber body, whilst the end face 46 of the boss 45 is spaced sufficiently far away from the pivot pin 6 to allow the crown of the piston to ride over the end face 32 of the chamber body, as the spool valve body rotates, from a position where it engages only the bottom curved edge of said end face 32.
  • Appendages 101, 102 comprising friction-gripping members for the running ends of each of the threads which are to be joined are provided on the side plates 4, 5. Further friction-gripping means (not shown) for gripping the free ends of the threads, are defined by friction surfaces provided on the downward facing side edges of the cap 25 and by spring biased arms positioned within the casing which are pivotally mounted on the pivot pin 7. A casing extension 103 housing a second spool valve 104 and providing a pneumatic communication between said second spool valve and said appendages 101, 102 is mounted on the rear of the casing 3. Spool valve 104 has a spool member 105 which extends to and is articulated on the lever 8 on a pivot 106.
  • Each of the said appendages contains two, parallel, closely adjacent bores 107, 108 (107', 108') having axes which lie in a common plane 113 parallel with the axis of the pivot pin 7, which bores comprise pneumatic cylinders of equal 'strokes. Each bore contains in the portion thereof which extends rearward of the casing, a piston 109, 110 (109', 110') each having conventional 0-ring seals. Each piston has an integrally formed elongate linear extension having an axially offset co-extensive insert 111, 112 (111',112') of rectangular cross-section, said extensions extending from the piston in a forward direction. These extensions are substantially of equal length. On each side of the casing the bores are terminated by open ends shortly behind the plane 113 perpendicular to the bore axes containing the slot forming the splicing chamber. The spool valve 104 is designed to supply pressurized air through internal ducts in the casings (see Figure 4) to provide a first set of conditions in said cylinders, before actuation of the splicer, in which the pistons 110, 110' within the inner bore on each side of the casing 3 are positioned at their foremost extent of their travels within the respective bores and the pistons 109, 109' within the outer bores on each side of the casing 3 are positioned at their rearmost extent of their travels in the respective bores. When the trigger 22 is squeezed during operation of the splicer the spool valve 104 is actuated to provide a second set of conditions in said cylinders in which each piston is displaced to the other end of its respective bore.
  • The pistons and their extensions are dimensioned such that when they are in their rearmost positions in their respective bores their extensions extend slightly forward of the aforesaid plane 113 and when the pistons are in their foremost positions the ends of their respective extensions adjoining the pneumatically operative parts of the respective pistons extend to positions which are behind the aforesaid plane. Moreover, the extensions of the pairs of pistons in the adjacent bores are arranged so that their mutually facing sides are spaced apart only sufficiently to admit and grip a thread. These sides are provided with friction surfaces. Thus in the first condition'substantially the whole length of the aforesaid extensions of the inner pistons extend forward of the splicing chamber whilst the extensions of the outer pistons extend substantially over the whole of their length behind the splicing chamber and, in the second condition the reverse situation obtains, in which the extensions of the inner pistons are placed substantially over the whole of their length behind the splicing chamber and the extensions of the outer pistons extend substantially over the whole of their length in front of the splicing chamber. In both conditions portions of adjacent faces of the extensions overlap. Thus in said first condition the arrangement is such that on each side of the housing a forward- facing, vertical, open slot is provided between the respective two extensions of the pistons, the face of the slot being slightly forward of said plane 113 containing the splicing chamber. Into these slots the running portions of the threads are inserted, care being taken to ensure that the said running threads are placed in the splicer from the appropriate directions for the operation which is to follow. The pneumatic connections between the second spool valve 104 and the cylinders 107, 107', 108, 108' and the pneumatic and the mechanical connections between the said second spool valve and corresponding elements on the casing 3 of the splicer are shown diagrammatically in Figure 4. The air passages indicated therein are formed by drillings in the walls of appendages 101, 102 and added portion 103 of the casing.
  • When the trigger is squeezed during operation of the splicer the pistons on each side are moved in opposite directions which has the effect of untwisting the thread on each side. When the trigger is released, after the splicing operation has been completed, the pistons are returned by the air pressure to their first condition with the consequence that the twist is restored to the spliced thread.
  • Where facilities for automatic operation exist, the casings complete with the splicing head can be separated from the hand grip portion and mounted directly on a mule or other textile apparatus. The trigger 22 is preferably dismountable from the lever 8, actuation being provided by means of a push rod or rotating cam.
  • When using the device, air pressure is admitted thereto and, as shown particularly in Figure 3, the threads to be spliced are laid longitudinally in the slot 33 forming the splicing chamber, one from each direction, with the free (i.e. broken) ends thereof being threaded back from the chamber body through the tripping means 56, 57, and through the respective pairs of scissors along a plane which more or less contains the axis of the pivot pin 6. The running threads are taken vertically down from the slot 33 through the respective gripping members 54, 55 on each side of the casing.
  • With this simple loading process completed the trigger 22 is then squeezed towards the hand grip with a first pressure so that the intermediate portion of lever 8 presses against the spool valve actuator 16. This pressure is transmitted to the spool valve body 10 through the spring 17, causing the body to pivot upwards until the scissor actuating members 20, 21 formed on lever 8 contact the depending lower portions of the two scissor blade members 35, 36, further movement of the lever being then resisted by the scissor springs 37, 38. During this movement of the spool valve body the boss 45 is moved up to a position in which its end face 46 confronts the end face 32 of the chamber body and the crown of the piston slides over the end face 32 of the chamber body in contact therewith until the axis 7 of pivot pin 6, the axis of the chamber body 30 and the common axis of the blast chamber 47 and piston 48 all lie in the same plane, at which position the chamber is closed and the orifice 51 in the crown of the piston is exactly in registration with the splicing chamber. This initial pressure on the trigger 22 causes the actuator 16 to move slightly into the spool valve body, thereby bleeding some air to the blast chamber and ensuring that the piston 48 extends therefrom into contact with the end face 32 of the chamber body.
  • Further manual pressure applied to the trigger 22 causes the scissor actuating members 20, 21 formed on the lever 8 to force the spring blades to pivot against the bias of their respective springs thereby severing the ends of the threads. A final pressure applied to the trigger 22 causes the full depression of the actuator which in turn releases a blast of air into the splicing chamber.
  • When the trigger is released the force exerted by the scissors springs opens the scissors until their upper blades abut the underside of the cap 25, and pushes the scissor actuating members 20, 21 downwards, rotating the lever 8 clockwise. This movement releases the actuator 16 which is moved out of the spool valve body 9 to its rest position by the spring 17. The spool valve body 9 is pushed downwards by the torsion spring 18 to its limiting position as seen in Figure 1, which movement is transmitted to the lever 8 by the spring 17. In this final condition the blast chamber is isolated from the air pressure and is therefore exhausted to atmosphere and the splicing chamber (slot 33) is fully exposed, allowing the spliced thread to be removed.
  • Referring now to Figures 5 and 6, there is shown a diagrammatic sectional view of a second embodiment of the invention in which the detwisting and twisting of the thread is obtained by rotating in opposite directions the members, on each side of the chamber, of a respective pair of concentric rings whilst the thread is being gripped between those members.
  • The splicer body 200 includes a pair of side-by-side coaxial outer cylindrical sleeves 201, 202, which are slit along their lengths to provide, when the slots are brought together into end-to- end registration, a continuous slot 203 (see Figure 6) through which access is gained to the splicing chamber. The latter comprises an axially aligned slot 204 in the crown of a radially disposed piston 205 which is mounted in a corresponding bore 206 in a central ring 207 on which the sleeves 201 and 202 indirectly bear. As will become apparent later, the sleeves are capable of limited relative angular displacement and at least one of the sleeves has a knurled portion 208 at one end for convenience of handling.
  • Ring 207 is concentrically fixed on a hollow spigot 209 which extends substantially along the length of the device and which has two threaded end plugs 210, 211, secured thereto. Each end plug has a circumferential outer flange 212, 213, and an inner reduced diameter cylindrical portion 214, 215 which acts as a journal for a respective stepped cylindrical sleeve 216, 217. Each stepped sleeve has an axial outer end 218, 219, into which the respective end plug is journalled and a cutaway part-circumferential inner portion 220, 221 arranged on a larger diameter which extends longitudinally over the ring 207 and beneath the central portions of both,of the outer sleeves 201, 202. The two stepped sleeves 216, 217 therefore intermesh but their cutaway part- circumferential portions 220, 221 extend over arcs which subtend substantially less than 180 degrees to the axis of the sleeves thereby leaving spaces on each side for the insertion of the threads into the splicing chamber and so as to permit relative angular displacement of the sleeves 216, 217.
  • Respective sets of rollers 222, 223 are mounted for rotation on respective cages which are fastened to the respective end plugs. Each roller of the respective set engages the inner wall of the adjacent outer sleeve 201 (202) and the outer wall of the adjacent stepped sleeve 216 (217). Angular motion is therefore transmitted from the outer sleeves to the stepped sleeves. The splicing chamber is closed by twisting the outer sleeves relative to one another, which has the effect of rotating the cutaway part-circumferential portion 220 of the stepped sleeve 216 into registration with the splicing chamber. An arcuate pad 224 provided on the underside of the cutaway portion 220 engages with the slot 204 and thereby provides closure of the chamber.
  • A ring 225, 226 is mounted on an intermediate diameter portion of each stepped sleeve 216, 217 so as to rotate therewith. A larger ring 227, 228 of a similar axial length snugly fits within the respective outer cylindrical sleeve 201, 202 in registration with the respective inner ring 225, 226 and is fastened to the outer sleeve so as to rotate therewith. Each of the larger rings is slit along its length on one side so as to define a slot in registration with the slot in the corresponding outer sleeve. The axial inner ends of the smaller rings 225, 226 have a circumferential external shoulder portion 229 defining an axially inward facing cone. Shoulder 229 is notched so as to define a circumferential ramp. Each ring 227, 228 has an internal circumferential shoulder 230 at the axial inner end of the ring,in registration with the shoulder on the concentric inner ring which has a complementary conical surface which engages with the conical surface on the inner ring. Shoulder 230 is notched adjacent the slot in the ring 227, 228 so as to define a circumferential ramp which co-operates with and slopes in the opposite direction to the ramp on the inner ring. Each inner ring is capable of limited axial movement relative to its respective stepped sleeve and is axially biased inwardly towards the central axially perpendicular plane of the device.
  • A pair of scissor actuating rings 231, 232 (and 233, 234) situated on either side of the splicing chamber are mounted on the spigot 209. The axially inner ring of each pair of scissor actuating rings is capable of angular displacement. Each ring on each side is provided with an extension (235 to 238) which is formed as a scissor blade, the rings together defining a pair of scissors on each side of and directly in line with the slot 204. Inner ring 231 is constrained to move with the corresponding stepped sleeve 216 and is provided with a radial peg 240 which passes through the circumferential slot in the spigot 209 and enters a helical slot 241 in a bush 242. Inner ring 233 is constrained to move with the corresponding stepped sleeve 217 and is also provided with a radial peg which enters into a concentric slot in spigot 209 which does not pass through the wall of the spigot.
  • Mounted within the hollow portion of the spigot 209 is an axially displaceable valve stem 243 on which the bush 242 is threadingly mounted. A pressurized air supply is provided through a union on the right-hand side as seen in Figure 1 into an inner chamber 244 of the spigot which is sealed at an internal circumferential shoulder portion 245 of the spigot by means of an 0-ring 246. A spring 247 biases the valve stem against the 0-ring so as to seal an axial passage 248 from the pressurized air supply. Axial passage 248 communicates with a radial passage 249 which in turn communicates with the interior of the piston 205. The latter is provided with an orifice 250 through which pressurized air is exhausted into the splicing chamber.
  • The device is used and is operated in the following manner. With the device open the two threads to be spliced are laid in the slot 203 so that each thread lies in the splicing chamber and the broken end of each thread engages the scissors on the respective side of the chamber and the running end of each thread lies alongside the scissors on the opposite side of the chamber but within the slots provided on the sleeves 201, 216, 202, and the outer rings 227, 228, all of which are in registration with the splicing chamber when the chamber is open. The two outer sleeves 201, 202 are then relatively rotated to the full extent permitted by the inter-engagement of the stepped sleeves 216, 217 and this causes the two rings 225, 227 and 226, 228 on each side to rotate in opposite directions as a consequence of the outside rotation being transferred via the respective rollers to the respective stepped sleeve. As this rotation proceeds the ramps in the two rings 225, 227 (or 226, 228) on each side which were initially in radial registration move in opposition directions away from the respective thread, thus trapping the latter between the conical faces of the respective pair of rings. The strands of the thread are untwisted as the rotation proceeds as a consequence of the thread being gripped between the conical faces.
  • Near the limit of the movement, the scissors are caused to close and cut the loose ends of the threads. This movement is also transferred via the peg 240 and the helical slot 241 in the bush 242 to cause the latter to displace towards the central axially perpendicular plane of the device which in turn axially displaces the valve spindle and allows air to pass through passages 248, 249 into the piston 205 and from the piston through the orifice 250 into the splicing chamber.
  • Reverse movement of the outer sleeves after splicing has taken place restores the twist to the thread and brings the slots into registration one with another, thereby opening the splicing chamber and allowing the spliced thread to be removed. At the same time the scissors are reset and the valve stem is moved back to a closed position.
  • Figures 7 to 11 illustrate a third embodiment of the invention. The general arrangement of its pneumatic splicing chamber is similar to that described in relation to the embodiment shown in Figs. 1-4.
  • As shown, the splicer 310 is adapted for mounting on a structural part 311 of the associated mule, thereby leaving both the operator's hands free for threading the splicer and attending to his general duties. A supply of high pressure air is required for the splicing operation and a connection (not shown) for an air hose 312 is provided beneath the cover 313.
  • The threads 314, 315 to be joined by the splicer 310 are laid one from each direction on the left and the right in the slots 316, 317 in the side covers 318, 319 and also in the open slot 320 in the fixed portion of the splicing chamber. The free ends of the threads are taken through narrow gaps or passages 321, 322, formed at the sides of the hinged front plate 323, which mounts the fixed part of the splicing chamber, and between this plate and the side plates 324, 325, and are then pulled down through the respective slots 326, 327 in a thread guide and baffle plate 328 (best seen in Figure 9). A respective pair of scissors 329, 330 operated manually by means of the manual actuator 331, is mounted immediately behind each respective slot 326, 327 in the plate 328. Though not visible in the drawings, the slots 326, 327 are offset from the longitudinal axis of the plate 328 in opposite directions by small amounts. Therefore the thread ends are disposed at small angles to the axis of the chamber where they pass from the latter to the said slots. The direction of the offset is dependent upon whether the threads being spliced have "S" twists or "Z" twists. Therefore when the threads change in this respect the plate must be removed, turned-over and be replaced so that the offsets are disposed in the opposite directions to what they were before the change.
  • A pneumatic piston 332 having a complementary splicing chamber slot 333 is housed in a movable portion 334 of the splicing chamber which is mounted in the splicer housing on a pivot 339. This movable portion is pulled towards an abutment at the rear of the splicer by means of a spring in the housing (not shown) which is connected between the said movable portion 334 of the splicing chamber at the housing wall. A further spring 335 is situated between said movable portion 334 of the splicing chamber and a bracket 336 which mounts a pneumatic valve 337 and has a pair of parallel arms 338, 338' which extend on each side of the said movable portion 334 of the splicing chamber to the pivot 339 on which they are mounted. Spring 335 maintains bracket 336 and movable portion 334 angularly separated and provides a lost motion linkage. The manual actuator 331 is also mounted on extensions of the pivot 339 by means of a pair of parallel arms 340, 340' which embrace the side plates 324, 325 and it has an adjustable abutment in the form of a screw 342 which at one end engages a thread in a boss 343 on the actuator 331 and at the other end engages an actuator of the pneumatic valve 337. Screw 342 provides adjustment of the lost motion between the manual actuator 331 and the movable portion 334 of the splicing chamber.
  • Depression of the manual actuator 331 results, inter alia, in the said movable portion 334 of the splicing chamber pivoting out of the splicer 310 about the pivot 339 until the two slots 320, 333 are in conjunction, at which position the said movable portion abuts a stop. Pressure on the pneumatic actuator of valve 337 by the screw 342 causes air to be bled into the housing at the rear of the piston 332, forcing the latter into contact with the fixed portion of the splicing chamber, and finally, when the said slots of the chamber are in conjunction, causing high pressure air to be vented into the chamber through a small orifice in the piston (not shown). By virtue of the lost motion linkage, further pressure on the manual actuator 331 results in further rotational movement of the latter to absorb the lost motion between the bracket 336 and the movable portion 334 of the splicing chamber against the bias of the spring 335. Operation of the scissors occurs during the final movement of the movable portion of the splicing chamber to the splicing position.
  • The manual actuator 331 is biased to its initial, rest, position by a pair of springs 344, 344' (see Figure 9) each of which is attached at one end to the respective side plate 324, 325 and at its other end to an over-centre portion of the respective arm 340 (340') of the actuator 331.
  • Referring now particularly to Figures 9-11, wherein the splicer is shown without its side covers 318, 319, on each of the arms 340, (340') of the manual actuator 331 there is mounted a sector 345 (345') which has the same axis of rotation as the manual actuator, being journalled on the same pivot 339 and is constrained to move with the respective arm by a peg 346 (346') spaced apart from said pivot. Rack 347 (347') which is situated at the lower end of the sector 345 (345') meshes on each side with a pinion 348 (348') formed on the inside of a respective pulley 349 (349') mounted for rotation on a stub axle 350 (350') extending from the respective side plate 325 (324). Pulley 349 (349') has a pair of side-by-side circumferential grooves 351, 352 (351', 352') which receive respective circular cross-section belts 353, 354 (353', 354') which may be rubber "0" rings. These belts engage on each side of the splicer a respective pair of pulleys 355, 356 (355', 356'), disposed just below the horizontal plane of the splicing chamber, which are of smaller diameter than the lower pulley 349 (349'). Small pulleys 355, 356 (355', 356') rotate on axles 357, 358 (357', 358') which slope slightly downwards and outwards towards each other so as to subtend towards each other a compound angle of 3° but which are mutually substantially normal to the vertical plane longitudinally bisecting the chamber. Consequently, the tensions of the belts cause reaction forces acting on the pulleys so as to bias them towards one another during each splicing operation. Each small pulley axle has a plate 359, 360 (359', 360') mounted at its inside end on which there is a smaller diameter boss facing away from the respective small pulley and on each boss there is mounted a stiff rubber washer (or washer of similar inherently resilient frictional material) 361, 362 (361', 362'), each washer being a friction fit on its respective boss. Because of the inclination of the axes of the pulleys the respective pair of washers provide a fact-engagement nip at the top edges thereof nearest to the splicing chamber. An idling roller 363 (363') is mounted for rotation on each side on a shaft forming an extension of the pivot 339. The belts 353, 354 (353', 354') are respectively taken one side and the other of the respective roller. Consequently one run of each belt from opposite sides of the large pulley 349 (349') is in contact with the roller. The belts are quarter-twisted in opposite directions so that when the manual actuator is depressed the small pulleys of each pair rotate in opposite directions, causing the respective washers to likewise rotate oppositely and in such directions as to untwist a thread trapped between them.
  • The detwisting and retwisting operation is as follows. When yarns or threads, of appropriate twist, are threaded through the splicing chamber and the slots 316, 317, they are automatically engaged by the nip of the respective washers 361, 362 (361', 362') which are sprung apart to admit the respective yarn or thread. Upon depressing the manual actuator the sector racks 347, 347' swing through the major part of their operating arcs as the movable portion 334 of the splicing chamber displaces to its operating position. The meshing pinions 348, 348' are rotated during the movement and as a consequence the drive pulleys 349, 349' are likewise rotated. The displacement is translated, though the action of the belts 353, 354 and 353', 354' engaging with the pulleys 349, 355, 356, 349', 355', 356', to the washers 361, 362 and 361', 362' with velocity ratios corresponding to the ratios of the diameters of the large and small pulleys, said ratios being sufficient in magnitude to provide just the appropriate amount of detwist to totally unravel the yarns or threads. At this point the two slots 320, 333 of the pneumatic chamber are in conjunction and air is blasted therein. Further pressure on the manual actuator results in the lost motion of the linkages being recovered and an "over-twisting" of the filaments of the yarns or threads due to a further swing of the sector racks, which action in some way not altogether clear (but nonetheless demonstrable) locks the filaments together more securely during the splice. When the manual actuator is released the yarns or threads are retwisted and the "over-twist" is recovered. The result is a secure, tidy, splice between the two threads in which the tendency of the cut ends of the filaments to lift during subsequent processing of the thread prior to weaving is substantially reduced.
  • The apparatus is rendered suitable equally for "S" twist and "Z" twist yarns or threads by suitably mounting the belts 353, 354, 353', 354' on their respective pulleys 349, 355, 356, 349', 355', 356'.

Claims (16)

1. A yarn or thread splicer having a pneumatic splicing chamber through which the yarns to be joined pass in opposite directions, characterised in that it comprises discrete yarn rolling means disposed adjacent each end of the chamber, each said means for operating on the running end of a respective one of the said yarns, and respective yarn gripping means corresponding to each said yarn rolling means disposed adjacent the respective opposite end of the chamber for gripping the free or broken end of each yarn, said yarn rolling means each engaging a respective yarn and twisting it in a direction to cause unravelling of its strands at the commencement of the splicing operation and retwisting the respective yarn in the opposite direction to cause the normal twist to be restored to the yarn during the termination of the splicing operation.
2. A yarn thread splicer according to Claim 1 wherein said yarn rolling means are independently driven.
3. A yarn or thread splicer according to Claim 1 or Claim 2 wherein each said yarn rolling means comprises a pair of co-operating elongate members having facing friction planar surfaces across which the respective yarn is placed and between which the said yarn is gripped and means for displacing said friction surfaces linearly and in opposite longitudinal directions so as to apply twist to the yarn.
4. A yarn or thread splicer according to Claim 3 wherein each said elongate member is associated with a respective pneumatic piston and cylinder so as to provide for the linear longitudinal displacement thereof.
5. A yarn or thread splicer according to Claim 1 wherein said yarn rolling means comprises a pair of operably contra-rotating bodies having substantially common axes of rotation adjacent each end of the splicing chamber, which bodies present generally conical axial end faces to one another between which faces the running end of one of the yarns to be joined is engaged so as to rotate the yarn to detwist it at the commencement of the splicing operation and to rotate the yarn in the opposite direction during the termination of the splicing operation so as to retwist it.
6. A yarn or thread splicer according to Claim 5 wherein one of said contra-rotating bodies has an internally facing conical surface and the other has a matching externally-facing conical surface.
7. A yarn or thread splicer according to Claim 5 or Claim 6 wherein said pairs of contra-rotating bodies have a common rotational axis along which they are coupled so as to provide relative equal and opposite twisting motion on the two yarns to be joined, said twisting motion being manually applied.
8. A yarn or thread splicer according to Claim 5 wherein said contra-rotating bodies comprise opposed friction plates which mutually engage the respective yarn between their axial-end faces so as to detwist and retwist the yarn.
9. A yarn or thread splicer according to Claim 8 wherein said plates comprise thin discs mounted on respective axes which are slightly and symmetrically angled relative to a perpendicular to a medial plane of the splicing chamber, said discs being flexible and having facing surfaces which are in contact so as to have portions of these surfaces which are adjacent and parallel along corresponding radii.
10. A yarn or thread splicer according to Claim 9 wherein said axes are angled at 5° to said perpendicular in orthogonal planes one of which includes the longitudinal axis of the splicing chamber.
11. A yarn or thread splicer according to Claim 9 or Claim 10 wherein each said disc is mounted coaxially with and to a respective pulley which is journalled in the casing of the splicer so as to have freedom of rotational movement and freedom of axial movement within limits, there being a belt drive means for transmitting a drive to the said disc pulley from a drive pulley common to each disc which is rotationally mounted on said casing in said medial plane, said drive being transmitted along a line which subtends an angle less than 900 to the axis of the disc pulley whereby during operation of the splicer the said disc pulley and the said disc attached thereto are biased towards the opposing disc pulley and disc.
12. A yarn or thread splicer according to Claim 11 wherein said belt drive means comprises, on either side of the casing, a single endless resilient band which provides drive to each disc pulley of the respective pair.
13. A yarn or thread splicer according to Claim 11 or Claim 12 wherein said common drive pulley has gear teeth around its periphery which engage with a rack attached to a manual operator.
14. A pneumatic splicer according to any of Claims 1 to 4 or 5 to 12 further comprising a plate disposed so as to extend away from each end of the chamber, each said plate having a slot extending partly through the length of the plate from its edge furthest from the chamber in a direction towards the chamber, each slot being parallel to but being spaced from the longitudinal axis of the chamber, said slots being equally spaced from said axis in opposite directions so as to provide means for gripping the free ends of the yarns.
15. A pneumatic splicer according to Claim 14 wherein said plate is disposed to function as an air baffling means.
16. A pneumatic splicer according to any preceding claim having an actuating mechanism including an operator, a pneumatic valve and a valve actuator therefor characterised in that said mechanism embodies a biased lost motion linkage coupled to the splicing chamber and the yarn rolling means, which, during operation, provides over-travel of the operator and further operation of the yarn rolling means after the splicing chamber has been set for splicing, thereby adding additional detwisting and retwisting to the yarns during and after the splicing operation.
EP86309554A 1985-12-09 1986-12-09 Pneumatic splicer with thread twisting means Withdrawn EP0227370A3 (en)

Applications Claiming Priority (4)

Application Number Priority Date Filing Date Title
GB858530283A GB8530283D0 (en) 1985-12-09 1985-12-09 Pneumatic splicer
GB8530283 1985-12-09
GB868615636A GB8615636D0 (en) 1986-06-26 1986-06-26 Pneumatic splicer
GB8615636 1986-06-26

Publications (2)

Publication Number Publication Date
EP0227370A2 true EP0227370A2 (en) 1987-07-01
EP0227370A3 EP0227370A3 (en) 1987-09-16

Family

ID=26290086

Family Applications (1)

Application Number Title Priority Date Filing Date
EP86309554A Withdrawn EP0227370A3 (en) 1985-12-09 1986-12-09 Pneumatic splicer with thread twisting means

Country Status (1)

Country Link
EP (1) EP0227370A3 (en)

Cited By (3)

* Cited by examiner, † Cited by third party
Publication number Priority date Publication date Assignee Title
WO2005118449A1 (en) * 2004-05-28 2005-12-15 Gianluca Fabris Device and method for joining textile yarns
WO2015121645A1 (en) * 2014-02-13 2015-08-20 Gtw Developments Limited A fibre splicer and method for splicing fibres
CN112093588A (en) * 2019-06-18 2020-12-18 卓郎纺织解决方案两合股份有限公司 Friction disc for yarn connecting device

Family Cites Families (3)

* Cited by examiner, † Cited by third party
Publication number Priority date Publication date Assignee Title
JPS5767466A (en) * 1980-05-05 1982-04-24 Commw Scient Ind Res Org Method and apparatus for joining thread together
CS564881A2 (en) * 1980-08-02 1991-02-12 Schlafhorst & Co W Method of textile threads connecting and entwining device for realization of this method
DE3151270A1 (en) * 1981-12-24 1983-07-07 W. Schlafhorst & Co, 4050 Mönchengladbach METHOD AND DEVICE FOR KNOT-FREE CONNECTION OF TWO THREADS

Cited By (5)

* Cited by examiner, † Cited by third party
Publication number Priority date Publication date Assignee Title
WO2005118449A1 (en) * 2004-05-28 2005-12-15 Gianluca Fabris Device and method for joining textile yarns
WO2015121645A1 (en) * 2014-02-13 2015-08-20 Gtw Developments Limited A fibre splicer and method for splicing fibres
CN106062263A (en) * 2014-02-13 2016-10-26 Gtw发展公司 A fibre splicer and method for splicing fibres
CN112093588A (en) * 2019-06-18 2020-12-18 卓郎纺织解决方案两合股份有限公司 Friction disc for yarn connecting device
CN112093588B (en) * 2019-06-18 2022-09-02 卓郎纺织解决方案两合股份有限公司 Friction disc for yarn connecting device

Also Published As

Publication number Publication date
EP0227370A3 (en) 1987-09-16

Similar Documents

Publication Publication Date Title
JP2518812B2 (en) Splicer device
DE2848953A1 (en) SEPARATING CENTRIFUGE
EP0039609A1 (en) Method and apparatus for splicing two twisted staple yarns
GB2035395A (en) Method and device for joining thread
EP0227370A2 (en) Pneumatic splicer with thread twisting means
DE2541589A1 (en) DEVICE FOR SELF-ACTING CONNECTING
US4757676A (en) Pneumatic splicer with thread twisting means
IE43444B1 (en) Improvements in or relating to winding threads of thermoplastic material
EP0186362A1 (en) Pneumatic yarn splicing equipment
GB2083090A (en) Apparatus for connecting textile threads by splicing by means of compressed air
US3925975A (en) Apparatus for piecing a thread in an open-end spinning unit
DE2751105C2 (en)
EP0078777B1 (en) Splicer device to disassemble and recompose yarn mechanically
FR2521539A1 (en) WIRE END DETORTION DEVICE FOR PNEUMATIC WIRE CONNECTION APPARATUS
CN101365639B (en) Yarn splicing device for textile machines producing cross-wound bobbins
EP0120523A1 (en) Improved splicer device to splice textile yarns mechanically
US4013433A (en) Method and apparatus for preparing container packages of glass strand
DE10007949A1 (en) Cross wound bobbin winder, comprises drive with integrated brake system and control link to bobbin frame to give selective bobbin braking and bobbin frame opening action
US4301648A (en) Friction false twist apparatus having door mounted yarn thread-up
DE1292056B (en) Suction line opening on textile machines
DE102014007730B4 (en) Yarn splicer, winding unit, textile machine and yarn splicing process
DE4427584B4 (en) Disintegration device for a spinning station of an open-end spinning machine
US4792104A (en) Apparatus for forming yarn transfer tails
US4325213A (en) Friction false twist apparatus having improved yarn thread-up capability
DE2349397C3 (en) Apparatus for generating a ribbon tension of substantially constant magnitude in an ink ribbon

Legal Events

Date Code Title Description
PUAI Public reference made under article 153(3) epc to a published international application that has entered the european phase

Free format text: ORIGINAL CODE: 0009012

AK Designated contracting states

Kind code of ref document: A2

Designated state(s): AT BE CH DE ES FR GB GR IT LI LU NL SE

PUAL Search report despatched

Free format text: ORIGINAL CODE: 0009013

AK Designated contracting states

Kind code of ref document: A3

Designated state(s): AT BE CH DE ES FR GB GR IT LI LU NL SE

17P Request for examination filed

Effective date: 19880304

17Q First examination report despatched

Effective date: 19890418

STAA Information on the status of an ep patent application or granted ep patent

Free format text: STATUS: THE APPLICATION IS DEEMED TO BE WITHDRAWN

18D Application deemed to be withdrawn

Effective date: 19891031

RIN1 Information on inventor provided before grant (corrected)

Inventor name: CLAYTON, JAMES WILLIAM BARNES

Inventor name: FULLER, DAVID THOMAS ARTHUR