DE202009002112U1 - Roof construction with solar module - Google Patents
Roof construction with solar module Download PDFInfo
- Publication number
- DE202009002112U1 DE202009002112U1 DE202009002112U DE202009002112U DE202009002112U1 DE 202009002112 U1 DE202009002112 U1 DE 202009002112U1 DE 202009002112 U DE202009002112 U DE 202009002112U DE 202009002112 U DE202009002112 U DE 202009002112U DE 202009002112 U1 DE202009002112 U1 DE 202009002112U1
- Authority
- DE
- Germany
- Prior art keywords
- roof
- roof construction
- solar module
- roof rack
- rack
- Prior art date
- Legal status (The legal status is an assumption and is not a legal conclusion. Google has not performed a legal analysis and makes no representation as to the accuracy of the status listed.)
- Expired - Lifetime
Links
Classifications
-
- E—FIXED CONSTRUCTIONS
- E04—BUILDING
- E04D—ROOF COVERINGS; SKY-LIGHTS; GUTTERS; ROOF-WORKING TOOLS
- E04D13/00—Special arrangements or devices in connection with roof coverings; Protection against birds; Roof drainage ; Sky-lights
- E04D13/04—Roof drainage; Drainage fittings in flat roofs, balconies or the like
- E04D13/0404—Drainage on the roof surface
- E04D13/0477—Underroof drainage layers
-
- E—FIXED CONSTRUCTIONS
- E04—BUILDING
- E04H—BUILDINGS OR LIKE STRUCTURES FOR PARTICULAR PURPOSES; SWIMMING OR SPLASH BATHS OR POOLS; MASTS; FENCING; TENTS OR CANOPIES, IN GENERAL
- E04H6/00—Buildings for parking cars, rolling-stock, aircraft, vessels or like vehicles, e.g. garages
- E04H6/02—Small garages, e.g. for one or two cars
- E04H6/025—Small garages, e.g. for one or two cars in the form of an overhead canopy, e.g. carports
-
- H—ELECTRICITY
- H02—GENERATION; CONVERSION OR DISTRIBUTION OF ELECTRIC POWER
- H02S—GENERATION OF ELECTRIC POWER BY CONVERSION OF INFRARED RADIATION, VISIBLE LIGHT OR ULTRAVIOLET LIGHT, e.g. USING PHOTOVOLTAIC [PV] MODULES
- H02S20/00—Supporting structures for PV modules
- H02S20/20—Supporting structures directly fixed to an immovable object
- H02S20/22—Supporting structures directly fixed to an immovable object specially adapted for buildings
- H02S20/23—Supporting structures directly fixed to an immovable object specially adapted for buildings specially adapted for roof structures
-
- E—FIXED CONSTRUCTIONS
- E04—BUILDING
- E04F—FINISHING WORK ON BUILDINGS, e.g. STAIRS, FLOORS
- E04F10/00—Sunshades, e.g. Florentine blinds or jalousies; Outside screens; Awnings or baldachins
- E04F10/02—Sunshades, e.g. Florentine blinds or jalousies; Outside screens; Awnings or baldachins of flexible canopy materials, e.g. canvas ; Baldachins
-
- E—FIXED CONSTRUCTIONS
- E04—BUILDING
- E04F—FINISHING WORK ON BUILDINGS, e.g. STAIRS, FLOORS
- E04F10/00—Sunshades, e.g. Florentine blinds or jalousies; Outside screens; Awnings or baldachins
- E04F10/08—Sunshades, e.g. Florentine blinds or jalousies; Outside screens; Awnings or baldachins of a plurality of similar rigid parts, e.g. slabs, lamellae
-
- Y—GENERAL TAGGING OF NEW TECHNOLOGICAL DEVELOPMENTS; GENERAL TAGGING OF CROSS-SECTIONAL TECHNOLOGIES SPANNING OVER SEVERAL SECTIONS OF THE IPC; TECHNICAL SUBJECTS COVERED BY FORMER USPC CROSS-REFERENCE ART COLLECTIONS [XRACs] AND DIGESTS
- Y02—TECHNOLOGIES OR APPLICATIONS FOR MITIGATION OR ADAPTATION AGAINST CLIMATE CHANGE
- Y02B—CLIMATE CHANGE MITIGATION TECHNOLOGIES RELATED TO BUILDINGS, e.g. HOUSING, HOUSE APPLIANCES OR RELATED END-USER APPLICATIONS
- Y02B10/00—Integration of renewable energy sources in buildings
- Y02B10/10—Photovoltaic [PV]
-
- Y—GENERAL TAGGING OF NEW TECHNOLOGICAL DEVELOPMENTS; GENERAL TAGGING OF CROSS-SECTIONAL TECHNOLOGIES SPANNING OVER SEVERAL SECTIONS OF THE IPC; TECHNICAL SUBJECTS COVERED BY FORMER USPC CROSS-REFERENCE ART COLLECTIONS [XRACs] AND DIGESTS
- Y02—TECHNOLOGIES OR APPLICATIONS FOR MITIGATION OR ADAPTATION AGAINST CLIMATE CHANGE
- Y02E—REDUCTION OF GREENHOUSE GAS [GHG] EMISSIONS, RELATED TO ENERGY GENERATION, TRANSMISSION OR DISTRIBUTION
- Y02E10/00—Energy generation through renewable energy sources
- Y02E10/50—Photovoltaic [PV] energy
Landscapes
- Engineering & Computer Science (AREA)
- Architecture (AREA)
- Civil Engineering (AREA)
- Structural Engineering (AREA)
- Roof Covering Using Slabs Or Stiff Sheets (AREA)
Abstract
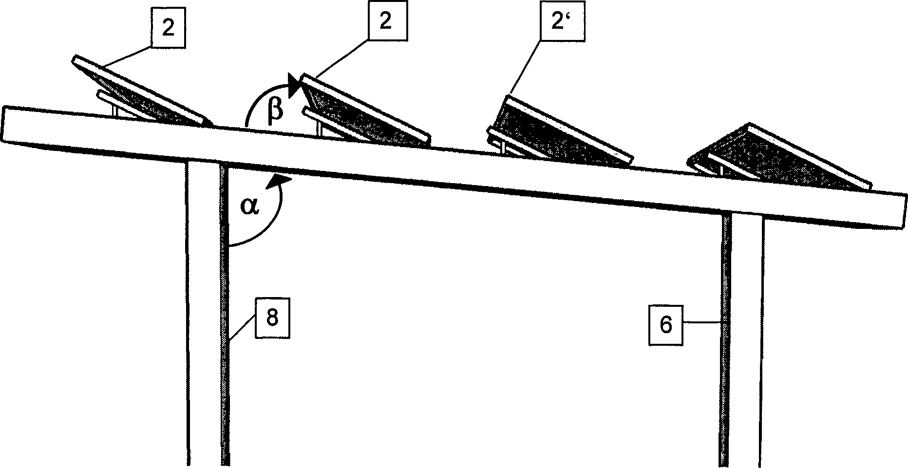
Dachkonstruktion mit mindestens einem Solarmodul (2, 2', 2''), aufweisend mindestens einen Dachträger (4', 4', 4''), auf dem das Solarmodul (2, 2', 2'') so befestigt sind, dass seine Hauptebene einen Winkel β zwischen 10° und 25° mit der Ebene des Dachträgers einschließt, wobei der Dachträger (4', 4', 4'') durch Stützen (6, 8) getragen wird, gegenüber denen der Dachträger einen Winkel α zwischen 75° und 85° aufweist.roof construction with at least one solar module (2, 2 ', 2' '), comprising at least a roof rack (4 ', 4', 4 '') on which the solar module (2, 2 ', 2' ') so attached are that its main plane includes an angle β between 10 ° and 25 ° with the plane of the roof rack, wherein the roof rack (4 ', 4', 4 '') by supports (6, 8) is worn opposite those of the roof racks an angle α between 75 ° and 85 °.
Description
Die vorliegende Erfindung betrifft eine Dachkonstruktion mit mindestens einem, bevorzugt einer Vielzahl von Solarmodulen, deren Strom in das öffentliche Netz eingespeist oder vor Ort verbraucht werden kann.The The present invention relates to a roof construction with at least one, preferably a plurality of solar modules whose current in the public Network can be fed or consumed on site.
Mit dem solartechnischen Energiepotential kann theoretisch das 3,8 fache des weltweiten Energiebedarfs gedeckt werden. Bisher wird Solarenergie in erster Linie auf Dachflächen erzeugt. In Deutschland ergibt sich dafür ein solares Flächenpotential von 400 km2 oder 60 TWel/Jahr. Das Flächenpotential von Parkplatzflächen mit 450 km2 oder 67 TWel/Jahr wurde bisher nicht berücksichtigt.The solar energy potential can theoretically cover 3.8 times the global energy demand. So far, solar energy is generated primarily on roofs. In Germany, this results in a solar area potential of 400 km 2 or 60 TW el / year. The area potential of parking areas with 450 km 2 or 67 TW el / year has not yet been considered.
Europa liegt zwischen dem 35° und 70° Breitengrad. Somit gelten für die solare Energieerzeugung je nach Standort unterschiedliche Anforderungen. Während der Azimut stets eine ideale Südausrichtung erfordert und somit zu vernachlässigen ist, bestimmt vor allem die Modulneigung die Effektivität der solaren Energieerzeugung.Europe lies between the 35 ° and 70 ° latitude. Thus, apply to Solar energy generation varies depending on the location. While the azimuth is always an ideal south orientation requires and thus neglect is determined, especially the module inclination the effectiveness of the solar Power generation.
So liegt im südlichsten Teil Europas der optimale Aufstellwinkel bei 30° gegenüber der Senkrechten, während der nördlichste Teil Europas eine Modulneigung von 48° erfordert. Für solare Gebäudekonstruktionen bedeutet dies, das deren nördliches Höhenmass das 1,85 bis 2,63 fache des südlichen Höhenmasses erfordert. Aus architektonischer Sicht werden dadurch sehr sperrige, ungefällige und wenig attraktive Dachkonstruktionen erforderlich, welche sich in dichter besiedelten Gebieten und Metropolen nur schwer oder gar nicht einfügen lassen.So is in the southernmost Part of Europe the optimal angle of elevation at 30 ° with respect to the vertical, while the northernmost Part of Europe requires a module inclination of 48 °. For solar building construction this means that their northern altitude 1.85 to 2.63 times the southern elevation requires. From an architectural point of view, this makes very bulky, unpleasing and less attractive roof structures needed, which themselves difficult or even in densely populated areas and metropolises do not paste to let.
Aufgabe der vorliegenden Erfindung ist daher die Angabe einer Dachkonstruktion, welche die Winkelkonstruktion optimiert, die geeignet ist, eine Regenwasserabführung bereitzustellen, die elektrischen Komponenten, das heisst AC sowie DC, auf engstem Raum verläßlich unterzubringen, als auch eine energiesparende Beleuchtungstechnologie integrieren zu können.task The present invention therefore provides an indication of a roof construction, which optimizes the angle construction suitable for providing rainwater drainage, the electrical components, ie AC and DC, on tightest To place space reliably, as well as an energy-saving lighting technology integrate to be able to.
Gemäß einem Aspekt der vorliegenden Erfindung ist angegeben eine Dachkonstruktion mit mindestens einem Solarmodul, aufweisend mindestens einen Dachträger, auf dem das Solarmodul so befestigt ist, dass seine Hauptebene einen Winkel β zwischen 10° und 25° mit der Ebene des Dachträgers einschließt, wobei der Dachträger durch Stützen getragen wird, gegenüber denen der Dachträger einen Winkel α zwischen 75° und 85° aufweist.According to one Aspect of the present invention is given a roof construction with at least one solar module, comprising at least one roof rack, on the solar module is fixed so that its main plane a Angle β between 10 ° and 25 ° with the level of the roof rack includes, wherein the roof rack by supports is worn opposite those of the roof racks an angle α between 75 ° and 85 °.
Die Gesamtneigung der Solarmodule gegenüber dem Boden beträgt somit β + 90° – α. Im erfindungsgemäßen Winkelbereich ergeben sich also Gesamtwinkel zwischen 15° und 40°. Der Vorteil der Konstruktion liegt begründet in einer insgesamt niedrigen Bauhöhe der gesamten Gebäudekonstruktion. Ferner wird ein stark reduzierter Schattenwurf durch die Module als auch durch die Gebäudekonstruktion erzielt. Darüber hinaus lassen sich mehr Module anordnen und dadurch mehr Leistung auf einer definierten Fläche erzielen. Ferner ergibt sich ein erhöhter Energieertrag und eine bessere Wirtschaftlichkeit pro definierter Fläche. Schliesslich läßt sich eine Architektur verwirklichen, die sich harmonisch in die bestehende Infrastruktur einfügt.The Total inclination of the solar modules with respect to the ground is thus β + 90 ° - α. In the angular range according to the invention So total angles between 15 ° and 40 ° result. The advantage of the design is justified in a total low overall height of the entire building construction. Further will greatly reduce the amount of shadows cast by the modules as well achieved through the building construction. About that In addition, more modules can be arranged and thus more power on a defined surface achieve. Furthermore, there is an increased energy yield and a better economic efficiency per defined area. Finally, it is possible to realize an architecture that fits harmoniously into the existing one Infrastructure inserts.
Bevorzugt ist die Dachkonstruktion dadurch gekennzeichnet, dass sie für einen Carport bestimmt ist und keine Seitenwände aufweist. Der Carport wird freitragend mit 3 Stützen oder wahlweise 4 oder 6 Stützen ausgeführt. Alle tragenden Elemente, d. h. Stützen und Querträger werden aus feuerverzinkten, Stahlprofilen gefertigt, welche sich durch eine hohe Torsions- und Zugkraft ausweist.Prefers the roof construction is characterized in that it is suitable for a Carport is determined and has no side walls. The carport becomes self-supporting with 3 supports or alternatively 4 or 6 supports executed. All supporting elements, d. H. Supports and cross members will be made of galvanized, steel profiles, which are characterized by a high torsional and tensile strength identifies.
Bevorzugt ist eine Dachkonstruktion dadurch gekennzeichnet, dass mehrere Dachträger nebeneinander angeordnet und befestigt sind. Dadurch läßt sich die Packungsdichte der einzelnen Solarmodule erhöhen. Alle dachtragenden Elemente können wahlweise aus feuerverzinkten Stahl- oder aus hochwertigen Aluminiumprofilen gefertigt werden.Prefers is a roof construction characterized in that several roof beams side by side are arranged and fixed. This allows the packing density increase the individual solar modules. All roof-bearing elements can optionally made of hot-dip galvanized steel or high quality aluminum profiles be made.
Ferner ist es bevorzugt, eine Dachkonstruktion anzugeben, die dadurch gekennzeichnet ist, dass auf jedem Dachträger einzelne Solarmodule angeordnet sind, wobei einander zugewandte Solarmodule einander berühren. Auch diese Maßnahme erhöht die Gesamtausbeute.Further it is preferred to provide a roof construction characterized is that on every roof rack individual solar modules are arranged, wherein facing each other Solar modules touch each other. Also this measure increases the Overall yield.
Eine bevorzugte Ausführung der Dachkonstruktion umfasst unterhalb des Dachträgers eine Membrane zur Abführung von Wasser, die so befestigt ist, dass die Membrane angeschrägt ist, so dass z. B. Regenwasser geeignet abgeführt werden kann.A preferred embodiment the roof construction includes a membrane below the roof rack to the exhaustion of water, which is fixed so that the membrane is beveled, so that z. B. rainwater can be discharged appropriately.
Weitere Vorteile, Merkmale und Anwendungsmöglichkeiten der Erfindung ergeben sich aus der nachfolgenden Beschreibung von bevorzugten Ausführungsbeispielen in Verbindung mit der Zeichnung.Further Advantages, features and applications of the invention result from the following description of preferred embodiments in conjunction with the drawing.
Es
sind in den Fig. mehrere Stützen
In
Das
der Erfindung zugrunde liegende Problem wird dadurch gelöst, dass
die ideale Neigung zur Sonne durch zwei sich addierende Winkelmasse erreicht
wird. Das Winkelmass α (Alpha)
bezieht sich dabei immer auf die Neigung der tragenden Dachkonstruktion
gegenüber
den Stützen
und beträgt
zwischen 75° und
85°, während sich
das Winkelmaß β (Beta) auf
die Neigung der Solarmodule
Die erfindungsgemäße Dachkonstruktion ist anwendbar auf jedes Gebäude, im vorliegenden Fall auf eine Carport-Konstruktion welche entweder freitragend mit 3 Stützen oder wahlweise 4 oder 6 Stützen ausgeführt werden kann.The roof construction according to the invention is applicable to any building, in the present case on a carport construction which either self-supporting with 3 supports or alternatively 4 or 6 supports accomplished can be.
Die vorliegende Erfindung lässt sich mit Systembauteilen verwirklichen, welche ein hohes Mass an Gleichbauteilen aufweisen und deren Bemassung bestehenden gesetzlichen sowie strukturellen Anforderungen gerecht wird.The present invention to realize themselves with system components, which is a high measure Have equal components and their dimensioning existing statutory as well as structural requirements.
Zur
Abführung
von Regenwasser ist eine Membran
Die AC-Energieverteilung als auch die DC-Energieabführung werden pro Unterkonstruktion durch jeweils ein zentrales Modul gewährleistet. Das Gehäuse dieser zentralen Einheiten ist wind- und wasserabweisend und verfügt somit mindestens über die Schutzart IP-65. Des weiteren lassen sich mehrere zentrale Module miteinander verknüpfen, so dass eine Linienstruktur aufgebaut werden kann.The AC power distribution as well as DC power dissipation are performed per substructure each ensures a central module. The housing This central unit is wind and water repellent and therefore has at least over the Degree of protection IP-65. Furthermore, several central modules can be linked together, so that a line structure can be built.
Die AC-Energieverteilung wird über eine Kreuzverteilung in einer Verteilerbox realisiert, was die zu verlegenden Leistungslängen reduziert und die Montagezeiten verkürzt. Darüber hinaus ist ein Überlast- und Kurzschlußschutz in der Verteilerbox integriert, was die Sicherheit im Betrieb erhöht.The AC power distribution is over realized a cross distribution in a distribution box, what the laying power lengths reduced and the installation times shortened. In addition, an overload and short circuit protection integrated in the distribution box, which increases safety during operation.
Die DC-Energieabführung wird durch einen Generatoranschlusskasten realisiert, indem die Stränge der Solarmodule von mindestens einer Unterkonstruktion zusammengeführt werden. Des weiteren ist ein DC-Überspannungsschutz integriert, was die Betriebssicherheit erhöht.The DC power dissipation is realized by a generator terminal box by the strands of the Solar modules are merged from at least one substructure. Furthermore, a DC overvoltage protection integrated, which increases the operational safety.
Da es sich hier um ein Systembaumodul handelt, können die Kabelbäume vorkonfektioniert, werden. Dies reduziert die Montagezeiten als auch die Fehlerquellen welche beim Crimpen entstehen können. Die Kabelbäume verlaufen geschützt innerhalb der Stahlkonstruktion, so dass diese von äußeren Einwirkungen geschützt werden.There this is a system module, the wiring harnesses can be pre-assembled. This reduces the assembly times as well as the sources of error which can arise during crimping. The harnesses run protected within the steel structure, so that these are external influences protected become.
Da die Konstruktion die auf Parkplatzflächen bestehenden Leuchtmasten ersetzen soll, wird eine Standard Beleuchtung bestehend aus energiesparenden LED und/oder Leuchtstoffröhren installiert. Dadurch können energiesparende intelligente Beleuchtungsprogramme gefahren und Parkleitsysteme über Farblichtgestaltung realisiert werden. Die Leuchtmittel werden gleichmäßig in der Dachkonstruktion des Systemmoduls verteilt, so dass in Verbindung mit der lichtdurchlässigen Membran eine indirekte, diffuse Lichtquelle für die Beleuchtung des Parkplatzes und der Fahrgassen entstehtThere the construction of the light pylons on parking areas is to replace a standard lighting consisting of energy-saving LED and / or fluorescent tubes Installed. Thereby can driven energy-saving intelligent lighting programs and Parking guidance systems over Color light design can be realized. The bulbs are evenly in the Roof construction of the system module distributed so that in conjunction with the translucent Membrane an indirect, diffused light source for the illumination of the parking lot and the tramlines arise
Claims (5)
Priority Applications (3)
| Application Number | Priority Date | Filing Date | Title |
|---|---|---|---|
| DE202009002112U DE202009002112U1 (en) | 2009-02-13 | 2009-02-13 | Roof construction with solar module |
| PCT/EP2010/051731 WO2010092121A2 (en) | 2009-02-13 | 2010-02-11 | Roof construction having a solar module |
| EP10704549A EP2396824A2 (en) | 2009-02-13 | 2010-02-11 | Roof construction having a solar module |
Applications Claiming Priority (1)
| Application Number | Priority Date | Filing Date | Title |
|---|---|---|---|
| DE202009002112U DE202009002112U1 (en) | 2009-02-13 | 2009-02-13 | Roof construction with solar module |
Publications (1)
| Publication Number | Publication Date |
|---|---|
| DE202009002112U1 true DE202009002112U1 (en) | 2009-04-16 |
Family
ID=40561321
Family Applications (1)
| Application Number | Title | Priority Date | Filing Date |
|---|---|---|---|
| DE202009002112U Expired - Lifetime DE202009002112U1 (en) | 2009-02-13 | 2009-02-13 | Roof construction with solar module |
Country Status (3)
| Country | Link |
|---|---|
| EP (1) | EP2396824A2 (en) |
| DE (1) | DE202009002112U1 (en) |
| WO (1) | WO2010092121A2 (en) |
Cited By (1)
| Publication number | Priority date | Publication date | Assignee | Title |
|---|---|---|---|---|
| WO2011121370A3 (en) * | 2010-03-30 | 2013-02-28 | Cospico Aebe | Self-ventilated pergola |
Families Citing this family (3)
| Publication number | Priority date | Publication date | Assignee | Title |
|---|---|---|---|---|
| ITRM20110334A1 (en) * | 2011-06-24 | 2012-12-25 | Sapa Profili S R L | PHOTOVOLTAIC SHELTER. |
| CN104047402B (en) * | 2013-03-12 | 2016-08-10 | 浙江建设职业技术学院 | The corrugated solar energy sunshade awning that a kind of efficiency of light energy utilization is high |
| CN104343280B (en) * | 2013-07-23 | 2017-02-08 | 上海弘一国际贸易有限公司 | Solar energy shed |
Family Cites Families (8)
| Publication number | Priority date | Publication date | Assignee | Title |
|---|---|---|---|---|
| JPH0819193A (en) * | 1994-06-28 | 1996-01-19 | Nissin Electric Co Ltd | Household simplified photovoltaic powersystem |
| JP2002033502A (en) * | 2000-07-13 | 2002-01-31 | Sekisui Chem Co Ltd | Solar power system |
| DE202004003065U1 (en) * | 2004-02-25 | 2004-07-22 | Loyal, Michael, Dipl.-Ing. | Glass or carbon fibre compound material roofing structure for car port, market and fair stands as protection against rain and sun rays of selectable color and design |
| US20050241246A1 (en) * | 2004-04-30 | 2005-11-03 | Sinha Sunil K | Easy-to-assemble building structure with a mountable frame for supporting solar panels |
| ITMI20040384U1 (en) * | 2004-08-09 | 2004-11-09 | Extel S R L | RECOVERY STRUCTURE FOR MOTOR VEHICLES AND SIMILAR HAVING IMPROVED FUNCTIONALITY |
| US7081585B2 (en) * | 2004-11-02 | 2006-07-25 | Eugene Oak | Super structure for roof patio solar plant |
| EP1696087A1 (en) * | 2005-01-21 | 2006-08-30 | Corus Bausysteme GmbH | Carport |
| DE202006020180U1 (en) * | 2006-09-08 | 2007-12-27 | Koller, Alexander, Dipl.-Ing. | solar roof |
-
2009
- 2009-02-13 DE DE202009002112U patent/DE202009002112U1/en not_active Expired - Lifetime
-
2010
- 2010-02-11 WO PCT/EP2010/051731 patent/WO2010092121A2/en not_active Ceased
- 2010-02-11 EP EP10704549A patent/EP2396824A2/en not_active Withdrawn
Cited By (1)
| Publication number | Priority date | Publication date | Assignee | Title |
|---|---|---|---|---|
| WO2011121370A3 (en) * | 2010-03-30 | 2013-02-28 | Cospico Aebe | Self-ventilated pergola |
Also Published As
| Publication number | Publication date |
|---|---|
| WO2010092121A3 (en) | 2012-04-26 |
| EP2396824A2 (en) | 2011-12-21 |
| WO2010092121A2 (en) | 2010-08-19 |
Similar Documents
| Publication | Publication Date | Title |
|---|---|---|
| EP3850749B1 (en) | Solar roof system | |
| EP2508694B1 (en) | Carport | |
| EP1862748A2 (en) | Device with variable length for supporting one or more solar panels | |
| WO2009127342A2 (en) | Novel carrier system for assembling photovoltaic outside units and use thereof | |
| EP2398064A1 (en) | Photovoltaic open air assembly for agriculture | |
| DE202020104397U1 (en) | Photovoltaic system | |
| DE102012021697B4 (en) | Support system for the stabilization of at least one mast | |
| DE202009002112U1 (en) | Roof construction with solar module | |
| DE102011000707A1 (en) | Roof, in particular gas station roof | |
| DE9316862U1 (en) | Device for converting renewable energy into electrical energy | |
| DE202015000200U1 (en) | Solar roof panel system | |
| EP0209833A1 (en) | Movable building unit | |
| DE202012101518U1 (en) | Solar carport with an integrated charging station | |
| DE102018110833A1 (en) | Charging station for electric vehicles with a roof comprising solar modules | |
| DE102010003148A1 (en) | Roofing device for use in parking lot in e.g. car parks, in supermarket for cars, has electrical lines connected with solar module, and extended through lower end of central supporting column for supplying electric power | |
| EP2891188A1 (en) | Device and method for the photovoltaic absorption of incident light | |
| DE102011000709A1 (en) | Gas station | |
| DE102010009698B4 (en) | Soundproof wall equipped with solar modules | |
| DE202009007986U1 (en) | Farm building with photovoltaic system | |
| DE20119629U1 (en) | Stands, in particular roof stands for photovoltaic and thermal modules | |
| DE102022129982A1 (en) | Carport with sealing compensation | |
| DE102022129981A1 (en) | Kit for modular extension of carports, roof extension module and carport | |
| DE8019516U1 (en) | SOLAR PANEL | |
| LU100678B1 (en) | Solar system and its use | |
| EP4053341A1 (en) | Attachment element for noise barrier |
Legal Events
| Date | Code | Title | Description |
|---|---|---|---|
| R207 | Utility model specification |
Effective date: 20090520 |
|
| R150 | Utility model maintained after payment of first maintenance fee after three years | ||
| R150 | Utility model maintained after payment of first maintenance fee after three years |
Effective date: 20120316 |
|
| R157 | Lapse of ip right after 6 years |
