CN2835101Y - Folding packing container - Google Patents

Folding packing container Download PDF

Info

Publication number
CN2835101Y
CN2835101Y CN200520024421.4U CN200520024421U CN2835101Y CN 2835101 Y CN2835101 Y CN 2835101Y CN 200520024421 U CN200520024421 U CN 200520024421U CN 2835101 Y CN2835101 Y CN 2835101Y
Authority
CN
China
Prior art keywords
folding
plate
box body
sides
side plate
Prior art date
Legal status (The legal status is an assumption and is not a legal conclusion. Google has not performed a legal analysis and makes no representation as to the accuracy of the status listed.)
Expired - Fee Related
Application number
CN200520024421.4U
Other languages
Chinese (zh)
Inventor
陈思羽
Current Assignee (The listed assignees may be inaccurate. Google has not performed a legal analysis and makes no representation or warranty as to the accuracy of the list.)
Individual
Original Assignee
Individual
Priority date (The priority date is an assumption and is not a legal conclusion. Google has not performed a legal analysis and makes no representation as to the accuracy of the date listed.)
Filing date
Publication date
Application filed by Individual filed Critical Individual
Priority to CN200520024421.4U priority Critical patent/CN2835101Y/en
Application granted granted Critical
Publication of CN2835101Y publication Critical patent/CN2835101Y/en
Anticipated expiration legal-status Critical
Expired - Fee Related legal-status Critical Current

Links

Images

Classifications

    • YGENERAL TAGGING OF NEW TECHNOLOGICAL DEVELOPMENTS; GENERAL TAGGING OF CROSS-SECTIONAL TECHNOLOGIES SPANNING OVER SEVERAL SECTIONS OF THE IPC; TECHNICAL SUBJECTS COVERED BY FORMER USPC CROSS-REFERENCE ART COLLECTIONS [XRACs] AND DIGESTS
    • Y02TECHNOLOGIES OR APPLICATIONS FOR MITIGATION OR ADAPTATION AGAINST CLIMATE CHANGE
    • Y02WCLIMATE CHANGE MITIGATION TECHNOLOGIES RELATED TO WASTEWATER TREATMENT OR WASTE MANAGEMENT
    • Y02W30/00Technologies for solid waste management
    • Y02W30/50Reuse, recycling or recovery technologies
    • Y02W30/80Packaging reuse or recycling, e.g. of multilayer packaging

Landscapes

  • Cartons (AREA)

Abstract

本实用新型涉及一种折叠式包装盒。它包括由一平面纸板折叠构成的盒体,盒体的矩形底板的四边分别与侧板相连,与底板连接的侧板的对应边分别与护翼相连,与底板连接的侧板的对应边分别与盖板相连,侧板的另两条边分别与翼片相连,翼片端部侧边设有弧形缺槽,所述各部件间的连接处均设有折痕,盖板上设有插口,另一盖板上设有与插口相配的插舌。由于采用一完整片材经折叠插接制成,省去了胶粘和装订工艺及设备,因而有效降低了产品生产成本,同时不会发生由于潮解霉变或氧化等作用使盒体发生解体,根据需要可制成正方体、长方体或其它多种形状的盒体。折叠包装简单,包装安全可靠,开启方便,占地空间小,便于运输。

Figure 200520024421

The utility model relates to a folding packing box. It includes a box body formed by folding a plane cardboard. The four sides of the rectangular bottom plate of the box body are respectively connected with the side plates, the corresponding sides of the side plates connected with the bottom plate are respectively connected with the wings, and the corresponding sides of the side plates connected with the bottom plate are respectively It is connected with the cover plate, and the other two sides of the side plate are respectively connected with the wings, and the side of the end of the wings is provided with arc-shaped slots, and the joints between the parts are provided with creases, and the cover plate is provided with sockets , the other cover is provided with a tongue that matches the socket. Since it is made of a complete sheet by folding and plugging, gluing and binding processes and equipment are omitted, thus effectively reducing the production cost of the product, and at the same time, the box body will not disintegrate due to deliquescence, mildew or oxidation. It can be made into boxes of cubes, cuboids or other shapes as required. The folding packaging is simple, the packaging is safe and reliable, it is easy to open, occupies a small space, and is convenient for transportation.

Figure 200520024421

Description

A kind of folding package box
Technical field
The utility model relates to the packing of product, is specifically related to a kind of folding package box.
Background technology
Existing packing box is medicine packing box especially, the moulding of its box body is generally by gluing or bookbinding, need to increase gluing or binding device in the production, not only increased productive costs, simultaneously this box body in use since during the cargo storage deliquescence go mouldy or effect such as oxidation, make box body disintegrate easily and have influence on the quality and the safety of commodity and deposit, sell in gluing or bookbinding place.
Summary of the invention
For avoiding weak point of the prior art, the utility model provides a kind of modern design, technology is simple, packing is reliable, open folding package box easily.
The purpose of this utility model is achieved in that this folding package box comprises the box body that is made of a plane folding cardboard, four limits that it is characterized in that the rectangular base plate of box body link to each other with side plate respectively, link to each other with flap respectively with the corresponding sides of base plate bonded assembly side plate, link to each other with cover plate respectively with the corresponding sides of base plate bonded assembly side plate, two limits in addition of side plate link to each other with fin respectively, junction between described each parts is equipped with folding line, cover plate is provided with socket, and another cover plate is provided with the tongue that matches with socket.
The technological advance that the utility model is obtained:
1. owing to adopt a complete sheet material to make, saved gluing and binding process and equipment, thereby effectively reduced the production cost through folding pegging graft.
2. owing to do not use adhesion agent and binding needle, thereby can not take place because deliquescence goes mouldy or effect such as oxidation is disintegrated box body.
3. be schistose texture before using, FOLD AND PACK is simple, pack safe and reliablely, and it is convenient to open, and the occupation of land space is little, is convenient to transport.
4. can form the box body of multiple shape, as the box body of square, cuboid or other shapes.
Description of drawings
Fig. 1 is a structural representation of the present utility model.
The specific embodiment
For further describing the utility model, the utility model is described in further detail below in conjunction with accompanying drawing:
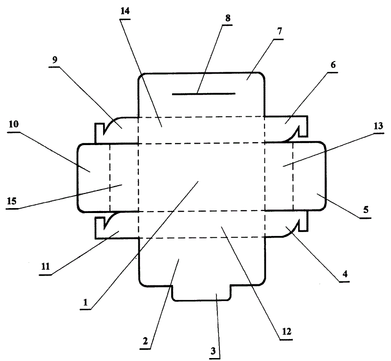
As shown in Figure 1, folding package box of the present utility model comprises the box body that is made of a plane folding cardboard, the base plate 1 of box body is an oblong, four limits of base plate 1 respectively with side plate 12, side plate 13, side plate 14, side plate 15 links to each other, with base plate 1 bonded assembly side plate 13, the corresponding sides of side plate 15 link to each other with flap 10 with flap 5 respectively, with base plate 1 bonded assembly side plate 12, the corresponding sides of side plate 14 link to each other with cover plate 7 with cover plate 2 respectively, in addition two limits of side plate 12 respectively with fin 4, fin 11 connects, side plate 14 in addition two limits respectively with fin 6, fin 9 links to each other, at fin 4 with end, fin 6 and fin 9, the unidirectional side in the end of fin 11 is offered arc gap groove respectively, for ease of FOLD AND PACK, junction between described each parts all is provided with folding line, cover plate 7 is provided with socket 8, and cover plate 2 is provided with the tongue 3 that matches with socket 8.
Can be each flap is folding to same direction during use along folding line, the end side is offered the fin 4 of arc gap groove and 6 of fins and fin 9 and 11 mutual hooks of fin to link together, roll flap 5, flap 10 well, the socket 8 on tongue on the cover plate 2 and the cover plate 7 is plugged together get final product then.

Claims (2)

1.一种折叠式包装盒,包括由一平面纸板折叠构成的盒体,其特征在于盒体的矩形底板(1)的四边分别与侧板(12)、侧板(13)、侧板(14)、侧板(15)相连,与底板(1)连接的侧板(13)、侧板(15)的对应边分别与护翼(5)和护翼(10)相连,与底板(1)连接的侧板(12)、侧板(14)的对应边分别与盖板(2)和盖板(7)相连,侧板(12)、侧板(14)的另两条边分别与翼片(4、11)和翼片(6、9)相连,所述各部件间的连接处均设有折痕,盖板(7)上设有插口(8),盖板(2)上设有与插口(8)相配的插舌(3)。1. A foldable packaging box, comprising a box body formed by folding a plane cardboard, characterized in that the four sides of the rectangular bottom plate (1) of the box body are respectively connected with side panels (12), side panels (13), side panels ( 14), side plate (15) links to each other, the side plate (13) that is connected with base plate (1), the corresponding edge of side plate (15) links to each other with wing (5) and wing (10) respectively, and base plate (1 ) connected side plate (12), the corresponding sides of side plate (14) are connected with cover plate (2) and cover plate (7) respectively, and the other two sides of side plate (12), side plate (14) are respectively connected with The fins (4, 11) are connected to the fins (6, 9), creases are provided at the joints between the parts, the cover plate (7) is provided with a socket (8), and the cover plate (2) A tongue (3) matched with the socket (8) is provided. 2.根据权利要求1所述的折叠式包装盒,其特征在于所述翼片(4、6、9、11)端部侧边分别设有弧形缺槽。2. The folding packaging box according to claim 1, characterized in that the ends and sides of the flaps (4, 6, 9, 11) are respectively provided with arc-shaped slots.
CN200520024421.4U 2005-07-06 2005-07-06 Folding packing container Expired - Fee Related CN2835101Y (en)

Priority Applications (1)

Application Number Priority Date Filing Date Title
CN200520024421.4U CN2835101Y (en) 2005-07-06 2005-07-06 Folding packing container

Applications Claiming Priority (1)

Application Number Priority Date Filing Date Title
CN200520024421.4U CN2835101Y (en) 2005-07-06 2005-07-06 Folding packing container

Publications (1)

Publication Number Publication Date
CN2835101Y true CN2835101Y (en) 2006-11-08

Family

ID=37299759

Family Applications (1)

Application Number Title Priority Date Filing Date
CN200520024421.4U Expired - Fee Related CN2835101Y (en) 2005-07-06 2005-07-06 Folding packing container

Country Status (1)

Country Link
CN (1) CN2835101Y (en)

Cited By (5)

* Cited by examiner, † Cited by third party
Publication number Priority date Publication date Assignee Title
CN103112634A (en) * 2013-03-08 2013-05-22 苏州市职业大学 Environment-friendly packing box capable of being unfolded and flattened
CN105539981A (en) * 2016-02-03 2016-05-04 浙江硕华医用塑料有限公司 Disposable foldable pipe storage box and use method thereof
CN108116738A (en) * 2016-11-29 2018-06-05 铁三角有限公司 Sectional type packaging casing
CN109264136A (en) * 2018-09-30 2019-01-25 四川天府柏星龙创意包装有限公司 A kind of folding carton
CN109808985A (en) * 2019-02-18 2019-05-28 华为终端有限公司 A kind of product packing box

Cited By (5)

* Cited by examiner, † Cited by third party
Publication number Priority date Publication date Assignee Title
CN103112634A (en) * 2013-03-08 2013-05-22 苏州市职业大学 Environment-friendly packing box capable of being unfolded and flattened
CN105539981A (en) * 2016-02-03 2016-05-04 浙江硕华医用塑料有限公司 Disposable foldable pipe storage box and use method thereof
CN108116738A (en) * 2016-11-29 2018-06-05 铁三角有限公司 Sectional type packaging casing
CN109264136A (en) * 2018-09-30 2019-01-25 四川天府柏星龙创意包装有限公司 A kind of folding carton
CN109808985A (en) * 2019-02-18 2019-05-28 华为终端有限公司 A kind of product packing box

Similar Documents

Publication Publication Date Title
CN101553415B (en) Packaging for tobacco products and method of folding blanks to produce packaging for tobacco products
CN207510897U (en) A kind of side is the tetrad packing box of equilateral triangle
CN201980487U (en) a packing box
CN2835101Y (en) Folding packing container
CN201136612Y (en) A folding box
CN207374870U (en) Left and right clamshell packaging boxes and their blanks
CN201678118U (en) Packaging box shared by display and storage
CN208560012U (en) Zero sizing, easily assembling, portable express delivery package box
CN207417355U (en) Fruit packaging structure
CN105775301A (en) Eight-piece combined packing box
CN206375099U (en) A kind of E types packing box
CN205952534U (en) Packing carton of estable
CN209699952U (en) A foldable pasting carton with a top box-like cover
CN105947348B (en) A kind of multicompartmented prismatic packing box
CN205034457U (en) Repeatedly usable's portable carton of accomodating
CN209684185U (en) A kind of deformable prismatic packing box
CN216943980U (en) Integrated folding box blank
CN205972157U (en) Multicompartmented prismatic shape packing carton
CN204846587U (en) Pair package packing carton
CN219339998U (en) Two glue-filling-free boxes formed by one piece of paper
CN205872693U (en) Eight dress combination formula packing cartons
CN216443988U (en) Hexagonal barrel type paper box
CN212290755U (en) A new type of one-page forming folding box
CN211417895U (en) Packing box
CN201329984Y (en) Folding packing box

Legal Events

Date Code Title Description
C14 Grant of patent or utility model
GR01 Patent grant
C19 Lapse of patent right due to non-payment of the annual fee
CF01 Termination of patent right due to non-payment of annual fee