CN2832431Y - Reagent bottle clamping device - Google Patents
Reagent bottle clamping device Download PDFInfo
- Publication number
- CN2832431Y CN2832431Y CN 200520079373 CN200520079373U CN2832431Y CN 2832431 Y CN2832431 Y CN 2832431Y CN 200520079373 CN200520079373 CN 200520079373 CN 200520079373 U CN200520079373 U CN 200520079373U CN 2832431 Y CN2832431 Y CN 2832431Y
- Authority
- CN
- China
- Prior art keywords
- slider
- connecting rod
- reagent bottle
- clamping
- box body
- Prior art date
- Legal status (The legal status is an assumption and is not a legal conclusion. Google has not performed a legal analysis and makes no representation as to the accuracy of the status listed.)
- Expired - Fee Related
Links
Images
Landscapes
- Sampling And Sample Adjustment (AREA)
Abstract
一种试剂瓶夹持装置,包括箱体以及开设在箱体上的滑块架,在滑块架的侧壁上开设有安装滑块的连杆槽,滑块通过设置在箱体内的连杆与夹持杆铰链连接。由于本实用新型的滑块通过连杆与夹持杆铰链连接,通过滑块的上下运动带动与连杆铰链连接的夹持杆开合,从而实现夹持试剂瓶的目的。采用本实用新型一方面便于使用,另一方面可以从根本上解决无机化学试验脏、乱、差的问题。
A reagent bottle clamping device, including a box body and a slider frame set on the box body, a connecting rod groove for installing a slider is opened on the side wall of the slider frame, and the slider passes through a connecting rod arranged in the box body Hinged connection with clamping rod. Since the slider of the utility model is hingedly connected with the clamping rod through the connecting rod, the up and down movement of the slider drives the opening and closing of the clamping rod hinged with the connecting rod, thereby realizing the purpose of clamping the reagent bottle. Adopting the utility model is convenient to use on the one hand, and on the other hand can fundamentally solve the problems of dirty, chaotic and poor inorganic chemical tests.
Description
技术领域technical field
本实用新型属于机械装置领域,具体涉及一种试剂瓶夹持装置。The utility model belongs to the field of mechanical devices, in particular to a reagent bottle clamping device.
背景技术Background technique
无机化学是以性质实验为主的化工类基础课程,无机实验所用药品种类繁多,一般实验要用到六十多种药品(有的甚至上百种),每种药品分装于125mL的小试剂瓶,实验室分为前后五排(桌),那么一项实验就需约三百多个小试剂瓶(每排六十多种小试剂瓶),在实验过程中常常出现学生乱拿乱用试剂的现象,实验结束后可能五种同样的试剂出现在同一个桌面,有的桌面上出现上百种试剂瓶,有些桌面只有十多种,这样一方面给教师准备实验带来困难,另一方面,严重影响学生实验的进度,在学生实验过程中,整个实验室就象街市一样混乱。Inorganic chemistry is a basic chemical course based on property experiments. There are many kinds of drugs used in inorganic experiments. In general experiments, more than 60 kinds of drugs (some even hundreds of kinds) are used. Each drug is packaged in a small reagent of 125mL The laboratory is divided into five rows (tables) before and after, so an experiment requires about 300 small reagent bottles (more than 60 small reagent bottles in each row), and students often misuse reagents indiscriminately during the experiment. After the end of the experiment, five kinds of the same reagent may appear on the same desktop, some desktops have hundreds of reagent bottles, and some desktops only have more than ten kinds. , Seriously affect the progress of students' experiments. During the students' experiments, the whole laboratory is as chaotic as a street market.
发明内容Contents of the invention
本实用新型的目的在于克服上述现有技术的缺点,提供了一种结构简单、成本低,可方便实验人员取、放化学试剂瓶的试剂瓶夹持装置。The purpose of the utility model is to overcome the above-mentioned shortcoming of prior art, provide a kind of simple in structure, low in cost, the reagent bottle clamping device that can be convenient for the experimenter to take and put in the chemical reagent bottle.
为达到上述目的,本实用新型采用的技术方案是:包括箱体以及开设在箱体上的滑块架,其特点是,在滑块架的侧壁上开设有安装滑块的连杆槽,滑块通过设置在箱体内的连杆与夹持杆铰链连接。In order to achieve the above-mentioned purpose, the technical solution adopted by the utility model is: including a box body and a slider frame set on the box body, and its characteristic is that a connecting rod groove for installing the slider is opened on the side wall of the slider frame, The slide block is hingedly connected with the clamping rod through the connecting rod arranged in the box body.
本实用新型的另一特点是:滑块架内的滑块的下端还设置有弹簧。Another feature of the utility model is: the lower end of the slider in the slider frame is also provided with a spring.
由于本实用新型的滑块通过连杆与夹持杆铰链连接,通过滑块的上下运动带动与连杆铰链连接的夹持杆开合,从而实现夹持试剂瓶的目的。Since the slider of the utility model is hingedly connected with the clamping rod through the connecting rod, the up and down movement of the slider drives the opening and closing of the clamping rod hinged with the connecting rod, thereby realizing the purpose of clamping the reagent bottle.
附图说明Description of drawings
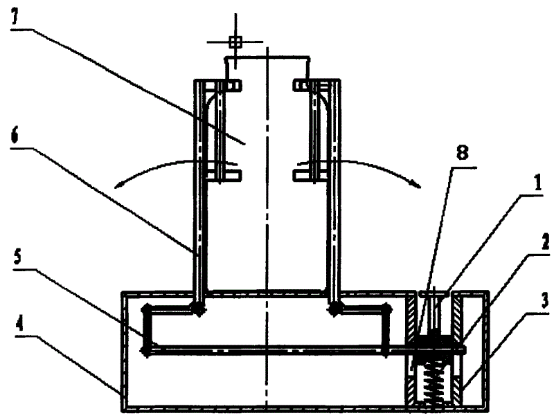
附图是本实用新型的整体结构示意图。Accompanying drawing is the overall structural representation of the utility model.
具体实施方式Detailed ways
下面结合附图对本实用新型的结构原理和工作原理作进一步详细说明。Below in conjunction with accompanying drawing, structural principle and working principle of the present utility model are described in further detail.
参见附图,本实用新型包括箱体4以及开设在箱体4上的滑块架3,在滑块架3的侧壁上开设有安装滑块1的连杆槽8,且在滑块架3的下端还设置有弹簧2,滑块1通过设置在箱体4内的连杆5与夹持杆6铰链连接。Referring to the accompanying drawings, the utility model includes a box body 4 and a
当实验人员取、放试剂瓶7时,按动箱体4上的滑块1,滑块1在滑块架3内沿连杆槽8向下运动,同时带动连杆5上下运动使与连杆5铰链连接的夹持杆6转动(如附图中箭头所示方向)。试剂瓶夹持杆6张开的角度由滑块架3上的连杆槽8控制,同时滑块1向下压紧与之相连的弹簧2。当松开滑块1时依靠弹簧2向上的推力,使滑块1沿滑块架3向上运动。同时带动夹持杆6向内转动,返回原位。When the experimenter takes and puts the reagent bottle 7, press the
采用本实用新型一方面便于使用,另一方面可以从根本上解决无机化学试验脏、乱、差的问题。Adopting the utility model is convenient to use on the one hand, and on the other hand can fundamentally solve the problems of dirty, chaotic and poor inorganic chemical tests.
Claims (2)
Priority Applications (1)
| Application Number | Priority Date | Filing Date | Title |
|---|---|---|---|
| CN 200520079373 CN2832431Y (en) | 2005-09-12 | 2005-09-12 | Reagent bottle clamping device |
Applications Claiming Priority (1)
| Application Number | Priority Date | Filing Date | Title |
|---|---|---|---|
| CN 200520079373 CN2832431Y (en) | 2005-09-12 | 2005-09-12 | Reagent bottle clamping device |
Publications (1)
| Publication Number | Publication Date |
|---|---|
| CN2832431Y true CN2832431Y (en) | 2006-11-01 |
Family
ID=37196749
Family Applications (1)
| Application Number | Title | Priority Date | Filing Date |
|---|---|---|---|
| CN 200520079373 Expired - Fee Related CN2832431Y (en) | 2005-09-12 | 2005-09-12 | Reagent bottle clamping device |
Country Status (1)
| Country | Link |
|---|---|
| CN (1) | CN2832431Y (en) |
Cited By (3)
| Publication number | Priority date | Publication date | Assignee | Title |
|---|---|---|---|---|
| CN102259311A (en) * | 2010-05-24 | 2011-11-30 | 汕头市东方科技有限公司 | Pneumatic metal can clamping unit |
| CN106003211A (en) * | 2015-07-28 | 2016-10-12 | 吴义坡 | Dismantling device for waste bottle caps |
| CN106568685A (en) * | 2015-10-10 | 2017-04-19 | 中国石油化工股份有限公司 | Device for fixing mud cup |
-
2005
- 2005-09-12 CN CN 200520079373 patent/CN2832431Y/en not_active Expired - Fee Related
Cited By (4)
| Publication number | Priority date | Publication date | Assignee | Title |
|---|---|---|---|---|
| CN102259311A (en) * | 2010-05-24 | 2011-11-30 | 汕头市东方科技有限公司 | Pneumatic metal can clamping unit |
| CN106003211A (en) * | 2015-07-28 | 2016-10-12 | 吴义坡 | Dismantling device for waste bottle caps |
| CN106003211B (en) * | 2015-07-28 | 2018-03-23 | 齐艳华 | Post-consumer bottle remover |
| CN106568685A (en) * | 2015-10-10 | 2017-04-19 | 中国石油化工股份有限公司 | Device for fixing mud cup |
Similar Documents
| Publication | Publication Date | Title |
|---|---|---|
| CN205361435U (en) | Collapsible test -tube rack of multilayer | |
| CN2832431Y (en) | Reagent bottle clamping device | |
| CN211054772U (en) | College english teacher presss from both sides with portable teaching notes | |
| CN201270896Y (en) | Chalk box | |
| CN220244077U (en) | Chemical reagent strorage device | |
| CN206213598U (en) | One kind can fix bookcase revolving | |
| CN204579389U (en) | Micro-rural area, city sample display device | |
| CN201128330Y (en) | Convenient blackboard eraser | |
| CN205587026U (en) | Desk special for senior high school chemical experiments | |
| CN202527111U (en) | Oscillating machine for mixing materials in breakage-proof reagent bottle | |
| CN219028978U (en) | Whiteboard convenient for teaching | |
| CN207938227U (en) | A portable display device for computer teaching | |
| CN221907197U (en) | Pipetting gun head finishing device | |
| CN113658456A (en) | Teaching auxiliary device is used in software study | |
| CN201350734Y (en) | Book sleeve with pen holder | |
| CN219928482U (en) | Myoglobin assay kit convenient to store | |
| CN2754448Y (en) | Desk with expandable top | |
| CN214451066U (en) | College chinese teaching demonstration board | |
| CN208283404U (en) | A kind of novel cancer cell detection kit | |
| CN219232433U (en) | Embedded biological experiment table | |
| CN202331937U (en) | English learning aid | |
| CN210960995U (en) | Turnover type file rack | |
| CN218048021U (en) | A new type of test tube rack | |
| CN213266535U (en) | Medicine cell culture device | |
| CN215936668U (en) | Desk convenient and rapid to place textbook |
Legal Events
| Date | Code | Title | Description |
|---|---|---|---|
| C14 | Grant of patent or utility model | ||
| GR01 | Patent grant | ||
| C19 | Lapse of patent right due to non-payment of the annual fee | ||
| CF01 | Termination of patent right due to non-payment of annual fee |
