CN2764718Y - Quantitatively distributing and transporting apparatus - Google Patents

Quantitatively distributing and transporting apparatus Download PDF

Info

Publication number
CN2764718Y
CN2764718Y CN 200520023493 CN200520023493U CN2764718Y CN 2764718 Y CN2764718 Y CN 2764718Y CN 200520023493 CN200520023493 CN 200520023493 CN 200520023493 U CN200520023493 U CN 200520023493U CN 2764718 Y CN2764718 Y CN 2764718Y
Authority
CN
China
Prior art keywords
auger
quantitative
screw propeller
support
utility
Prior art date
Legal status (The legal status is an assumption and is not a legal conclusion. Google has not performed a legal analysis and makes no representation as to the accuracy of the status listed.)
Expired - Fee Related
Application number
CN 200520023493
Other languages
Chinese (zh)
Inventor
魏泽鼎
Current Assignee (The listed assignees may be inaccurate. Google has not performed a legal analysis and makes no representation or warranty as to the accuracy of the list.)
Hebei University of Science and Technology
Original Assignee
Hebei University of Science and Technology
Priority date (The priority date is an assumption and is not a legal conclusion. Google has not performed a legal analysis and makes no representation as to the accuracy of the date listed.)
Filing date
Publication date
Application filed by Hebei University of Science and Technology filed Critical Hebei University of Science and Technology
Priority to CN 200520023493 priority Critical patent/CN2764718Y/en
Application granted granted Critical
Publication of CN2764718Y publication Critical patent/CN2764718Y/en
Anticipated expiration legal-status Critical
Expired - Fee Related legal-status Critical Current

Links

Images

Landscapes

  • Basic Packing Technique (AREA)
  • Supply Of Fluid Materials To The Packaging Location (AREA)

Abstract

本实用新型涉及一种定量分装传输装置,具体说涉及一种适用于粉状或颗粒状物体的定量分装送料装置。它包括支架、传输绞龙、电动机、进料斗和接料系统,所述传输绞龙由螺旋推进器和绞龙外桶构成,螺旋推进器的叶片半径尺寸沿出料口方向由等距到逐渐缩小,越向出口处旋转半径越小,在工作时,使得传统传输绞龙出料口处推进叶片后上方空洞逐渐消失,达到出料速度均匀的目的,从而使定量分装精度大为提高,本实用新型可广泛用于各种粉状或颗粒状物料的定量分装,分装精度高,使用方便。

Figure 200520023493

The utility model relates to a quantitative dispensing and conveying device, in particular to a quantitative dispensing and feeding device suitable for powdery or granular objects. It includes a bracket, a transmission auger, a motor, a hopper and a material receiving system. The transmission auger is composed of a screw propeller and an auger outer barrel. The blade radius of the screw propeller is from equidistant to Gradually shrinking, the radius of rotation becomes smaller as it goes toward the exit. When working, the cavity above the blade at the outlet of the traditional transmission auger gradually disappears, achieving the goal of uniform discharge speed, thereby greatly improving the accuracy of quantitative packaging. , The utility model can be widely used for quantitative subpackaging of various powdery or granular materials, with high subpackaging accuracy and convenient use.

Figure 200520023493

Description

A kind of quantitative packing transmitting device
Technical field
The utility model relates to a kind of quantitative packing transmitting device, relates to a kind of quantitative packing pay-off that is applicable to powdery or granular substance specifically.
Background technology
At present, in existing powdery or the quantitative packing transmitting device of granular material, because it is cylindrical shape that the transmission auger advances the blade rotation profile, stop up in the bucket outside auger for avoiding material, advance the helical pitch of spiral to strengthen gradually, by gravity, the discharging opening place advances the blade back upper place cavity to occur, causes material to drop into the velocity pulsation of receiving hopper, produces the feeding non-uniform phenomenon, form the random error that computer control can't remedy, reduced the precision of quantitative packing.
Summary of the invention
The utility model provides a kind of new quantitative packing transmitting device for overcoming shortcoming of the prior art, and is inhomogeneous to avoid feeding, improves quantitative packing precision.
The utility model is achieved by following technical scheme:
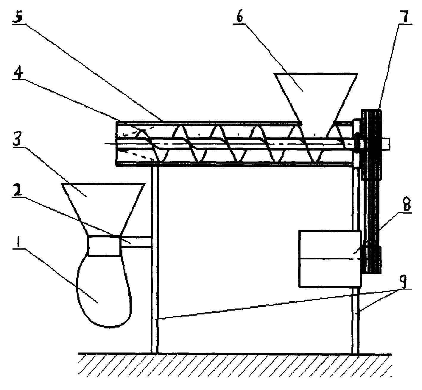
A kind of quantitative packing transmitting device comprises support, transmission auger, electrical motor, feeder hopper and the system that connects material, and the transmission auger is made of spiral propeller and the outer bucket of auger, and is fixed on the support; One end of spiral propeller stretches out the outer bucket of auger, and is connected with an end of belt pulley, and the other end of belt pulley connects electrical motor, and electrical motor is fixed on the support; Feeder hopper is located on the transmission auger, is connected as a single entity with the outer bucket of auger; The system of connecting material comprises receiving hopper and packaging bag, and receiving hopper is connected with packaging bag through sensor, and is fixed on the support.
The blade radius size of described spiral propeller along the discharging opening direction by equidistant to dwindling gradually, promptly the rotation profile of spiral propeller is the combination of cylinder and Rotary-table.
The advantage that the utility model compared with prior art has is, because advancing the rotating range of spiral during work is the combination of cylinder and Rotary-table, more little to the exit radius of rotation more, make conventional transmission auger discharging opening place advance cavity, blade back upper place to fade away, reach the uniform purpose of discharging speed, thereby quantitative packing precision is greatly improved.
Description of drawings
Fig. 1 is a structural representation of the present utility model.
Fig. 2 is the structural representation of spiral propeller.
The specific embodiment
The utility model is further described below in conjunction with accompanying drawing:
As shown in Figure 1, quantitatively the packing transmitting device comprises support, transmission auger, electrical motor, feeder hopper and the system that connects material, and described transmission auger is made of spiral propeller 4 and the outer bucket 5 of auger, and is fixed on the support 9; One end of spiral propeller 4 stretches out the outer bucket of auger, and is connected with an end of belt pulley 7, and the other end of belt pulley 7 connects electrical motor 8, and electrical motor is fixed on the support; Feeder hopper 6 is located on the transmission auger, is connected as a single entity with the outer bucket 5 of auger; The described system of connecting material comprises receiving hopper 3 and packaging bag 1, and receiving hopper is connected with packaging bag through sensor 2, and is fixed on the support 9.
As shown in Figure 2, the blade radius size of spiral propeller 4 along the discharging opening direction by equidistant to dwindling gradually, promptly the rotation profile of spiral propeller is the combination of cylinder and Rotary-table, dotted line is the blade rotating range among the figure.
Working process is: power-on, electrical motor provides power by belt pulley to spiral propeller, material enters the transmission auger from receiving hopper, through spiral propeller, at the uniform velocity enter receiving hopper, the computer expert crosses when the weight of material of sensor control transmission auger in packaging bag reaches setting value and stops operating, when material stops to carry, the weight of material is setting value just in the bag, comprise the material that is falling in this process in the air, because material at the uniform velocity enters receiving hopper, therefore, avoid random error, improved quantitative packing precision.
The utility model can be widely used in the quantitative packing of various powderies or granular material.

Claims (2)

1、一种定量分装传输装置,包括支架、传输绞龙、电动机、进料斗和接料系统,其特征是传输绞龙由螺旋推进器(4)和绞龙外桶(5)构成,并固定在支架上;螺旋推进器(4)的一端伸出绞龙外桶,并与皮带轮(7)的一端连接,皮带轮的另一端连接电动机(8),电动机固定在支架(9)上;进料斗(6)设在传输绞龙上,与绞龙外桶连为一体;接料系统包括接料斗(3)和包装袋(1),接料斗(3)经传感器(2)与包装袋连接,并固定于支架(9)上。1. A quantitative sub-packaging transmission device, comprising a support, a transmission auger, a motor, a feed hopper and a material receiving system, characterized in that the transmission auger is composed of a screw propeller (4) and an auger outer barrel (5), and be fixed on the support; one end of the screw propeller (4) stretches out of the auger outer barrel, and is connected with one end of the belt pulley (7), and the other end of the belt pulley is connected with the motor (8), and the motor is fixed on the support (9); The feeding hopper (6) is set on the conveying auger, and is connected with the outer barrel of the auger; the material receiving system includes the receiving hopper (3) and the packaging bag (1). Bag is connected, and is fixed on the support (9). 2、根据权利要求1所述的一种定量分装传输装置,其特征是所述螺旋推进器(4)的叶片半径尺寸沿出料口方向由等距到逐渐缩小。2. A quantitative dispensing and conveying device according to claim 1, characterized in that the radius of the blades of the screw propeller (4) decreases from equidistant to gradually along the direction of the discharge port.
CN 200520023493 2005-02-04 2005-02-04 Quantitatively distributing and transporting apparatus Expired - Fee Related CN2764718Y (en)

Priority Applications (1)

Application Number Priority Date Filing Date Title
CN 200520023493 CN2764718Y (en) 2005-02-04 2005-02-04 Quantitatively distributing and transporting apparatus

Applications Claiming Priority (1)

Application Number Priority Date Filing Date Title
CN 200520023493 CN2764718Y (en) 2005-02-04 2005-02-04 Quantitatively distributing and transporting apparatus

Publications (1)

Publication Number Publication Date
CN2764718Y true CN2764718Y (en) 2006-03-15

Family

ID=36167637

Family Applications (1)

Application Number Title Priority Date Filing Date
CN 200520023493 Expired - Fee Related CN2764718Y (en) 2005-02-04 2005-02-04 Quantitatively distributing and transporting apparatus

Country Status (1)

Country Link
CN (1) CN2764718Y (en)

Cited By (5)

* Cited by examiner, † Cited by third party
Publication number Priority date Publication date Assignee Title
CN102180289A (en) * 2011-04-26 2011-09-14 徐州腾宇羽绒制品设备有限公司 Automatic quantifying device for bagging down
CN102837833A (en) * 2012-09-06 2012-12-26 华润三九医药股份有限公司 Blanking device for traditional Chinese medicine grains
CN110180244A (en) * 2019-06-12 2019-08-30 南通大学 Mud device and method is removed applied to construction refuse regenerated aggregate bilayer aided filter
CN110180243A (en) * 2019-06-12 2019-08-30 南通大学 One kind being applied to construction refuse regenerated aggregate bilayer aided filter and removes mud device
CN116870726A (en) * 2023-07-14 2023-10-13 四川硅旺新材料科技有限公司 Silicon particle surface treatment device

Cited By (6)

* Cited by examiner, † Cited by third party
Publication number Priority date Publication date Assignee Title
CN102180289A (en) * 2011-04-26 2011-09-14 徐州腾宇羽绒制品设备有限公司 Automatic quantifying device for bagging down
CN102180289B (en) * 2011-04-26 2012-11-07 徐州腾宇羽绒制品设备有限公司 Automatic quantifying device for bagging down
CN102837833A (en) * 2012-09-06 2012-12-26 华润三九医药股份有限公司 Blanking device for traditional Chinese medicine grains
CN110180244A (en) * 2019-06-12 2019-08-30 南通大学 Mud device and method is removed applied to construction refuse regenerated aggregate bilayer aided filter
CN110180243A (en) * 2019-06-12 2019-08-30 南通大学 One kind being applied to construction refuse regenerated aggregate bilayer aided filter and removes mud device
CN116870726A (en) * 2023-07-14 2023-10-13 四川硅旺新材料科技有限公司 Silicon particle surface treatment device

Similar Documents

Publication Publication Date Title
CN206733592U (en) A kind of 3D printing small-sized screw plasticizing apparatus
CN106903875A (en) A kind of 3D printing small-sized screw plasticizing apparatus
CN206552699U (en) A kind of accurate automatic conveying device of powdery starting material
CN2764718Y (en) Quantitatively distributing and transporting apparatus
CN205932187U (en) A two spiral delivery mechanism for sludge drying
CN208103410U (en) A kind of feeding device avoiding blocking
CN211711858U (en) Novel upper and lower double auger structure screw conveyer
CN219006551U (en) Sand and stone feeder of concrete mixing plant
CN117429691A (en) Powder filling device
CN201971409U (en) Reverse feeding machine
CN212981454U (en) Spiral feeding device
CN109397664A (en) A kind of extruder
CN209480787U (en) A kind of double screw conveyor device
CN116443431A (en) A streamlined conveying operation silo system for batch use of polyether powder
CN207861483U (en) A kind of spiral powder conveying device
CN209052110U (en) A kind of drug metering transportation system
CN109173932A (en) A kind of feed device of dry granulating machine
CN201895920U (en) Feeder with stirring screw
CN209076624U (en) A kind of feed device of dry granulating machine
CN223671518U (en) Eccentric powder quantitative conveying device
CN211945165U (en) Device for adding small materials to finished product particles
CN221739053U (en) An automatic powder supply system
CN217894515U (en) Powder material quantitative feeding structure
CN105173572A (en) Anti-blocking material conveyer
CN220244556U (en) Feeding machine

Legal Events

Date Code Title Description
C14 Grant of patent or utility model
GR01 Patent grant
C19 Lapse of patent right due to non-payment of the annual fee
CF01 Termination of patent right due to non-payment of annual fee