CN2734377Y - Double end digital control special purpose lathe - Google Patents

Double end digital control special purpose lathe Download PDF

Info

Publication number
CN2734377Y
CN2734377Y CNU2004200765452U CN200420076545U CN2734377Y CN 2734377 Y CN2734377 Y CN 2734377Y CN U2004200765452 U CNU2004200765452 U CN U2004200765452U CN 200420076545 U CN200420076545 U CN 200420076545U CN 2734377 Y CN2734377 Y CN 2734377Y
Authority
CN
China
Prior art keywords
main shaft
carriages
numerical control
horizontal
ball screw
Prior art date
Legal status (The legal status is an assumption and is not a legal conclusion. Google has not performed a legal analysis and makes no representation as to the accuracy of the status listed.)
Expired - Fee Related
Application number
CNU2004200765452U
Other languages
Chinese (zh)
Inventor
陈建平
刘宏奇
程文学
高幼民
肖长江
檀银身
Current Assignee (The listed assignees may be inaccurate. Google has not performed a legal analysis and makes no representation or warranty as to the accuracy of the list.)
XIANGFAN SPECIAL MOTOR CO Ltd
Original Assignee
XIANGFAN SPECIAL MOTOR CO Ltd
Priority date (The priority date is an assumption and is not a legal conclusion. Google has not performed a legal analysis and makes no representation as to the accuracy of the date listed.)
Filing date
Publication date
Application filed by XIANGFAN SPECIAL MOTOR CO Ltd filed Critical XIANGFAN SPECIAL MOTOR CO Ltd
Priority to CNU2004200765452U priority Critical patent/CN2734377Y/en
Application granted granted Critical
Publication of CN2734377Y publication Critical patent/CN2734377Y/en
Anticipated expiration legal-status Critical
Expired - Fee Related legal-status Critical Current

Links

Images

Classifications

    • YGENERAL TAGGING OF NEW TECHNOLOGICAL DEVELOPMENTS; GENERAL TAGGING OF CROSS-SECTIONAL TECHNOLOGIES SPANNING OVER SEVERAL SECTIONS OF THE IPC; TECHNICAL SUBJECTS COVERED BY FORMER USPC CROSS-REFERENCE ART COLLECTIONS [XRACs] AND DIGESTS
    • Y02TECHNOLOGIES OR APPLICATIONS FOR MITIGATION OR ADAPTATION AGAINST CLIMATE CHANGE
    • Y02PCLIMATE CHANGE MITIGATION TECHNOLOGIES IN THE PRODUCTION OR PROCESSING OF GOODS
    • Y02P70/00Climate change mitigation technologies in the production process for final industrial or consumer products
    • Y02P70/10Greenhouse gas [GHG] capture, material saving, heat recovery or other energy efficient measures, e.g. motor control, characterised by manufacturing processes, e.g. for rolling metal or metal working

Landscapes

  • Turning (AREA)

Abstract

本实用新型的名称为双头数控专用车床。属于车床技术领域。它主要是解决现有车床、双头数控镗床不适宜加工不易二次定位装夹,且同轴度要求较高的盘套类零件的问题。它的主要特征是包括左、右滑台座、左、右大拖板、左、右纵向滚珠丝杠副、左、右纵向伺服电机和数控装置,在左、右滑台座之间设有与其固定连接的主轴座,该主轴座内设有空心主轴、传动箱和变频电机;在左、右大拖板上设有横向的左、右中拖板,该左、右中拖板上设有配套的左、右横向滚珠丝杠副和左、右横向伺服电机;在左、右中拖板上分别设有左、右电动刀架。本实用新型主要用于加工不易二次定位装夹,一同轴度要求较高的盘套类零件。

The name of the utility model is double-head numerical control special-purpose lathe. It belongs to the technical field of lathes. It mainly solves the problem that the existing lathes and double-head CNC boring machines are not suitable for processing disc sleeve parts that are not easy to be positioned and clamped twice, and require high coaxiality. Its main features include left and right slide bases, left and right large carriages, left and right longitudinal ball screw pairs, left and right longitudinal servo motors and numerical control devices. Connected main shaft seat, the main shaft seat is equipped with a hollow main shaft, a transmission box and a frequency conversion motor; there are horizontal left and right middle carriages on the left and right large carriages, and the left and right middle carriages are provided with matching The left and right horizontal ball screw pair and the left and right horizontal servo motors; the left and right electric tool holders are respectively arranged on the left and right middle carriages. The utility model is mainly used for processing disc sleeve parts that are not easy to be positioned and clamped twice, and require high coaxiality.

Description

Double end numerical control special purpose lathe
Technical field
The utility model relates to double-ended boring machine and lathe, and particularly a kind ofly be mainly used in processing and be difficult for the secondary positioning and clamping, and the double end numerical control special purpose lathe of the axiality disk cover parts of having relatively high expectations.Belong to the lathe technical field.
Background technology
Existing lathe generally has only a cutter head, and is positioned at the outside portion of rotational workpieces, and when running into the higher disk cover parts of hole, two requirement on machining accuracy, its precision and working (machining) efficiency will obviously descend.Existing double end numerical control borer is mostly by left and right carriage saddle, left and right saddle, left and right vertical ball screw assembly,, left and right servo longitudinal motor, left and right rotating knife (boring) tool, and be fixed on fixation workpiece seat between the left and right carriage saddle and numerical control device is formed, can be used for processing the disk cover parts that is difficult for the secondary positioning and clamping.But be difficult for the secondary positioning and clamping for processing, and the disk cover parts that axiality is had relatively high expectations, as automobile brake wheel hub, because two cutter (boring) tool of double end numerical control borer is in rotation status, workpiece in the middle of placing remains static, thereby, when machine tool component has wearing and tearing, must cause the shaft center line of cutter (boring) tool and the axial line of workpiece deviation to occur, directly influence the axiality of workpiece.
Summary of the invention
The purpose of this utility model is exactly to provide a kind of at above-mentioned weak point and is applicable to that processing is difficult for the secondary positioning and clamping, and the double end numerical control special purpose lathe of the axiality disk cover parts of having relatively high expectations.
Technical solution of the present utility model is: a kind of double end numerical control special purpose lathe, comprise left and right carriage saddle, left and right saddle, left and right vertical ball screw assembly,, left and right servo longitudinal motor and numerical control device, it is characterized in that: between left and right carriage saddle, be provided with the spindle drum of fixedlying connected, be provided with main shaft, transmission case and variable-frequency motor in this spindle drum with it.Be provided with horizontal left and right middle carriage on left and right saddle, this left and right middle carriage is provided with supporting left and right lead screw pair and the left and right horizontal servomotor of laterally rolling.On left and right middle carriage, be respectively equipped with electric driving tool post.
The utility model is owing to be provided with spindle drum between left and right carriage saddle, and in spindle drum, be provided with main shaft, transmission case and variable-frequency motor, thereby, when the disk cover parts that will be difficult for the secondary positioning and clamping such as automobile brake wheel hub clamping workpiece after on the main shaft, just this workpiece can be with main axis rotation.Simultaneously, by the position of numerical control device adjustment and fixing left and right electric driving tool post, making the cutter blade is workpiece radius to be processed to the distance of spindle axis line; Promote left and right saddle and move, finish processing workpiece to the center.Obviously, said process can guarantee the axiality unanimity of workpiece two ends processing fully.Even the machine tool component wearing and tearing occur, also just the rotation centerline and the cutter height of workpiece produce some micro-deviations, and this deviation is easy to revise by adjusting, and does not influence the axiality of workpiece.The utility model is mainly used in processing and is difficult for the secondary positioning and clamping, and the axiality disk cover parts of having relatively high expectations.
Description of drawings
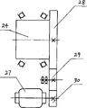
Fig. 1 is a structural representation of the present utility model; Fig. 2 is the plan structure schematic diagram of Fig. 1; Fig. 3 is main shaft and workpiece clamping schematic diagram; Fig. 4 is the spindle drive schematic diagram.
The specific embodiment
As shown in Figures 1 to 4.Left and right carriage saddle 2,13 symmetries are fixed on spindle drum 19 two ends.Left and right carriage saddle 2,13 is provided with regulator cubicle door 3,12.Left and right saddle 4,11 is separately positioned on the left and right carriage saddle 2,13, and respectively with left and right vertical ball screw assembly, 15,23, left and right servo longitudinal motor 1,14 matches.About vertically ball screw assembly, 15,23 inner ends be in respectively on the leading screw seat 18,20.Left and right middle carriage 5,10 is separately positioned on the left and right saddle 4,11, matches with left and right horizontal ball wire bar pair 16,22 and left and right horizontal servomotor 17,21 respectively.Left and right electric driving tool post 6,9 is separately positioned on the left and right middle carriage 5,10.Main shaft 24 is positioned at spindle drum 19 tops, and transmission case 8 is positioned at spindle drum 19 middle parts, and variable-frequency motor 27 is positioned at spindle drum 19 bottoms, and main shaft 24, mainshaft gear 28, carrier gear 29, motor gear 30 and variable-frequency motor 27 match, and control by numerical control device.Numerical control device can adopt conventional numerical control device.Numerical control operation panel case 7 is used to finish the operation of workpiece process.Numerical control device can conveniently be controlled the location of left and right electric driving tool post 6,9 and move to workpiece coaxially, finishes the coaxial processing to the workpiece two ends.
Workpiece 26 is an automotive hub, be difficult to the secondary positioning and clamping, be fixed on the main shaft 24 by axial anchor clamps and locating ring 25, and there is the strict requirement of beating seam, end face many places to workpiece 26 two ends, and adopt the utility model to process, can on same axial line, finish the seam at two ends, the processing of end face simultaneously, and overcome the phenomenon of the malalignment that double end thorax bed produces because of lathe wearing and tearing fully.

Claims (1)

1、一种双头数控专用车床,包括左、右滑台座(2、13)、左、右大拖板(4、11)、左、右纵向滚珠丝杠副(15、23)、左、右纵向伺服电机(1、14)和数控装置,其特征是:在左、右滑台座(2、13)之间设有与其固定连接的主轴座(19),该主轴座(9)内设有空心主轴(24)、传动箱(8)和变频电机(27);在左、右大拖板(4、11)上设有横向的左、右中拖板(5、10),该左、右中拖板(5、10)上设有配套的左、右横向滚珠丝杠副(16、22)和左、右横向伺服电机(17、21);在左、右中拖板(5、10)上分别设有左、右电动刀架(6、9)。1. A double-head CNC special lathe, comprising left and right sliding pedestals (2, 13), left and right large carriages (4, 11), left and right longitudinal ball screw pairs (15, 23), left, right The right vertical servo motor (1,14) and the numerical control device are characterized in that: a main shaft seat (19) fixedly connected with the left and right sliding platform seats (2,13) is provided, and the main shaft seat (9) is provided with There are hollow main shaft (24), transmission box (8) and variable frequency motor (27); Left and right middle planks (5, 10) are provided with horizontal left and right planks (4, 11), the left 1. On the right middle carriage (5, 10), there are matching left and right horizontal ball screw pairs (16, 22) and left and right horizontal servo motors (17, 21); on the left and right middle carriage (5 , 10) are respectively provided with left and right electric tool holders (6, 9).
CNU2004200765452U 2004-09-08 2004-09-08 Double end digital control special purpose lathe Expired - Fee Related CN2734377Y (en)

Priority Applications (1)

Application Number Priority Date Filing Date Title
CNU2004200765452U CN2734377Y (en) 2004-09-08 2004-09-08 Double end digital control special purpose lathe

Applications Claiming Priority (1)

Application Number Priority Date Filing Date Title
CNU2004200765452U CN2734377Y (en) 2004-09-08 2004-09-08 Double end digital control special purpose lathe

Publications (1)

Publication Number Publication Date
CN2734377Y true CN2734377Y (en) 2005-10-19

Family

ID=35264259

Family Applications (1)

Application Number Title Priority Date Filing Date
CNU2004200765452U Expired - Fee Related CN2734377Y (en) 2004-09-08 2004-09-08 Double end digital control special purpose lathe

Country Status (1)

Country Link
CN (1) CN2734377Y (en)

Cited By (15)

* Cited by examiner, † Cited by third party
Publication number Priority date Publication date Assignee Title
CN101890508A (en) * 2010-03-15 2010-11-24 东莞东运机械制造有限公司 Numerical control gravure double-end finishing machine
CN102151917A (en) * 2011-02-18 2011-08-17 济南圣多数控机床有限公司 Movable joint thread synchronous tapping method and movable joint thread synchronous tapping device
CN102380625A (en) * 2011-11-15 2012-03-21 广东石油化工学院 Special numerically controlled lathe for cutting inner arc curved surface
CN102601389A (en) * 2011-01-21 2012-07-25 东莞市嘉坤机械有限公司 CNC lathe
CN102601386A (en) * 2011-01-21 2012-07-25 安阳鑫盛机床股份有限公司 Numerically controlled doubled-headed lathe
CN102806365A (en) * 2012-08-24 2012-12-05 迪莱姆数控机电(杭州)有限公司 High-efficiency special double-end numerical control lathe for processing bearing type parts and system thereof
CN104014819A (en) * 2014-05-05 2014-09-03 南京肯迈得机床制造有限公司 Glass mold double-end-face numerical control lathe
CN104646689A (en) * 2015-02-06 2015-05-27 安阳工学院 Double-sided lathe special for valve
CN105171498A (en) * 2015-08-03 2015-12-23 华中科技大学 Numerical control two-sided lathe for machining large-diameter thin-wall disc parts
CN106925796A (en) * 2016-12-31 2017-07-07 安徽力成机械装备有限公司 Double end digital control processing unit (plant)
CN111360547A (en) * 2020-04-21 2020-07-03 扬州黎明钻具有限公司 A double-head fine turning of a trenchless drill pipe
CN111408738A (en) * 2020-04-21 2020-07-14 扬州黎明钻具有限公司 Trenchless drill rod double-head rough turning machine
CN111408740A (en) * 2020-04-14 2020-07-14 赣州创宇机电有限公司 Exchanger parts machining lathe
CN111468899A (en) * 2020-04-21 2020-07-31 扬州黎明钻具有限公司 Laser hardening process for thread surface of trenchless drill rod joint
CN114406294A (en) * 2021-12-14 2022-04-29 山西平阳重工机械有限责任公司 Double-system jack cylinder barrel vehicle

Cited By (17)

* Cited by examiner, † Cited by third party
Publication number Priority date Publication date Assignee Title
CN101890508A (en) * 2010-03-15 2010-11-24 东莞东运机械制造有限公司 Numerical control gravure double-end finishing machine
CN102601389A (en) * 2011-01-21 2012-07-25 东莞市嘉坤机械有限公司 CNC lathe
CN102601386A (en) * 2011-01-21 2012-07-25 安阳鑫盛机床股份有限公司 Numerically controlled doubled-headed lathe
CN102151917A (en) * 2011-02-18 2011-08-17 济南圣多数控机床有限公司 Movable joint thread synchronous tapping method and movable joint thread synchronous tapping device
CN102151917B (en) * 2011-02-18 2012-10-03 济南圣多数控机床有限公司 Movable joint thread synchronous tapping method and movable joint thread synchronous tapping device
CN102380625A (en) * 2011-11-15 2012-03-21 广东石油化工学院 Special numerically controlled lathe for cutting inner arc curved surface
CN102380625B (en) * 2011-11-15 2013-04-17 广东石油化工学院 Special numerically controlled lathe for cutting inner arc curved surface
CN102806365A (en) * 2012-08-24 2012-12-05 迪莱姆数控机电(杭州)有限公司 High-efficiency special double-end numerical control lathe for processing bearing type parts and system thereof
CN104014819A (en) * 2014-05-05 2014-09-03 南京肯迈得机床制造有限公司 Glass mold double-end-face numerical control lathe
CN104646689A (en) * 2015-02-06 2015-05-27 安阳工学院 Double-sided lathe special for valve
CN105171498A (en) * 2015-08-03 2015-12-23 华中科技大学 Numerical control two-sided lathe for machining large-diameter thin-wall disc parts
CN106925796A (en) * 2016-12-31 2017-07-07 安徽力成机械装备有限公司 Double end digital control processing unit (plant)
CN111408740A (en) * 2020-04-14 2020-07-14 赣州创宇机电有限公司 Exchanger parts machining lathe
CN111360547A (en) * 2020-04-21 2020-07-03 扬州黎明钻具有限公司 A double-head fine turning of a trenchless drill pipe
CN111408738A (en) * 2020-04-21 2020-07-14 扬州黎明钻具有限公司 Trenchless drill rod double-head rough turning machine
CN111468899A (en) * 2020-04-21 2020-07-31 扬州黎明钻具有限公司 Laser hardening process for thread surface of trenchless drill rod joint
CN114406294A (en) * 2021-12-14 2022-04-29 山西平阳重工机械有限责任公司 Double-system jack cylinder barrel vehicle

Similar Documents

Publication Publication Date Title
CN2734377Y (en) Double end digital control special purpose lathe
CN206382849U (en) A kind of new vertical Compositions of metal-working machines
CN101817158B (en) Gantry vertical and horizontal numerically controlled grinder
CN201970090U (en) Vertical-horizontal combined machining center
CN103447823B8 (en) A kind of numerical control processing method of automobile semi-shaft
CN206356898U (en) A kind of new vertical Compositions of metal-working machines
CN201183192Y (en) Multifunctional vertical machine tool
CN210548131U (en) Multi-cutter high-efficiency synchronous dynamic balance turning machine tool
CN202763444U (en) Tools of inner and outer double-conical-degree large size solid of revolution type workpieces
CN211990936U (en) Double Spindle CNC Lathe
CN103418999A (en) Automobile axle shaft machining technique
CN202779895U (en) Special headstock boring machine
CN208854144U (en) A kind of boring lathe for processing belt pulley
CN103586699A (en) High-rigidity square ram gantry machining center
CN202399019U (en) Improved numerical control drilling and tapping center
CN203972877U (en) Two spindle synchronous control lathes
CN210099469U (en) Double-spindle shaft vertical turning and cylindrical grinding combined machine tool
CN201693437U (en) Gantry vertical and horizontal numerical control grinding machine
CN216991118U (en) Composite high-efficiency processing machine tool
CN103878403A (en) Power knife table main transmission device
CN213317739U (en) Lathe with double-end clamp
CN213795188U (en) Valve body machining device
CN210938396U (en) A six-station machine tool
CN204639273U (en) Helicoid hydraulic motor rotor helical-screw groove broach-milling device
CN210435690U (en) Numerical control turning and boring combined machining tool

Legal Events

Date Code Title Description
C14 Grant of patent or utility model
GR01 Patent grant
C19 Lapse of patent right due to non-payment of the annual fee
CF01 Termination of patent right due to non-payment of annual fee