CN2699537Y - Electric connector - Google Patents
Electric connector Download PDFInfo
- Publication number
- CN2699537Y CN2699537Y CN 200420024678 CN200420024678U CN2699537Y CN 2699537 Y CN2699537 Y CN 2699537Y CN 200420024678 CN200420024678 CN 200420024678 CN 200420024678 U CN200420024678 U CN 200420024678U CN 2699537 Y CN2699537 Y CN 2699537Y
- Authority
- CN
- China
- Prior art keywords
- insulating body
- electrical connector
- shielding body
- electronic component
- shielding
- Prior art date
- Legal status (The legal status is an assumption and is not a legal conclusion. Google has not performed a legal analysis and makes no representation as to the accuracy of the status listed.)
- Expired - Fee Related
Links
Images
Landscapes
- Connector Housings Or Holding Contact Members (AREA)
Abstract
本实用新型揭示了一种电连接器,安装于电子设备的电路板上,用以收容一电子元件,包括:绝缘本体及收容于绝缘本体内的导电端子,其中,绝缘本体设有收容导电端子的收容空间,而导电端子设有位于收容空间底部的接触部;该电连接器进一步包括设于电子元件外的遮蔽体,所述电子元件收容于该遮蔽体内。端子与绝缘本体、遮蔽体与绝缘本体之间,采用倒刺干涉的方式组合,结构简单,定位可靠,固持效果佳,且遮蔽体亦防止电磁干扰(EMI),实现更好的电气性能;该电连接器还进一步包括设于所述电子元件上的提取装置,用以将电子元件从遮蔽体中取出。
The utility model discloses an electrical connector, which is installed on a circuit board of an electronic device to accommodate an electronic component, comprising: an insulating body and conductive terminals accommodated in the insulating body, wherein the insulating body is provided with accommodating conductive terminals The accommodating space, and the conductive terminal is provided with a contact portion located at the bottom of the accommodating space; the electrical connector further includes a shielding body arranged outside the electronic component, and the electronic component is accommodated in the shielding body. The combination between the terminal and the insulating body, the shielding body and the insulating body is combined by barb interference. The structure is simple, the positioning is reliable, the holding effect is good, and the shielding body also prevents electromagnetic interference (EMI) to achieve better electrical performance; The electrical connector further includes an extracting device arranged on the electronic component, which is used to take out the electronic component from the shielding body.
Description
【技术领域】【Technical field】
本实用新型是有关一种电连接器,尤其是指一种应用于移动电话或其它电子设备上的电连接器。The utility model relates to an electrical connector, in particular to an electrical connector applied to mobile phones or other electronic equipment.
【背景技术】【Background technique】
随着无线通信技术的发展及高科技的日新月异,移动电话、PDA或其它通信电子设备越来越趋向于小型化发展,功能也趋于丰富、多样化,以满足人们的需求。With the development of wireless communication technology and the rapid development of high technology, mobile phones, PDAs or other communication electronic equipment tend to be more and more miniaturized, and their functions also tend to be rich and diversified to meet people's needs.
如在移动电话、PDA上增设照相功能等。因此,固持与保护照相机模块,以及稳固的电性连接成为目前发明的重要问题。在现有技术中,一般的,绝缘本体设置为凹室状结构,在其外部或内部再增设一遮蔽体,照相机模块等电子组件收容于二者内部;由于绝缘本体设有四个侧壁,且绝缘本体为一体式设计,而遮蔽体贴靠组设于绝缘本体之上,如此设计,固持效果不佳,遮蔽体易松脱,而不能达到很好的固持及保护照相机模块的功能,且,即使在遮蔽体与绝缘本体之间设置固持装置,设计也变得较为繁琐,使得电连接器结构复杂,增大电连接器之体积,不利于电子产品小型化,另一方面,也增加了制造成本。且现有技术中,绝缘本体收容端子的收容空间处未设置特别的固持装置,导致二者固持不稳固,端子易于松动,从而不能达到很好的电性连接。Such as adding camera functions on mobile phones and PDAs. Therefore, holding and protecting the camera module, as well as a stable electrical connection have become important issues in the present invention. In the prior art, generally, the insulating body is arranged in an alcove-like structure, and a shielding body is added outside or inside it, and electronic components such as camera modules are accommodated inside the two; since the insulating body is provided with four side walls, In addition, the insulating body is designed in one piece, and the shielding body is closely assembled on the insulating body. With such a design, the holding effect is not good, the shielding body is easy to loosen, and the function of holding and protecting the camera module cannot be achieved well. Moreover, Even if a holding device is provided between the shielding body and the insulating body, the design becomes more cumbersome, which makes the structure of the electrical connector complex and increases the volume of the electrical connector, which is not conducive to the miniaturization of electronic products. On the other hand, it also increases the manufacturing cost. cost. Moreover, in the prior art, no special holding device is provided in the receiving space of the insulating body for receiving the terminals, resulting in unstable holding of the two, and easy loosening of the terminals, thereby failing to achieve a good electrical connection.
【实用新型内容】【Content of utility model】
本实用新型的一个主要目的在于提供一种组装方便、固持稳定的电连接器。A main purpose of the present invention is to provide an electrical connector that is easy to assemble and stable to hold.
本实用新型的目的是这样实现的:本实用新型电连接器,安装于电子设备的电路板上,用于收容一电子元件,包括:绝缘本体及若干收容于绝缘本体内的导电端子,其中绝缘本体设有收容空间,且收容空间处设有卡持槽,而导电端子设有卡持部,该卡持部上设有若干凸点与绝缘本体之卡持槽干涉配合,导电端子与绝缘本体以倒刺干涉方式卡持配合;该电连接器进一步包括组装于绝缘本体上的遮蔽体,所述电子元件收容于该遮蔽体内,其中绝缘本体设有收容槽,遮蔽体的下底边缘设有若干固持部,该固持部上设有若干倒刺与绝缘本体的收容槽干涉配合,遮蔽体与绝缘本体之间以干涉倒刺方式安装配合。The purpose of this utility model is achieved in the following way: the utility model electric connector is installed on the circuit board of the electronic equipment, and is used for accommodating an electronic component, including: an insulating body and a plurality of conductive terminals accommodated in the insulating body, wherein the insulating The main body is provided with a receiving space, and the receiving space is provided with a holding groove, and the conductive terminal is provided with a holding part, and the holding part is provided with a number of bumps which interfere with the holding groove of the insulating body, and the conductive terminal and the insulating body The electrical connector is clamped and fitted in the way of barb interference; the electrical connector further includes a shielding body assembled on the insulating body, and the electronic components are accommodated in the shielding body, wherein the insulating body is provided with a receiving groove, and the lower bottom edge of the shielding body is provided with A plurality of holding parts, the holding parts are provided with a number of barbs to interfere with the receiving groove of the insulating body, and the shielding body and the insulating body are installed and fitted in the way of interference barbs.
与现有技术相比,本实用新型具有以下优点:端子与绝缘本体、遮蔽体与绝缘本体之间,采用倒刺干涉的方式安装组合,定位可靠,结构简单。Compared with the prior art, the utility model has the following advantages: between the terminal and the insulating body, and between the shielding body and the insulating body, barb interference is used to install and assemble, the positioning is reliable, and the structure is simple.
【附图说明】【Description of drawings】
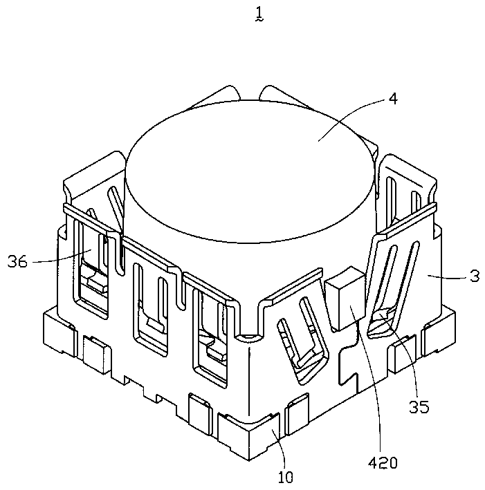
图1是本实用新型电连接器的立体组合图。Fig. 1 is a three-dimensional assembled view of the electrical connector of the present invention.
图2是本实用新型电连接器的立体分解图。Fig. 2 is a three-dimensional exploded view of the electrical connector of the present invention.
图3是本实用新型电连接器另一角度的立体组合图。Fig. 3 is a three-dimensional assembled view of another angle of the electric connector of the present invention.
图4是本实用新型电连接器另一角度的立体分解图。Fig. 4 is a three-dimensional exploded view from another angle of the electrical connector of the present invention.
图5是本实用新型电连接器的部分立体组合图。Fig. 5 is a partial three-dimensional assembled view of the electrical connector of the present invention.
【具体实施方式】【Detailed ways】
请参阅图1至图5所示,本实用新型公开了一种电连接器1,用以收容电子元件(在本实施方式中,该电子元件为照相机模组4),主要包括绝缘本体10、组设于绝缘本体10内的若干导电端子2及遮蔽体3,其中,绝缘本体10为一矩形平板状结构,遮蔽体3组装于绝缘本体10上,而照相机模组4则收容于遮蔽体3的收容空间内。1 to 5, the utility model discloses an
绝缘本体10为矩形平板状结构,其中间位置处对称设有若干端子收容空间12,每一端子收容空间12上设有卡持槽120,且在绝缘本体10的四周侧边缘位置处设有用以与遮蔽体3相卡持固定的T形收容槽14。The
导电端子2包括一主体部21、由该主体部21一端向上弯折延伸的弹性部22及设于该弹性部22自由端且位于主体部21上方的接触部23。该导电端子2还包括一位于主体部21另一端,与绝缘本体之卡持槽120相对应呈竖直设置的卡持部24,及用以连接主体部21与卡持部24的连接部25,其中该卡持部24呈平面板状结构,在其侧壁上设有若干凸点240,以与绝缘本体之卡持槽120的内壁干涉固持;连接部25上设有两凸出的平面26,用以焊接时与绝缘本体10底面靠齐,提升整体产品端子的共平面度。The
遮蔽体3为一金属板一体冲压成型弯折而成,其包括一本体片31、自本体片两侧弯折的相对侧壁片32、与主体片31相对设置的结合片33。其中侧壁32上设有接地弹片35及用以固持摄像机模组4,并使其易于取放的卡持弹片36,主体片31及结合片33上亦设有接地弹片35,且在结合片上还设有用以定位照相机模组的开口34。遮蔽体3四周面的上缘均设有向外翻折的导引部37,用以导引照相机模组4插入。另外,遮蔽体3四个侧壁的底端还设有若干用以与绝缘本体10的收容槽12相卡持的固持部38,及与绝缘本体10相匹配的剪切块39,其中固持部38的底端设有倒角,以便于导引插入到绝缘本体之卡持槽14中,而其两侧上亦设有若干倒刺,以与绝缘本体之卡持槽14相卡持固定,且剪切块39亦可使遮蔽体3的各端面在与绝缘本体10结合时以测试共面的效果。The
照相机模组4包括一基部41、位于基部41上面的柱状部42及位于基部41下面的底部43。基部41的侧壁上设有若干卡槽44,该卡槽44与遮蔽体3的卡持弹片36相卡合。柱状部42上设有一凸块420,用以与遮蔽体3侧壁上的开口34相卡合,从而起到防呆及定位的作用。底部43的底面上设有若干与导电端子2的接触部相接触导通的导电路径430。The
请参阅图1至图5所示,组装时,首先将导电端子2从绝缘本体10的底面自下而上插入到绝缘本体10的端子收容空间12中。所述导电端子2的卡持部24收容于端子收容空间12的卡持槽120内,该卡持部24的凸点240与卡持槽120相卡持固定,而弹性部22及接触部23则通过端子收容空间12延伸至绝缘本体10上表面之上,导电端子2的主体部21则抵靠于端子收容空间12的内壁,导电端子2的连接部25的凸出平面26与绝缘本体10底面靠齐,用以与电路板(未图示)或其它设备相焊接导通。其次,将遮蔽体3自上而下插入到绝缘本体10上,该遮蔽体3的固持部38插入到绝缘本体的收容槽14内,遮蔽体3固持部38的倒刺与该收容槽14卡持固定。然后,将照相机模组4自上而下插入到电连接器1内。插入时,首先将照相机模组4的凸块420对准遮蔽体3第一侧壁的开口34插入,由于遮蔽体3内设有若干卡持弹片36,该卡持弹片36同照相机模组4的卡槽44卡合,以防止照相机模组4从遮蔽体3中滑出;而接地弹片35则与照相机模组4的基部41相卡合,一方面可达到接地的功能,另一方面,亦可固持照相机模组4。插入后,照相机模组4底部43底表面上的导电路径430与设置在绝缘本体10端子收容空间12中的导电端子2的接触部23相电性连接。Please refer to FIG. 1 to FIG. 5 , when assembling, firstly insert the
该电连接器还可与一提取装置(未图示)配合使用,该提取装置是一体成型制造而成,其设有四个柱状部,可与照相机模组4的基部四个拐角相卡持扣合,用以将照相机模组4从遮蔽体3中取出。The electrical connector can also be used in conjunction with an extraction device (not shown), the extraction device is manufactured in one piece, and it is provided with four columnar parts, which can be clamped with the four corners of the base of the
Claims (10)
Priority Applications (1)
| Application Number | Priority Date | Filing Date | Title |
|---|---|---|---|
| CN 200420024678 CN2699537Y (en) | 2004-02-13 | 2004-02-13 | Electric connector |
Applications Claiming Priority (1)
| Application Number | Priority Date | Filing Date | Title |
|---|---|---|---|
| CN 200420024678 CN2699537Y (en) | 2004-02-13 | 2004-02-13 | Electric connector |
Publications (1)
| Publication Number | Publication Date |
|---|---|
| CN2699537Y true CN2699537Y (en) | 2005-05-11 |
Family
ID=34770826
Family Applications (1)
| Application Number | Title | Priority Date | Filing Date |
|---|---|---|---|
| CN 200420024678 Expired - Fee Related CN2699537Y (en) | 2004-02-13 | 2004-02-13 | Electric connector |
Country Status (1)
| Country | Link |
|---|---|
| CN (1) | CN2699537Y (en) |
Cited By (2)
| Publication number | Priority date | Publication date | Assignee | Title |
|---|---|---|---|---|
| CN100524955C (en) * | 2004-10-07 | 2009-08-05 | 莫莱克斯公司 | Socket for digital camera module |
| US7699619B2 (en) | 2005-01-31 | 2010-04-20 | Molex Incorporated | Socket for camera module |
-
2004
- 2004-02-13 CN CN 200420024678 patent/CN2699537Y/en not_active Expired - Fee Related
Cited By (2)
| Publication number | Priority date | Publication date | Assignee | Title |
|---|---|---|---|---|
| CN100524955C (en) * | 2004-10-07 | 2009-08-05 | 莫莱克斯公司 | Socket for digital camera module |
| US7699619B2 (en) | 2005-01-31 | 2010-04-20 | Molex Incorporated | Socket for camera module |
Similar Documents
| Publication | Publication Date | Title |
|---|---|---|
| CN2737016Y (en) | Electric connector | |
| CN100399637C (en) | electrical connector | |
| US7534140B2 (en) | Electrical connector with improved metal spring | |
| US7635276B1 (en) | Electrical connector | |
| CN201285822Y (en) | Electric connector | |
| CN2800559Y (en) | Electric connector | |
| CN2840371Y (en) | Electric connector | |
| CN2916996Y (en) | electrical connector | |
| US7988477B1 (en) | Electrical connector having contacts with multiple mating portions in different direction | |
| CN2699537Y (en) | Electric connector | |
| CN2800590Y (en) | Electric connector | |
| CN2809967Y (en) | Electric connector | |
| US8574009B2 (en) | Compact electrical connector | |
| CN207098149U (en) | Board-to-board electric connector assembly and socket connector and plug connector thereof | |
| CN2874868Y (en) | Module electric connector | |
| CN2697895Y (en) | Socket connector | |
| CN202076644U (en) | Card connector | |
| CN2687894Y (en) | Electric connector | |
| CN2736972Y (en) | Electric connector | |
| US12327944B2 (en) | Connector assembly with higher space utilization | |
| CN2736998Y (en) | Socket connector | |
| CN2718840Y (en) | Electric connector | |
| CN202076643U (en) | Card connector | |
| CN101752763B (en) | battery connector | |
| CN200941494Y (en) | Electrical connectors and their components |
Legal Events
| Date | Code | Title | Description |
|---|---|---|---|
| C14 | Grant of patent or utility model | ||
| GR01 | Patent grant | ||
| C17 | Cessation of patent right | ||
| CF01 | Termination of patent right due to non-payment of annual fee |
Granted publication date: 20050511 Termination date: 20100213 |
