CN2502685Y - Multifunctional adjustable legs support - Google Patents
Multifunctional adjustable legs support Download PDFInfo
- Publication number
- CN2502685Y CN2502685Y CN 01250751 CN01250751U CN2502685Y CN 2502685 Y CN2502685 Y CN 2502685Y CN 01250751 CN01250751 CN 01250751 CN 01250751 U CN01250751 U CN 01250751U CN 2502685 Y CN2502685 Y CN 2502685Y
- Authority
- CN
- China
- Prior art keywords
- heart
- far away
- trocar sheath
- expansion link
- entocentric
- Prior art date
- Legal status (The legal status is an assumption and is not a legal conclusion. Google has not performed a legal analysis and makes no representation as to the accuracy of the status listed.)
- Expired - Fee Related
Links
- 238000004659 sterilization and disinfection Methods 0.000 abstract description 7
- 238000001804 debridement Methods 0.000 abstract description 4
- 238000001356 surgical procedure Methods 0.000 abstract description 4
- 230000001105 regulatory effect Effects 0.000 abstract 4
- 210000003141 lower extremity Anatomy 0.000 description 8
- 210000003414 extremity Anatomy 0.000 description 4
- 238000000034 method Methods 0.000 description 3
- 230000001954 sterilising effect Effects 0.000 description 3
- 208000027418 Wounds and injury Diseases 0.000 description 2
- 239000011230 binding agent Substances 0.000 description 1
- 210000000988 bone and bone Anatomy 0.000 description 1
- 238000005516 engineering process Methods 0.000 description 1
- 208000014674 injury Diseases 0.000 description 1
- 238000009434 installation Methods 0.000 description 1
- 239000000463 material Substances 0.000 description 1
- 230000002035 prolonged effect Effects 0.000 description 1
- 238000007665 sagging Methods 0.000 description 1
- 210000003752 saphenous vein Anatomy 0.000 description 1
- 229910001220 stainless steel Inorganic materials 0.000 description 1
- 239000010935 stainless steel Substances 0.000 description 1
- 239000000725 suspension Substances 0.000 description 1
- 230000008733 trauma Effects 0.000 description 1
Images
Landscapes
- Surgical Instruments (AREA)
Abstract
A multipurpose adjustable ground jack resolves the problem of present heavy workload of debridement and disinfection of surgery, instability of the affected limb or the disordered arms and the long time in the surgery and comprises a connection bar, an entocentric outer thimble, an entocentric telescopic link, a telecentric outer thimble, a telecentric telescopic link and an arc-shaped buffer strip; the adjacent ends of the connection bar and the entocentric outer thimble have a cardo gear integrated with the connection bar and the entocentric outer thimble respectively and the two cardo gears are connected through regulating screws of the cardo gears; one end of the entocentric telescopic link is inserted in the interior of the entocentric outer thimble, the connection of which is tightened by the regulating screws; the other end of the entocentric telescopic link and the adjacent end of the telecentric outer thimble have a cardo gear integrated with the entocentric telescopic link and the telecentric outer thimble and the two cardo gears are connected through the regulating screws of the cardo gears; the telecentric telescopic link is inserted in the other end of the telecentric outer thimble and the telecentric telescopic link and the telecentric outer thimble are tightened through the regulating screws. The multipurpose adjustable ground jack has the advantages of convenient demolition and disinfection and reduction of workload, the operative time and the burdens of patients.
Description
Technical field
This utility model belongs to a kind of medical apparatus and instruments, the multifunctional adjustable supporting rack that uses before particularly a kind of the operation.
Background technology
In surgery or burn operation, run into when the lower limb trauma patient carried out debridement, disinfection and implement operation, normal employing is manually lifted or the binder suspension method, not only workload is big to use this method, and trouble limb instability, increased the difficulty of operation, also prolonged the time of operation, returned patient and brought extra burden.
Summary of the invention
This utility model be to solve existing lower limb debridement, disinfection workload big, suffer from limb instability, the long problem of operating time, provide a kind of making to suffer from limb and stablize, reduce workload, shorten operating time, alleviate patient's burden and the dismounting multifunctional adjustable supporting rack easily of sterilizing.
Technical solution of the present utility model is that it is by connecting rod, nearly heart trocar sheath, nearly heart expansion link, heart trocar sheath far away, heart expansion link far away and arc supporting spring are formed, said connecting rod and nearly heart trocar sheath abutting end have one to be the joint gear of one with connecting rod and nearly heart trocar sheath respectively, be processed with intermeshing radial tooth on the opposite face of two joint gears, adjusting screw by the joint gear between two joint gears links to each other, said nearly heart expansion link one end is inserted in the nearly heart trocar sheath and is fastening by adjusting screw therebetween, the abutting end of the other end of nearly heart expansion link and heart trocar sheath far away has one to be the joint gear of one with nearly heart expansion link and heart trocar sheath far away respectively, be processed with intermeshing radial tooth on the opposite face of two joint gears, adjusting screw by the joint gear between two joint gears links to each other, said heart expansion link far away is inserted into the other end of heart trocar sheath far away, and fastening by adjusting screw between heart expansion link far away and the heart trocar sheath far away.
The utility model has the advantages that by adjusting screw and can adjust the collapsing length of nearly heart expansion link or heart expansion link far away arbitrarily with suitable mutually with patient's lower limbs length, adjust angle and the height that screw can be adjusted this supporting rack by the joint gear, and till can transferring to patient comfort according to the operation demand by the patient; Because this supporting rack is a fabricated structure, the dismounting sterilization is convenient.Use this multi-functional supporting rack, the nurse carry out disinfection scrub the shank wound surface in, the doctor can brush platform preparation on hand, and this multi-functional supporting rack can be pulled down in the operation process and sterilize, in order to reuse, thereby reduced medical personnel workload, shortened operating time, and alleviated patient's burden.
Description of drawings
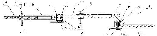
Fig. 1 is an axonometric drawing of the present utility model;
Fig. 2 is the structural representation after this utility model launches;
Fig. 3 is a joint gear teeth face structural representation in this utility model;
Fig. 4 is an A-A profile among Fig. 2;
Fig. 5 is a B-B cutaway view Amplified image among Fig. 2.
The specific embodiment
As shown in the figure, this utility model is by the connecting rod 1 that adopts stainless steel material to make, nearly heart trocar sheath 7, nearly heart expansion link 10, heart trocar sheath 16 far away, heart expansion link 19 far away and be welded on nearly heart trocar sheath 7 respectively, arc supporting spring 20 on heart trocar sheath 16 far away and the heart expansion link 19 far away is formed, said connecting rod 1 and nearly heart trocar sheath 7 abutting ends have respectively one with connecting rod 1 and closely heart trocar sheath 7 be the joint gear 4 of one, 6, two joint gears 4, be processed with intermeshing radial tooth 21 on 6 the opposite face, two joint gears 4, adjusting screw 3 by the joint gear between 6 links to each other, on joint gear adjustment screw 3, sleeve pipe 5 is housed also, said sleeve pipe 5 is placed on joint gear 4, on the ladder on 6 surfaces, said nearly heart expansion link 10 1 ends be inserted in the nearly heart trocar sheath 7 and therebetween by be installed on nearly heart trocar sheath 7 tube walls and the adjustment screw 9 that withstands on nearly heart expansion link 10 outer walls fastening, the abutting end of the other end of said nearly heart expansion link 10 and heart trocar sheath 16 far away has one respectively with closely heart expansion link 10 and heart trocar sheath 16 far away are the joint gear 11 of one, 13, joint gear 11, be processed with intermeshing radial tooth on 13 the opposite face respectively, two joint gears 11, adjusting screw 15 by the joint gear between 13 connects, and the joint gear is adjusted on the screw 15 sleeve pipe 12 is housed, sleeve pipe 12 is placed on joint gear 11, on the ladder on 13 surfaces, said heart expansion link 19 far away is inserted into the other end of heart trocar sheath 16 far away, and between heart expansion link 19 far away and the heart trocar sheath 16 far away by be installed on heart trocar sheath 16 tube walls far away and the adjustment screw 18 that withstands on heart expansion link 19 outer walls far away fastening, adjusting screw 3,9,15, a through hole is arranged respectively on 18 the nut, in described through hole, be fitted with rocking bar 2 respectively, 8,14,17, so that move corresponding adjustment screw, adjust the length and the angle of this multifunctional adjustable supporting rack.
When actual installation, connecting rod 1 in this multifunctional adjustable supporting rack is contained in the chute on the operation table and fastening by screw, adjust nearly heart expansion link 10, heart expansion link 19 collapsing lengths far away by adjusting screw 9,18, with suitable mutually with the length of patient's lower limbs; The patient adjusts the angle that screw 3,15 is adjusted these supporting racks according to the operation demand by the joint gear, again with immobilization of the wounded limb on this supporting rack of modulated good angle till the patient comfort.This supporting rack is adjusted to and makes lower limb be in the level position, is used for fractures of multiple bones of lower limb more; Be adjusted to and make shank sagging, can be placed directly in the debridement cycle, be used for the shank wound more; Be adjusted to and make that lower limb are unsettled to be raised arbitrarily angledly, be used for taking raise more and get the sterilization or the burn of great saphenous vein or lower extremity surgery and cut crust skin-grafting patient.
Claims (2)
1, a kind of multifunctional adjustable supporting rack, by connecting rod, nearly heart trocar sheath, nearly heart expansion link, heart trocar sheath far away, heart expansion link far away and arc supporting spring are formed, it is characterized in that, said connecting rod and nearly heart trocar sheath abutting end have one to be the joint gear of one with connecting rod and nearly heart trocar sheath respectively, be processed with intermeshing radial tooth on the opposite face of two joint gears, and adjusting screw by the joint gear between two joint gears links to each other, said nearly heart expansion link one end is inserted in the nearly heart trocar sheath and is fastening by adjusting screw therebetween, the abutting end of the other end of nearly heart expansion link and heart trocar sheath far away has one to be the joint gear of one with nearly heart expansion link and heart trocar sheath far away respectively, be processed with intermeshing radial tooth on the opposite face of two joint gears, and adjusting screw by the joint gear between two joint gears links to each other, said heart expansion link far away is inserted into the other end of heart trocar sheath far away, and fastening by adjusting screw between heart expansion link far away and the heart trocar sheath far away.
2, multifunctional adjustable supporting rack according to claim 1 is characterized in that, adjusts on the screw at the joint gear sleeve pipe is housed, and said sleeve pipe is placed on the ladder of two continuous joint gear surfaces.
Priority Applications (1)
| Application Number | Priority Date | Filing Date | Title |
|---|---|---|---|
| CN 01250751 CN2502685Y (en) | 2001-09-17 | 2001-09-17 | Multifunctional adjustable legs support |
Applications Claiming Priority (1)
| Application Number | Priority Date | Filing Date | Title |
|---|---|---|---|
| CN 01250751 CN2502685Y (en) | 2001-09-17 | 2001-09-17 | Multifunctional adjustable legs support |
Publications (1)
| Publication Number | Publication Date |
|---|---|
| CN2502685Y true CN2502685Y (en) | 2002-07-31 |
Family
ID=33660837
Family Applications (1)
| Application Number | Title | Priority Date | Filing Date |
|---|---|---|---|
| CN 01250751 Expired - Fee Related CN2502685Y (en) | 2001-09-17 | 2001-09-17 | Multifunctional adjustable legs support |
Country Status (1)
| Country | Link |
|---|---|
| CN (1) | CN2502685Y (en) |
Cited By (1)
| Publication number | Priority date | Publication date | Assignee | Title |
|---|---|---|---|---|
| CN102973322A (en) * | 2012-10-23 | 2013-03-20 | 冯大鹏 | Palm rest fixing support for radial artery puncture |
-
2001
- 2001-09-17 CN CN 01250751 patent/CN2502685Y/en not_active Expired - Fee Related
Cited By (2)
| Publication number | Priority date | Publication date | Assignee | Title |
|---|---|---|---|---|
| CN102973322A (en) * | 2012-10-23 | 2013-03-20 | 冯大鹏 | Palm rest fixing support for radial artery puncture |
| CN102973322B (en) * | 2012-10-23 | 2014-11-19 | 冯大鹏 | Palm rest fixing support for radial artery puncture |
Similar Documents
| Publication | Publication Date | Title |
|---|---|---|
| CN109718039A (en) | A kind of Orthopaedic nursing limb support | |
| CN204501489U (en) | Through left side radial artery intervene operation arm fixed mount | |
| CN2502685Y (en) | Multifunctional adjustable legs support | |
| CN2194171Y (en) | Extendible slide frame for supporting quilt | |
| CN209916825U (en) | Controllable-pressure continuous negative-pressure drainage device for orthopedic nursing | |
| CN201404399Y (en) | Limb traction-lifting bracket | |
| CN2528400Y (en) | Bar-interlink articular orthotast | |
| CN211512519U (en) | Adjustable limb bracket for nursing of hand surgery for sickbed | |
| CN211704964U (en) | Lower limb traction reduction device | |
| CN208355576U (en) | A kind of ophthalmologic operation auxiliary device | |
| CN2770594Y (en) | Foot orthopedic external fixer | |
| CN210494522U (en) | Knee joint replacement operation auxiliary stand | |
| CN210077619U (en) | Oral cavity supporting forceps | |
| CN218572457U (en) | An angle-adjustable orthopedic joint hanger | |
| CN2399005Y (en) | Elevating support for supporting extremity | |
| CN2673363Y (en) | Lower limb arthrempyema converlescence instrument | |
| CN2320237Y (en) | Adjustable rest for lower limb | |
| CN222357730U (en) | A combined stent for wound dressing change | |
| CN220877228U (en) | External strutting arrangement of operation | |
| CN214049242U (en) | Orthopedic spine correction device | |
| CN220213093U (en) | Auxiliary fixer for limb operation | |
| CN204951426U (en) | Orthopedics nursing device with illumination function | |
| CN209253071U (en) | A kind of Orthopaedic external fixator | |
| CN221578321U (en) | Unilateral external fixation support of orthopedics | |
| CN214018309U (en) | A general surgery clinical operation positioning device |
Legal Events
| Date | Code | Title | Description |
|---|---|---|---|
| C14 | Grant of patent or utility model | ||
| GR01 | Patent grant | ||
| C19 | Lapse of patent right due to non-payment of the annual fee | ||
| CF01 | Termination of patent right due to non-payment of annual fee |