CN2501293Y - Jujube gathering machine - Google Patents
Jujube gathering machine Download PDFInfo
- Publication number
- CN2501293Y CN2501293Y CN01264782.9U CN01264782U CN2501293Y CN 2501293 Y CN2501293 Y CN 2501293Y CN 01264782 U CN01264782 U CN 01264782U CN 2501293 Y CN2501293 Y CN 2501293Y
- Authority
- CN
- China
- Prior art keywords
- main cylinder
- fan
- jujube
- sorting funnel
- main
- Prior art date
- Legal status (The legal status is an assumption and is not a legal conclusion. Google has not performed a legal analysis and makes no representation as to the accuracy of the status listed.)
- Expired - Fee Related
Links
- 240000008866 Ziziphus nummularia Species 0.000 title claims 2
- 238000007599 discharging Methods 0.000 claims 1
- 239000012535 impurity Substances 0.000 claims 1
- 238000012856 packing Methods 0.000 claims 1
- 241001247821 Ziziphus Species 0.000 abstract description 20
- 239000002689 soil Substances 0.000 abstract description 10
- 238000002955 isolation Methods 0.000 abstract description 8
- 239000000428 dust Substances 0.000 abstract 1
- 239000002245 particle Substances 0.000 description 2
- 239000002985 plastic film Substances 0.000 description 2
- 241000196324 Embryophyta Species 0.000 description 1
- 230000009286 beneficial effect Effects 0.000 description 1
- 238000010586 diagram Methods 0.000 description 1
- 238000000034 method Methods 0.000 description 1
- 239000002699 waste material Substances 0.000 description 1
Images
Classifications
-
- Y—GENERAL TAGGING OF NEW TECHNOLOGICAL DEVELOPMENTS; GENERAL TAGGING OF CROSS-SECTIONAL TECHNOLOGIES SPANNING OVER SEVERAL SECTIONS OF THE IPC; TECHNICAL SUBJECTS COVERED BY FORMER USPC CROSS-REFERENCE ART COLLECTIONS [XRACs] AND DIGESTS
- Y02—TECHNOLOGIES OR APPLICATIONS FOR MITIGATION OR ADAPTATION AGAINST CLIMATE CHANGE
- Y02P—CLIMATE CHANGE MITIGATION TECHNOLOGIES IN THE PRODUCTION OR PROCESSING OF GOODS
- Y02P60/00—Technologies relating to agriculture, livestock or agroalimentary industries
- Y02P60/12—Technologies relating to agriculture, livestock or agroalimentary industries using renewable energies, e.g. solar water pumping
Landscapes
- Combined Means For Separation Of Solids (AREA)
- Harvesting Machines For Root Crops (AREA)
Abstract
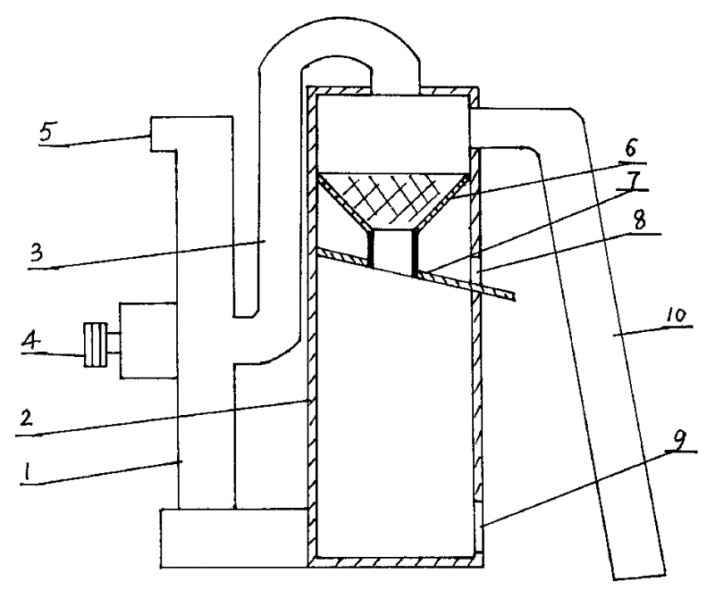
拾枣机,其包括有:风机(1)、主筒(2)等,风机(1)侧面联接皮带轮(4),风机(1)外开有一排杂物口(5),风机(1)通过吸风管(3)与主筒(2)联通,主筒(2)内腔中上部固定联接一带有网眼的分选漏斗(6),分选漏斗(6)下方固定有一倾斜的隔离板(7),隔离板(7)底沿处的筒壁上开有排土口(8),分选漏斗(6)下端开口与主筒(2)下部容腔联通,主筒(2)下端有一装枣门(9),主筒(2)上部联通一拾枣管(10)。由外部拖拉机提供动力,风机(1)运转使主筒(2)产生负压,拾枣管(10)吸收散落地上的枣,由分选漏斗(6)下端开口落入主筒(2)下部;尘土由网眼落于隔离板(7)上并由排土口(8)排出;树叶由吸风管(3)进入风机(1)从其排杂物口(5)处排出,节省劳动力,提高工作效率。
The jujube picking machine includes: fan (1), main cylinder (2), etc., the side of the fan (1) is connected with a pulley (4), the fan (1) has a row of debris ports (5), the fan (1) The suction pipe (3) communicates with the main cylinder (2), and the upper part of the inner cavity of the main cylinder (2) is fixedly connected with a sorting funnel (6) with a mesh, and an inclined isolation plate is fixed under the sorting funnel (6) (7), there is a soil discharge port (8) on the cylinder wall at the bottom edge of the isolation plate (7), the opening at the lower end of the sorting funnel (6) communicates with the lower cavity of the main cylinder (2), and the lower end of the main cylinder (2) A jujube door (9) is provided, and the upper part of the main tube (2) is connected with a jujube picking pipe (10). Powered by an external tractor, the fan (1) operates to generate negative pressure in the main cylinder (2), and the jujube picking tube (10) absorbs scattered dates on the ground, and falls into the lower part of the main cylinder (2) through the opening at the lower end of the sorting funnel (6) ; Dust falls on the isolation plate (7) through the mesh and is discharged from the soil discharge port (8); the leaves enter the fan (1) through the suction pipe (3) and are discharged from the debris discharge port (5), saving labor and Improve work efficiency.
Description
(一)技术领域(1) Technical field
本实用新型属于一种农用机械,具体地系一种捡拾散枣的机器。The utility model belongs to an agricultural machine, in particular to a machine for picking up loose jujubes.
(二)背景技术(2) Background technology
在现有技术中,鲜枣到了收获季节,人们用长杆将树上的成熟枣打落掉地,再一粒一粒地捡拾到容器中。有的是在树底下铺设一大块塑料布,打落的枣和树叶在塑料布上再经过手工分离处理后,放入容器中。这两种捡拾散枣的方式都很原始,浪费劳动力,工作效率低。In the prior art, when fresh jujubes are harvested, people use long poles to knock off the mature jujubes on the tree, and then pick them up in containers one by one. What have is to lay a large piece of plastic sheet under the tree, and the fallen dates and leaves are separated by hand on the plastic sheet and then put into the container. These two kinds of modes of picking up loose jujube are all very primitive, waste labor, and work efficiency is low.
(三)发明内容(3) Contents of the invention
本实用新型之目的,在于提供一种拾枣机,其可以将散落于地上的枣收拾起来,除掉杂土和树叶,放入容器中,节省劳动力,提高工作效率。The purpose of this utility model is to provide a jujube picking machine, which can pick up the jujubes scattered on the ground, remove the miscellaneous soil and leaves, and put them into the container, so as to save labor and improve work efficiency.
为达到上述之目的,本实用新型采取的技术方案是:本实用新型包括有风机、主筒等,风机侧面联接皮带轮,风机外开有一排杂物口,风机通过吸风管与主筒联通,主筒内腔中上部固定联接一带有网眼的分选漏斗,分选漏斗下方固定有一倾斜的隔离板,隔离板底沿处的筒壁上开有排土口,分选漏斗下端开口与主筒下部容腔联通,主筒下端有一装枣门,主筒上部联通一拾枣管。In order to achieve the above purpose, the technical solution adopted by the utility model is: the utility model includes a fan, a main cylinder, etc., the side of the fan is connected with a pulley, and a row of sundries is opened outside the fan, and the fan communicates with the main cylinder through a suction pipe. A sorting funnel with a mesh is fixedly connected to the upper part of the inner cavity of the main cylinder. An inclined isolation plate is fixed below the sorting funnel. There is a soil discharge port on the cylinder wall at the bottom edge of the isolation plate. The lower part of the cavity is connected, the lower end of the main cylinder has a jujube door, and the upper part of the main cylinder is connected with a jujube pipe.
本实用新型采取上述技术方案,具有以下有益效果:本实用新型适于安装在农用拖拉机上,风机由拖拉机提供动力,风机运转产生负压,使主筒上部的拾枣管产生较强的吸力,拾枣管可以将散落于地上的枣、树叶和杂土吸收到筒内,枣、树叶和杂土在分选漏斗处高速旋转,枣由分选漏斗口落入主筒下部,树叶和杂草等轻浮物通过吸风管由风机排出,土粒通过分选漏斗网眼筛选落于隔离板上并由排土口排出。落到主筒下部的枣达到一定量时,可打开装枣门,将枣装入麻袋等容器中。本实用新型不但能通过机械将散枣收入容器中,而且能将杂物、土粒排掉,方便实用,提高了工作效率。The utility model adopts the above-mentioned technical scheme, and has the following beneficial effects: the utility model is suitable for being installed on an agricultural tractor, the fan is powered by the tractor, and the operation of the fan generates a negative pressure, which makes the jujube picking tube on the upper part of the main cylinder generate stronger suction, The jujube picking tube can absorb the dates, leaves and miscellaneous soil scattered on the ground into the cylinder. The dates, leaves and miscellaneous soil rotate at a high speed at the sorting funnel, and the jujubes fall from the mouth of the sorting funnel into the lower part of the main cylinder. The leaves and weeds The frivolous matter is discharged by the fan through the suction pipe, and the soil particles are screened and dropped on the isolation plate through the mesh of the sorting funnel and discharged from the soil discharge port. When the jujubes falling to the lower part of the main cylinder reach a certain amount, the jujube loading door can be opened, and the jujubes can be put into containers such as sacks. The utility model can not only collect loose jujubes into the container through machinery, but also can discharge sundries and soil particles, is convenient and practical, and improves work efficiency.
(四)附图说明(4) Description of drawings
图1为本实用新型结构简图。Fig. 1 is a schematic diagram of the structure of the utility model.
(五)具体实施方式(5) Specific implementation methods
由图1可以看出:本实用新型包括有风机1、主筒2、吸风管3等,风机1侧面联接皮带轮4,皮带轮4与拖拉机动力联接,风机1由吸风管3与主筒2联通,风机1外开有排杂物口5,主筒2内腔中上部固定联接一带有网眼的分选漏斗6,分选漏斗6下方固定有一倾斜的隔离板7,隔离板7底沿处的筒壁上开有排土口8,分选漏斗6下端开口与主筒2下部容腔联通,主筒2下端有一装枣门9,主筒2上部联通一拾枣管10。As can be seen from Figure 1: the utility model includes a fan 1, a
Claims (1)
Priority Applications (1)
| Application Number | Priority Date | Filing Date | Title |
|---|---|---|---|
| CN01264782.9U CN2501293Y (en) | 2001-09-13 | 2001-09-13 | Jujube gathering machine |
Applications Claiming Priority (1)
| Application Number | Priority Date | Filing Date | Title |
|---|---|---|---|
| CN01264782.9U CN2501293Y (en) | 2001-09-13 | 2001-09-13 | Jujube gathering machine |
Publications (1)
| Publication Number | Publication Date |
|---|---|
| CN2501293Y true CN2501293Y (en) | 2002-07-24 |
Family
ID=33671940
Family Applications (1)
| Application Number | Title | Priority Date | Filing Date |
|---|---|---|---|
| CN01264782.9U Expired - Fee Related CN2501293Y (en) | 2001-09-13 | 2001-09-13 | Jujube gathering machine |
Country Status (1)
| Country | Link |
|---|---|
| CN (1) | CN2501293Y (en) |
Cited By (11)
| Publication number | Priority date | Publication date | Assignee | Title |
|---|---|---|---|---|
| CN102550219A (en) * | 2011-12-22 | 2012-07-11 | 严积业 | Red date picking machine |
| CN103081650A (en) * | 2013-02-25 | 2013-05-08 | 重庆宗申通用动力机械有限公司 | Fruit picking machine |
| CN103348820A (en) * | 2013-07-26 | 2013-10-16 | 华南农业大学 | Litchi dropped fruit picking machine |
| CN103583160A (en) * | 2013-10-24 | 2014-02-19 | 张朝军 | Mechanical negative pressure sucking pipe fruit picking and sorting machine |
| CN103749095A (en) * | 2014-01-20 | 2014-04-30 | 重庆宗申通用动力机械有限公司 | Fruit picker |
| CN104170586A (en) * | 2014-08-22 | 2014-12-03 | 安新辉 | Separating type red date harvesting machine |
| CN104718895A (en) * | 2015-03-05 | 2015-06-24 | 安徽古德纳克科技股份有限公司 | Fruit picking machine |
| CN104855051A (en) * | 2015-05-21 | 2015-08-26 | 安新辉 | Separating type machine for picking up red dates falling on ground |
| CN104888380A (en) * | 2015-05-13 | 2015-09-09 | 西安科技大学 | Rapid rescue device for people buried due to soil collapse |
| CN107537775A (en) * | 2017-08-24 | 2018-01-05 | 辽宁健德电动环卫车辆科技有限公司 | A kind of Rose Box of grain dirt piece-rate system |
| CN108496572A (en) * | 2018-06-12 | 2018-09-07 | 湖北第二师范学院 | A kind of portable Chinese date picks up separating device |
-
2001
- 2001-09-13 CN CN01264782.9U patent/CN2501293Y/en not_active Expired - Fee Related
Cited By (16)
| Publication number | Priority date | Publication date | Assignee | Title |
|---|---|---|---|---|
| CN102550219A (en) * | 2011-12-22 | 2012-07-11 | 严积业 | Red date picking machine |
| CN103081650A (en) * | 2013-02-25 | 2013-05-08 | 重庆宗申通用动力机械有限公司 | Fruit picking machine |
| CN103348820A (en) * | 2013-07-26 | 2013-10-16 | 华南农业大学 | Litchi dropped fruit picking machine |
| CN103348820B (en) * | 2013-07-26 | 2016-08-24 | 华南农业大学 | A kind of litchi dropped fruit picking machine |
| CN103583160A (en) * | 2013-10-24 | 2014-02-19 | 张朝军 | Mechanical negative pressure sucking pipe fruit picking and sorting machine |
| CN103583160B (en) * | 2013-10-24 | 2015-08-05 | 张朝军 | Motor driven negative pressure straw fruit thing picks up separator |
| CN103749095A (en) * | 2014-01-20 | 2014-04-30 | 重庆宗申通用动力机械有限公司 | Fruit picker |
| CN104170586B (en) * | 2014-08-22 | 2016-04-20 | 安新辉 | Separate type red date reaping machine |
| CN104170586A (en) * | 2014-08-22 | 2014-12-03 | 安新辉 | Separating type red date harvesting machine |
| CN104718895A (en) * | 2015-03-05 | 2015-06-24 | 安徽古德纳克科技股份有限公司 | Fruit picking machine |
| CN104888380B (en) * | 2015-05-13 | 2017-08-25 | 西安科技大学 | A kind of Quick rescue device for cause personnel burial of being caved in for the soil body |
| CN104888380A (en) * | 2015-05-13 | 2015-09-09 | 西安科技大学 | Rapid rescue device for people buried due to soil collapse |
| CN104855051A (en) * | 2015-05-21 | 2015-08-26 | 安新辉 | Separating type machine for picking up red dates falling on ground |
| CN107537775A (en) * | 2017-08-24 | 2018-01-05 | 辽宁健德电动环卫车辆科技有限公司 | A kind of Rose Box of grain dirt piece-rate system |
| CN108496572A (en) * | 2018-06-12 | 2018-09-07 | 湖北第二师范学院 | A kind of portable Chinese date picks up separating device |
| CN108496572B (en) * | 2018-06-12 | 2023-03-10 | 湖北第二师范学院 | A portable jujube picking and sorting device |
Similar Documents
| Publication | Publication Date | Title |
|---|---|---|
| CN2501293Y (en) | Jujube gathering machine | |
| CN203482643U (en) | Negative-pressure-type red date picking machine | |
| CN209144729U (en) | A kind of gardens leaf processing unit | |
| CN203793667U (en) | Grain collecting machine | |
| CN201135037Y (en) | Cotton Picking and Distributing Device and Air Cotton Picker | |
| CN207756489U (en) | A kind of airflow type grain cleaner | |
| CN108824310A (en) | It is a kind of for cleaning the device of chinampa | |
| CN203661624U (en) | Suction type walnut and red date picking machine | |
| CN208228908U (en) | A kind of family's electric vacuum cleaner with crushing sundries function | |
| CN210973065U (en) | Grain collection device | |
| CN108176160B (en) | Dust remover for grain collection vehicle and operation method thereof | |
| CN206842247U (en) | A kind of gardens garbage recovery device | |
| CN201755198U (en) | Robot system | |
| CN206295719U (en) | A kind of adjustable intake is easy to row to collect the deduster of dirt | |
| CN2665206Y (en) | Electric vacuum cleaning vehicle | |
| CN214077849U (en) | Destoner is used in wheat processing | |
| CN110523516B (en) | Hand-held fallen leaf collecting, crushing and briquetting machine | |
| CN214194320U (en) | Special garrulous grass fallen leaves cleaning device in gardens | |
| CN208454023U (en) | A kind of rubbish reception system | |
| CN214716925U (en) | Gardens discarded object selects separately breaker | |
| CN206969723U (en) | The poly- grain machine of negative suction solar energy | |
| CN219098080U (en) | Collecting device for granular crop airing | |
| CN209352217U (en) | A kind of abandoned biomass culture medium packing bag separates and collects device | |
| CN213638932U (en) | Inhale formula red date collection device | |
| CN202335240U (en) | Hanging wind suction comb plate cotton picker |
Legal Events
| Date | Code | Title | Description |
|---|---|---|---|
| C14 | Grant of patent or utility model | ||
| GR01 | Patent grant | ||
| C19 | Lapse of patent right due to non-payment of the annual fee | ||
| CF01 | Termination of patent right due to non-payment of annual fee |
