CN2309626Y - 改良的汇流串列埠连接器的端子 - Google Patents
改良的汇流串列埠连接器的端子 Download PDFInfo
- Publication number
- CN2309626Y CN2309626Y CN 97221072 CN97221072U CN2309626Y CN 2309626 Y CN2309626 Y CN 2309626Y CN 97221072 CN97221072 CN 97221072 CN 97221072 U CN97221072 U CN 97221072U CN 2309626 Y CN2309626 Y CN 2309626Y
- Authority
- CN
- China
- Prior art keywords
- terminal
- wire connection
- end surface
- positioning
- sides
- Prior art date
- Legal status (The legal status is an assumption and is not a legal conclusion. Google has not performed a legal analysis and makes no representation as to the accuracy of the status listed.)
- Expired - Lifetime
Links
- 239000002184 metal Substances 0.000 claims abstract description 5
- 230000000903 blocking effect Effects 0.000 claims description 4
- 238000005452 bending Methods 0.000 abstract description 15
- 238000009434 installation Methods 0.000 description 4
- 230000006835 compression Effects 0.000 description 3
- 238000007906 compression Methods 0.000 description 3
- 238000010586 diagram Methods 0.000 description 3
- 244000261422 Lysimachia clethroides Species 0.000 description 2
- 230000000694 effects Effects 0.000 description 2
- 238000001125 extrusion Methods 0.000 description 2
- 238000011084 recovery Methods 0.000 description 2
- 241000272814 Anser sp. Species 0.000 description 1
- 238000004519 manufacturing process Methods 0.000 description 1
- 239000007769 metal material Substances 0.000 description 1
Images
Landscapes
- Connector Housings Or Holding Contact Members (AREA)
Abstract
一种改良的汇流串列埠连接器的端子,该端子由金属板成型一体,其包括一导线联接部、一定位部及一接触部,导线联接部的承接口与定位部及接触部的底端开口同向,使各部的两侧边壁彼此一体相连且向下突伸,以增加各部间的抗弯强度,防止端子插入连接器时弯曲变形,该端子定位部的顶端面向上弯曲形成一弹性挡片,该端子插入连接器时,弹性挡片弹性突伸于连接器的一定位穴中,其强度高,可防止弯曲变形。
Description
本实用新型涉及一种线路连接器,尤指一种端子的导线联接部、定位部以及接触部的两侧边壁一体连伸且朝同一方向突伸,以增加该端子的抗弯强度,避免安装时造成端子弯曲变形的改良的汇流串列埠连接器的端子。
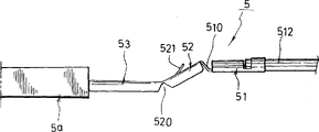
目前用于汇流串列埠连接器的端子结构,如图1-图3所示,该端子(5)是由金属板材一体冲压成型,包括有一导线联接部(51)、一定位部(52)以及一接触部(53);其中导线联接部(51)的两侧边壁(511)分别向上突伸以便在其内包夹紧固一导线(512),而该导线联接部(51)的外侧底缘向上斜伸一斜板(510)以联接该定位部(52);而上述定位部(52)的外端是与上述接触部(53)联结,且于定位部(52)的顶端向外斜伸一挡片(521),为了获得良好的导电性能,常使接触部(53)的断面呈一倒V形,而与定位部(52)的冂形断面不同,故在制作上常将定位部(52)及接触部(53)交界处的两侧壁上设有一凹穴(520)以易于制造。上述现有的端子结构存在如下缺点:
1、由于导线联接部(51)与定位部(52)的两侧边壁是呈不同方向相对突伸,使两者之间必须以一斜板(510)相联结,由于该斜板(510)甚薄(一般约使用0.3mm的厚度板材),故将该端子插装于连接器(5a)中时,若前方受一阻力,则极易使斜板(510)折弯,而产生变形,如图2所示。
2、由于现有的端子位于定位部(52)与接触部(53)的侧壁所形成的凹穴(520)中,在插入连接器端子时,如图2所示,由于受阻力的作用极易在该凹穴(520)处产生应力集中,而易造成断裂或弯曲现象,抗弯强度较差。
3、如图1、3所示,由于定位部(52)向上斜伸的挡片(521)是星一直板,且其厚度甚薄,因此无法提供一较佳的弹性回复力,当在安装使定位部(52)通过连接器(5a)的导槽(50)后,该挡片(521)即被导槽(50)压平无法再向上翘起伸入定位穴(501)中,而不能起到定位卡扣的作用。
本实用新型的目的在于提供一种改良的汇流串列埠连接器的端子,其可达到如下效果:
1、使该导线联接部与定位部及接触部的两侧边壁一体连伸且向同一方向突伸,以增加端子各部的抗弯强度,避免在安装时弯曲变形。
2、上述定位部的弹性挡片是呈一鹅颈式,自该定位部的顶端面弯曲向上斜伸,而具有较佳的弹性回复能力,除在安装插入连接器的导槽时更为省力外,亦可确保在安装定位后该弹性挡片能够弹性复位伸置于一定位穴中,以以使该端子定位。
为实现上述目的,本实用新型采取如下技术方案:
一种改良的汇流串列埠连接器的端子,该端子是由金属板材成型一体,其包括:一导线联接部,包括有一上端面,而于该上端面的两侧至少分别向下突伸一边壁,在该导线联接部中,借助两边壁包夹联接一导线,且与该导线呈导通状态;一定位部,包括有一顶端面,自该导线联接部的上端面向前一体延伸,并于该顶端面的两侧分别向下突伸一侧壁,且使各侧壁自导线联接部的两侧边壁一体连伸,另于该顶端面向上弹性突伸一弹性挡片;以及
一接触部,自该定位部的前端一体延伸,借助各部的两侧一体连伸且向下突伸的结构以避免端子弯曲变形。
本实用新型实施例结合附图详细说明如下:
图1是现有端子结构的立体示意图。
图2是现有端子在插入连接器形成弯曲变形的示意图。
图3是现有端子插入连接器内的示意图。
图4是本实用新型实施例的立体示意图。
图5是本实用新型实施例侧视部分剖视图。
图6是本实用新型实施例的仰视图。
图7是图6所示7-7方向的剖视图。
图8是图6所示8-8方向的剖视图。
图9显示本实用新型实施例插置于一连接器中的示意图。
请参阅图4-6,本实用新型实施例端子(100)由一导电金属板材一体冲压成型,包括:一导线联接部(1)、一定位部(2)以及一接触部(3);而使该导线联接部(1)的两侧边壁(12)、定位部(2)的两侧侧壁(22)以及接触部(3)的两斜壁(31)一体连伸且向下突伸,以增加该端子(100)的抗弯强度,避免在安装时弯曲变形。
本实用新型端子(100)在制作时,可用成卷的金属材料冲压制成,而成一具有众多端子的端子条带,待用导线(10)联接后,再将端子条带的联接段(100’)去除。
上述导线联接部(1)包括一上端面(11),而于该上端面(11)的两侧至少分别向下突伸一边壁(12),两边壁(12)间形成一承接口(120),以便在其内套合一导线(10),并借助两边壁(12)将该导线(10)紧密包夹在导线联接部(1)中,并使导线(10)的裸线部(10a)与该导线联接部(1)导通而成一电流通路;另如图6-8所示,本实用新型在上述导线联接部(1)的上端面(11)内侧还可凹设多个凹穴(111),当用两边壁(12)紧密包夹导线(10)时,使该导线(10)因受挤压变形而部分沉入该凹穴(111)中,使该导线(10)更为牢靠地被包夹于上述导线联接部(1)内,可避免因外力拉扯该导线(10)而向后从该导线联接部(1)中脱离。
本实用新型定位部(2)包括一顶端面(21),其自该导线联接部(1)的上端面(11)前端一体向前延伸,而于该顶端面(21)上冲压形成一鹅颈式的弹性挡片(211),使该弹性挡片(211)的末段斜向突出于该顶端面(21)的上方,另于该顶端面(21)的两侧分别向下延伸侧壁(22),且使各侧壁(22)自导线联接部(1)的两侧边壁(12)一体向前延伸。
如图5所示,由于上述定位部(2)的弹性挡片(211),是略呈一V字形状,自该顶端面(21)先向下沿伸后再弯曲向上斜伸,并使弹性挡片(211)的末段突出于该顶端面(21)的上方,这样,除在该弹性挡片(211)与顶端面(21)的连接处(211a)形成一弹性压缩支点外,在弹性挡片(211)底端的弯折处(211b)亦形成弹性压缩支点,以减缓压缩应力,增加其弹性极限,使本实用新型的端子(100)在安装插入连接器(4)的导槽(41)中后,该弹性挡片(211)虽经压缩但仍在弹性极限内,故当弹性挡片(211)移至对正于连接器(4)的一定位穴(42)后,即可弹性复位,使弹性挡片(211)末段突伸于定位穴(42)中,并顶靠定位穴(42)的穴壁,而将本实用新型端子(100)稳定地定位于连接器(4)中。
上述接触部(3),如图4所示,是自该定位部(2)的前端略呈一倒V形的断面向前延伸,而使两侧的斜壁(31)自定位部(2)的两侧侧壁(22)一体向前连伸;如果在组装时,上述接触部(3)与定位部(2)及导线联接部(1),即可借助其两侧一体延伸的斜壁(31)、侧壁(22)及边壁(12)的向下突伸、匡围,以防止受插入连接器(4)时的阻力而弯曲。
由于本实用新型的端子(100),其导线联接部(1)的两侧边壁(12)、定位部(2)的两侧侧壁(22)及接触部(3)的两侧斜壁(31)一体连伸且向下突伸,使本实用新型的各处断面约呈“冂”或“∧”形,故能有效提高其抗弯强度;且由于本实用新型导线联接部(1)与定位部(2)不存在现有技术中用斜壁薄板联结的结构,而是成形一体,故本实用新型抗弯强度优于现有端子的结构。
如图5、6所示,上述定位部(2)的顶端面(21)还可向下延伸一辅强肋(23),使该辅强肋(23)的底缘顶靠于定位部(2)两侧侧壁(22)底端所内缩形成的阻片(221),以增加该定位部(2)的强度。
综上所述,本实用新型的导线联接部、定位部及接触部是成型一体,且其两侧边壁、侧壁及斜壁也一体连伸且向下突伸,可有效增加本实用新型抗弯强度,其具有以下优点:
1、上述端子的各部在组装于连接器之中时,不会因受阻力而弯曲、变形。
2、本实用新型的定位部顶端面的弹性挡片,是呈一鹅颈式弹片,具有两弹性压缩支点,以使其更具有灵活的弹性,且增加其弹性极限,故除了使本实用新型在插入连接器时更为省力外,也避免因为挤压而产生永久变形的情况,使该弹性挡片在对正定位穴时,可弹性复位突伸于定位穴中,以使该端子定位。
Claims (3)
1、一种改良的汇流串列埠连接器的端子,其特征在于,该端子是由金属板材成型一体,其包括:
一导线联接部,包括有一上端面,而于该上端面的两侧至少分别向下突伸一边壁,在该导线联接部中,借助两边壁包夹联接一导线;
一定位部,包括有一顶端面,自该导线联接部的上端面向前一体延伸,并于该顶端面的两侧分别向下突伸一侧壁,且使各侧壁自导线联接部的两侧边壁一体连伸,另于该顶端面向上弹性突伸一弹性挡片;以及
一接触部,自该定位部的前端一体延伸。
2、根据权利要求1所述的改良的汇流串列埠连接器的端子,其特征在于,所述的定位部的弹性挡片,是自该顶端面向下延伸后再弯曲向上斜伸,且使该弹性挡片的末段突出于顶端面上方。
3、根据权利要求1所述的改良的汇流串列埠连接器的端子,其特征在于,所述的接触部是呈一倒V形的断面,其两侧的斜壁自定位部的两侧侧壁一体向前连伸。
Priority Applications (1)
| Application Number | Priority Date | Filing Date | Title |
|---|---|---|---|
| CN 97221072 CN2309626Y (zh) | 1997-07-09 | 1997-07-09 | 改良的汇流串列埠连接器的端子 |
Applications Claiming Priority (1)
| Application Number | Priority Date | Filing Date | Title |
|---|---|---|---|
| CN 97221072 CN2309626Y (zh) | 1997-07-09 | 1997-07-09 | 改良的汇流串列埠连接器的端子 |
Publications (1)
| Publication Number | Publication Date |
|---|---|
| CN2309626Y true CN2309626Y (zh) | 1999-03-03 |
Family
ID=33936568
Family Applications (1)
| Application Number | Title | Priority Date | Filing Date |
|---|---|---|---|
| CN 97221072 Expired - Lifetime CN2309626Y (zh) | 1997-07-09 | 1997-07-09 | 改良的汇流串列埠连接器的端子 |
Country Status (1)
| Country | Link |
|---|---|
| CN (1) | CN2309626Y (zh) |
Cited By (1)
| Publication number | Priority date | Publication date | Assignee | Title |
|---|---|---|---|---|
| CN109193225A (zh) * | 2018-08-01 | 2019-01-11 | 广州市槿泓电子有限公司 | 一种冲压端子连接器及冲压端子连接器组件 |
-
1997
- 1997-07-09 CN CN 97221072 patent/CN2309626Y/zh not_active Expired - Lifetime
Cited By (1)
| Publication number | Priority date | Publication date | Assignee | Title |
|---|---|---|---|---|
| CN109193225A (zh) * | 2018-08-01 | 2019-01-11 | 广州市槿泓电子有限公司 | 一种冲压端子连接器及冲压端子连接器组件 |
Similar Documents
| Publication | Publication Date | Title |
|---|---|---|
| CN1214490C (zh) | 电气端子 | |
| CN1799168A (zh) | 电连接器 | |
| CN1120251A (zh) | 阴型触头 | |
| JP2001043918A (ja) | 電気コネクタ | |
| CN103843199B (zh) | 端子 | |
| CN2309626Y (zh) | 改良的汇流串列埠连接器的端子 | |
| CN111755844A (zh) | 一种接线端子 | |
| JP3472696B2 (ja) | 端 子 | |
| CN2384326Y (zh) | 电脑电源供应器专用连接器包覆端子装置 | |
| US7361066B2 (en) | Terminal fitting and a blank therefor | |
| CN209822932U (zh) | 一种插拔式公端子接头、母端子接头及插拔式连接端子 | |
| JPS6348064Y2 (zh) | ||
| CN223273545U (zh) | 连接器插头冲压端子固定结构 | |
| CN108879149B (zh) | 易于装配的电连接器 | |
| JP4028804B2 (ja) | 接続端子 | |
| CN210006968U (zh) | 一种插拔式公端子接头、母端子接头及插拔式连接端子 | |
| CN221687821U (zh) | 一种连接器的端子装配结构 | |
| CN222802233U (zh) | 一种便于插装的插簧端子 | |
| CN221947505U (zh) | 一种压接式线对板连接器 | |
| US20200091642A1 (en) | Conductive terminal | |
| CN2410758Y (zh) | 零插入力电连接器 | |
| CN222300886U (zh) | 接线端子的接线框、接线端子及开关设备 | |
| CN2293128Y (zh) | 高密度连接器的改进型端子 | |
| CN223064090U (zh) | 光伏连接组件和光伏支架 | |
| CN2735576Y (zh) | 改进结构的公边连接器 |
Legal Events
| Date | Code | Title | Description |
|---|---|---|---|
| C14 | Grant of patent or utility model | ||
| GR01 | Patent grant | ||
| C17 | Cessation of patent right | ||
| CX01 | Expiry of patent term |