CN219342939U - Movable roadblock - Google Patents
Movable roadblock Download PDFInfo
- Publication number
- CN219342939U CN219342939U CN202320337927.9U CN202320337927U CN219342939U CN 219342939 U CN219342939 U CN 219342939U CN 202320337927 U CN202320337927 U CN 202320337927U CN 219342939 U CN219342939 U CN 219342939U
- Authority
- CN
- China
- Prior art keywords
- support column
- roadblock
- movable barrier
- barrier according
- bottom plate
- Prior art date
- Legal status (The legal status is an assumption and is not a legal conclusion. Google has not performed a legal analysis and makes no representation as to the accuracy of the status listed.)
- Active
Links
Images
Landscapes
- Refuge Islands, Traffic Blockers, Or Guard Fence (AREA)
Abstract
本实用新型涉及路障设施技术领域,提出一种可移动路障,包括底板,所述底板上表面安装有支撑柱,所述支撑柱外表面转动连接有防撞筒,所述底板底部下表面安装有车轮架,所述车轮架一侧安装有车轴,所述车轴外表面转动连接有车轮,所述底板上表面开设有第一螺纹孔,所述第一螺纹孔内部安装有螺纹钉;该装置通过在支撑柱外部转动安装防撞筒,可以使失控车辆在撞击路障时,防撞筒转动使之发生偏移,对车辆和人员进行保护,通过在底板底部安装车轮,可以使路障便于移动,通过在底板内部安装螺纹钉,可以便于对路障进行固定。
The utility model relates to the technical field of roadblock facilities, and proposes a movable roadblock, including a base plate, a support column is installed on the upper surface of the base plate, an anti-collision cylinder is rotatably connected to the outer surface of the support column, and a A wheel frame, an axle is installed on one side of the wheel frame, and the outer surface of the axle is rotatably connected to a wheel, and a first threaded hole is opened on the upper surface of the bottom plate, and a threaded nail is installed inside the first threaded hole; the device passes Rotate and install the anti-collision cylinder outside the support column, so that when the out-of-control vehicle hits the roadblock, the anti-collision cylinder rotates to make it shift, and protects the vehicle and personnel. By installing wheels at the bottom of the floor, the roadblock can be moved easily. Screw screws are installed inside the bottom plate, which can facilitate the fixing of the barricade.
Description
技术领域technical field
本实用新型涉及路障设施技术领域,具体地,涉及一种可移动路障。The utility model relates to the technical field of roadblock facilities, in particular to a movable roadblock.
背景技术Background technique
路障是指路中设置的的障碍物,传统的路障一般是笨重的拦网,路墩等,运输困难,使用不方便,不能随意携带,有些车辆遇到这些路障可以直接冲过去,形不成拦截作用。有些则采用绿化带或者是升降路障将道路隔成双向车道,绿化带的方式缺点是占用有限的道路面积,降低了道路的通行效率;在道路中,路障很容易被失控车辆撞击,现有路障不能对撞击车辆进行保护,甚至加重车辆损害层度。Roadblocks refer to the obstacles set up in the road. Traditional roadblocks are generally heavy blocks, road piers, etc., which are difficult to transport, inconvenient to use, and cannot be carried at will. Some vehicles can directly rush over these roadblocks without forming an interception effect. . Some use green belts or lifting roadblocks to divide the road into two-way lanes. The disadvantage of the green belt method is that it occupies a limited road area and reduces the traffic efficiency of the road; on the road, roadblocks are easily hit by out-of-control vehicles. The collision vehicle cannot be protected, and even the damage level of the vehicle will be aggravated.
专利号201711200489.7公布了一种可伸缩的路障,包括路障本体,所述的路障本体设于地表以下的凹槽内,所述的凹槽的深度略大于路障本体的高度;所述的路障本体上设有卡槽,所述的卡槽配合与凹槽内的卡扣,所述的卡扣为可伸缩的弹性设计,所述的路障本体上设有多节LED灯显示。本发明将活动路障与固定路障合二为一,路障固定于路上,不需要时可以压进路面下方,使用透明亚克力板覆盖,路障在地下亮灯也能起到警示作用;需要限制车辆时将路障轻轻提起即可,多节LED灯的设计更明确的提醒司机朋友小心驾驶;工艺相对简单,使用方便,可以节约人力物力,有效的满足于市场需求。Patent No. 201711200489.7 discloses a retractable roadblock, including a roadblock body, the roadblock body is arranged in a groove below the ground surface, the depth of the groove is slightly greater than the height of the roadblock body; A card slot is provided, and the card slot cooperates with a buckle in the groove, and the buckle is a retractable and elastic design, and the roadblock body is provided with multiple LED lights for display. The invention combines movable roadblocks and fixed roadblocks into one, and the roadblock is fixed on the road, and can be pressed into the bottom of the road surface when not needed, covered with a transparent acrylic plate, and the roadblock can also play a warning role when the roadblock is illuminated underground; when it is necessary to restrict vehicles, the The roadblock can be lifted lightly, and the design of multi-section LED lights more clearly reminds drivers and friends to drive carefully; the process is relatively simple, easy to use, can save manpower and material resources, and effectively meet market demand.
但是现有技术中的专利存在以下缺点:上述装置在使用时,对失控车辆无法造成保护措施,甚至会加重车辆损害,对驾驶人员安全有一定不利影响。However, the patents in the prior art have the following disadvantages: when the above-mentioned device is in use, it cannot take protective measures for the out-of-control vehicle, and even aggravates the damage of the vehicle, which has a certain adverse effect on the safety of the driver.
实用新型内容Utility model content
(一)解决的技术问题(1) Solved technical problems
针对现有技术的不足,本实用新型提供了一种可移动路障,解决了上述背景技术中提出的对失控车辆无法造成保护措施,甚至会加重车辆损害,对驾驶人员安全有一定不利影响的问题。Aiming at the deficiencies of the prior art, the utility model provides a movable roadblock, which solves the problems in the above-mentioned background technology that no protective measures can be taken for out-of-control vehicles, and even aggravate the damage to the vehicles, which has a certain adverse effect on the safety of drivers. .
(二)技术方案(2) Technical solutions
为实现以上目的,本实用新型通过以下技术方案予以实现:一种可移动路障,包括底板,所述底板上表面安装有支撑柱,所述支撑柱外表面转动连接有防撞筒,所述底板底部下表面安装有车轮架,所述车轮架一侧安装有车轴,所述车轴外表面转动连接有车轮,所述底板上表面开设有第一螺纹孔,所述第一螺纹孔内部安装有螺纹钉。In order to achieve the above purpose, the utility model is achieved through the following technical solutions: a movable roadblock, including a base plate, a support column is installed on the upper surface of the base plate, and the outer surface of the support column is rotatably connected with an anti-collision tube, and the base plate A wheel frame is installed on the lower surface of the bottom, an axle is installed on one side of the wheel frame, the outer surface of the axle is rotatably connected with a wheel, and a first threaded hole is opened on the upper surface of the bottom plate, and a threaded hole is installed inside the first threaded hole. nail.
可选的,所述支撑柱外表面安装有加固杆,所述防撞筒内部开设有滑槽,所述滑槽内部滑动连接有加固环。Optionally, a reinforcement rod is installed on the outer surface of the support column, a chute is opened inside the anti-collision cylinder, and a reinforcement ring is slidably connected to the inside of the chute.
可选的,所述支撑柱外表面一侧安装有固定板,所述固定板一侧安装有连接环。Optionally, a fixing plate is installed on one side of the outer surface of the support column, and a connecting ring is installed on one side of the fixing plate.
可选的,所述防撞筒外表面设置为不同颜色。Optionally, the outer surface of the anti-collision cylinder is set in different colors.
可选的,所述支撑柱内部滑动连接有伸缩杆,所述伸缩杆底部安装有照明灯。Optionally, a telescopic rod is slidably connected inside the support column, and a lighting lamp is installed at the bottom of the telescopic rod.
可选的,所述支撑柱一侧开设有第二螺纹孔,所述第二螺纹孔内部螺纹连接有螺栓。Optionally, a second threaded hole is opened on one side of the support column, and a bolt is threaded inside the second threaded hole.
可选的,所述防撞筒顶部和底部倒有圆角。Optionally, the top and bottom of the bumper are rounded.
可选的,所述支撑柱一侧安装有把手。Optionally, a handle is installed on one side of the support column.
有益效果Beneficial effect
本实用新型提供了一种可移动路障,具备以下有益效果:The utility model provides a movable roadblock, which has the following beneficial effects:
1、通过在支撑柱外部转动安装防撞筒,可以使失控车辆在撞击路障时,防撞筒转动使之发生偏移,对车辆和人员进行保护,通过在底板底部安装车轮,可以使路障便于移动,通过在底板内部安装螺纹钉,可以便于对路障进行固定。1. By rotating and installing the anti-collision cylinder on the outside of the support column, when the out-of-control vehicle hits the roadblock, the anti-collision cylinder rotates to make it shift, protecting the vehicle and personnel. By installing the wheel at the bottom of the floor, the roadblock can be easily Mobile, by installing threaded nails inside the bottom plate, it is easy to fix the barricade.
2、通过在防撞筒内部安装加固环,可以对防撞筒进行加固,进一步保护失控车辆,通过在支撑柱一侧安装连接环,可以使得路障之间便于连接。2. By installing a reinforcement ring inside the anti-collision tube, the anti-collision tube can be reinforced to further protect out-of-control vehicles. By installing a connecting ring on one side of the support column, it is possible to facilitate the connection between roadblocks.
附图说明Description of drawings
图1为本实用新型结构示意图;Fig. 1 is the structural representation of the utility model;
图2为本实用新型底部结构示意图;Fig. 2 is a schematic diagram of the bottom structure of the utility model;
图3为本实用新型主视结构示意图;Fig. 3 is a schematic diagram of the main view structure of the utility model;
图4为本实用新型剖视结构示意图。Fig. 4 is a schematic cross-sectional structure diagram of the utility model.
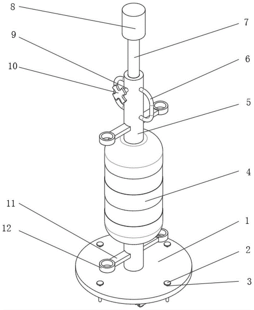
图中:1、底板;2、螺纹钉;3、第一螺纹孔;4、防撞筒;5、支撑柱;6、把手;7、伸缩杆;8、照明灯;9、第二螺纹孔;10、螺栓;11、固定板;12、连接环;13、车轮架;14、车轴;15、车轮;16、滑槽;17、加固环;18、加固杆。In the figure: 1. Bottom plate; 2. Threaded nail; 3. First threaded hole; 4. Anti-collision cylinder; 5. Support column; 6. Handle; 7. Telescopic rod; 8. Lighting lamp; 9. Second threaded hole ; 10, bolt; 11, fixed plate; 12, connecting ring; 13, wheel frame; 14, axle; 15, wheel; 16, chute; 17, reinforcing ring; 18, reinforcing rod.
具体实施方式Detailed ways
下面将结合本实用新型实施例,对本实用新型实施例中的技术方案进行清楚、完整地描述,显然,所描述的实施例仅仅是本实用新型一部分实施例,而不是全部的实施例。基于本实用新型中的实施例,本领域普通技术人员在没有作出创造性劳动前提下所获得的所有其他实施例,都涉及本实用新型保护的范围。The technical solutions in the embodiments of the present invention will be clearly and completely described below in conjunction with the embodiments of the present invention. Apparently, the described embodiments are only some of the embodiments of the present invention, not all of them. Based on the embodiments of the present utility model, all other embodiments obtained by persons of ordinary skill in the art without making creative efforts all involve the scope of protection of the present utility model.
实施例1Example 1
一种可移动路障,如图1-4所示,包括:A movable barricade, as shown in Figure 1-4, includes:
底板1,所述底板1上表面安装有支撑柱5,所述支撑柱5外表面转动连接有防撞筒4,所述底板1底部下表面安装有车轮架13,所述车轮架13一侧安装有车轴14,所述车轴14外表面转动连接有车轮15,所述底板1上表面开设有第一螺纹孔3,所述第一螺纹孔3内部安装有螺纹钉2。
通过在支撑柱5外部转动安装防撞筒4,可以使失控车辆在撞击路障时,防撞筒4转动使之发生偏移,对车辆和人员进行保护,通过在底板1底部安装车轮15,可以使路障便于移动,通过在底板1内部安装螺纹钉2,可以便于对路障进行固定。By rotating and installing the
为了对防撞筒4进行加固;如图4示,所述支撑柱5外表面安装有加固杆18,所述防撞筒4内部开设有滑槽16,所述滑槽16内部滑动连接有加固环17。In order to reinforce the
通过在防撞筒4内部安装加固环17,可以对防撞筒4进行加固,进一步保护失控车辆。By installing the
为了便于连接路障;如图1所示,所述支撑柱5外表面一侧安装有固定板11,所述固定板11一侧安装有连接环12。In order to facilitate the connection of roadblocks; as shown in FIG. 1 , a
通过在支撑柱5一侧安装连接环12,可以使得路障之间便于连接。By installing the connecting
为了使路障更醒目;如图1所示,所述防撞筒4外表面设置为不同颜色。In order to make the roadblock more eye-catching; as shown in Figure 1, the outer surface of the
通过把防撞筒4外表面设置为不同颜色,可以使路障更醒目。By setting the outer surfaces of the
便于夜晚使用;如图1所示,所述支撑柱5内部滑动连接有伸缩杆7,所述伸缩杆7底部安装有照明灯8。It is convenient to use at night; as shown in FIG. 1 , a
通过安装照明灯8,可以使路障便于在夜间使用。By installing
为了便于控制伸缩杆7升降;如图1所示,所述支撑柱5一侧开设有第二螺纹孔9,所述第二螺纹孔9内部螺纹连接有螺栓10。In order to control the lifting of the
通过在支撑柱5一侧安装螺栓10,可以便于控制伸缩杆7升降。By installing the
为了进一步对车辆进行保护;如图1所示,所述防撞筒4顶部和底部倒有圆角。In order to further protect the vehicle; as shown in FIG. 1 , the top and bottom of the
通过在防撞筒4顶部和底部倒圆,可以进一步保护车辆。The vehicle can be further protected by rounding off the top and bottom of the
工作原理:通过在支撑柱5外部转动安装防撞筒4,可以使失控车辆在撞击路障时,防撞筒4转动使之发生偏移,对车辆和人员进行保护,通过在底板1底部安装车轮15,可以使路障便于移动,通过在底板1内部安装螺纹钉2,可以便于对路障进行固定。Working principle: By rotating and installing the
实施例2Example 2
为了便于移动路障,参照图3,一种可移动路障,本实施例相较于实施例1作出以下改进,所述支撑柱5一侧安装有把手6。In order to facilitate the movement of the barricade, referring to FIG. 3 , a movable barricade, this embodiment has the following improvements compared with
通过在支撑柱5一侧安装把手6,可以便于移动路障。By installing a
以上仅为本实用新型的较佳实施例而已,并不用以限制本实用新型,凡在本实用新型的精神和原则之内,所做的任何修改、等同替换、改进等,均应包含在本实用新型的保护范围之内。The above are only preferred embodiments of the present utility model, and are not intended to limit the present utility model. Any modifications, equivalent replacements, improvements, etc. made within the spirit and principles of the present utility model shall be included in this utility model. within the scope of protection of utility models.
Claims (8)
Priority Applications (1)
| Application Number | Priority Date | Filing Date | Title |
|---|---|---|---|
| CN202320337927.9U CN219342939U (en) | 2023-02-28 | 2023-02-28 | Movable roadblock |
Applications Claiming Priority (1)
| Application Number | Priority Date | Filing Date | Title |
|---|---|---|---|
| CN202320337927.9U CN219342939U (en) | 2023-02-28 | 2023-02-28 | Movable roadblock |
Publications (1)
| Publication Number | Publication Date |
|---|---|
| CN219342939U true CN219342939U (en) | 2023-07-14 |
Family
ID=87102510
Family Applications (1)
| Application Number | Title | Priority Date | Filing Date |
|---|---|---|---|
| CN202320337927.9U Active CN219342939U (en) | 2023-02-28 | 2023-02-28 | Movable roadblock |
Country Status (1)
| Country | Link |
|---|---|
| CN (1) | CN219342939U (en) |
-
2023
- 2023-02-28 CN CN202320337927.9U patent/CN219342939U/en active Active
Similar Documents
| Publication | Publication Date | Title |
|---|---|---|
| WO2022257289A1 (en) | Mechanical arm apparatus for street lamp maintenance | |
| CN219342939U (en) | Movable roadblock | |
| CN111335692A (en) | Portable double-deck parking equipment | |
| CN210288219U (en) | Highway construction is with be convenient for remove and fixed isolated column | |
| CN211454803U (en) | Light intensity self-adaptation signal lamp with protective structure | |
| CN211119032U (en) | Urban road lighting street lamp with stable base | |
| CN204826815U (en) | Wheeled year car platform of walking | |
| CN223017491U (en) | Road blocking stone pier convenient to carry and used for municipal road | |
| CN205476675U (en) | Parking space mounted on grass lawn | |
| CN212565533U (en) | Street lamp is used in wisdom city with safeguard function | |
| CN222759526U (en) | Bridge construction rail guard | |
| KR20020057771A (en) | Self-Exiting Safety Road Sign | |
| CN220685857U (en) | Edge line warning device | |
| CN218148002U (en) | Anti-shock buffer anti-climbing guardrail | |
| CN107489077B (en) | Man-vehicle integrated time-sharing overpass | |
| CN207567696U (en) | A kind of highway automobile safety guide rail | |
| CN206591471U (en) | A kind of road guard | |
| CN216901956U (en) | Traffic transportation signal lamp device | |
| CN2504311Y (en) | road protruding device | |
| CN208088180U (en) | A kind of pavement for intelligent transportation | |
| CN220284655U (en) | Traffic safety early warning system | |
| CN206873346U (en) | Town road crossroad | |
| CN218027333U (en) | Tablet is reminded with road to municipal works construction | |
| CN219298052U (en) | A warning device for road maintenance work or construction | |
| CN211368474U (en) | A splicable night road construction warning device |
Legal Events
| Date | Code | Title | Description |
|---|---|---|---|
| GR01 | Patent grant | ||
| GR01 | Patent grant |
