CN219338381U - 一种便于脱模的注塑模具 - Google Patents
一种便于脱模的注塑模具 Download PDFInfo
- Publication number
- CN219338381U CN219338381U CN202320095738.5U CN202320095738U CN219338381U CN 219338381 U CN219338381 U CN 219338381U CN 202320095738 U CN202320095738 U CN 202320095738U CN 219338381 U CN219338381 U CN 219338381U
- Authority
- CN
- China
- Prior art keywords
- cooling
- model
- mold
- pipe
- cover
- Prior art date
- Legal status (The legal status is an assumption and is not a legal conclusion. Google has not performed a legal analysis and makes no representation as to the accuracy of the status listed.)
- Active
Links
- 238000002347 injection Methods 0.000 title claims abstract description 16
- 239000007924 injection Substances 0.000 title claims abstract description 16
- 238000001816 cooling Methods 0.000 claims abstract description 58
- XLYOFNOQVPJJNP-UHFFFAOYSA-N water Substances O XLYOFNOQVPJJNP-UHFFFAOYSA-N 0.000 claims abstract description 29
- 229920003023 plastic Polymers 0.000 claims description 13
- 239000004033 plastic Substances 0.000 claims description 13
- 238000000465 moulding Methods 0.000 claims description 9
- 238000001746 injection moulding Methods 0.000 abstract description 13
- 239000000498 cooling water Substances 0.000 abstract description 5
- 238000004519 manufacturing process Methods 0.000 abstract description 5
- 239000000243 solution Substances 0.000 description 2
- 230000009286 beneficial effect Effects 0.000 description 1
- 230000007547 defect Effects 0.000 description 1
- 238000005516 engineering process Methods 0.000 description 1
- 238000000034 method Methods 0.000 description 1
- 238000003672 processing method Methods 0.000 description 1
- 238000004064 recycling Methods 0.000 description 1
Images
Classifications
-
- Y—GENERAL TAGGING OF NEW TECHNOLOGICAL DEVELOPMENTS; GENERAL TAGGING OF CROSS-SECTIONAL TECHNOLOGIES SPANNING OVER SEVERAL SECTIONS OF THE IPC; TECHNICAL SUBJECTS COVERED BY FORMER USPC CROSS-REFERENCE ART COLLECTIONS [XRACs] AND DIGESTS
- Y02—TECHNOLOGIES OR APPLICATIONS FOR MITIGATION OR ADAPTATION AGAINST CLIMATE CHANGE
- Y02P—CLIMATE CHANGE MITIGATION TECHNOLOGIES IN THE PRODUCTION OR PROCESSING OF GOODS
- Y02P70/00—Climate change mitigation technologies in the production process for final industrial or consumer products
- Y02P70/10—Greenhouse gas [GHG] capture, material saving, heat recovery or other energy efficient measures, e.g. motor control, characterised by manufacturing processes, e.g. for rolling metal or metal working
Landscapes
- Moulds For Moulding Plastics Or The Like (AREA)
Abstract
本实用新型公开了一种便于脱模的注塑模具,属于模具技术领域,包括模型底座,所述模型底座上设有模型盖,所述模型盖的顶部安装有连接座,所述连接座上连接有固定架,所述固定架上设有液压升降杆,所述模型盖上设有注塑孔,所述注塑孔顶端连通有注塑伸缩管,所述模型盖的一侧设置冷却箱,所述冷却箱侧壁设有出水口,所述出水口连接有微型水泵,所述微型水泵分别与第一冷却管、第二冷却管连接,所述第一冷却管、第二冷却管环绕模型盖与冷却箱下设置的进水口相连接。本实用新型结构科学合理,使用高效便捷,不但便于脱模,节约人力,而且生产效率高,还可使冷却水循环使用,更加适用于生产生活。
Description
技术领域
本实用新型涉及一种便于脱模的注塑模具,属于模具技术领域。
背景技术
注塑模具是一种生产塑胶制品的工具,也是赋予塑胶制品完整结构和精确尺寸的工具,注塑成型是批量生产某些形状复杂部件时用到的一种加工方法,具体指将受热融化的塑料由注塑机高压射入模腔,经冷却固化后,得到成形品,然而注塑模具在使用过程中,冷却效果差,使得冷却水不能循环使用,造成浪费,并且也不方便成品脱模,降低了企业生产的效率。
发明内容
为了克服背景技术的不足,本实用新型提供了一种方便脱模,生产效率高,且可使冷却水循环使用的注塑模具。
为实现上述目的,本实用新型提供如下技术方案:
一种便于脱模的注塑模具,包括模型底座,所述模型底座上设有模型盖,所述模型盖的顶部安装有连接座,所述连接座上连接有固定架,所述固定架上设有液压升降杆,所述模型盖上设有注塑孔,所述注塑孔顶端连通有注塑伸缩管,所述模型盖的一侧设置冷却箱,所述冷却箱侧壁设有出水口,所述出水口连接有微型水泵,所述微型水泵分别与第一冷却管、第二冷却管连接,所述第一冷却管、第二冷却管环绕模型盖与冷却箱下设置的进水口相连接。
优选的,所述模型底座的底部设置防水座。
优选的,所述冷却箱的顶部设有箱盖。
优选的,所述微型水泵与第一冷却管、第二冷却管之间通过连接头连接。
与现有技术相比,本实用新型的有益效果是:
本实用新型设计科学合理,使用高效便捷,液压升降杆的设置便于控制模型盖升降;注塑孔及注塑伸缩管的设置便于进行注塑,获得成品;冷却箱及第一冷却管、第二冷却管的设置方便对模型盖内的注塑成品进行冷却,使产品快速成型;出水口连接的微型水泵,方便对冷却箱内的水进行加压顺利流到第一冷却管、第二冷却管中;冷却箱的顶部箱盖的设置,便于定期对冷却水进行更换。
附图说明
图1是本实用新型一种便于脱模的注塑模具的结构示意图;
图2是本实用新型模型盖的结构示意图;
图3是本实用新型模型底座的结构示意图。
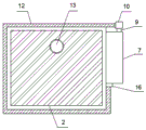
图中:1、模型底座,2、模型盖,3、连接座,4、固定架,5、液压升降杆,6、注塑伸缩管,7、冷却箱,8、箱盖,9、出水口,10、微型水泵,11、第一冷却管,12、第二冷却管,13、注塑孔,14、连接头,15、防水座,16、进水口。
具体实施方式
下面将结合本实用新型实施例中的附图,对本实用新型实施例中的技术方案进行清楚、完整地描述,显然,所描述的实施例仅仅是本实用新型一部分实施例,而不是全部的实施例。基于本实用新型中的实施例,本领域普通技术人员在没有做出创造性劳动前提下所获得的所有其他实施例,都属于本实用新型保护的范围。
第一实施例:
请参阅图1-3,本实用新型提供一种技术方案:一种便于脱模的注塑模具,包括模型底座1,模型底座1上设有模型盖2,模型底座1和模型盖2相互适配;模型盖2的顶部安装有连接座3,连接座3上连接有固定架4,固定架4上设有液压升降杆5,液压升降杆5与其他设备(其他设备图中未示出)连接,液压升降杆5带动固定架4从而控制模型盖2的升降和脱模;模型盖2上设有注塑孔13,注塑孔13顶端连通有注塑伸缩管6,注塑伸缩管6与其他设备(其他设备图中未示出)连接,通过注塑孔13将熔融态塑料注入到模型底座1和模型盖2内;模型盖2的一侧设置冷却箱7,冷却箱7用于存储水;冷却箱7侧壁设有出水口9,出水口9连接有微型水泵10,微型水泵10分别与第一冷却管11、第二冷却管12连接,微型水泵10用于加压冷却箱7内的水到第一冷却管11、第二冷却管12内;第一冷却管11、第二冷却管12环绕模型盖2与冷却箱7下设置的进水口16相连接,便于使冷却水循环往复使用,最大限度节约水资源。
第二实施例:
在第一实施例的基础上,模型底座1的底部设置防水座15,防水座15用于隔离水,避免模型底座1腐蚀受潮;冷却箱7的顶部设有箱盖8,方便定期对冷却箱7内的水进行更换;微型水泵10与第一冷却管11、第二冷却管12之间通过连接头14连接,便于工作人员定期维修保养。
本实用新型在使用时,可在模型底座1和模型盖2贴合状态下通过注塑伸缩管6和注塑孔13将熔融态塑料直接注入到模型底座1和模型盖2内,然后借助微型水泵10将冷却箱7内的水加压到第一冷却管11、第二冷却管12内进行循环冷却,待冷却成型后利用液压升降杆5将模型盖2升起,从而进行成功脱模。
本实用新型的一种便于脱模的注塑模具结构科学合理,使用高效便捷,不但便于脱模,节约人力,而且生产效率高,还可使冷却水循环使用,更加适用于生产生活。
Claims (4)
1.一种便于脱模的注塑模具,其特征在于:包括模型底座(1),所述模型底座(1)上设有模型盖(2),所述模型盖(2)的顶部安装有连接座(3),所述连接座(3)上连接有固定架(4),所述固定架(4)上设有液压升降杆(5),所述模型盖(2)上设有注塑孔(13),所述注塑孔(13)顶端连通有注塑伸缩管(6),所述模型盖(2)的一侧设置冷却箱(7),所述冷却箱(7)侧壁设有出水口(9),所述出水口(9)连接有微型水泵(10),所述微型水泵(10)分别与第一冷却管(11)、第二冷却管(12)连接,所述第一冷却管(11)、第二冷却管(12)环绕模型盖(2)与冷却箱(7)下设置的进水口(16)相连接。
2.根据权利要求1所述的一种便于脱模的注塑模具,其特征在于:所述模型底座(1)的底部设置防水座(15)。
3.根据权利要求1所述的一种便于脱模的注塑模具,其特征在于:所述冷却箱(7)的顶部设有箱盖(8)。
4.根据权利要求1所述的一种便于脱模的注塑模具,其特征在于:所述微型水泵(10)与第一冷却管(11)、第二冷却管(12)之间通过连接头(14)连接。
Priority Applications (1)
| Application Number | Priority Date | Filing Date | Title |
|---|---|---|---|
| CN202320095738.5U CN219338381U (zh) | 2023-02-01 | 2023-02-01 | 一种便于脱模的注塑模具 |
Applications Claiming Priority (1)
| Application Number | Priority Date | Filing Date | Title |
|---|---|---|---|
| CN202320095738.5U CN219338381U (zh) | 2023-02-01 | 2023-02-01 | 一种便于脱模的注塑模具 |
Publications (1)
| Publication Number | Publication Date |
|---|---|
| CN219338381U true CN219338381U (zh) | 2023-07-14 |
Family
ID=87109131
Family Applications (1)
| Application Number | Title | Priority Date | Filing Date |
|---|---|---|---|
| CN202320095738.5U Active CN219338381U (zh) | 2023-02-01 | 2023-02-01 | 一种便于脱模的注塑模具 |
Country Status (1)
| Country | Link |
|---|---|
| CN (1) | CN219338381U (zh) |
-
2023
- 2023-02-01 CN CN202320095738.5U patent/CN219338381U/zh active Active
Similar Documents
| Publication | Publication Date | Title |
|---|---|---|
| CN219338381U (zh) | 一种便于脱模的注塑模具 | |
| CN217729510U (zh) | 一种具有快速冷却功能的注塑模具 | |
| CN218139553U (zh) | 一种多模腔的注塑模具 | |
| CN215619669U (zh) | 净化器塑胶外壳成型模具 | |
| CN215703726U (zh) | 一种塑料弯管模具 | |
| CN216373033U (zh) | 一种内定子塑胶注塑成型装置 | |
| CN216683103U (zh) | 一种复杂曲面注射件注塑模具 | |
| CN214188276U (zh) | 一种用于复杂模具的简便脱模的注塑模具 | |
| CN219114669U (zh) | 一种密封性好的塑料制品成型模具 | |
| CN213500641U (zh) | 一种外壳注塑用便于脱模模具 | |
| CN223266158U (zh) | 一种便于脱模的注塑模具 | |
| CN221437025U (zh) | 喷雾塑料泵头的注塑模具 | |
| CN214056234U (zh) | 一种洗衣机顶盖组件二次注塑成型模具 | |
| CN220784714U (zh) | 一种水表壳体注塑模具 | |
| CN216329832U (zh) | 一种多功能的塑料模具 | |
| CN221913106U (zh) | 一种自脱模注塑模具 | |
| CN215320304U (zh) | 一种风扇盖板快速注塑结构 | |
| CN218399253U (zh) | 一种具有冷却功能的注塑模具 | |
| CN223131296U (zh) | 一种用于智能电盒生产的注塑模具 | |
| CN219427392U (zh) | 一种汽车注塑件生产用注塑机的脱模机构 | |
| CN222156522U (zh) | 一种注塑机加工用脱模冷却装置 | |
| CN222741998U (zh) | 一种容易脱模的塑料模具结构 | |
| CN220198464U (zh) | 一种注塑模具的冷却装置 | |
| CN207044562U (zh) | 多内凹结构壳体的注塑成型模具 | |
| CN220946536U (zh) | 一种用于精密塑胶零件加工成型模具的冷却机构 |
Legal Events
| Date | Code | Title | Description |
|---|---|---|---|
| GR01 | Patent grant | ||
| GR01 | Patent grant |