CN219308997U - 一种金属粉尘回收装置 - Google Patents
一种金属粉尘回收装置 Download PDFInfo
- Publication number
- CN219308997U CN219308997U CN202320265707.XU CN202320265707U CN219308997U CN 219308997 U CN219308997 U CN 219308997U CN 202320265707 U CN202320265707 U CN 202320265707U CN 219308997 U CN219308997 U CN 219308997U
- Authority
- CN
- China
- Prior art keywords
- pipe
- dust removal
- dust
- magnetic separation
- metal
- Prior art date
- Legal status (The legal status is an assumption and is not a legal conclusion. Google has not performed a legal analysis and makes no representation as to the accuracy of the status listed.)
- Active
Links
- 239000000428 dust Substances 0.000 title claims abstract description 176
- 239000002184 metal Substances 0.000 title claims abstract description 70
- 229910052751 metal Inorganic materials 0.000 title claims abstract description 70
- 238000011084 recovery Methods 0.000 title claims abstract description 20
- 238000007885 magnetic separation Methods 0.000 claims abstract description 50
- 238000000926 separation method Methods 0.000 claims abstract description 13
- 238000001179 sorption measurement Methods 0.000 claims abstract description 12
- 239000004744 fabric Substances 0.000 claims description 8
- 238000004064 recycling Methods 0.000 claims description 8
- 239000000843 powder Substances 0.000 abstract description 27
- 239000012535 impurity Substances 0.000 abstract description 11
- 230000005389 magnetism Effects 0.000 description 9
- 230000000694 effects Effects 0.000 description 5
- 238000004519 manufacturing process Methods 0.000 description 5
- 230000000903 blocking effect Effects 0.000 description 4
- 238000000034 method Methods 0.000 description 3
- 238000000746 purification Methods 0.000 description 3
- XEEYBQQBJWHFJM-UHFFFAOYSA-N Iron Chemical compound [Fe] XEEYBQQBJWHFJM-UHFFFAOYSA-N 0.000 description 2
- 238000001914 filtration Methods 0.000 description 2
- 230000000149 penetrating effect Effects 0.000 description 2
- 238000003723 Smelting Methods 0.000 description 1
- 230000009286 beneficial effect Effects 0.000 description 1
- 238000005242 forging Methods 0.000 description 1
- 238000009434 installation Methods 0.000 description 1
- 229910052742 iron Inorganic materials 0.000 description 1
- 230000002427 irreversible effect Effects 0.000 description 1
- 239000000696 magnetic material Substances 0.000 description 1
- 239000006148 magnetic separator Substances 0.000 description 1
- 238000012423 maintenance Methods 0.000 description 1
- 238000005498 polishing Methods 0.000 description 1
- 230000003014 reinforcing effect Effects 0.000 description 1
- 239000007858 starting material Substances 0.000 description 1
Images
Classifications
-
- Y—GENERAL TAGGING OF NEW TECHNOLOGICAL DEVELOPMENTS; GENERAL TAGGING OF CROSS-SECTIONAL TECHNOLOGIES SPANNING OVER SEVERAL SECTIONS OF THE IPC; TECHNICAL SUBJECTS COVERED BY FORMER USPC CROSS-REFERENCE ART COLLECTIONS [XRACs] AND DIGESTS
- Y02—TECHNOLOGIES OR APPLICATIONS FOR MITIGATION OR ADAPTATION AGAINST CLIMATE CHANGE
- Y02P—CLIMATE CHANGE MITIGATION TECHNOLOGIES IN THE PRODUCTION OR PROCESSING OF GOODS
- Y02P10/00—Technologies related to metal processing
- Y02P10/20—Recycling
Landscapes
- Cleaning In General (AREA)
Abstract
本申请涉及一种金属粉尘回收装置,涉及金属粉尘处理的技术领域,其包括除尘管、磁性分离管和吸附组件,除尘管安装于车间内,除尘管的管壁上开设有多个均匀分布的除尘口,磁性分离管同轴设置于除尘管内,磁性分离管的管壁上开设有多个均匀分布的通孔,吸附组件包括抽风机和风管,风管一端和抽风机的进风口固定连通、另一端和除尘管连通。本申请并且通过设置的磁性分离管能够有效将金属粉尘中的金属粉末吸附收集起来,从而实现金属粉末和杂质灰尘的分离,以便于后续对金属粉末进行回收利用。
Description
技术领域
本申请涉及金属粉尘处理的技术领域,尤其是涉及一种金属粉尘回收装置。
背景技术
在金属冶炼、锻造或抛光车间的环境中含有大量的金属粉末,金属粉末混合车间内的杂质灰尘形成金属粉尘漂浮在空气中,不仅严重污染工作环境,并且带有灰尘的金属粉末被人体吸入后还会对人体健康产生不可逆的损害。
相关技术中,对金属粉尘进行处理时,一般是在车间内放置吸尘器,通过吸尘器对金属粉尘进行吸附收集,从而避免金属粉尘漂浮于车间的空气中。
针对上述中的相关技术,发明人认为金属粉尘中的金属粉末是可回收利用的,相关技术中直接利用吸尘器对金属粉尘进行吸附,无法将金属粉尘中的金属粉末与灰尘分离,因此不便于对金属粉末进行收集,进而不便于对金属粉末进行回收利用。
实用新型内容
为了便于对金属粉末进行收集,本申请提供一种金属粉尘回收装置。
本申请提供的一种金属粉尘回收装置采用如下的技术方案:
一种金属粉尘回收装置,包括除尘管、磁性分离管和吸附组件,所述除尘管安装于车间内,所述除尘管的管壁上开设有多个均匀分布的除尘口,所述磁性分离管同轴设置于除尘管内,所述磁性分离管的管壁上开设有多个均匀分布的通孔,所述吸附组件包括抽风机和风管,所述除尘管一端的端壁上同轴开设有与磁性分离管连通的出风孔,所述风管一端和抽风机的进风口固定连通、另一端和所述除尘管的出风孔连通。
通过采用上述技术方案,生产过程中,启动抽风机,抽风机通过风管抽出空气使得除尘管内形成负压,车间内的金属粉尘即可经除尘口进入除尘管道内,金属粉尘进入除尘管内后,磁性分离管将金属粉尘中的金属粉末吸附收集在管壁上,然后金属粉尘中的灰尘杂质经过通孔进入磁性分离管内,然后灰尘杂质经过磁性分离管和风管排出车间外即可。通过上述结构便于对车间内的金属粉尘进行吸附清除,并且通过设置的磁性分离管能够有效将金属粉尘中的金属粉末吸附收集起来,从而实现金属粉末和杂质灰尘的分离,以便于后续对金属粉末进行回收利用。
可选的,所述除尘管背离所述出风孔的一端螺纹连接有端盖,所述磁性分离管和所述除尘管可拆卸连接。
通过采用上述技术方案,当车间内停止生产后,关闭抽风机,拆卸掉除尘管一端的端盖,然后将磁性分离管从除尘管上拆卸下来,接着将磁性分离管上吸附的金属粉末收集起来,然后将清理干净的磁性分离管与除尘管安装好,接着旋紧端盖即可。通过设置可拆卸的端盖,便于对磁性分离管进行拆卸和安装,从而便于将磁性分离管上吸附的金属粉末收集起来,提高了回收装置在使用过程中的便捷性。
可选的,所述除尘管端壁上开设有第一环形卡槽,所述端盖靠近除尘管的一侧开设有第二环形卡槽,所述磁性分离管一端插接于第一环形卡槽内、另一端插接于第二环形卡槽内,所述第一环形卡槽内设有弹簧,所述弹簧驱使磁性分离管与端盖抵紧。
通过采用上述技术方案,磁性分离管两端分别插接于第一环形卡槽和第二环形卡槽内,便于实现对磁性分离管的拆卸和安装,第一环形卡槽内的弹簧能够使磁性分离管另一端与第二环形卡槽的底壁抵紧,从而能够使磁性分离管在除尘管内保持稳定,上述结构能够简便快捷的实现磁性分离管和安装和拆卸。
可选的,所述除尘口内设有过滤件,所述过滤件包括安装框和多个挡片,所述安装框位于除尘口内且和所述除尘管固定连接,所述挡片位于所述安装框内且与所述安装框固定连接,多个所述挡片沿所述安装框长度方向间隔均匀分布,相邻两个所述挡片之间形成过滤间隙。
通过采用上述技术方案,工作过程中,金属粉尘通过挡片之间的过滤间隙进入除尘管内,通过多个挡片能够避免车间内的大块轻质杂物被吸入除尘管内,从而避免除尘管被大块杂物堵塞,有效增强了回收装置的工作可靠性。
可选的,还包括驱动组件,所述除尘管与车间墙壁转动连接,所述驱动组件用于驱动所述除尘管转动。
通过采用上述技术方案,工作过程中,利用驱动组件带动除尘管转动,除尘管在转动过程中能够带动除尘口转动,从而使除尘管能够对车间内各个位置的金属粉尘进行吸附净化,有效增强了回收装置对车间粉尘的净化效果。
可选的,所述驱动组件包括电机、主动齿轮和从动齿环,所述电机的机壳和车间墙壁固定连接,所述主动齿轮与电机的输出轴同轴固定连接,所述从动齿环同轴套设于所述除尘管上且与除尘管固定连接,所述从动齿环与所述主动齿轮啮合。
通过采用上述技术方案,工作过程中,启动电机,电机的输出轴带动主动齿轮转动,主动齿轮转动时带动与之啮合的从动齿环转动,从动齿环转动时带动除尘管转动,从而实现对除尘口位置的变化调节,进而增强回收装置对车间粉尘的净化效果。
可选的,所述吸附组件还包括除尘布袋,所述除尘布袋与所述抽风机的出风口固定连接。
通过采用上述技术方案,磁性分离管将金属粉尘中的金属粉末吸附收集在管壁上后,金属粉尘中的灰尘杂质经过通孔进入磁性分离管内,然后灰尘杂质通过风管被抽风机吸入除尘布袋内收集起来,从而避免杂质灰尘直接排放对环境造成的污染。
可选的,所述磁性分离管于所述通孔处固定连接有塑料管。
通过采用上述技术方案,设置塑料管能够避免金属粉末在通孔处聚集,从而避免磁性分离管上吸附的金属粉末将通孔堵塞,进而能够提高回收装置的工作可靠性,降低回收装置的检修频率。
综上所述,本申请包括以下至少一种有益技术效果:
1.本申请通过在除尘管内设置磁性分离管,磁性分离管能够有效将金属粉尘中的金属粉末吸附收集起来,从而实现金属粉末和杂质灰尘的分离,以便于后续对金属粉末进行回收利用;
2.本申请通过设置可拆卸的端盖,便于对除尘管内的磁性分离管进行拆卸和安装,从而便于将磁性分离管上吸附的金属粉末收集起来,提高了回收装置在使用过程中的便捷性;
3.本申请通过设置驱动组件,工作过程中利用驱动组件带动除尘管转动,除尘管在转动过程中能够带动除尘口转动,从而使除尘管能够对车间内各个位置的金属粉尘进行吸附净化,有效增强了回收装置对车间粉尘的净化效果。
附图说明
图1是本申请实施例的整体结构示意图;
图2是图1中A部分的放大视图;
图3是本申请实施例的除尘管和磁性分离管的剖视图。
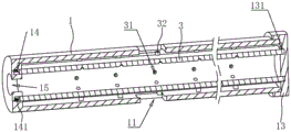
附图标记:1、除尘管;11、除尘口;12、过滤件;121、安装框;122、挡片;13、端盖;131、第二环形卡槽;14、第一环形卡槽;141、弹簧;15、出风孔;2、驱动组件;21、电机;22、主动齿轮;23、从动齿环;3、磁性分离管;31、通孔;32、塑料管;4、吸附组件;41、抽风机;42、风管;43、除尘布袋;5、车间。
具体实施方式
以下结合附图1-3对本申请作进一步详细说明。
本申请实施例公开一种金属粉尘回收装置。参照图1、图2和图3,一种金属粉尘回收装置包括除尘管1、驱动组件2、磁性分离管3和吸附组件4。
参照图1和图2,除尘管1安装于车间5内,除尘管1两端分别与车间5正对的两个墙壁采用轴承转动连接,驱动组件2用于驱动除尘管1转动,驱动组件2位于车间5内,驱动组件2包括电机21、主动齿轮22和从动齿环23,电机21的机壳和车间5墙壁采用螺栓固定连接,主动齿轮22与电机21的输出轴采用键同轴固定连接,从动齿环23同轴套设于除尘管1上且与除尘管1焊接,从动齿环23与主动齿轮22啮合。
参照图1和图2,除尘管1的管壁上贯穿开设有多个均匀分布的除尘口11,本实施例中除尘管1管壁上开设有多组沿除尘管1轴向间隔均匀分布的除尘口11,每组包括六个除尘口11,每组的六个除尘口11沿除尘管1周向间隔均匀分布。
参照图1和图2,除尘口11内设有过滤件12,过滤件12包括安装框121和多个挡片122,安装框121位于除尘口11内且和除尘管1采用螺丝固定连接,挡片122位于安装框121内且和安装框121焊接,多个挡片122沿安装框121长度方向间隔均匀分布,相邻两个挡片122之间形成过滤间隙。
参照图1和图3,除尘管1两端分别延伸至车间5外,除尘管1一端与吸附组件4连接、另一端螺纹连接有端盖13。磁性分离管3为永磁材料,磁性分离管3同轴设置于除尘管1内,除尘管1内的端壁上开设有第一环形卡槽14,端盖13靠近除尘管1的一侧开设有第二环形卡槽131,磁性分离管3一端插接于第一环形卡槽14内、另一端插接于第二环形卡槽131内,第一环形卡槽14内设有弹簧141,弹簧141一端和第一环形卡槽14底壁焊接、另一端与磁性分离管3插接于第一环形卡槽14内的一端抵接,弹簧141驱使磁性分离管3另一端与端盖13抵紧。
参照图1和图3,磁性分离管3的管壁上贯穿开设有多个通孔31,多个通孔31均匀分布于磁性分离管3的管壁上,磁性分离管3外壁于通孔31处固定连接有塑料管32。
参照图1和图3,吸附组件4包括抽风机41、风管42和除尘布袋43,除尘管1远离端盖13一端的端壁上同轴贯穿开设有出风孔15,出风孔15的直径小于磁性分离管3的直径,风管42一端采用转动接头与出风孔15固定连通、另一端和抽风机41的进风口采用法兰固定连通,抽风机41的机壳和车间5顶壁采用螺栓固定连接,除尘布袋43的袋口与抽风机41的出风口采用铁丝绑扎连接。
本申请实施例一种金属粉尘回收装置的实施原理为:生产过程中,启动抽风机41,抽风机41通过风管42抽出空气使得除尘管1内形成负压,车间5内的金属粉尘即可经除尘口11进入除尘管1道内,除尘口11内的过滤件12避免车间5内的大块轻质杂物被吸入除尘管1内,金属粉尘进入除尘管1内后,磁性分离管3将金属粉尘中的金属粉末吸附收集在管壁上,然后金属粉尘中的灰尘杂质经过通孔31进入磁性分离管3内,然后灰尘杂质通过风管42被抽风机41吸入除尘布袋43内收集起来。
生产过程中,启动电机21,电机21的输出轴带动主动齿轮22转动,主动齿轮22转动时带动与之啮合的从动齿环23转动,从动齿环23转动时带动除尘管1转动,从而实现对除尘口11位置的变化调节,进而增强回收装置对车间5粉尘的净化效果。
当车间5内停止生产后,关闭抽风机41和电机21,拆卸掉除尘管1一端的端盖13,然后将磁性分离管3从除尘管1上拆卸下来,接着将磁性分离管3上吸附的金属粉末收集起来,然后将清理干净的磁性分离管3与除尘管1安装好,接着旋紧端盖13即可。
以上均为本申请的较佳实施例,并非依此限制本申请的保护范围,故:凡依本申请的结构、形状、原理所做的等效变化,均应涵盖于本申请的保护范围之内。
Claims (8)
1.一种金属粉尘回收装置,其特征在于:包括除尘管(1)、磁性分离管(3)和吸附组件(4),所述除尘管(1)安装于车间(5)内,所述除尘管(1)的管壁上开设有多个均匀分布的除尘口(11),所述磁性分离管(3)同轴设置于除尘管(1)内,所述磁性分离管(3)的管壁上开设有多个均匀分布的通孔(31),所述吸附组件(4)包括抽风机(41)和风管(42),所述除尘管(1)一端的端壁上同轴开设有与磁性分离管(3)连通的出风孔(15),所述风管(42)一端和抽风机(41)的进风口固定连通、另一端和所述除尘管(1)的出风孔(15)连通。
2.根据权利要求1所述的一种金属粉尘回收装置,其特征在于:所述除尘管(1)背离所述出风孔(15)的一端螺纹连接有端盖(13),所述磁性分离管(3)和所述除尘管(1)可拆卸连接。
3.根据权利要求2所述的一种金属粉尘回收装置,其特征在于:所述除尘管(1)端壁上开设有第一环形卡槽(14),所述端盖(13)靠近除尘管(1)的一侧开设有第二环形卡槽(131),所述磁性分离管(3)一端插接于第一环形卡槽(14)内、另一端插接于第二环形卡槽(131)内,所述第一环形卡槽(14)内设有弹簧(141),所述弹簧(141)驱使磁性分离管(3)与端盖(13)抵紧。
4.根据权利要求1所述的一种金属粉尘回收装置,其特征在于:所述除尘口(11)内设有过滤件(12),所述过滤件(12)包括安装框(121)和多个挡片(122),所述安装框(121)位于除尘口(11)内且和所述除尘管(1)固定连接,所述挡片(122)位于所述安装框(121)内且与所述安装框(121)固定连接,多个所述挡片(122)沿所述安装框(121)长度方向间隔均匀分布,相邻两个所述挡片(122)之间形成过滤间隙。
5.根据权利要求1所述的一种金属粉尘回收装置,其特征在于:还包括驱动组件(2),所述除尘管(1)与车间(5)墙壁转动连接,所述驱动组件(2)用于驱动所述除尘管(1)转动。
6.根据权利要求5所述的一种金属粉尘回收装置,其特征在于:所述驱动组件(2)包括电机(21)、主动齿轮(22)和从动齿环(23),所述电机(21)的机壳和车间(5)墙壁固定连接,所述主动齿轮(22)与电机(21)的输出轴同轴固定连接,所述从动齿环(23)同轴套设于所述除尘管(1)上且与除尘管(1)固定连接,所述从动齿环(23)与所述主动齿轮(22)啮合。
7.根据权利要求1所述的一种金属粉尘回收装置,其特征在于:所述吸附组件(4)还包括除尘布袋(43),所述除尘布袋(43)与所述抽风机(41)的出风口固定连接。
8.根据权利要求1所述的一种金属粉尘回收装置,其特征在于:所述磁性分离管(3)于所述通孔(31)处固定连接有塑料管(32)。
Priority Applications (1)
| Application Number | Priority Date | Filing Date | Title |
|---|---|---|---|
| CN202320265707.XU CN219308997U (zh) | 2023-02-20 | 2023-02-20 | 一种金属粉尘回收装置 |
Applications Claiming Priority (1)
| Application Number | Priority Date | Filing Date | Title |
|---|---|---|---|
| CN202320265707.XU CN219308997U (zh) | 2023-02-20 | 2023-02-20 | 一种金属粉尘回收装置 |
Publications (1)
| Publication Number | Publication Date |
|---|---|
| CN219308997U true CN219308997U (zh) | 2023-07-07 |
Family
ID=87028309
Family Applications (1)
| Application Number | Title | Priority Date | Filing Date |
|---|---|---|---|
| CN202320265707.XU Active CN219308997U (zh) | 2023-02-20 | 2023-02-20 | 一种金属粉尘回收装置 |
Country Status (1)
| Country | Link |
|---|---|
| CN (1) | CN219308997U (zh) |
Cited By (1)
| Publication number | Priority date | Publication date | Assignee | Title |
|---|---|---|---|---|
| CN116951622A (zh) * | 2023-09-19 | 2023-10-27 | 江苏全众门业有限公司 | 一种除异味空气净化门 |
-
2023
- 2023-02-20 CN CN202320265707.XU patent/CN219308997U/zh active Active
Cited By (2)
| Publication number | Priority date | Publication date | Assignee | Title |
|---|---|---|---|---|
| CN116951622A (zh) * | 2023-09-19 | 2023-10-27 | 江苏全众门业有限公司 | 一种除异味空气净化门 |
| CN116951622B (zh) * | 2023-09-19 | 2024-01-12 | 江苏全众门业有限公司 | 一种除异味空气净化门 |
Similar Documents
| Publication | Publication Date | Title |
|---|---|---|
| CN219308997U (zh) | 一种金属粉尘回收装置 | |
| CN211799573U (zh) | 一种烧结机烟气脱硫用旋转式除尘筒 | |
| CN211435527U (zh) | 一种电厂锅炉用烟气处理设备 | |
| CN210874458U (zh) | 一种电焊烟气收集净化装置 | |
| CN211261116U (zh) | 一种多功能空气净化装置 | |
| CN209564751U (zh) | 一种化工生产用空气除尘装置 | |
| CN111085059A (zh) | 一种矿山设备除尘收集设备 | |
| CN114800888A (zh) | 一种建筑施工用打孔装置及其打孔方法 | |
| CN212068090U (zh) | 一种环保型的冶炼除尘装置 | |
| CN218687517U (zh) | 一种环保废气处理设备 | |
| CN219399492U (zh) | 一种催化燃烧废气处理设备 | |
| CN216897695U (zh) | 一种无尘室用空气净化装置 | |
| CN212236376U (zh) | 一种工业吸尘器自动清灰机构 | |
| CN116808744A (zh) | 一种工业粉尘处理装置 | |
| CN111214914A (zh) | 一种防止滤网堵塞的气体净化设备 | |
| KR200298507Y1 (ko) | 공기정화장치 | |
| CN210229524U (zh) | 一种生产车间粉尘处理环保系统 | |
| CN116159385A (zh) | 一种静音降噪无油螺杆鼓风机以及降噪方法 | |
| CN209773008U (zh) | 一种餐巾纸生产用车间除尘设备 | |
| CN221735544U (zh) | 一种加工降噪除尘机床 | |
| CN214345066U (zh) | 一种雾化截留废气处理装置 | |
| CN210632282U (zh) | 一种用于管道出口的扬尘收集装置 | |
| CN221107480U (zh) | 一种用于粉尘净化的滤筒除尘器 | |
| CN215311023U (zh) | 一种制药用净化效果好的废气净化装置 | |
| CN212236559U (zh) | 一种工业生产用烟气粉尘过滤装置 |
Legal Events
| Date | Code | Title | Description |
|---|---|---|---|
| GR01 | Patent grant | ||
| GR01 | Patent grant |