CN219289062U - Leisure chair and chair frame thereof - Google Patents

Leisure chair and chair frame thereof Download PDF

Info

Publication number
CN219289062U
CN219289062U CN202320297061.3U CN202320297061U CN219289062U CN 219289062 U CN219289062 U CN 219289062U CN 202320297061 U CN202320297061 U CN 202320297061U CN 219289062 U CN219289062 U CN 219289062U
Authority
CN
China
Prior art keywords
frame
foot
seat frame
chair
sitting
Prior art date
Legal status (The legal status is an assumption and is not a legal conclusion. Google has not performed a legal analysis and makes no representation as to the accuracy of the status listed.)
Active
Application number
CN202320297061.3U
Other languages
Chinese (zh)
Inventor
冯元峰
崔亮
吴林林
王志禹
Current Assignee (The listed assignees may be inaccurate. Google has not performed a legal analysis and makes no representation or warranty as to the accuracy of the list.)
Kuka Home Co Ltd
Original Assignee
Kuka Home Co Ltd
Priority date (The priority date is an assumption and is not a legal conclusion. Google has not performed a legal analysis and makes no representation as to the accuracy of the date listed.)
Filing date
Publication date
Application filed by Kuka Home Co Ltd filed Critical Kuka Home Co Ltd
Priority to CN202320297061.3U priority Critical patent/CN219289062U/en
Application granted granted Critical
Publication of CN219289062U publication Critical patent/CN219289062U/en
Active legal-status Critical Current
Anticipated expiration legal-status Critical

Links

Images

Landscapes

  • Chairs Characterized By Structure (AREA)

Abstract

The utility model discloses a leisure chair and a chair frame thereof, which comprises a base, a seat frame, a back frame and a foot rest, wherein the base is used for supporting the ground, the seat frame is rotationally connected with the base, and the leisure chair also comprises a connecting rod mechanism which is connected with the base, the seat frame, the back frame and the foot rest to realize linkage, and the seat frame, the back frame and the foot rest move between sitting posture and lying posture under the traction of the connecting rod mechanism; in the lying state, the foot rest extends away from the seat frame, and the height of the highest point of the foot rest relative to the horizontal plane is basically the same as that of the highest point of the back rest relative to the horizontal plane. The chair frame and the leisure chair have the advantages of simple structure and low cost.

Description

Leisure chair and chair frame thereof
Technical Field
The application relates to the technical field of household articles, in particular to a leisure chair and a chair frame thereof.
Background
With the development of society, people are increasingly pursuing quality of life. For the choice of furniture, consumers have not been limited to a single function, and more so, it is desired to maximize the utilization of furniture, and the comfort requirements for sofas and seats are increasing.
In the known designs, the movable leisure chair is generally provided with a function of changing between a sitting posture, a leisure posture (or TV position) and a lying posture, and when the leisure chair is changed from the sitting posture to the lying posture, a complicated slide rail type leg frame structure is generally adopted, the foot rest of the leisure chair extends forwards, and the backrest is obviously reclined, so that the requirement of lying of a user is met. The current design structure is comparatively complicated, can not realize "zero gravity" in addition and sit the sense, influences user's comfort level.
Disclosure of Invention
In order to solve the technical problem, the application provides a leisure chair and a chair frame thereof, which have simple structure and can promote the comfort experience of a user.
In a first aspect, the present application provides a chair frame, including a base for supporting with a ground, a seat frame, a back frame, and a foot rest, wherein the seat frame is rotatably connected with the base, and further includes a link mechanism for connecting the base, the seat frame, the back frame, and the foot rest to realize linkage, and the seat frame, the back frame, and the foot rest move between a sitting posture and a lying posture under traction of the link mechanism;
in the lying state, the foot rest extends away from the seat frame, and the height of the highest point of the foot rest relative to the horizontal plane is basically the same as that of the highest point of the back rest relative to the horizontal plane.
Through adopting above-mentioned technical scheme, the chair frame only includes two kinds of postures of position of sitting and lying, does not have the common intermediate process conversion gesture (TV appearance) of traditional function chair frame, and overall structure is simple, and seat frame, back of the body frame and foot rest can realize the linkage, and the mechanism operation is smooth and easy. Under the lying state, the height of the highest point of the foot rest relative to the horizontal plane is basically the same as the height of the highest point of the back rest relative to the horizontal plane, the stress of the passengers is most reasonable, the passengers can realize zero gravity experience, the whole body can be fully relaxed, and the functional requirement of the users for fully relaxing the rest is really met.
With reference to the first aspect, in a further aspect, the link mechanism includes a back rod mechanism, a sitting rod mechanism and a foot rod mechanism, one end of the back rod mechanism is connected with the back frame, and the other end of the back rod mechanism is respectively connected with the seat frame and the foot rod mechanism; the sitting rod mechanism is connected between the seat frame and the base; the foot rod mechanism is respectively connected with the seat frame and the seat rod mechanism.
Through adopting above-mentioned technical scheme, back of body pole mechanism and foot pole mechanism are connected, can realize back of body frame and foot rest linkage, at position of sitting and the position of lying conversion in-process, and the focus of sitting person can deflect in back of body frame and foot rest linkage in-process voluntarily, reduces the power of sitting person, and the sitting person experiences better.
In combination with the first aspect, further aspects, when the back frame rotates relative to the seat frame, the back frame drives the foot rod mechanism to move through the back rod mechanism, and the foot rod mechanism drives the seat frame to rotate relative to the base.
Through adopting above-mentioned technical scheme, when the back of the seat person leans back against the back of the body frame and leans back, the back of the body frame can drive foot rest and seat frame motion through back of the body pole mechanism and foot pole mechanism, and the foot rest stretches in order to support leg and foot to keeping away from seat frame direction, and the seat frame leans back slightly in order to keep the transition of the optimum angle between seat frame and the passenger focus to realize the sitting sense of zero gravity, realize light sitting and lying experience.
In combination with the first aspect, a driving mechanism is further connected between the base and the foot rod mechanism, and the driving mechanism drives the seat frame and the back frame to rotate relative to the base by driving the foot rod mechanism to move.
Through adopting above-mentioned technical scheme, when the passenger needs to change between position of sitting and lying, can drive foot pole mechanism motion through actuating mechanism, foot pole mechanism drives seat frame and back of body frame through sitting pole mechanism and back of body pole mechanism and rotates to realize light sitting and lying experience. The sitting and lying conversion of the chair frame is realized through the driving mechanism, so that the action of human force is saved, and the experience is better.
In combination with the first aspect, further aspect, the foot bar mechanism is fixedly connected with a connecting rod, the driving end of the driving mechanism is hinged with the connecting rod, and the driving end drives the connecting rod to enable the foot bar mechanism to move.
Through adopting above-mentioned technical scheme, the setting of connecting rod can be convenient for be connected between actuating mechanism and the foot pole mechanism, can nimble adjustment actuating mechanism application of force in the position of foot pole mechanism.
With reference to the first aspect, in a further aspect, the back frame and the back bar mechanism are detachably connected.
By adopting the technical scheme, the chair frame is convenient to be divided into various modules for production and storage, the production line is convenient to realize miniaturized production, the occupation of space is reduced, and the production efficiency is improved. And the detachable link is also convenient for the production process and after-sales maintenance.
In combination with the first aspect, further aspects, an elastic element is connected between the seat frame and the base, and in the process of switching from the sitting posture to the lying posture, the elastic element applies force to the seat frame so as to enable the seat frame to keep the movement trend towards the sitting posture state.
Through adopting above-mentioned technical scheme, at position of sitting to position of lying conversion in-process, the suspension spring is elongated always to provide pulling force to the seat frame, when making to position of sitting from position of lying conversion, even though seat frame and back frame are laid down the angle very big, still can conveniently rise.
With reference to the first aspect, further aspect, in the process of switching from sitting posture to lying posture, an included angle between the supporting surface of the back frame and the horizontal direction is in a range of 70 ° to 13 °.
By adopting the technical scheme, the optimal stressed support of the back of the rider in the sitting posture and lying posture can be realized.
With reference to the first aspect, further aspect, an included angle between the supporting surface of the seat frame and the horizontal direction is 9 ° to 18 ° in the process of switching from the sitting posture to the lying posture.
By adopting the technical scheme, the optimal stressed support of the buttocks of the passengers in the sitting posture and lying posture can be realized.
In a second aspect, the present application provides a leisure chair comprising the chair frame of the first aspect.
By adopting the technical scheme, the leisure chair can realize two riding postures of sitting posture and lying posture, can conveniently and freely convert between the two postures, can realize zero gravity in the lying posture state, has the most reasonable physical stress of the riders in the two states, and can realize real relaxation rest.
In summary, the present application has at least one of the following beneficial technical effects:
1. the chair frame can realize component design, and finished product assembly is carried out in a component mode, so that production procedures are simplified, and labor cost is reduced.
2. The chair frame can realize linkage among the back frame, the seat frame and the leg frames, realize synchronous movement of the back frame, the seat frame and the foot frames in the sitting posture and lying posture switching process, realize optimal force application support for an occupant, and enable the body stress of the occupant to be more balanced and reasonable.
3. The leisure chair can realize two riding postures of sitting posture and lying posture, is convenient to switch between the two postures, can realize zero gravity under the lying posture state, has the most reasonable body stress under the two states, can realize real relaxation rest, and really meets the use requirement of passengers.
Drawings
FIG. 1 is a schematic view of an exploded construction of a chair frame of the present application;
FIG. 2 is a sitting posture elevation view of the chair frame of the present application;
FIG. 3 is a perspective view of a seating position of the chair frame of the present application;
FIG. 4 is a front view of the chair rack of the present application in a switched state;
FIG. 5 is a schematic perspective view showing a switching state of the chair frame;
FIG. 6 is a front view of the chair frame of the present application in a recumbent position;
fig. 7 is a perspective view of a chair frame of the present application in a recumbent position.
Reference numerals:
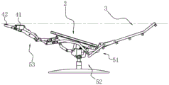
1. a base; 11. a chassis; 12. a support post; 13. a rotating frame; 131. a rotating rod; 132. a drive rack; 133. a support frame; 2. a mounting; 21. a seat frame; 22. a seat rod; 23. a seat net; 3. a back frame; 31. a back insert; 4. a foot rest; 41. a first foot support; 42. a second foot rest; 5. a link mechanism; 51. a back bar mechanism; 511. a first backing bar; 512. a second backing bar; 52. a sitting rod mechanism; 521. a first sitting bar; 522. a second sitting bar; 5221. a limiting piece; 53. a foot bar mechanism; 531. a first leg; 532. a second foot lever; 533. a third leg; 534. a fourth foot bar; 535. a fifth foot bar; 536. a sixth foot bar; 54. a connecting rod bracket; 6. a driving motor; 61. a fixed end; 62. a driving end; 7. a driving rod; 8. an elastic member.
Detailed Description
For the purpose of making the objects, technical solutions and advantages of the embodiments of the present utility model more apparent, the present utility model will be described in further detail with reference to the accompanying drawings. The components of the embodiments of the present utility model generally described and illustrated in the figures herein may be arranged and designed in a wide variety of different configurations. All other embodiments, which can be made by those skilled in the art based on the embodiments of the utility model without making any inventive effort, are intended to be within the scope of the utility model.
It should be noted that: like reference numerals and letters denote like items in the following figures, and thus once an item is defined in one figure, no further definition or explanation thereof is necessary in the following figures.
In the description of the present utility model, it should be noted that, unless explicitly specified and limited otherwise, the terms "mounted," "connected," and "connected" are to be construed broadly, and may be either fixedly connected, detachably connected, or integrally connected, for example; can be mechanically or electrically connected; can be directly connected or indirectly connected through an intermediate medium, and can be communication between two elements. The specific meaning of the above terms in the present utility model will be understood in specific cases by those of ordinary skill in the art.
In the description of the present application, it should be understood that the terms "upper," "lower," "left," "right," and the like indicate an orientation or a positional relationship based on that shown in the drawings, and are merely for convenience of description and simplification of the description, and do not indicate or imply that the apparatus or element in question must have a specific orientation, be configured and operated in a specific orientation, and therefore should not be construed as limiting the present application.
Some embodiments of the present utility model are described in detail below with reference to the accompanying drawings. Features of the embodiments described below may be combined with each other without conflict.
Example 1
Referring to fig. 1, an exploded view of one embodiment of a chair frame is shown. The chair frame comprises a base 1 and a seat frame 2 which are used for supporting the ground, a back frame 3 and a foot rest 4, and the seat frame 2 is rotatably connected with the base 1. The chair also comprises a connecting rod mechanism 5 which is connected with the base 1, the seat frame 2, the back frame 3 and the foot rest 4 to realize linkage, and the seat frame 2, the back frame 3 and the foot rest 4 can move between a sitting posture and a lying posture under the traction of the connecting rod mechanism 5.
The link mechanism 5 comprises a back rod mechanism 51, a sitting rod mechanism 52 and a foot rod mechanism 53, wherein one end of the back rod mechanism 51 is connected with the back frame 3, and the other end is respectively connected with the seat frame 2 and the foot rod mechanism 53; the sitting bar mechanism 52 is connected between the seat frame 2 and the base 1; the foot lever mechanism 53 is connected to the seat frame 2 and the seat lever mechanism 52, respectively. The foot lever mechanism 53 is connected to the foot stand 4, and the foot stand 4 includes a first foot stand 41 and a second foot stand 42.
The base 1 comprises a chassis 11 for contacting with the ground, a support column 12 is fixedly arranged in the center of the chassis 11, and the support column 12 is rotatably connected with a rotating frame 13. The rotating frame 13 comprises a rotating rod 131, two ends of the rotating rod 131 are fixedly connected with supporting frames 133, and a driving frame 132 is fixed in the middle of the rotating rod 131. The middle position of the rotating frame 13 is provided with a rotating hole which is inserted into the support column 12 and can axially rotate around the support column 12. The driving frame 132 is rotationally connected with a driving motor 6, the driving motor 6 comprises a fixed end 61 and a driving end 62, the fixed end 61 is hinged with the driving frame 132, the driving motor 6 is an electric push rod, and the driving end 62 can move linearly relative to the fixed end 61. The driving end 62 is rotatably connected with a driving rod 7, and the driving rod 7 is connected with the foot rod mechanism 53.
The seat bar mechanism 52 includes a first seat bar 521 and a second seat bar 522, where one end of the first seat bar 521 is pivotally connected to the connecting rod bracket 54 and the other end is pivotally connected to the supporting frame 133. One end of the second sitting bar 522 is pivoted with the connecting rod bracket 54, and the other end is connected with the foot bar mechanism 53. The foot lever mechanism 53 includes a first foot lever 531, a second foot lever 532, a third foot lever 533, a fourth foot lever 534, a fifth foot lever 535, and a sixth foot lever 536, one end of the first foot lever 531 is pivotally connected to the link bracket 54, the other end is pivotally connected to the third foot lever 533, one end of the third foot lever 533 remote from the first foot lever 531 is pivotally connected to the first foot bracket 41, the first foot bracket 41 is further pivotally connected to the fifth foot lever 535, and one end of the second foot lever 532 is pivotally connected to the link bracket 54, and the other end is pivotally connected to one end of the fifth foot lever 535 remote from the first foot bracket 41. The end of the fifth foot lever 535 remote from the second foot lever 532 is pivotally connected to the second foot bracket 42. The first leg 41 and the fifth leg are pivotally connected at a position near the middle portion thereof to the second leg 42, the second leg 42 is pivotally connected to the first leg 41 via a fourth leg 534, and the middle portion of the second leg 532 is fixedly connected to the driving lever 7. One end of the sixth foot bar 536 is pivotally connected to the second seat bar 522, and the other end is pivotally connected to the middle portion of the first foot bar 531, and the middle portion of the first foot bar 531 is pivotally connected to the middle portion of the third foot bar 533.
The seat frame 2 comprises rectangular seat frames 21, seat nets 23 are arranged in the seat frames 21, the seat nets 23 are connected between the seat frames 21 through steel wires and used for elastic support, and other flexible materials can be adopted for manufacturing. A seat rod 22 is fixedly connected under the seat frame 21 and fixedly connected with a connecting rod bracket 54.
The back frame 3 is fixedly connected with a back insert 31, and the back insert 31 is in plug-in fit with the first back rod 511 and can synchronously rotate along with the first back rod 511. The end of the first back rod 511 far away from the plug-in connection with the back insert 31 is pivoted with one end of the second back rod 512, the other end of the second back rod 512 is pivoted with the middle part of the first foot rod 531, and the position between the two end points of the first back rod 511 is pivoted with the connecting rod bracket 54.
An elastic element 8 is connected between the seat frame 2 and the base 1, and in the process of switching from sitting posture to lying posture, the elastic element 8 applies force to the seat frame 2 to enable the seat frame 2 to keep a movement trend towards the sitting posture state, and in the embodiment, the elastic element 8 is a spring or other elastic resetting elements.
Referring to fig. 2 and 3, the sitting posture state of the chair frame in this embodiment is indicated that the included angle between the back frame 3 and the seat frame 2 is the smallest, the foot rod mechanism 53 and the foot stand 4 are accommodated under the seat frame 2, and the seat rod mechanism 52 is provided with a limiting member 5221 to prevent the seat frame 2 from turning forward, and the driving end 62 of the driving motor 6 is in a contracted state. In this state, the supporting surface of the back frame 3 has an angle of 70 ° with respect to the horizontal direction, and the supporting surface of the seat frame 2 has an angle of 9 ° with respect to the horizontal direction.
Referring to fig. 4 and 5, the middle state of the chair frame in the present embodiment in the process of converting from sitting to lying state is schematically shown. In this state, the angle between the back frame 3 and the seat frame 2 gradually increases, the back frame 3 rotates clockwise in the direction shown in the drawing, the inclination angle increases, and the seat frame 2 also rotates clockwise by a small angle. The back frame 3 pushes the second back lever 512 to move away from the back frame 3 through the first back lever 511, the second back lever 512 pushes the second foot lever 532 to rotate clockwise around the link frame 54, the second foot lever 532 drives the first foot lever 531 and the first foot bracket 41 to rotate through the third foot lever 533, and simultaneously drives the sixth foot lever 536 to move, the first foot lever 531 drives the fifth foot lever 535 to move, and the fifth foot lever 535 pushes the second foot bracket 42 to rotate around the first foot bracket 41 and the fourth foot bracket 534. During the movement of the foot bar mechanism 53, the sixth foot bar 536 rotates the seat frame 2 via the second seat bar 522.
The present embodiment includes two embodiments, one is to enable the back frame 3 to rotate by the occupant applying a force to the back frame 3 in a backward direction, and enable the foot stand 4 and the seat frame 2 to move by the back frame 3 driving the back lever mechanism 51 and the foot lever mechanism 53 to move. The other way is that the foot rod mechanism 53 is driven by the driving motor 6 to drive the seat frame 2 and the back frame 3 to rotate, and the two ways can be selected alternatively.
Referring to fig. 6 and 7, the lying state of the chair frame of the present embodiment is illustrated. In the direction of the drawing, the back frame 3 continues to rotate clockwise, and the included angle between the back frame 3 and the seat frame 2 is the largest. The seat frame 2 and the foot rest 4 are driven to move by the back rod mechanism 51, the seat rod mechanism 52 and the foot rod mechanism 53, the foot rest 4 extends to the maximum distance in the direction far away from the seat frame 2, the supporting surfaces of the first foot support 41 and the second foot support 42 are basically flush, and the distance between the highest point of the foot rest 4 and the horizontal plane is basically the same as that between the highest point of the back frame 3 and the horizontal plane, so that the heights of the head and the foot are basically the same under the lying state of a rider, the zero-gravity lying state rest is realized, and the relaxation is truly realized throughout the body. In this state, the supporting surface of the back frame 3 forms an angle of 13 ° with the horizontal direction, and the supporting surface of the seat frame 2 forms an angle of 18 ° with the horizontal direction.
Example two
The embodiment provides a leisure chair, which comprises a chair frame in the first embodiment. The back frame 3, the seat frame 2 and the foot rest 4 are connected with a support and an ornament for supporting a human body, so that a user can sit and lie for rest.
The foregoing has shown and described the basic principles, principal features and advantages of the utility model. It will be understood by those skilled in the art that the present utility model is not limited to the embodiments described above, and that the embodiments and descriptions described herein are merely illustrative of the principles of the present utility model, and various changes, modifications, substitutions and alterations can be made herein without departing from the spirit and scope of the utility model, which are to be defined by the appended claims.

Claims (10)

1. The chair frame comprises a base (1) used for supporting the chair frame with the ground, a seat frame (2), a back frame (3) and a foot rest (4), and is characterized in that the seat frame (2) is rotationally connected with the base (1), and the chair frame also comprises a connecting rod mechanism (5) which is connected with the base (1), the seat frame (2), the back frame (3) and the foot rest (4) to realize linkage, and the seat frame (2), the back frame (3) and the foot rest (4) move between sitting postures and lying postures under the traction of the connecting rod mechanism (5);
wherein, in a sitting posture state, the highest point of the back frame (3) is higher than the highest point of the foot rest (4); in the lying state, the foot rest (4) extends away from the seat frame (2), and the height of the highest point of the foot rest (4) relative to the horizontal plane is basically the same as the height of the highest point of the back rest (3) relative to the horizontal plane.
2. The chair frame according to claim 1, characterized in that the link mechanism (5) comprises a back lever mechanism (51), a sitting lever mechanism (52) and a foot lever mechanism (53), wherein one end of the back lever mechanism (51) is connected with the back frame (3), and the other end is connected with the seat frame (2) and the foot lever mechanism (53), respectively; the sitting rod mechanism (52) is connected between the seat frame (2) and the base (1); the foot rod mechanism (53) is respectively connected with the seat frame (2) and the sitting rod mechanism (52).
3. A chair frame according to claim 2, wherein when the back frame (3) rotates relative to the seat frame (2), the back frame (3) drives the foot rod mechanism (53) to move through the back rod mechanism (51), and the foot rod mechanism (53) drives the seat frame (2) to rotate relative to the base (1).
4. A chair frame according to claim 2, characterized in that a driving mechanism is also connected between the base (1) and the foot bar mechanism (53), and the driving mechanism drives the seat frame (2) and the back frame (3) to rotate relative to the base (1) by driving the foot bar mechanism (53) to move.
5. The chair frame according to claim 4, characterized in that the foot bar mechanism (53) is fixedly connected with a connecting rod, the driving end (62) of the driving mechanism is hinged with the connecting rod, and the driving end (62) drives the connecting rod to enable the foot bar mechanism (53) to move.
6. A chair frame according to claim 2, characterized in that the back frame (3) and the back bar mechanism (51) are detachably connected.
7. A chair frame according to claim 1, characterized in that an elastic member (8) is connected between the seat frame (2) and the base (1), the elastic member (8) exerting a force on the seat frame (2) to keep the seat frame (2) moving towards the sitting position state during the switching of the sitting position to the lying position.
8. A chair frame according to any one of claims 1 to 7, characterized in that the angle between the support surface of the back frame (3) and the horizontal during the switching of the sitting to lying position is in the range of 70 ° to 13 °.
9. A chair frame according to claim 8, characterized in that the support surface of the seat frame (2) is at an angle in the range of 9 ° to 18 ° to the horizontal during the switching of the sitting to lying position.
10. A leisure chair comprising a chair frame as claimed in any one of claims 1 to 9.
CN202320297061.3U 2023-02-18 2023-02-18 Leisure chair and chair frame thereof Active CN219289062U (en)

Priority Applications (1)

Application Number Priority Date Filing Date Title
CN202320297061.3U CN219289062U (en) 2023-02-18 2023-02-18 Leisure chair and chair frame thereof

Applications Claiming Priority (1)

Application Number Priority Date Filing Date Title
CN202320297061.3U CN219289062U (en) 2023-02-18 2023-02-18 Leisure chair and chair frame thereof

Publications (1)

Publication Number Publication Date
CN219289062U true CN219289062U (en) 2023-07-04

Family

ID=86951137

Family Applications (1)

Application Number Title Priority Date Filing Date
CN202320297061.3U Active CN219289062U (en) 2023-02-18 2023-02-18 Leisure chair and chair frame thereof

Country Status (1)

Country Link
CN (1) CN219289062U (en)

Cited By (1)

* Cited by examiner, † Cited by third party
Publication number Priority date Publication date Assignee Title
CN116687159A (en) * 2023-07-24 2023-09-05 欧米伽智能家居(江苏)有限公司 A reciprocating sofa and its skeleton

Cited By (1)

* Cited by examiner, † Cited by third party
Publication number Priority date Publication date Assignee Title
CN116687159A (en) * 2023-07-24 2023-09-05 欧米伽智能家居(江苏)有限公司 A reciprocating sofa and its skeleton

Similar Documents

Publication Publication Date Title
US12161225B2 (en) Mechanical extension apparatus for extendable seat and extendable seat
EP3508095B1 (en) Chair structure and chair
CN102160716B (en) Chair frame with adjustable position of backrest
CA2581206C (en) Back rest tilting device in reclining chair
JP5570658B2 (en) Multifunctional chair
CN214631100U (en) Seat back linkage mechanism
CN212438005U (en) Sofa stretching device capable of providing zero-gravity sitting feeling
CN112220261B (en) Seat capable of preventing sedentary problem
CN103549787B (en) A kind of seat and backrest installation structure thereof
CN219289062U (en) Leisure chair and chair frame thereof
CN217429591U (en) Zero-gravity leisure chair driven by human body power
CN2604112Y (en) Multifunctional chair
CN106108444B (en) Frame structure for reclining chair
CN217885539U (en) Sofa
CN213429204U (en) Novel multifunctional leisure deck chair for life
CN2407652Y (en) Multifunction relaxing chair frame
CN219720215U (en) Seat and linkage device thereof
CN202504743U (en) Lay flat office chair
CN212591134U (en) Adjustable seat support
CN201840078U (en) Office reclining chair
CN116211093B (en) Seat and linkage device thereof
CN221997375U (en) Linkage telescopic unit and seat support
CN101166443B (en) Seating, especially office chair
CN218737999U (en) Adjusting device for seat unit and seat unit
CN202035760U (en) Chair frame with position-adjustable backrest

Legal Events

Date Code Title Description
GR01 Patent grant
GR01 Patent grant