CN219283870U - A new type of drying equipment for printing and dyeing - Google Patents
A new type of drying equipment for printing and dyeing Download PDFInfo
- Publication number
- CN219283870U CN219283870U CN202223105886.5U CN202223105886U CN219283870U CN 219283870 U CN219283870 U CN 219283870U CN 202223105886 U CN202223105886 U CN 202223105886U CN 219283870 U CN219283870 U CN 219283870U
- Authority
- CN
- China
- Prior art keywords
- box
- drying
- drying box
- printing
- fixedly connected
- Prior art date
- Legal status (The legal status is an assumption and is not a legal conclusion. Google has not performed a legal analysis and makes no representation as to the accuracy of the status listed.)
- Expired - Fee Related
Links
Images
Classifications
-
- Y—GENERAL TAGGING OF NEW TECHNOLOGICAL DEVELOPMENTS; GENERAL TAGGING OF CROSS-SECTIONAL TECHNOLOGIES SPANNING OVER SEVERAL SECTIONS OF THE IPC; TECHNICAL SUBJECTS COVERED BY FORMER USPC CROSS-REFERENCE ART COLLECTIONS [XRACs] AND DIGESTS
- Y02—TECHNOLOGIES OR APPLICATIONS FOR MITIGATION OR ADAPTATION AGAINST CLIMATE CHANGE
- Y02P—CLIMATE CHANGE MITIGATION TECHNOLOGIES IN THE PRODUCTION OR PROCESSING OF GOODS
- Y02P70/00—Climate change mitigation technologies in the production process for final industrial or consumer products
- Y02P70/10—Greenhouse gas [GHG] capture, material saving, heat recovery or other energy efficient measures, e.g. motor control, characterised by manufacturing processes, e.g. for rolling metal or metal working
Landscapes
- Treatment Of Fiber Materials (AREA)
Abstract
本实用新型公开了一种用于印染的新型烘干设备,涉及印染烘干技术领域,包括烘干箱,所述烘干箱内侧顶部转动连接有角度可调的出风箱,所述出风箱底部固定连接有多个均匀分布的喷头,通过干燥箱,可对进入干燥箱内的气体被干燥,干燥后的气体通过连通管一进入加热箱,进入加热箱的气体将被加热,加热后的气体将通过连接管进入连接软管,然后进入出风箱,通过喷头喷出,通过进料口,进而使得印染布料可以进入烘干箱内,通过输送辊,进而可对印染布料进行传输,喷头喷出的热气流将对印染布料进行烘干,然后通过出料口流出,以此解决了然而,现有的印染装置,在印染完成后,不能对布料及时烘干,影响布料的成色,且工作效率低下的问题。
The utility model discloses a new type of drying equipment for printing and dyeing, which relates to the technical field of printing and dyeing drying, and comprises a drying box. There are multiple uniformly distributed nozzles fixedly connected, through the drying box, the gas entering the drying box can be dried, the dried gas enters the heating box through the connecting pipe, the gas entering the heating box will be heated, and the heated gas It will enter the connecting hose through the connecting pipe, then enter the air outlet box, spray out through the nozzle, and pass through the feeding port, so that the printed and dyed fabric can enter the drying box, pass through the conveying roller, and then the printed and dyed fabric can be transported, and the nozzle sprays out The hot air will dry the printed and dyed cloth, and then flow out through the outlet, thus solving the problem. However, the existing printing and dyeing device cannot dry the cloth in time after the printing and dyeing is completed, which affects the fineness of the cloth and lowers the working efficiency. Low questions.
Description
技术领域technical field
本实用新型涉及印染烘干技术领域,具体涉及一种用于印染的新型烘干设备。The utility model relates to the technical field of printing and dyeing drying, in particular to a novel drying equipment for printing and dyeing.
背景技术Background technique
印染又称之为染整。是一种加工方式,也是前处理,染色,印花,后整理,洗水等的总称;本科的染整专业现在已经并入轻化工程专业;早在六、七千年前的新石器时代,我们的祖先就能够用赤铁矿粉末将麻布染成红色。居住在青海柴达木盆地诺木洪地区的原始部落,能把毛线染成黄、红、褐、蓝等色,织出带有色彩条纹的毛布。Printing and dyeing is also called dyeing and finishing. It is a processing method, and it is also a general term for pretreatment, dyeing, printing, finishing, washing, etc.; the undergraduate dyeing and finishing major has now been incorporated into the light chemical engineering major; as early as the Neolithic Age six or seven thousand years ago, Our ancestors were able to dye sackcloth red with hematite powder. The primitive tribes living in the Nomuhong area of the Qaidam Basin in Qinghai can dye wool into yellow, red, brown, blue and other colors, and weave woolen cloth with colored stripes.
然而,现有的印染装置,在印染完成后,不能对布料及时烘干,影响布料的成色,且工作效率低下,为此,我们提出一种用于印染的新型烘干设备。However, the existing printing and dyeing equipment cannot dry the cloth in time after the printing and dyeing is completed, which affects the fineness of the cloth and has low work efficiency. Therefore, we propose a new type of drying equipment for printing and dyeing.
实用新型内容Utility model content
本实用新型的目的在于:为解决上述背景技术提出的问题,本实用新型提供了一种用于印染的新型烘干设备。The purpose of the utility model is to provide a new type of drying equipment for printing and dyeing in order to solve the problems raised by the above-mentioned background technology.
本实用新型为了实现上述目的具体采用以下技术方案:The utility model specifically adopts the following technical solutions in order to achieve the above object:
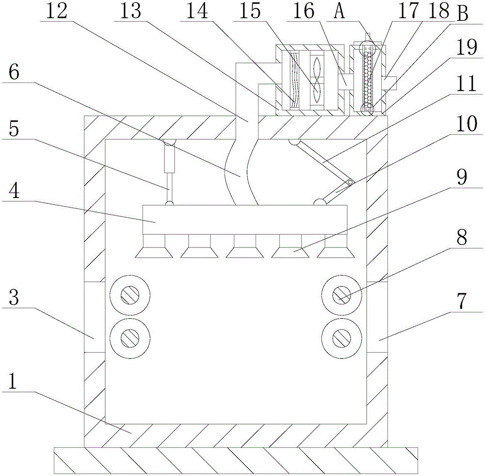
一种用于印染的新型烘干设备,包括烘干箱,所述烘干箱内侧顶部转动连接有角度可调的出风箱,所述出风箱底部固定连接有多个均匀分布的喷头,所述出风箱顶部固定连接有连接软管,所述烘干箱顶部固定连接有加热箱,所述烘干箱顶部还固定连接有干燥箱,所述加热箱与连接软管通过连接管进行连通,所述加热箱与干燥箱之间通过连通管一进行连通,所述烘干箱一侧开设有进料口,所述烘干箱另一侧开设有出料口,所述烘干箱内侧两端均转动连接有两个呈对称分布的输送辊,所述干燥箱远离加热箱一侧固定连接有连通管二。A new type of drying equipment for printing and dyeing, comprising a drying box, the inside top of the drying box is rotatably connected with an angle-adjustable air outlet box, and the bottom of the air outlet box is fixedly connected with a plurality of evenly distributed nozzles. The top of the air outlet box is fixedly connected with a connecting hose, the top of the drying box is fixedly connected with a heating box, and the top of the drying box is also fixedly connected with a drying box, and the heating box and the connecting hose are connected through a connecting pipe. The heating box and the drying box are communicated through a connecting pipe. One side of the drying box is provided with a feed port, and the other side of the drying box is provided with a discharge port. Both are rotatably connected with two symmetrically distributed conveying rollers, and the side of the drying box away from the heating box is fixedly connected with the second connecting pipe.
进一步地,所述烘干箱内侧顶部一端转动连接有电推杆,所述电推杆输出端与出风箱顶部转动连接,所述烘干箱内侧顶部另一端转动连接有连接杆二,所述连接杆二远离烘干箱一端转动连接有连接杆一,所述连接杆一远离连接杆二一端与出风箱顶部转动连接。Further, one end of the inner top of the drying box is rotatably connected to an electric push rod, the output end of the electric push rod is rotatably connected to the top of the air outlet box, and the other end of the inner top of the drying box is rotatably connected to a connecting rod two. The end of the connecting rod two away from the drying box is rotatably connected with the connecting rod one, and the end of the connecting rod one away from the connecting rod two is rotatably connected with the top of the air outlet box.
进一步地,所述加热箱内侧一端固定连接有加热丝,所述加热箱内侧另一端固定连接有风机。Further, a heating wire is fixedly connected to one end inside the heating box, and a fan is fixedly connected to the other end inside the heating box.
进一步地,所述干燥箱内侧滑动连接有安装框,所述安装框内侧设置有干燥包,所述安装框底部与干燥箱内侧底部卡接,所述安装框两侧均卡接有盖板。Further, an installation frame is slidably connected to the inside of the drying box, a drying bag is provided inside the installation frame, the bottom of the installation frame is clipped to the inside bottom of the drying box, and cover plates are clipped on both sides of the installation frame.
进一步地,所述安装框底部开设有卡槽二,所述干燥箱内侧底部固定连接有卡块二,所述卡块二与卡槽二内侧卡接。Further, the bottom of the installation frame is provided with a
进一步地,所述安装框两侧均开设有两个呈对称分布的卡槽一,两个所述盖板相对侧均固定连接有两个呈对称分布的卡块一,所述卡块一与卡槽一内侧卡接。Further, two symmetrically
进一步地,所述干燥箱顶部设置有密封板,所述安装框顶部与密封板底部固定连接。Further, a sealing plate is provided on the top of the drying box, and the top of the installation frame is fixedly connected to the bottom of the sealing plate.
本实用新型的有益效果如下:The beneficial effects of the utility model are as follows:
本实用新型通过干燥箱,进而可对进入干燥箱内的气体被干燥,干燥后的气体通过连通管一进入加热箱,进入加热箱的气体将被加热,加热后的气体将通过连接管进入连接软管,然后进入出风箱,通过喷头喷出,通过进料口,进而使得印染布料可以进入烘干箱内,通过输送辊,进而可对印染布料进行传输,喷头喷出的热气流将对印染布料进行烘干,然后通过出料口流出,以此解决了然而,现有的印染装置,在印染完成后,不能对布料及时烘干,影响布料的成色,且工作效率低下的问题。The utility model can dry the gas entering the drying box through the drying box, and the dried gas enters the heating box through the connecting pipe, and the gas entering the heating box will be heated, and the heated gas will enter the connecting pipe through the connecting pipe. The hose then enters the air outlet box, sprays out through the nozzle, and passes through the feed port, so that the printed and dyed fabric can enter the drying box, pass through the conveying roller, and then transport the printed and dyed fabric, and the hot air flow ejected from the nozzle will affect the printing and dyeing The cloth is dried and then flows out through the outlet, which solves the problem that the existing printing and dyeing device cannot dry the cloth in time after the printing and dyeing is completed, which affects the fineness of the cloth and has low working efficiency.
附图说明Description of drawings
图1是本实用新型结构示意图;Fig. 1 is a structural representation of the utility model;
图2是本实用新型主视图;Fig. 2 is a front view of the utility model;
图3是本实用新型图1中A处放大结构示意图;Fig. 3 is a schematic diagram of enlarged structure at A place in Fig. 1 of the present utility model;
图4是本实用新型图1中B处放大结构示意图;Fig. 4 is the schematic diagram of enlarged structure at B place in Fig. 1 of the utility model;
附图标记:1、烘干箱;2、盖板;3、进料口;4、出风箱;5、电推杆;6、连接软管;7、出料口;8、输送辊;9、喷头;10、连接杆一;11、连接杆二;12、连接管;13、加热箱;14、加热丝;15、风机;16、连通管一;17、干燥包;18、连通管二;19、干燥箱;20、密封板;21、卡块一;22、安装框;23、卡块二;24、卡槽二;25、卡槽一。Reference signs: 1. Drying box; 2. Cover plate; 3. Material inlet; 4. Air outlet box; 5. Electric push rod; 6. Connecting hose; 7. Material outlet; 8. Conveying roller; 9 , nozzle; 10, connecting rod one; 11, connecting rod two; 12, connecting pipe; 13, heating box; 14, heating wire; 15, fan; 16, connecting pipe one; 17, drying bag; 18, connecting pipe two ; 19, drying oven; 20, sealing plate; 21, block one; 22, installation frame; 23, block two; 24, slot two; 25, slot one.
具体实施方式Detailed ways
为使本实用新型实施例的目的、技术方案和优点更加清楚,下面将结合本实用新型实施例中的附图,对本实用新型实施例中的技术方案进行清楚、完整地描述。In order to make the purpose, technical solutions and advantages of the embodiments of the utility model clearer, the technical solutions in the embodiments of the utility model will be clearly and completely described below in conjunction with the drawings in the embodiments of the utility model.
如图1-4所示,一种用于印染的新型烘干设备,包括烘干箱1,烘干箱1内侧顶部转动连接有角度可调的出风箱4,出风箱4底部固定连接有多个均匀分布的喷头9,出风箱4顶部固定连接有连接软管6,烘干箱1顶部固定连接有加热箱13,烘干箱1顶部还固定连接有干燥箱19,加热箱13与连接软管6通过连接管12进行连通,加热箱13与干燥箱19之间通过连通管一16进行连通,烘干箱1一侧开设有进料口3,烘干箱1另一侧开设有出料口7,烘干箱1内侧两端均转动连接有两个呈对称分布的输送辊8,干燥箱19远离加热箱13一侧固定连接有连通管二18,在一些实施例中,通过干燥箱19,进而可对进入干燥箱19内的气体被干燥,干燥后的气体通过连通管一16进入加热箱13,进入加热箱13的气体将被加热,加热后的气体将通过连接管12进入连接软管6,然后进入出风箱4,通过喷头9喷出,通过进料口3,进而使得印染布料可以进入烘干箱1内,通过输送辊8,进而可对印染布料进行传输,喷头9喷出的热气流将对印染布料进行烘干,然后通过出料口7流出,以此解决了然而,现有的印染装置,在印染完成后,不能对布料及时烘干,影响布料的成色,且工作效率低下的问题。As shown in Figure 1-4, a new type of drying equipment for printing and dyeing, including a
如图1所示,在一些实施例中,烘干箱1内侧顶部一端转动连接有电推杆5,电推杆5输出端与出风箱4顶部转动连接,烘干箱1内侧顶部另一端转动连接有连接杆二11,连接杆二11远离烘干箱1一端转动连接有连接杆一10,连接杆一10远离连接杆二11一端与出风箱4顶部转动连接,通过电推杆5,进而可带动出风箱4转动,通过连接杆二11和连接杆一10的配合下,进而使得出风箱4可在烘干箱1内侧顶部转动,进而可带动喷头9转动,进而可对印染布料进行不同角度的热气烘干。As shown in Figure 1, in some embodiments, an
如图1所示,在一些实施例中,加热箱13内侧一端固定连接有加热丝14,加热箱13内侧另一端固定连接有风机15,通过将加热丝14与外接电源进行连通,进而使得加热丝14对加热箱13内的气体进行加热,通过风机15,进而将加热的气体输送到烘干箱1内。As shown in Figure 1, in some embodiments, one end inside the
如图1、图3和图4所示,在一些实施例中,干燥箱19内侧滑动连接有安装框22,安装框22内侧设置有干燥包17,安装框22底部与干燥箱19内侧底部卡接,安装框22两侧均卡接有盖板2,通过盖板2与安装框22两侧的卡接,进而可对安装框22内的干燥包17进行限位,进而可对进入干燥箱19内的气体被干燥。As shown in Fig. 1, Fig. 3 and Fig. 4, in some embodiments, an
如图4所示,在一些实施例中,安装框22底部开设有卡槽二24,干燥箱19内侧底部固定连接有卡块二23,卡块二23与卡槽二24内侧卡接,通过卡块二23与卡槽二24内侧的卡接,进而使得安装框22与干燥箱19内侧底部的卡接。As shown in FIG. 4 , in some embodiments, the bottom of the
如图3和图4所示,在一些实施例中,安装框22两侧均开设有两个呈对称分布的卡槽一25,两个盖板2相对侧均固定连接有两个呈对称分布的卡块一21,卡块一21与卡槽一25内侧卡接,通过卡块一21与卡槽一25内侧的卡接,进而可将盖板2卡设在安装框22两侧。As shown in Figures 3 and 4, in some embodiments, two symmetrically distributed slots 125 are provided on both sides of the
如图1-3所示,在一些实施例中,干燥箱19顶部设置有密封板20,安装框22顶部与密封板20底部固定连接,通过密封板20,进而可将干燥箱19顶部密封,同时移动密封板20,可将安装框22从干燥箱19内侧抽出。As shown in Figures 1-3, in some embodiments, the top of the
对所公开的实施例的上述说明,使本领域专业技术人员能够实现或使用本实用新型。对这些实施例的多种修改对本领域的专业技术人员来说将是显而易见的,本文中所定义的一般原理可以在不脱离本实用新型的精神或范围的情况下,在其它实施例中实现。因此,本实用新型将不会被限制于本文所示的这些实施例,而是要符合与本文所公开的原理和新颖特点相一致的最宽的范围。The above description of the disclosed embodiments enables those skilled in the art to realize or use the utility model. Various modifications to these embodiments will be readily apparent to those skilled in the art, and the general principles defined herein may be implemented in other embodiments without departing from the spirit or scope of the invention. Therefore, the present invention will not be limited to these embodiments shown herein, but will conform to the widest scope consistent with the principles and novel features disclosed herein.
Claims (7)
Priority Applications (1)
| Application Number | Priority Date | Filing Date | Title |
|---|---|---|---|
| CN202223105886.5U CN219283870U (en) | 2022-11-22 | 2022-11-22 | A new type of drying equipment for printing and dyeing |
Applications Claiming Priority (1)
| Application Number | Priority Date | Filing Date | Title |
|---|---|---|---|
| CN202223105886.5U CN219283870U (en) | 2022-11-22 | 2022-11-22 | A new type of drying equipment for printing and dyeing |
Publications (1)
| Publication Number | Publication Date |
|---|---|
| CN219283870U true CN219283870U (en) | 2023-06-30 |
Family
ID=86931064
Family Applications (1)
| Application Number | Title | Priority Date | Filing Date |
|---|---|---|---|
| CN202223105886.5U Expired - Fee Related CN219283870U (en) | 2022-11-22 | 2022-11-22 | A new type of drying equipment for printing and dyeing |
Country Status (1)
| Country | Link |
|---|---|
| CN (1) | CN219283870U (en) |
-
2022
- 2022-11-22 CN CN202223105886.5U patent/CN219283870U/en not_active Expired - Fee Related
Similar Documents
| Publication | Publication Date | Title |
|---|---|---|
| CN109944003A (en) | A dyeing and drying integrated fabric printing and dyeing equipment | |
| CN219283870U (en) | A new type of drying equipment for printing and dyeing | |
| CN210425937U (en) | Cloth drying and winding device for printing and dyeing | |
| CN211446209U (en) | A kind of feeding equipment for the dyeing process of biomass fiber shoe upper canvas | |
| CN112342717B (en) | Printing and dyeing production process and production device of all-cotton antibacterial double-sided cloth | |
| CN219603901U (en) | Washing-free dyeing device for fabric | |
| CN211112640U (en) | A high-efficiency printing and dyeing device for knitted fabrics | |
| CN209666544U (en) | A circulating drying device for a screen printing machine | |
| CN214449473U (en) | A kind of imitation wax printed cloth drying device | |
| CN209873349U (en) | Transmission device for avoiding damaging printing and dyeing layer | |
| CN208395443U (en) | It is a kind of for being knitted the dyeing apparatus of fabric | |
| CN215283965U (en) | Pre-drying machine | |
| CN216378710U (en) | A dehydration and dust removal device for printing and dyeing fabric processing | |
| CN216466888U (en) | Polyester fabric anhydrous printing and dyeing device | |
| CN213973071U (en) | Screen printing ink curing dryer | |
| CN214359346U (en) | Imitative wax seal cotton cloth baking house guider | |
| CN214060953U (en) | Printing and dyeing drying device for processing living clothes | |
| CN212103297U (en) | A water washing device for fabric dyeing and weaving | |
| CN214572706U (en) | Printing and dyeing device with high printing and dyeing efficiency | |
| CN212077333U (en) | A device for coloring during spinning | |
| CN213925430U (en) | Printing and dyeing drying device for printing and dyeing cloth | |
| CN214400987U (en) | Textile printing and dyeing device convenient to print and dye fast | |
| CN218711491U (en) | A hot air primer for printing and dyeing | |
| CN112644160B (en) | Wax-printed cloth drying device and drying process | |
| CN213624739U (en) | Indigo-blue deepening dyeing device |
Legal Events
| Date | Code | Title | Description |
|---|---|---|---|
| GR01 | Patent grant | ||
| GR01 | Patent grant | ||
| CF01 | Termination of patent right due to non-payment of annual fee | ||
| CF01 | Termination of patent right due to non-payment of annual fee |
Granted publication date: 20230630 |
