CN219279601U - a purification device - Google Patents
a purification device Download PDFInfo
- Publication number
- CN219279601U CN219279601U CN202223228498.6U CN202223228498U CN219279601U CN 219279601 U CN219279601 U CN 219279601U CN 202223228498 U CN202223228498 U CN 202223228498U CN 219279601 U CN219279601 U CN 219279601U
- Authority
- CN
- China
- Prior art keywords
- filter screen
- block
- fixed mounting
- box
- motor
- Prior art date
- Legal status (The legal status is an assumption and is not a legal conclusion. Google has not performed a legal analysis and makes no representation as to the accuracy of the status listed.)
- Expired - Fee Related
Links
- 238000000746 purification Methods 0.000 title claims abstract description 14
- 239000002351 wastewater Substances 0.000 claims abstract description 23
- 238000004140 cleaning Methods 0.000 claims abstract description 18
- 238000001125 extrusion Methods 0.000 claims description 2
- 238000001914 filtration Methods 0.000 abstract description 14
- 239000012535 impurity Substances 0.000 abstract description 5
- 238000004065 wastewater treatment Methods 0.000 abstract description 3
- 230000000694 effects Effects 0.000 description 7
- 238000000034 method Methods 0.000 description 7
- 238000010586 diagram Methods 0.000 description 3
- 238000004519 manufacturing process Methods 0.000 description 2
- 238000012986 modification Methods 0.000 description 2
- 230000004048 modification Effects 0.000 description 2
- 239000013049 sediment Substances 0.000 description 2
- 230000009286 beneficial effect Effects 0.000 description 1
- 239000008394 flocculating agent Substances 0.000 description 1
- 239000002244 precipitate Substances 0.000 description 1
- 238000004062 sedimentation Methods 0.000 description 1
- 239000000126 substance Substances 0.000 description 1
- 239000002699 waste material Substances 0.000 description 1
- XLYOFNOQVPJJNP-UHFFFAOYSA-N water Substances O XLYOFNOQVPJJNP-UHFFFAOYSA-N 0.000 description 1
Images
Landscapes
- Filtration Of Liquid (AREA)
Abstract
本实用新型涉及废水处理技术领域,且公开了一种净化装置,包括收集箱,所述收集箱的顶部固定安装有电机,所述电机的输出轴固定安装有十字架,所述十字架的外表面固定安装有环块,所述环块的内部固定安装有滤网。本实用新型通过设置电机、滤网、竖轴和转块,由于电机的运行,使得位于处理箱内部的滤网在环块的转动下与处理箱脱离,而在环块的持续转动下,通过环块带动竖轴进行转动,再通过竖轴带动转块以顶板和转块的连接处进行转动,从而带动清洁块对滤网表面的杂质进行清洁,从而实现连续清洁和过滤作业,降低了工作人员的作业量,同时实现对废水的连续清洁作业。
The utility model relates to the technical field of wastewater treatment, and discloses a purification device, comprising a collection box, a motor is fixedly installed on the top of the collection box, a cross is fixedly installed on the output shaft of the motor, and the outer surface of the cross is fixed A ring block is installed, and a filter screen is fixedly installed inside the ring block. The utility model is provided with a motor, a filter screen, a vertical shaft and a rotating block. Due to the operation of the motor, the filter screen located inside the processing box is separated from the processing box under the rotation of the ring block, and under the continuous rotation of the ring block, it passes The ring block drives the vertical shaft to rotate, and then the vertical shaft drives the rotary block to rotate at the connection between the top plate and the rotary block, thereby driving the cleaning block to clean the impurities on the surface of the filter screen, so as to realize continuous cleaning and filtering operations, reducing work The workload of personnel is reduced, and the continuous cleaning of wastewater is realized at the same time.
Description
技术领域technical field
本实用新型涉及废水处理技术领域,更具体地说,本实用新型涉及一种净化装置。The utility model relates to the technical field of wastewater treatment, more specifically, the utility model relates to a purification device.
背景技术Background technique
目前,企业在进行生产制造作业时,会产生大量的有机废水,对于有机废水的常用处理方式是通过添加絮凝剂,使得废水中的有机物质成团沉淀,而后在对沉淀物进行排出,进而达到净化的效果,现有技术中的废水净化装置通常采用内置滤网,对排出的具有沉淀物废水进行过滤,然而经过长时间的过滤作业后,滤网容易发生堵塞,使得过滤效果降低,且采用人工清洁时,需要对装置进行停止运行,降低了废水处理的效率,无法实现连续高效的作业。At present, when enterprises carry out production and manufacturing operations, a large amount of organic wastewater will be generated. The common treatment method for organic wastewater is to add flocculants to make the organic substances in the wastewater precipitate into agglomerates, and then discharge the sediment to achieve Purification effect, the wastewater purification device in the prior art usually uses a built-in filter to filter the discharged wastewater with sediment. However, after a long time of filtration, the filter is prone to blockage, which reduces the filtering effect. During manual cleaning, it is necessary to stop the operation of the device, which reduces the efficiency of wastewater treatment and cannot achieve continuous and efficient operation.
实用新型内容Utility model content
为了克服现有技术的不足,本实用新型提供了一种净化装置,具有连续、高效和过滤效果好的优点。In order to overcome the shortcomings of the prior art, the utility model provides a purification device, which has the advantages of continuous, high efficiency and good filtering effect.
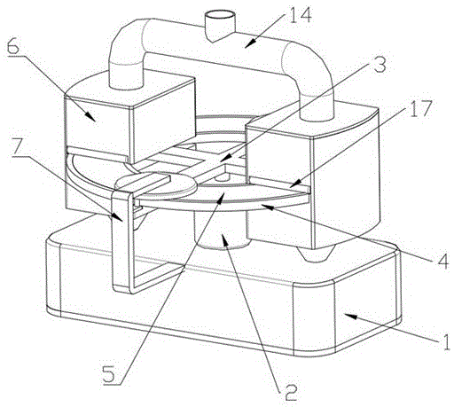
为实现上述目的,本实用新型提供如下技术方案:一种净化装置,包括收集箱,所述收集箱的顶部固定安装有电机,所述电机的输出轴固定安装有十字架,所述十字架的外表面固定安装有环块,所述环块的内部固定安装有滤网,所述收集箱的上方设置有处理箱,所述滤网部分延伸至处理箱的内部,所述收集箱的前后两侧均固定安装有固定支架,所述固定支架的背面固定安装有顶板和底板,所述顶板的底端转动安装有转块,所述转块的底端固定安装有位于滤网顶部的清洁块,所述转块的底端开设有凹槽,所述底板的顶部转动安装有竖轴,所述竖轴的顶部延伸至凹槽的内部,所述竖轴与环块和转块均挤压接触。In order to achieve the above object, the utility model provides the following technical solutions: a purification device, including a collection box, a motor is fixedly installed on the top of the collection box, a cross is fixedly installed on the output shaft of the motor, and the outer surface of the cross is A ring block is fixedly installed, and a filter screen is fixedly installed inside the ring block, and a processing box is arranged above the collection box, and the filter screen part extends to the inside of the processing box, and the front and rear sides of the collection box are both A fixed bracket is fixedly installed, and a top plate and a bottom plate are fixedly installed on the back of the fixed bracket. The bottom end of the top plate is rotatably installed with a turning block, and the bottom end of the turning block is fixedly installed with a cleaning block on the top of the filter screen. The bottom end of the turning block is provided with a groove, and the top of the bottom plate is rotatably mounted with a vertical shaft, the top of the vertical shaft extends to the inside of the groove, and the vertical shaft is in extrusion contact with the ring block and the turning block.
作为本实用新型的一种优选技术方案,所述处理箱的数量为两个,两个所述处理箱通过废水管连通。As a preferred technical solution of the present invention, the number of the treatment tanks is two, and the two treatment tanks are connected through a waste water pipe.
作为本实用新型的一种优选技术方案,所述处理箱通过连接管与收集箱固定连通,所述连接管的形状为倒立喇叭状。As a preferred technical solution of the present invention, the treatment box is fixedly connected with the collection box through a connection pipe, and the shape of the connection pipe is an inverted trumpet shape.
作为本实用新型的一种优选技术方案,所述处理箱内腔的顶部固定安装有均匀分布的导向板,所述导向板的两端处于倾斜状态。As a preferred technical solution of the utility model, evenly distributed guide plates are fixedly installed on the top of the inner cavity of the processing box, and the two ends of the guide plates are in an inclined state.
作为本实用新型的一种优选技术方案,所述处理箱内部的两侧均转动安装有滚轮,所述滚轮的外表面光滑。As a preferred technical solution of the present invention, both sides of the inside of the processing box are rotatably mounted with rollers, and the outer surfaces of the rollers are smooth.
作为本实用新型的一种优选技术方案,所述竖轴的外表面固定套接有防滑圈,所述防滑圈采用橡胶制成。As a preferred technical solution of the present invention, an anti-slip ring is fixedly sleeved on the outer surface of the vertical shaft, and the anti-slip ring is made of rubber.
与现有技术相比,本实用新型的有益效果如下:Compared with the prior art, the beneficial effects of the utility model are as follows:
1、本实用新型通过设置电机、滤网、竖轴和转块,由于电机的运行,将会带动十字架、环块和滤网进行转动,使得位于处理箱内部的滤网在环块的转动下与处理箱脱离,此时位于处理箱外面的滤网将会代替之间的滤网进入到处理箱的内部进行过滤作业,而在环块的持续转动下,通过环块带动竖轴进行转动,再通过竖轴带动转块以顶板和转块的连接处进行转动,从而带动清洁块对滤网表面的杂质进行清洁,从而实现连续清洁和过滤作业,降低了工作人员的作业量,同时实现对废水的连续清洁作业。1. The utility model is equipped with a motor, a filter screen, a vertical shaft and a rotating block. Due to the operation of the motor, the cross, the ring block and the filter screen will be driven to rotate, so that the filter screen inside the processing box will be rotated under the rotation of the ring block. Separated from the processing box, at this time the filter screen located outside the processing box will replace the filter screen in between and enter the inside of the processing box for filtering operations, and under the continuous rotation of the ring block, the ring block drives the vertical axis to rotate, Then, the vertical shaft drives the rotary block to rotate at the connection between the top plate and the rotary block, thereby driving the cleaning block to clean the impurities on the surface of the filter screen, thereby realizing continuous cleaning and filtering operations, reducing the workload of the staff, and at the same time realizing cleaning. Continuous cleaning of waste water.
2、本实用新型通过设置导向板,由于导向板的设计,通过废水管进入处理箱内部的废水将会在导向板的导向作用下,向处理箱的两侧均匀分布,从而使得废水与滤网接触更加均匀,提高过滤效果。2. The utility model is provided with a guide plate. Due to the design of the guide plate, the waste water entering the treatment tank through the waste water pipe will be evenly distributed to both sides of the treatment tank under the guidance of the guide plate, so that the waste water and the filter screen The contact is more uniform and the filtering effect is improved.
附图说明Description of drawings
图1为本实用新型结构示意图;Fig. 1 is a structural representation of the utility model;
图2为本实用新型处理箱的内部结构示意图;Fig. 2 is the internal structure schematic diagram of the utility model processing box;
图3为本实用新型侧面的剖视结构示意图;Fig. 3 is a schematic cross-sectional structural view of the side of the utility model;
图4为本实用新型图3中A处的局部放大结构示意图;Fig. 4 is a schematic diagram of a partially enlarged structure at A in Fig. 3 of the present utility model;
图5为本实用新型导向板的结构示意图。Fig. 5 is a structural schematic diagram of the guide plate of the present invention.
图中:1、收集箱;2、电机;3、十字架;4、环块;5、滤网;6、处理箱;7、固定支架;8、顶板;9、转块;10、清洁块;11、凹槽;12、底板;13、竖轴;14、废水管;15、连接管;16、导向板;17、滚轮;18、防滑圈。In the figure: 1. Collection box; 2. Motor; 3. Cross; 4. Ring block; 5. Filter screen; 6. Processing box; 7. Fixed bracket; 8. Top plate; 9. Turning block; 10. Cleaning block; 11. Groove; 12. Bottom plate; 13. Vertical axis; 14. Waste pipe; 15. Connecting pipe; 16. Guide plate; 17. Roller; 18. Anti-skid ring.
具体实施方式Detailed ways
下面将结合本实用新型实施例中的附图,对本实用新型实施例中的技术方案进行清楚、完整地描述,显然,所描述的实施例仅仅是本实用新型一部分实施例,而不是全部的实施例。基于本实用新型中的实施例,本领域普通技术人员在没有做出创造性劳动前提下所获得的所有其他实施例,都属于本实用新型保护的范围。The technical solutions in the embodiments of the present invention will be clearly and completely described below in conjunction with the accompanying drawings in the embodiments of the present invention. Obviously, the described embodiments are only part of the embodiments of the present invention, not all of them. example. Based on the embodiments of the present utility model, all other embodiments obtained by persons of ordinary skill in the art without making creative efforts belong to the scope of protection of the present utility model.
如图1至图5所示,本实用新型提供一种净化装置,包括收集箱1,收集箱1的顶部固定安装有电机2,电机2的输出轴固定安装有十字架3,十字架3的外表面固定安装有环块4,环块4的内部固定安装有滤网5,收集箱1的上方设置有处理箱6,滤网5部分延伸至处理箱6的内部,收集箱1的前后两侧均固定安装有固定支架7,固定支架7的背面固定安装有顶板8和底板12,顶板8的底端转动安装有转块9,转块9的底端固定安装有位于滤网5顶部的清洁块10,转块9的底端开设有凹槽11,底板12的顶部转动安装有竖轴13,竖轴13的顶部延伸至凹槽11的内部,竖轴13与环块4和转块9均挤压接触;As shown in Figures 1 to 5, the utility model provides a purification device, including a collection box 1, a
启动电机2,由于电机2的运行,将会带动十字架3、环块4和滤网5进行转动,使得位于处理箱6内部的滤网5在环块4的转动下与处理箱6脱离,此时位于处理箱6外面的滤网5将会代替之间的滤网5进入到处理箱6的内部进行过滤作业,而在环块4的持续转动下,通过环块4带动竖轴13进行转动,再通过竖轴13带动转块9以顶板8和转块9的连接处进行转动,从而带动清洁块10对滤网5表面的杂质进行清洁,从而实现连续清洁和过滤作业,降低了工作人员的作业量,同时实现对废水的连续清洁作业。Start the
其中,处理箱6的数量为两个,两个处理箱6通过废水管14连通;通过废水管14的顶部与沉淀池连通,通过废水管14,使得废水通过废水管14分成两股水流进入到处理箱6的内部,从而提高废水单位时间的过滤量,加快过滤效果。Wherein, the quantity of
其中,处理箱6通过连接管15与收集箱1固定连通,连接管15的形状为倒立喇叭状;由于连接管15的设计,可以通过连接管15,使得处理箱6内部过滤后的废水集中收集在收集箱1的内部。Wherein, the
其中,处理箱6内腔的顶部固定安装有均匀分布的导向板16,导向板16的两端处于倾斜状态;由于导向板16的设计,通过废水管14进入处理箱6内部的废水将会在导向板16的导向作用下,向处理箱6的两侧均匀分布,从而使得废水与滤网5接触更加均匀,提高过滤效果。Wherein, the top of
其中,处理箱6内部的两侧均转动安装有滚轮17,滚轮17的外表面光滑,由于滚轮17的设计,当滤网5发生转动时,将会带动滚轮17一同发生转动,避免滤网5表面的杂质在运动时被留在处理箱6的内部,从而起到更好的清洁过滤效果。Wherein, the both sides of
其中,竖轴13的外表面固定套接有防滑圈18,防滑圈18采用橡胶制成;由于防滑圈18的设计,通过防滑圈18可以增大竖轴13与环块4和转块9之间的摩擦力,从而使得转块9顺利转动,对滤网5表面进行清洁。Wherein, the outer surface of the
本实用新型的工作原理及使用流程:Working principle and application process of the utility model:
启动电机2,由于电机2的运行,将会带动十字架3、环块4和滤网5进行转动,使得位于处理箱6内部的滤网5在环块4的转动下与处理箱6脱离,此时位于处理箱6外面的滤网5将会代替之间的滤网5进入到处理箱6的内部进行过滤作业,而在环块4的持续转动下,通过环块4带动竖轴13进行转动,再通过竖轴13带动转块9以顶板8和转块9的连接处进行转动,从而带动清洁块10对滤网5表面的杂质进行清洁。Start the
需要说明的是,在本文中,诸如第一和第二等之类的关系术语仅仅用来将一个实体或者操作与另一个实体或操作区分开来,而不一定要求或者暗示这些实体或操作之间存在任何这种实际的关系或者顺序。而且,术语“包括”、“包含”或者其任何其他变体意在涵盖非排他性的包含,从而使得包括一系列要素的过程、方法、物品或者设备不仅包括那些要素,而且还包括没有明确列出的其他要素,或者是还包括为这种过程、方法、物品或者设备所固有的要素。It should be noted that in this article, relational terms such as first and second are only used to distinguish one entity or operation from another entity or operation, and do not necessarily require or imply that there is a relationship between these entities or operations. There is no such actual relationship or order between them. Furthermore, the term "comprises", "comprises" or any other variation thereof is intended to cover a non-exclusive inclusion such that a process, method, article, or apparatus comprising a set of elements includes not only those elements, but also includes elements not expressly listed. other elements of or also include elements inherent in such a process, method, article, or device.
尽管已经示出和描述了本实用新型的实施例,对于本领域的普通技术人员而言,可以理解在不脱离本实用新型的原理和精神的情况下可以对这些实施例进行多种变化、修改、替换和变型,本实用新型的范围由所附权利要求及其等同物限定。Although the embodiments of the present invention have been shown and described, those skilled in the art can understand that various changes and modifications can be made to these embodiments without departing from the principle and spirit of the present invention , replacements and modifications, the scope of the present utility model is defined by the appended claims and their equivalents.
Claims (6)
Priority Applications (1)
| Application Number | Priority Date | Filing Date | Title |
|---|---|---|---|
| CN202223228498.6U CN219279601U (en) | 2022-12-03 | 2022-12-03 | a purification device |
Applications Claiming Priority (1)
| Application Number | Priority Date | Filing Date | Title |
|---|---|---|---|
| CN202223228498.6U CN219279601U (en) | 2022-12-03 | 2022-12-03 | a purification device |
Publications (1)
| Publication Number | Publication Date |
|---|---|
| CN219279601U true CN219279601U (en) | 2023-06-30 |
Family
ID=86940807
Family Applications (1)
| Application Number | Title | Priority Date | Filing Date |
|---|---|---|---|
| CN202223228498.6U Expired - Fee Related CN219279601U (en) | 2022-12-03 | 2022-12-03 | a purification device |
Country Status (1)
| Country | Link |
|---|---|
| CN (1) | CN219279601U (en) |
-
2022
- 2022-12-03 CN CN202223228498.6U patent/CN219279601U/en not_active Expired - Fee Related
Similar Documents
| Publication | Publication Date | Title |
|---|---|---|
| CN219279601U (en) | a purification device | |
| CN210367197U (en) | Sewage treatment tank | |
| CN210751616U (en) | Primary filtering device for industrial wastewater treatment | |
| CN221692892U (en) | Recoil roller scraper chip removal device | |
| CN218653292U (en) | Chemical industry is waste water coarse filtration equipment for environmental protection | |
| CN111439896A (en) | A sewage treatment device and method thereof | |
| CN213569993U (en) | Multifunctional wastewater treatment device | |
| CN212941806U (en) | Sewage treatment pond mud discharging device based on environmental protection | |
| CN211097756U (en) | Sewage treatment device convenient for collecting impurities | |
| CN217051675U (en) | A sludge discharge device for sewage treatment | |
| CN211283996U (en) | A high-concentration organic industrial wastewater treatment equipment | |
| CN222958302U (en) | A pipe end polishing machine | |
| CN223422412U (en) | A device for treating initial rain pollution at the source | |
| CN221637510U (en) | Mining initial assembly water inlet station filter equipment | |
| CN223818264U (en) | Sewage treatment pond for sewage treatment | |
| CN220779220U (en) | Green construction waste water cyclic utilization device | |
| CN218106971U (en) | A purification device for municipal sewage | |
| CN222566959U (en) | Afforestation engineering rainwater recycling filter equipment | |
| CN223175972U (en) | Integrated sewage treatment equipment | |
| CN111036399A (en) | Metal cutting fluid recovery processing system | |
| CN221713807U (en) | Heavy pollution multiple waste water treatment structure | |
| CN222900702U (en) | Recycling device for carbon dioxide treatment | |
| CN223287734U (en) | A filtering mechanism for producing automotive urea | |
| CN220142943U (en) | Industrial environment-friendly dust treatment equipment | |
| CN214829102U (en) | Silt collection device for sewage treatment |
Legal Events
| Date | Code | Title | Description |
|---|---|---|---|
| GR01 | Patent grant | ||
| GR01 | Patent grant | ||
| CF01 | Termination of patent right due to non-payment of annual fee | ||
| CF01 | Termination of patent right due to non-payment of annual fee |
Granted publication date: 20230630 |
