CN219274673U - A metal band saw bed feeding mechanism - Google Patents
A metal band saw bed feeding mechanism Download PDFInfo
- Publication number
- CN219274673U CN219274673U CN202223061706.8U CN202223061706U CN219274673U CN 219274673 U CN219274673 U CN 219274673U CN 202223061706 U CN202223061706 U CN 202223061706U CN 219274673 U CN219274673 U CN 219274673U
- Authority
- CN
- China
- Prior art keywords
- plate
- displacement
- feeding mechanism
- metal band
- band saw
- Prior art date
- Legal status (The legal status is an assumption and is not a legal conclusion. Google has not performed a legal analysis and makes no representation as to the accuracy of the status listed.)
- Expired - Fee Related
Links
Images
Classifications
-
- Y—GENERAL TAGGING OF NEW TECHNOLOGICAL DEVELOPMENTS; GENERAL TAGGING OF CROSS-SECTIONAL TECHNOLOGIES SPANNING OVER SEVERAL SECTIONS OF THE IPC; TECHNICAL SUBJECTS COVERED BY FORMER USPC CROSS-REFERENCE ART COLLECTIONS [XRACs] AND DIGESTS
- Y02—TECHNOLOGIES OR APPLICATIONS FOR MITIGATION OR ADAPTATION AGAINST CLIMATE CHANGE
- Y02P—CLIMATE CHANGE MITIGATION TECHNOLOGIES IN THE PRODUCTION OR PROCESSING OF GOODS
- Y02P70/00—Climate change mitigation technologies in the production process for final industrial or consumer products
- Y02P70/10—Greenhouse gas [GHG] capture, material saving, heat recovery or other energy efficient measures, e.g. motor control, characterised by manufacturing processes, e.g. for rolling metal or metal working
Landscapes
- Sawing (AREA)
Abstract
本实用新型公开了一种金属带锯床上料机构,属于锯床上料机构技术领域,包括底座,所述底座的上方设有U凹板,且U凹板顶部远离开口的一侧连接有架框,所述架框内周的底部连接有压持液压杆,且压持液压杆的驱动端连接有压板,所述底座的顶部设置有位移板,且位移板的下方设嵌装于底座内部的两个直线电机,所述位移板的中心开设有空腔,且位移板的上设有升降板,所述空腔内部的两侧均设有双向螺杆和两个螺母套,且螺母套与升降板之间铰接设置有牵引板,所述升降板顶部的一侧设置有推板。该金属带锯床上料机构,通过升降板的移动,便于对较重工件进行上料,再通过升降板的升降,便于对普通工件进行上料。
The utility model discloses a metal band saw bed feeding mechanism, which belongs to the technical field of saw bed feeding mechanisms, and comprises a base, a U concave plate is arranged above the base, and a frame is connected to the side of the top of the U concave plate away from the opening , the bottom of the inner periphery of the frame is connected with a holding hydraulic rod, and the driving end of the holding hydraulic rod is connected with a pressure plate, the top of the base is provided with a displacement plate, and the bottom of the displacement plate is provided with a Two linear motors, a cavity is provided in the center of the displacement plate, and a lifting plate is provided on the displacement plate, two-way screws and two nut sleeves are provided on both sides of the cavity, and the nut sleeve is connected with the lifting plate. A traction plate is hinged between the plates, and a push plate is provided on one side of the top of the lifting plate. The feeding mechanism on the metal band saw bed facilitates loading of heavy workpieces through the movement of the lifting plate, and facilitates loading of common workpieces through the lifting of the lifting plate.
Description
技术领域technical field
本实用新型属于锯床上料机构技术领域,具体涉及一种金属带锯床上料机构。The utility model belongs to the technical field of a feeding mechanism on a sawing bed, in particular to a feeding mechanism on a metal band sawing bed.
背景技术Background technique
金属带锯床主要用于、低合金钢、高合金刚、特殊合金钢和不锈钢、根据结构分为卧式金属带锯床、立式金属带锯床、卧式又分为剪刀式、双立柱、单立柱式带锯床,锯床在切割的过程中,当一段切割完成后,需要启动上料机构,推动工件前移进行第二次切割,而现有的上料机构大多仅只有推动工件起到送料的作用,这使得工件在摆放在上料机构的上时的过程中较为麻烦,第一点,重型的工件需要吊机吊装,而吊机吊装的过程中工件会发生晃动,容易对锯床主体造成破坏,第二点,由于上料机构的平台较高,普通的工件(指重量适中,人力搬运更加便捷的工件)人工往复的抬高搬动,也是十分费力的一件事情。Metal band sawing machines are mainly used for low-alloy steel, high-alloy steel, special alloy steel and stainless steel. According to the structure, it can be divided into horizontal metal band sawing machine, vertical metal band sawing machine, and horizontal type is divided into scissors type, double column and single column. In the cutting process of the sawing machine, when a section of cutting is completed, it is necessary to start the feeding mechanism to push the workpiece forward for the second cutting. However, most of the existing feeding mechanisms only push the workpiece to play the role of feeding. , which makes the process of placing the workpiece on the feeding mechanism more troublesome. First, heavy workpieces need to be hoisted by a crane, and the workpiece will shake during the hoisting process of the crane, which is easy to cause damage to the main body of the sawing machine , the second point, because the platform of the feeding mechanism is relatively high, it is also a very laborious thing to manually lift and move ordinary workpieces (referring to workpieces with moderate weight and more convenient manual handling).
因此针对这一现状,迫切需要设计和生产一种金属带锯床上料机构,以满足实际使用的需要。Therefore, for this present situation, there is an urgent need to design and produce a metal band saw bed feeding mechanism to meet the needs of actual use.
实用新型内容Utility model content
本实用新型的目的在于提供一种金属带锯床上料机构,以解决上述背景技术中提出的问题。The purpose of this utility model is to provide a metal band saw machine feeding mechanism to solve the problems raised in the above-mentioned background technology.
为实现上述目的,本实用新型提供如下技术方案:一种金属带锯床上料机构,包括底座,所述底座的上方设有U凹板,且U凹板顶部远离开口的一侧连接有架框,所述架框内周的底部连接有压持液压杆,且压持液压杆的驱动端连接有压板,所述底座的顶部设置有位移板,且位移板的下方设嵌装于底座内部的两个直线电机,所述位移板的中心开设有空腔,且位移板的上设有升降板,所述空腔内部的两侧均设有双向螺杆和两个螺母套,且螺母套与升降板之间铰接设置有牵引板,所述升降板顶部的一侧设置有推板。In order to achieve the above purpose, the utility model provides the following technical solutions: a metal band saw bed feeding mechanism, including a base, a U concave plate is arranged above the base, and a frame is connected to the side of the top of the U concave plate away from the opening , the bottom of the inner circumference of the frame is connected with a holding hydraulic rod, and the driving end of the holding hydraulic rod is connected with a pressure plate, the top of the base is provided with a displacement plate, and the bottom of the displacement plate is provided with a Two linear motors, a cavity is provided in the center of the displacement plate, and a lifting plate is provided on the displacement plate, two-way screws and two nut sleeves are provided on both sides of the cavity, and the nut sleeve is connected with the lifting plate. A traction plate is hinged between the plates, and a push plate is provided on one side of the top of the lifting plate.
优选的,所述位移板底部一侧的两端分别与对应直线电机的移动端连接,且位移板底部另一侧的两端均连接有万向轮。Preferably, both ends on one side of the bottom of the displacement plate are respectively connected to the moving ends of the corresponding linear motors, and both ends on the other side of the bottom of the displacement plate are connected with universal wheels.
优选的,所述双向螺杆的两端设有方向相反的螺纹,且双向螺杆的两端对称螺纹套设有螺母套。Preferably, the two ends of the two-way screw are provided with threads in opposite directions, and the symmetrical threads at both ends of the two-way screw are provided with nut sleeves.
优选的,所述升降板顶部的中心开设有直腔,且直腔的内周设有位移丝杆,所述位移丝杆的外周螺纹套设有与推板的底部连接的位移套。Preferably, a straight cavity is provided at the center of the top of the lifting plate, and a displacement screw is provided on the inner periphery of the straight cavity, and a displacement sleeve connected to the bottom of the push plate is provided on the outer peripheral threaded sleeve of the displacement screw.
优选的,所述升降板顶部的两侧均开设有凹处,且凹处的两侧均转动连接有多个减阻辊。Preferably, recesses are formed on both sides of the top of the lifting plate, and a plurality of drag reducing rollers are rotatably connected to both sides of the recess.
优选的,所述U凹板顶部远离架框的一侧连接有限位框,且限位框内周的两侧均连接有夹持液压杆。Preferably, the side of the top of the U concave plate away from the frame is connected to the limiting frame, and both sides of the inner circumference of the limiting frame are connected to clamping hydraulic rods.
优选的,所述夹持液压杆的驱动端连接有夹板,且夹板的一侧均转动连接有夹辊。Preferably, the driving end of the clamping hydraulic rod is connected with a splint, and one side of the splint is rotatably connected with a pinch roller.
本实用新型的技术效果和优点:Technical effect and advantage of the present utility model:
压持液压杆和压板的配合以及夹持液压杆和夹辊的设计,能够对工件工件进行限位和固定,进一步便于移动和输送;The cooperation of the clamping hydraulic rod and the pressure plate, as well as the design of the clamping hydraulic rod and the clamping roller, can limit and fix the workpiece, and further facilitate the movement and transportation;
双向螺杆外周螺纹方向相反的设计以及螺母套和牵引板的铰接设计,当旋转电机运行时,带动两个牵引板同步发生位移,进一步能够对升降板的高度进行调节,便于对普通工件进行上料,再通过直线电机的运行和万向轮的配合,即可使位移板移动至外侧,挺好吊装重物工件时的安全性;The design of the opposite thread direction on the outer circumference of the two-way screw and the hinged design of the nut sleeve and the traction plate, when the rotating motor is running, the two traction plates are driven to move synchronously, and the height of the lifting plate can be adjusted further, which is convenient for loading common workpieces , and then through the operation of the linear motor and the cooperation of the universal wheel, the displacement plate can be moved to the outside, which improves the safety when lifting heavy workpieces;
该金属带锯床上料机构,通过升降板的移动,便于对较重工件进行上料,再通过升降板的升降,便于对普通工件进行上料。The feeding mechanism on the metal band saw bed facilitates loading of heavy workpieces through the movement of the lifting plate, and facilitates loading of common workpieces through the lifting of the lifting plate.
附图说明Description of drawings
为了更清楚地说明本实用新型具体实施方式或现有技术中的技术方案,下面将对具体实施方式或现有技术描述中所需要使用的附图作简单地介绍,显而易见地,下面描述中的附图是本实用新型的一些实施方式,对于本领域普通技术人员来讲,在不付出创造性劳动的前提下,还可以根据这些附图获得其他的附图。In order to more clearly illustrate the specific implementation of the utility model or the technical solutions in the prior art, the accompanying drawings that need to be used in the description of the specific implementation or the prior art will be briefly introduced below. Obviously, the following descriptions The accompanying drawings are some implementations of the utility model, and those skilled in the art can obtain other drawings according to these drawings without any creative work.
图1为本实用新型的结构示意图;Fig. 1 is the structural representation of the utility model;
图2为本实用新型的位移板沿双向螺杆方向的剖视图;Fig. 2 is the cross-sectional view of the displacement plate of the present invention along the direction of the two-way screw;
图3为本实用新型的图1中A处结构的放大图;Fig. 3 is the enlarged view of the structure at A place in Fig. 1 of the present utility model;
图4为本实用新型的图1中B处结构的放大图;Fig. 4 is the enlarged view of structure at B place among Fig. 1 of the present utility model;
图5为本实用新型的图1中C处结构的放大图。Fig. 5 is an enlarged view of the structure at C in Fig. 1 of the present utility model.
附图标记说明:Explanation of reference signs:
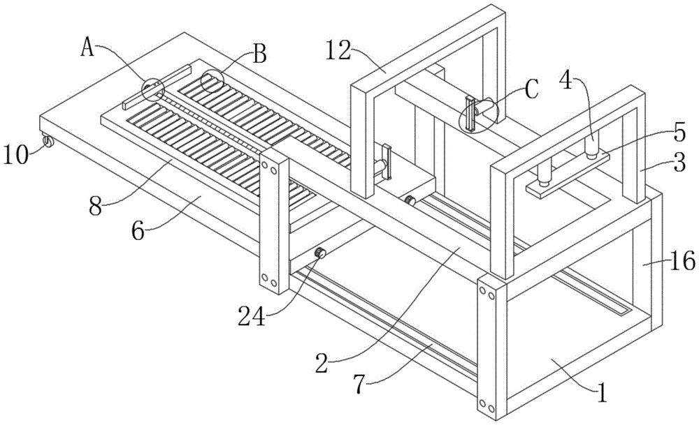
1、底座;2、U凹板;3、架框;4、压持液压杆;5、压板;6、位移板;7、直线电机;8、升降板;9、推板;10、万向轮;11、减阻辊;12、限位框;13、夹持液压杆;14、夹板;15、夹辊;16、连接柱;18、空腔;19、直腔;20、凹处;1. Base; 2. U concave plate; 3. Frame; 4. Pressing hydraulic rod; 5. Pressing plate; 6. Displacement plate; 7. Linear motor; 8. Lifting plate; 9. Pushing plate; 10. Universal Wheel; 11. Drag reduction roller; 12. Limit frame; 13. Clamping hydraulic rod; 14. Plywood; 15. Nip roller; 16. Connecting column; 18. Cavity; 19. Straight cavity; 20. Recess;
21、双向螺杆;22、螺母套;23、牵引板;24、旋转电机;21. Two-way screw; 22. Nut sleeve; 23. Traction plate; 24. Rotary motor;
31、位移丝杆;32、位移套;33、转动电机。31, displacement screw rod; 32, displacement sleeve; 33, rotating motor.
具体实施方式Detailed ways
下面将结合本实用新型实施例中的附图,对本实用新型实施例中的技术方案进行清楚、完整地描述,显然,所描述的实施例仅仅是本实用新型一部分实施例,而不是全部的实施例。基于本实用新型中的实施例,本领域普通技术人员在没有做出创造性劳动前提下所获得的所有其他实施例,都属于本实用新型保护的范围。The technical solutions in the embodiments of the present invention will be clearly and completely described below in conjunction with the accompanying drawings in the embodiments of the present invention. Obviously, the described embodiments are only part of the embodiments of the present invention, not all of them. example. Based on the embodiments of the present utility model, all other embodiments obtained by persons of ordinary skill in the art without making creative efforts belong to the scope of protection of the present utility model.
请参阅图1,装置本体的大体结构为,底座1的上方设有U凹板2,U凹板2与底座1的四侧之间均连接有用于支撑的连接柱16,U凹板2顶部远离开口的一侧连接有架框3,架框3内周的下方设有压板5,压板5与架框3之间连接有压持液压杆4。Please refer to Figure 1, the general structure of the device body is that a U concave plate 2 is arranged above the
请参阅图1,为了进行限位,U凹板2顶部远离架框3的一侧连接有限位框12,限位框12内周的两侧均连接有夹持液压杆13,夹持液压杆13的驱动端连接有夹板14,夹板14为U形,两个夹板14相邻的一侧为U形的敞口处,敞口的内周通过轴承转动连接有夹辊15。Please refer to Fig. 1, in order to limit position, the side of the top of U concave plate 2 away from frame 3 is connected with
请参阅图1,为了对便于进行移动,底座1顶部的两侧均嵌装有直线电机7,两个直线电机7的移动端之间连接有位移板6,位移板6底部远离直线电机7移动端的一侧安装有两个万向轮10,万向轮10的支撑用于提高稳定性。Please refer to Figure 1, in order to facilitate the movement,
请参阅图1和图2,为了便于普通重量的工件上料,位移板6的上设有升降板8,位移板6的中心开设有空腔18,位移板6的一侧安装有两个对称的旋转电机24,旋转电机24的输出端贯穿位移板6并通过联轴器连接有双向螺杆21;Please refer to Fig. 1 and Fig. 2, in order to facilitate the loading of common weight workpieces, the
双向螺杆21的外周设有方向相反的螺纹,双向螺杆21的两端均对称螺纹套设有螺母套22,螺母套22的顶部与升降板8的底部之间均铰接有牵引板23,铰接的方法可通过块件配合轴承进行实现;The outer periphery of two-
升降板8与位移板6之间可增加设置导向柱进行加强稳定性。Between the lifting plate 8 and the
请参阅图1、图3和图4,为了便于进行进件,升降板8顶部的中心开设有直腔19,直腔19的内周通过轴承转动连接有位移丝杆31,升降板8的一侧安装有转动电机33,转动电机33的输出端贯穿位移板6并与位移丝杆31的一端连接,位移丝杆31的外周套设有位移套32,位移套32的顶部连接有推板9;Please refer to Fig. 1, Fig. 3 and Fig. 4, in order to carry out into conveniently, the center of lifting plate 8 top is provided with
为了减少推动时的阻力,升降板8顶部的两侧均开设有凹处20,凹处20的两侧均转动连接有多个减阻辊11。In order to reduce the resistance when pushing, recesses 20 are provided on both sides of the top of the lifting plate 8 , and a plurality of
安装、连接和衔接方式均可选为紧固件、粘接或焊接等。The installation, connection and connection methods can be selected as fasteners, bonding or welding.
直线电机7、压持液压杆4和夹持液压杆13为现有技术设备均可直接采购获得,旋转电机24和转动电机33需要采购为现有的能够正反转的电机。The
直线电机7、压持液压杆4、夹持液压杆13、旋转电机24和转动电机33均与外部电源电性连接,且可选装PLC控制器并进行现有的编程进行智能自动化调控。The
工作原理:working principle:
该金属带锯床上料机构,需要使用时,将装置本体移动至外部锯床的加工端一侧,并使架框3的一侧靠近锯床的加工端(U凹板2的高度需要锯床的加工平台相适配);When the metal band saw bed feeding mechanism needs to be used, the device body is moved to one side of the processing end of the external sawing machine, and one side of the frame frame 3 is close to the processing end of the sawing machine (the height of the concave plate 2 needs the processing platform of the sawing machine) match);
上料时,将工件通过吊机或人工(使用人工还是吊机具体情况需要根据工件的重量进行自由的旋转)搬运至升降板8的顶部;When feeding, the workpiece is transported to the top of the lifting plate 8 by a crane or manually (whether using a manual or a crane, the specific situation needs to be freely rotated according to the weight of the workpiece);
工件搬运完成后,启动直线电机7,带动位移板6向锯床的加工端移动,再启动旋转电机24,带动双向螺杆21旋转,使螺母套22同步移动,使牵引板23带动升降板8上升至U凹板2的内周处;After workpiece handling is completed, start the
启动夹持液压杆13,使两个夹辊15相互靠近移动并对工件进行夹持,同时启动转动电机33,带动位移丝杆31旋转,使位移套32带动推板9推动工件移动,进一步能够实现进件,进件至所需位置时,启动压持液压杆4使压板5对工件进行压持,再启动锯床即可进行加工。Start the clamping
尽管已经示出和描述了本实用新型的实施例,对于本领域的普通技术人员而言,可以理解在不脱离本实用新型的原理和精神的情况下可以对这些实施例进行多种变化、修改、替换和变型,本实用新型的范围由所附权利要求及其等同物限定。Although the embodiments of the present invention have been shown and described, those skilled in the art can understand that various changes and modifications can be made to these embodiments without departing from the principle and spirit of the present invention , replacements and modifications, the scope of the present utility model is defined by the appended claims and their equivalents.
Claims (7)
Priority Applications (1)
| Application Number | Priority Date | Filing Date | Title |
|---|---|---|---|
| CN202223061706.8U CN219274673U (en) | 2022-11-18 | 2022-11-18 | A metal band saw bed feeding mechanism |
Applications Claiming Priority (1)
| Application Number | Priority Date | Filing Date | Title |
|---|---|---|---|
| CN202223061706.8U CN219274673U (en) | 2022-11-18 | 2022-11-18 | A metal band saw bed feeding mechanism |
Publications (1)
| Publication Number | Publication Date |
|---|---|
| CN219274673U true CN219274673U (en) | 2023-06-30 |
Family
ID=86930309
Family Applications (1)
| Application Number | Title | Priority Date | Filing Date |
|---|---|---|---|
| CN202223061706.8U Expired - Fee Related CN219274673U (en) | 2022-11-18 | 2022-11-18 | A metal band saw bed feeding mechanism |
Country Status (1)
| Country | Link |
|---|---|
| CN (1) | CN219274673U (en) |
-
2022
- 2022-11-18 CN CN202223061706.8U patent/CN219274673U/en not_active Expired - Fee Related
Similar Documents
| Publication | Publication Date | Title |
|---|---|---|
| CN108213549A (en) | A kind of construction tubular object extruding cutter device | |
| CN216882536U (en) | Be used for fixed butt joint frock of pressure vessel head welded | |
| CN219274673U (en) | A metal band saw bed feeding mechanism | |
| CN210967634U (en) | Assembling frame for welding box | |
| CN216731792U (en) | Bearing automatic centering material loading manipulator | |
| CN209647989U (en) | An Improved Cable Reel Welding Shifter | |
| CN216576220U (en) | Adjustable platform for welding part machining | |
| CN213531027U (en) | Cutting device for metal component | |
| CN218696463U (en) | Auxiliary workpiece clamping carrier for machining center | |
| CN221875574U (en) | A large structural part flipping and transferring mechanism | |
| CN219561626U (en) | Conveying device in steel pipe sawing processing | |
| CN214133108U (en) | A fixing device for processing the plane of the gate seat of the hoisting machine | |
| CN214522216U (en) | A hydraulic press feeding device | |
| CN223098089U (en) | Metal pipe end face milling device | |
| CN218982997U (en) | Novel high-efficient reinforcing bar straightening cutter | |
| CN216575559U (en) | Numerical control cutting device | |
| CN219567434U (en) | Lifting platform device | |
| CN220560904U (en) | Horizontal boring machine with clamping mechanism | |
| CN218904517U (en) | A CNC machine tool material table | |
| CN223573169U (en) | A gantry robot for machining hydraulic cylinders | |
| CN112658533A (en) | A side centre gripping dolly for fragment aversion | |
| CN213080242U (en) | Automatic change auxiliary device for plate shearing machine | |
| CN222243540U (en) | A high-efficiency drilling and sawing equipment | |
| CN221186247U (en) | Limiting device for processing metal smelting rolled product | |
| CN220717435U (en) | High-efficient punching device of running-board |
Legal Events
| Date | Code | Title | Description |
|---|---|---|---|
| GR01 | Patent grant | ||
| GR01 | Patent grant | ||
| CF01 | Termination of patent right due to non-payment of annual fee |
Granted publication date: 20230630 |
