CN219265647U - An anti-seismic test device - Google Patents

An anti-seismic test device Download PDF

Info

Publication number
CN219265647U
CN219265647U CN202320088723.6U CN202320088723U CN219265647U CN 219265647 U CN219265647 U CN 219265647U CN 202320088723 U CN202320088723 U CN 202320088723U CN 219265647 U CN219265647 U CN 219265647U
Authority
CN
China
Prior art keywords
plate
fixed
test device
plates
extension
Prior art date
Legal status (The legal status is an assumption and is not a legal conclusion. Google has not performed a legal analysis and makes no representation as to the accuracy of the status listed.)
Expired - Fee Related
Application number
CN202320088723.6U
Other languages
Chinese (zh)
Inventor
陈海龙
邹广
Current Assignee (The listed assignees may be inaccurate. Google has not performed a legal analysis and makes no representation or warranty as to the accuracy of the list.)
Individual
Original Assignee
Individual
Priority date (The priority date is an assumption and is not a legal conclusion. Google has not performed a legal analysis and makes no representation as to the accuracy of the date listed.)
Filing date
Publication date
Application filed by Individual filed Critical Individual
Priority to CN202320088723.6U priority Critical patent/CN219265647U/en
Application granted granted Critical
Publication of CN219265647U publication Critical patent/CN219265647U/en
Expired - Fee Related legal-status Critical Current
Anticipated expiration legal-status Critical

Links

Images

Landscapes

  • Testing Of Devices, Machine Parts, Or Other Structures Thereof (AREA)

Abstract

The utility model relates to the technical field of earthquake resistance tests, in particular to an earthquake resistance test device. The device comprises a bottom plate, wherein two sliding frames are fixed at the upper end of the bottom plate, two sliding frames are fixedly connected through a connecting plate, one side of the connecting plate is rotationally connected with driving teeth, a driving motor is fixed at the other side of the connecting plate, the output end of the driving motor is connected with the driving teeth, and follow-up plates are arranged on the two sides of the driving teeth and at positions corresponding to the sliding frames. According to the utility model, the motor replaces a vibration motor in a traditional test, so that damage to surrounding objects caused by the adoption of the vibration motor is reduced; can place the installation to test article through the mounting panel, can drive the mounting panel through driving tooth, driving motor, follower plate, the structural fit of support frame and shake the experiment to two mounting panels through the symmetry setting, make the device can carry out contrast test to two test articles simultaneously, effectively promoted test efficiency.

Description

一种抗震试验装置An anti-seismic test device

技术领域technical field

本实用新型涉及抗震试验技术领域,尤其涉及一种抗震试验装置。The utility model relates to the technical field of anti-seismic tests, in particular to an anti-seismic test device.

背景技术Background technique

土木工程是一切和文化、土、水有关的基础建设的计划、建造和维修,指除房屋建筑以外,为新建、改建或扩建各类工程的建筑物和相关配套设施等所进行的勘察、规划、设计、施工等各项技术工作及其完成的工程实体;在完成建筑设计时,一般会对设计的模型进行抗震试验获取数据。Civil engineering refers to the planning, construction and maintenance of all infrastructure related to culture, soil and water. It refers to the survey and planning of buildings and related supporting facilities for new construction, reconstruction or expansion of various projects other than housing construction. , design, construction and other technical work and the completed engineering entities; when completing the architectural design, generally the designed model will be subjected to seismic tests to obtain data.

如已授权专利号为“CN209909064U”的“一种土木工程结构抗震实验装置”,该专利记载了“在对土木工程结构进行抗震实验时,振动电机产生的振动经过第一减震组件和第二减震组件的层层减震,将振动电机对下方产生的压力逐步消耗,经过多重减震,减震效果相比于传统的单纯通过弹簧组减震更好,有效的降低了振动电机在工作的过程中,产生的振动对周边环境和实物造成的损害”,并提出了“现有的抗震实验装置在对土木工程结构进行抗震实验时,振动电机震动产生的震动较大,易对周围的实物造成损害”的技术不足。For example, the authorized patent No. "CN209909064U" is "a civil engineering structure anti-seismic experiment device". The layer-by-layer shock absorption of the shock-absorbing component gradually consumes the pressure generated by the vibration motor on the bottom. After multiple shock absorption, the shock-absorbing effect is better than the traditional shock absorption through the spring group, which effectively reduces the vibration motor. During the process, the vibration generated will cause damage to the surrounding environment and objects”, and it is proposed that “the existing anti-seismic experimental device performs anti-seismic experiments on civil engineering structures, the vibration generated by the vibration motor is relatively large, and it is easy to damage the surrounding environment. physical damage” is technically deficient.

综合上述,可知现有技术中存在以下技术问题:现有的抗震实验装置在对土木工程结构进行抗震实验时,振动电机震动产生的震动较大,易对周围的实物造成损害,为此,本申请提出一种抗震试验装置,为解决上述专利中提到的技术问题,提供一种新的技术方案。Based on the above, it can be seen that there are the following technical problems in the prior art: when the existing anti-seismic experimental device performs anti-seismic experiments on civil engineering structures, the vibration generated by the vibration of the vibrating motor is relatively large, which is easy to cause damage to the surrounding objects. Therefore, this The application proposes an anti-seismic test device, which provides a new technical solution to solve the technical problems mentioned in the above patent.

实用新型内容Utility model content

本实用新型的目的是提供一种抗震试验装置,总的来说,是针对技术问题:现有的抗震实验装置在对土木工程结构进行抗震实验时,振动电机震动产生的震动较大,易对周围的实物造成损害。The purpose of this utility model is to provide a kind of anti-seismic test device. Generally speaking, it is aimed at the technical problem: when the existing anti-seismic test device is used for anti-seismic experiments on civil engineering structures, the vibration generated by the vibration of the vibration motor is relatively large, and it is easy to install Damage to surrounding objects.

为了解决上述的技术问题,本实用新型采用了如下技术方案:In order to solve the above-mentioned technical problems, the utility model adopts the following technical solutions:

一种抗震试验装置,包括底板,所述底板的上端固定有两个滑架,两个所述滑架之间通过连接板固定连接,所述连接板的一侧转动连接有驱动齿,所述连接板的另一侧固定有驱动电机,所述驱动电机的输出端与驱动齿相连接,所述驱动齿的两侧且与滑架相对应的位置处均设置有随动板,两个所述随动板与相对应的滑架滑动连接,两个所述随动板均与驱动齿啮合连接;两个所述随动板的外侧均固定有支撑架,所述支撑架的上端均固定有安装板。An anti-seismic test device, comprising a base plate, two carriages are fixed on the upper end of the base plate, and the two carriages are fixedly connected by a connecting plate, and one side of the connecting plate is rotationally connected with a driving tooth, and the The other side of the connection plate is fixed with a driving motor, the output end of the driving motor is connected with the driving teeth, and a follower plate is arranged on both sides of the driving teeth and at a position corresponding to the carriage. The follower plates are slidingly connected with the corresponding carriages, and the two follower plates are engaged with the drive teeth; the outer sides of the two follower plates are fixed with support frames, and the upper ends of the support frames are fixed With mounting plate.

优选的,两个所述随动板的上下两端均通过导轮与相对应的滑架滑动连接。Preferably, the upper and lower ends of the two follower plates are slidably connected to the corresponding carriages through guide wheels.

优选的,所述支撑架的上端均固定有延伸板,所述安装板固定在延伸板的上端,所述支撑架通过延伸板与安装板固定连接。Preferably, the upper ends of the support frames are fixed with extension plates, the installation plates are fixed on the upper ends of the extension plates, and the support frames are fixedly connected with the installation plates through the extension plates.

优选的,两个所述滑架背面的上端通过上加固板固定连接,两个所述滑架背面的下端通过下加固板固定连接,两个所述滑架的背面均设置有三角架,所述三角架的上端与上加固板通过螺钉固定连接,所述三角架的下端均通过螺钉分别与下加固板和底板固定连接。Preferably, the upper ends of the backs of the two slides are fixedly connected by an upper reinforcement plate, the lower ends of the two backs of the slides are fixedly connected by a lower reinforcement plate, and the backs of the two slides are provided with tripods, so The upper end of the tripod is fixedly connected to the upper reinforcing plate by screws, and the lower end of the tripod is respectively fixedly connected to the lower reinforcing plate and the bottom plate by screws.

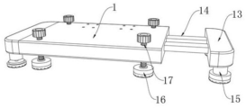
优选的,所述底板的两端均设置有延伸架,所述延伸架通过连接杆与底板插接连接,所述延伸架两端的下端均固定有支撑底座。Preferably, both ends of the bottom plate are provided with extension frames, the extension frames are plugged and connected to the bottom plate through connecting rods, and the lower ends of both ends of the extension frame are fixed with supporting bases.

优选的,所述底板下端的四个端角位置处均设置有提升底座,所述提升底座的上端转动连接有提升螺杆,所述提升螺杆与底板螺纹连接。Preferably, lifting bases are provided at the four end corners of the lower end of the bottom plate, and a lifting screw is rotatably connected to the upper end of the lifting base, and the lifting screw is screwed to the bottom plate.

可以毫无疑义的看出,通过本申请的上述的技术方案,必然可以解决本申请要解决的技术问题。It can be seen without doubt that the technical problem to be solved in the present application can be solved through the above-mentioned technical solution of the present application.

通过以上技术方案,本实用新型至少具备以下有益效果:Through the above technical solutions, the utility model at least has the following beneficial effects:

通过电机代替传统试验中的震动电机,从而减少因采用震动电机导致对周围实物造成的损害;通过安装板可对试验物件进行放置安装,通过驱动齿、驱动电机、随动板、支撑架的结构配合可带动安装板进行震动实验,并且通过对称设置的两个安装板,使得装置可同时对两个试验物件进行对比试验,有效提升了试验效率。The vibration motor in the traditional test is replaced by the motor, thereby reducing the damage to the surrounding objects caused by the use of the vibration motor; the test object can be placed and installed through the mounting plate, through the structure of the driving teeth, driving motor, follower plate, and support frame Cooperate with the mounting plate that can be driven to carry out vibration experiments, and through the two symmetrically arranged mounting plates, the device can conduct comparative tests on two test objects at the same time, effectively improving the test efficiency.

通过增设三角架可有效提高装置在使用过程中的稳定性;并通过底板两端的延伸架向外延伸,进一步使装置的稳定性得到提升。The stability of the device during use can be effectively improved by adding a tripod; and the extension frames at both ends of the bottom plate are extended outward to further improve the stability of the device.

附图说明Description of drawings

为了更清楚地说明本实用新型实施例技术方案,下面将对实施例描述中所需要使用的附图作简单地介绍,显而易见地,下面描述中的附图是本实用新型的一些实施例,对于本领域普通技术人员来讲,在不付出创造性劳动的前提下,还可以根据这些附图获得其他的附图。In order to more clearly illustrate the technical solutions of the embodiments of the utility model, the following will briefly introduce the accompanying drawings that need to be used in the description of the embodiments. Obviously, the accompanying drawings in the following description are some embodiments of the utility model. For Those of ordinary skill in the art can also obtain other drawings based on these drawings without making creative efforts.

图1为一种抗震试验装置的整体结构示意图;Fig. 1 is a kind of overall structure schematic diagram of anti-seismic test device;

图2为一种抗震试验装置的整体结构正视图;Fig. 2 is a kind of whole structure front view of anti-seismic test device;

图3为一种抗震试验装置安装板与滑架的连接结构示意图;Fig. 3 is a schematic diagram of the connection structure between the mounting plate and the slide frame of the anti-seismic test device;

图4为一种抗震试验装置三角架的结构示意图;Fig. 4 is a structural schematic diagram of a tripod of an anti-seismic test device;

图5为一种抗震试验装置延伸架的结构示意图。Fig. 5 is a structural schematic diagram of an extension frame of an anti-seismic test device.

图中:1、底板;2、滑架;3、连接板;4、驱动齿;5、驱动电机;6、随动板;7、支撑架;8、安装板;9、延伸板;10、上加固板;11、下加固板;12、三角架;13、延伸架;14、连接杆;15、支撑底座;16、提升底座;17、提升螺杆。In the figure: 1. Bottom plate; 2. Carriage; 3. Connecting plate; 4. Driving teeth; 5. Driving motor; 6. Follower plate; 7. Support frame; 8. Mounting plate; 9. Extension plate; 10. Upper reinforcing plate; 11, lower reinforcing plate; 12, tripod; 13, extension frame; 14, connecting rod; 15, support base; 16, lifting base; 17, lifting screw.

具体实施方式Detailed ways

为了使本实用新型的目的、技术方案及优点更加清楚明白,以下结合附图及实施例,对本实用新型进行进一步详细说明。应当理解,此处所描述的具体实施例仅仅用以解释本实用新型,并不用于限定本实用新型。In order to make the purpose, technical solution and advantages of the utility model clearer, the utility model will be further described in detail below in conjunction with the accompanying drawings and embodiments. It should be understood that the specific embodiments described here are only used to explain the utility model, and are not intended to limit the utility model.

参照图1-图5,一种抗震试验装置,包括底板1,底板1的上端固定有两个滑架2,两个滑架2之间通过连接板3固定连接,连接板3的一侧转动连接有驱动齿4,连接板3的另一侧固定有驱动电机5,驱动电机5的输出端与驱动齿4相连接,驱动齿4的两侧且与滑架2相对应的位置处均设置有随动板6,两个随动板6与相对应的滑架2滑动连接其中,为了对随动板6的运动进行引导提升随动板6运动时的稳定性,两个随动板6的上下两端均通过导轮与相对应的滑架2滑动连接;两个随动板6均与驱动齿4啮合连接;两个随动板6的外侧均固定有支撑架7,支撑架7的上端均固定有安装板8,其中,为了提升支撑架7对安装板8的支撑面积,支撑架7的上端均固定有延伸板9,安装板8固定在延伸板9的上端,支撑架7通过延伸板9与安装板8固定连接。Referring to Fig. 1-Fig. 5, an anti-seismic test device includes a base plate 1, two carriages 2 are fixed on the upper end of the base plate 1, and the two carriages 2 are fixedly connected by a connecting plate 3, and one side of the connecting plate 3 rotates A driving tooth 4 is connected, and a driving motor 5 is fixed on the other side of the connecting plate 3, and the output end of the driving motor 5 is connected with the driving tooth 4, and both sides of the driving tooth 4 and positions corresponding to the carriage 2 are provided with There is a follower plate 6, two follower plates 6 are slidingly connected with the corresponding carriage 2, in order to guide the movement of the follower plate 6 and improve the stability of the follower plate 6 when it moves, the two follower plates 6 The upper and lower ends of the upper and lower ends are slidingly connected with the corresponding carriage 2 through guide wheels; the two follower plates 6 are meshed with the drive teeth 4; the outer sides of the two follower plates 6 are fixed with support frames 7, and the support frames 7 The upper ends of each are fixed with a mounting plate 8, wherein, in order to promote the support area of the support frame 7 to the mounting plate 8, the upper end of the support frame 7 is fixed with an extension plate 9, and the mounting plate 8 is fixed on the upper end of the extension plate 9, and the support frame 7 It is fixedly connected with the mounting plate 8 through the extension plate 9 .

可知,在使用时,可将试验物件安装在其中一个安装板8的上端,也可同时将两个试验物件分别安装在两个安装板8上端进行对比试验;通过启动驱动电机5可带动驱动齿4进行转动,通过随动板6与驱动齿4的啮合连接,可带动随动板6沿滑架2垂直方向进行运动,通过驱动电机5的正反转实现随动板6的往复运动,从而带动安装板8进行震动试验,其中,可通过调节驱动电机5的转动进程实现调节随动板6的运动进程,从而实现调节安装板8的震动幅度;It can be seen that when in use, the test object can be installed on the upper end of one of the mounting plates 8, or two test objects can be installed on the upper ends of the two mounting plates 8 at the same time for comparative tests; the drive gear can be driven by starting the drive motor 5. 4 to rotate, through the meshing connection between the follower plate 6 and the drive teeth 4, the follower plate 6 can be driven to move along the vertical direction of the carriage 2, and the reciprocating motion of the follower plate 6 can be realized by the positive and negative rotation of the drive motor 5, thereby Drive the mounting plate 8 to carry out the vibration test, wherein, the movement process of the follower plate 6 can be adjusted by adjusting the rotation process of the drive motor 5, thereby realizing the adjustment of the vibration amplitude of the mounting plate 8;

通过安装板8可对试验物件进行放置安装,通过驱动齿4、驱动电机5、随动板6、支撑架7的结构配合可带动安装板8进行震动实验,并且通过对称设置的两个安装板8,使得装置可同时对两个试验物件进行对比试验,有效提升了试验效率。The test object can be placed and installed through the mounting plate 8, and the mounting plate 8 can be driven to carry out the vibration experiment through the structural cooperation of the driving tooth 4, the driving motor 5, the follower plate 6, and the support frame 7, and through the two symmetrically arranged mounting plates 8. The device can conduct comparative tests on two test objects at the same time, which effectively improves the test efficiency.

为了对上述结构进一步优化,确保装置使用时的稳定性;In order to further optimize the above structure and ensure the stability of the device during use;

具体的两个滑架2背面的上端通过上加固板10固定连接,两个滑架2背面的下端通过下加固板11固定连接,两个滑架2的背面均设置有三角架12,三角架12的上端与上加固板10通过螺钉固定连接,三角架12的下端均通过螺钉分别与下加固板11和底板1固定连接。Specifically, the upper ends of the back sides of the two slide frames 2 are fixedly connected by the upper reinforcing plate 10, the lower ends of the two back sides of the two slide frames 2 are fixedly connected by the lower reinforcing plate 11, and the back sides of the two slide frames 2 are all provided with a tripod 12, the tripod The upper end of 12 is fixedly connected with upper reinforcing plate 10 by screws, and the lower end of tripod 12 is fixedly connected with lower reinforcing plate 11 and base plate 1 respectively by screws.

具体的,底板1的两端均设置有延伸架13,延伸架13通过连接杆14与底板1插接连接,延伸架13两端的下端均固定有支撑底座15。其中,为了便于延伸架13向外延伸,底板1下端的四个端角位置处均设置有提升底座16,提升底座16的上端转动连接有提升螺杆17,提升螺杆17与底板1螺纹连接。Specifically, extension frames 13 are provided at both ends of the base plate 1 , and the extension frames 13 are connected to the base plate 1 through connecting rods 14 , and support bases 15 are fixed at the lower ends of both ends of the extension frame 13 . Wherein, in order to facilitate the outward extension of the extension frame 13, a lifting base 16 is provided at the four end corners of the lower end of the base plate 1. The upper end of the lifting base 16 is rotatably connected with a lifting screw 17, and the lifting screw 17 is threadedly connected with the base plate 1.

可知,在试验过程中,通过三角架12对滑架2的支撑,避免滑架2发生摇晃,有效提升滑架2的稳定性;通过延伸延伸架13,扩大触地范围,从而提升底板1的稳定性;通过提升螺杆17与底板1的螺纹连接和提升螺杆17与提升底座16的转动连接,使得在需要将延伸架13向外延伸时,通过转动提升螺杆17将底板1向上顶起,提升延伸架13的高度,使得支撑底座15与地面分离,从而方便将延伸架13向外延伸,在延伸架13延伸后,翻转提升螺杆17降低底板1的高度,使支撑底座15与地面接触,从而实现扩大触地范围。It can be seen that during the test, the support of the carriage 2 by the tripod 12 prevents the carriage 2 from shaking and effectively improves the stability of the carriage 2; by extending the extension frame 13, the ground contact range is expanded, thereby improving the stability of the bottom plate 1. Stability; through the threaded connection between the lifting screw 17 and the bottom plate 1 and the rotation connection between the lifting screw 17 and the lifting base 16, when the extension frame 13 needs to be extended outwards, the bottom plate 1 is lifted up by rotating the lifting screw 17, and the lifting The height of the extension frame 13 makes the support base 15 separate from the ground, so that the extension frame 13 is extended outwards conveniently. After the extension frame 13 is extended, the height of the bottom plate 1 is lowered by turning the lifting screw 17 so that the support base 15 is in contact with the ground, thereby Achieve extended touchdown range.

综合上述可知:Based on the above, we can see that:

本实用新型针对技术问题:现有的抗震实验装置在对土木工程结构进行抗震实验时,振动电机震动产生的震动较大,易对周围的实物造成损害;采用上述各实施例的技术方案。同时,上述技术方案的实现过程是:The utility model aims at the technical problem: when the existing anti-seismic experiment device performs anti-seismic experiments on civil engineering structures, the vibration generated by the vibration of the vibrating motor is relatively large, which is easy to cause damage to the surrounding objects; the technical solutions of the above-mentioned embodiments are adopted. Simultaneously, the realization process of above-mentioned technical scheme is:

将装置外接电源,在使用时,可将试验物件安装在其中一个安装板8的上端,也可同时将两个试验物件分别安装在两个安装板8上端进行对比试验;通过启动驱动电机5可带动驱动齿4进行转动,通过随动板6与驱动齿4的啮合连接,可带动随动板6沿滑架2垂直方向进行运动,通过驱动电机5的正反转实现随动板6的往复运动,从而带动安装板8进行震动试验,其中,可通过调节驱动电机5的转动进程实现调节随动板6的运动进程,从而实现调节安装板8的震动幅度;Connect the device to an external power supply. When in use, the test object can be installed on the upper end of one of the mounting plates 8, or two test objects can be installed on the upper ends of the two mounting plates 8 at the same time for comparative testing; by starting the drive motor 5, the Drive the drive tooth 4 to rotate, through the meshing connection between the follower plate 6 and the drive tooth 4, the follower plate 6 can be driven to move along the vertical direction of the carriage 2, and the reciprocation of the follower plate 6 can be realized by the positive and negative rotation of the drive motor 5 Movement, thereby driving the mounting plate 8 to carry out the vibration test, wherein, the movement process of the follower plate 6 can be adjusted by adjusting the rotation process of the drive motor 5, thereby realizing the adjustment of the vibration amplitude of the mounting plate 8;

通过上述设置,本申请必然能解决上述技术问题,同时,实现以下技术效果:Through the above settings, the present application must be able to solve the above technical problems, and at the same time, achieve the following technical effects:

通过电机代替传统试验中的震动电机,从而减少因采用震动电机导致对周围实物造成的损害;通过安装板8可对试验物件进行放置安装,通过驱动齿4、驱动电机5、随动板6、支撑架7的结构配合可带动安装板8进行震动实验,并且通过对称设置的两个安装板8,使得装置可同时对两个试验物件进行对比试验,有效提升了试验效率。The vibration motor in the traditional test is replaced by the motor, thereby reducing the damage to the surrounding objects caused by the use of the vibration motor; the test object can be placed and installed through the installation plate 8, through the drive tooth 4, the drive motor 5, the follower plate 6, The structural cooperation of the support frame 7 can drive the mounting plate 8 to carry out vibration experiments, and through the two symmetrically arranged mounting plates 8, the device can conduct comparative tests on two test objects at the same time, effectively improving the test efficiency.

通过增设三角架12可有效提高装置在使用过程中的稳定性;并通过底板1两端的延伸架13向外延伸,进一步使装置的稳定性得到提升。The stability of the device during use can be effectively improved by adding the tripod 12 ; and the extension frames 13 at both ends of the bottom plate 1 extend outwards, further improving the stability of the device.

以上显示和描述了本实用新型的基本原理、主要特征和本实用新型的优点。本行业的技术人员应该了解,本实用新型不受上述实施例的限制,上述实施例和说明书中描述的只是本实用新型的原理,在不脱离本实用新型精神和范围的前提下本实用新型还会有各种变化和改进,这些变化和改进都落入要求保护的本实用新型的范围内。本实用新型要求的保护范围由所附的权利要求书及其等同物界定。The basic principles, main features and advantages of the present utility model have been shown and described above. Those skilled in the industry should understand that the utility model is not limited by the above-mentioned embodiments. The above-mentioned embodiments and descriptions describe only the principle of the utility model. There will be various changes and improvements, and these changes and improvements all fall within the scope of the claimed utility model. The protection scope required by the utility model is defined by the appended claims and their equivalents.

Claims (6)

1.一种抗震试验装置,包括底板(1),其特征在于,所述底板(1)的上端固定有两个滑架(2),两个所述滑架(2)之间通过连接板(3)固定连接,所述连接板(3)的一侧转动连接有驱动齿(4),所述连接板(3)的另一侧固定有驱动电机(5),所述驱动电机(5)的输出端与驱动齿(4)相连接,所述驱动齿(4)的两侧且与滑架(2)相对应的位置处均设置有随动板(6),两个所述随动板(6)与相对应的滑架(2)滑动连接,两个所述随动板(6)均与驱动齿(4)啮合连接;两个所述随动板(6)的外侧均固定有支撑架(7),所述支撑架(7)的上端均固定有安装板(8)。1. An anti-seismic test device, comprising a base plate (1), characterized in that two carriages (2) are fixed on the upper end of the base plate (1), and two carriages (2) are connected through a connecting plate (3) Fixed connection, one side of the connecting plate (3) is connected with a driving tooth (4), and the other side of the connecting plate (3) is fixed with a driving motor (5), and the driving motor (5) ) is connected to the drive tooth (4), and a follower plate (6) is provided on both sides of the drive tooth (4) and at a position corresponding to the carriage (2). The moving plate (6) is slidingly connected with the corresponding carriage (2), and the two following plates (6) are meshed with the driving teeth (4); the outer sides of the two following plates (6) are A support frame (7) is fixed, and a mounting plate (8) is fixed on the upper end of the support frame (7). 2.根据权利要求1所述的一种抗震试验装置,其特征在于,两个所述随动板(6)的上下两端均通过导轮与相对应的滑架(2)滑动连接。2. An anti-seismic test device according to claim 1, characterized in that the upper and lower ends of the two follower plates (6) are slidingly connected to the corresponding carriage (2) through guide wheels. 3.根据权利要求1所述的一种抗震试验装置,其特征在于,所述支撑架(7)的上端均固定有延伸板(9),所述安装板(8)固定在延伸板(9)的上端,所述支撑架(7)通过延伸板(9)与安装板(8)固定连接。3. An anti-seismic test device according to claim 1, characterized in that extension plates (9) are fixed on the upper ends of the support frames (7), and the installation plates (8) are fixed on the extension plates (9) ), the support frame (7) is fixedly connected with the installation plate (8) through the extension plate (9). 4.根据权利要求1所述的一种抗震试验装置,其特征在于,两个所述滑架(2)背面的上端通过上加固板(10)固定连接,两个所述滑架(2)背面的下端通过下加固板(11)固定连接,两个所述滑架(2)的背面均设置有三角架(12),所述三角架(12)的上端与上加固板(10)通过螺钉固定连接,所述三角架(12)的下端均通过螺钉分别与下加固板(11)和底板(1)固定连接。4. An anti-seismic test device according to claim 1, characterized in that the upper ends of the backs of the two carriages (2) are fixedly connected by an upper reinforcing plate (10), and the two carriages (2) The lower end of the back is fixedly connected by the lower reinforcing plate (11), and the backs of the two sliding frames (2) are provided with tripods (12), and the upper ends of the tripods (12) and the upper reinforcing plate (10) pass through Screws are fixedly connected, and the lower ends of the tripod (12) are respectively fixedly connected with the lower reinforcing plate (11) and the bottom plate (1) by screws. 5.根据权利要求1所述的一种抗震试验装置,其特征在于,所述底板(1)的两端均设置有延伸架(13),所述延伸架(13)通过连接杆(14)与底板(1)插接连接,所述延伸架(13)两端的下端均固定有支撑底座(15)。5. An anti-seismic test device according to claim 1, characterized in that, both ends of the bottom plate (1) are provided with extension frames (13), and the extension frames (13) are connected by connecting rods (14) It is plugged and connected with the base plate (1), and the lower ends of both ends of the extension frame (13) are fixed with supporting bases (15). 6.根据权利要求5所述的一种抗震试验装置,其特征在于,所述底板(1)下端的四个端角位置处均设置有提升底座(16),所述提升底座(16)的上端转动连接有提升螺杆(17),所述提升螺杆(17)与底板(1)螺纹连接。6. An anti-seismic test device according to claim 5, characterized in that, four end corners of the lower end of the bottom plate (1) are provided with lifting bases (16), and the lifting bases (16) The upper end is rotatably connected with a lifting screw (17), and the lifting screw (17) is threadedly connected with the bottom plate (1).
CN202320088723.6U 2023-01-31 2023-01-31 An anti-seismic test device Expired - Fee Related CN219265647U (en)

Priority Applications (1)

Application Number Priority Date Filing Date Title
CN202320088723.6U CN219265647U (en) 2023-01-31 2023-01-31 An anti-seismic test device

Applications Claiming Priority (1)

Application Number Priority Date Filing Date Title
CN202320088723.6U CN219265647U (en) 2023-01-31 2023-01-31 An anti-seismic test device

Publications (1)

Publication Number Publication Date
CN219265647U true CN219265647U (en) 2023-06-27

Family

ID=86853324

Family Applications (1)

Application Number Title Priority Date Filing Date
CN202320088723.6U Expired - Fee Related CN219265647U (en) 2023-01-31 2023-01-31 An anti-seismic test device

Country Status (1)

Country Link
CN (1) CN219265647U (en)

Similar Documents

Publication Publication Date Title
CN219265647U (en) An anti-seismic test device
CN211524100U (en) A kind of construction engineering steel structure support frame
CN210097120U (en) A disc filter cleaning device that is easy to move and adjust the height
CN112609540B (en) Road surface tamping device for municipal road construction
CN220063936U (en) House building quality detection device based on ultrasonic wave
CN218205091U (en) A curtain wall mounting bracket
CN217148365U (en) A kind of construction engineering hoisting equipment
CN218292413U (en) Assembled building curtain with anti-drop structure
CN112281594B (en) Vibration forming device for recycled cement stabilized macadam and working method thereof
CN219062987U (en) Lifting support for electromechanical installation
CN216689421U (en) Foundation pit supporting structure
CN210719606U (en) Free rise and fall week repetitive load test device
CN221502820U (en) Support for building engineering
CN221483181U (en) An adjustable noise reduction device
CN219458402U (en) A low-voltage reactive power compensation device with good stability
CN212811014U (en) Power distribution network optimization device
CN212717787U (en) Road construction is peaceful equipment with damper
CN221824666U (en) Fixing device for hydraulic engineering
CN220749686U (en) Mounting bracket for building construction level
CN216836931U (en) Hoisting device for mounting electromechanical engineering pipeline
CN217810616U (en) A deep foundation pit slope protection device for high-rise buildings
CN221912551U (en) Base module capable of automatically falling at T-beam lifting position
CN217269080U (en) Modular elevator leveling connecting mechanism
CN221030775U (en) Shockproof building structure
CN220146224U (en) Building prefabricated block template

Legal Events

Date Code Title Description
GR01 Patent grant
GR01 Patent grant
CF01 Termination of patent right due to non-payment of annual fee

Granted publication date: 20230627

CF01 Termination of patent right due to non-payment of annual fee