CN219241629U - 一种平出式车门把手 - Google Patents
一种平出式车门把手 Download PDFInfo
- Publication number
- CN219241629U CN219241629U CN202222434044.8U CN202222434044U CN219241629U CN 219241629 U CN219241629 U CN 219241629U CN 202222434044 U CN202222434044 U CN 202222434044U CN 219241629 U CN219241629 U CN 219241629U
- Authority
- CN
- China
- Prior art keywords
- handle
- swing arm
- connecting rod
- piece
- base body
- Prior art date
- Legal status (The legal status is an assumption and is not a legal conclusion. Google has not performed a legal analysis and makes no representation as to the accuracy of the status listed.)
- Active
Links
- 230000007246 mechanism Effects 0.000 claims abstract description 46
- 238000004146 energy storage Methods 0.000 claims abstract description 28
- 230000000903 blocking effect Effects 0.000 claims abstract description 15
- 238000013016 damping Methods 0.000 claims description 11
- 230000033001 locomotion Effects 0.000 claims description 10
- 238000000034 method Methods 0.000 claims description 10
- 238000005381 potential energy Methods 0.000 claims description 8
- 230000009471 action Effects 0.000 claims description 5
- 230000003111 delayed effect Effects 0.000 claims description 3
- 238000006243 chemical reaction Methods 0.000 abstract description 2
- 230000008569 process Effects 0.000 description 6
- 230000001737 promoting effect Effects 0.000 description 3
- 238000010586 diagram Methods 0.000 description 2
- 241001391944 Commicarpus scandens Species 0.000 description 1
- 230000009286 beneficial effect Effects 0.000 description 1
- 230000002457 bidirectional effect Effects 0.000 description 1
- 230000005540 biological transmission Effects 0.000 description 1
- 230000000994 depressogenic effect Effects 0.000 description 1
- 230000014509 gene expression Effects 0.000 description 1
- 230000004044 response Effects 0.000 description 1
- 238000007789 sealing Methods 0.000 description 1
- 238000000926 separation method Methods 0.000 description 1
Images
Landscapes
- Lock And Its Accessories (AREA)
Abstract
本实用新型涉及一种平出式车门把手,包括把手、阻挡机构、蓄能机构、第一连接件和第二连接件,第一连接件与把手第一端相连,第二连接件与把手的第二端相连,阻挡机构在处于初始隐藏位置的把手的第一端被向内按压且第二连接件被把手的第二端拉动后用于挡住第二连接件使其暂时无法复位;第一连接件与蓄能机构之间设有促使两者相互靠近的势能存储件,蓄能机构远离第一连接件后被限位,使得蓄能机构与第一连接件之间产生的势能促使第一连接件转动并将把手第二端推出至把手的展开位置,本实用新型的平出式把手为机械式结构,不需要额外的电气元件即可实现把手的初始隐藏位置、按压位置、展开位置和开锁位置的转换,节省成本。
Description
技术领域
本实用新型涉及汽车车门技术领域,特别涉及一种平出式车门把手。
背景技术
现有技术中,隐藏式车门把手通过按压把手触发微动开关等电子元件,然后驱动器将把手推出,如申请号为CN201920661780.2的专利,这样成本比较高,而且电器元件容易坏,造成车门无法开锁。
实用新型内容
为了解决现有技术存在的包含驱动器的车门把手成本较高的问题,本实用新型提供一种机械式的节省成本的平出式车门把手。
本实用新型解决其技术问题所采用的技术方案是:
一种平出式车门把手,包括:
把手,所述的把手连接有第一连接件和第二连接件,所述的第一连接件与把手第一端相连,第二连接件与把手的第二端相连,
阻挡机构,所述的阻挡机构在处于初始隐藏位置的把手的第一端被向内按压且第二连接件被把手的第二端拉动后用于挡住第二连接件使其暂时无法复位;
蓄能机构,所述的第一连接件与蓄能机构之间设有促使两者相互靠近的势能存储件,蓄能机构远离第一连接件后被限位,使得蓄能机构与第一连接件之间产生的势能促使第一连接件转动并将把手的按压后的第一端推出至把手的展开位置。势能存储件可以使设置在第一连接件与蓄能机构之间的扭簧。
进一步的,所述的蓄能机构与第二连接件直接连接或者间接连接。
进一步的,还包括基体,基体上设有通孔,所述的把手可从基体的通孔中伸出,所述的第一连接件为铰接在基体上的第一连杆,第二连接件为铰接在基体上的第二连杆。
进一步的,所述的第一连杆和第二连杆之间铰接有中间连杆,中间连杆与基体之间设有第一弹性复位元件,蓄能机构与中间连杆铰接。
进一步的,所述的阻挡机构包括转动设置在基体上的摆臂,所述的摆臂与基体之间设有用于促使摆臂回复至初始位置的第三弹性复位元件,所述的摆臂运动轨迹与第二连杆的运动轨迹之间具有轨迹交叉范围,两者在轨迹交叉范围内相互制约或相互驱动。
进一步的,处于初始隐藏位置和开锁位置的把手的第二连杆处于与摆臂的轨迹交叉范围外。即初始隐藏位置越过轨迹交叉范围,这样可以使得把手快速复位,开锁位置的第二连杆也越过轨迹交叉范围,这样开锁比较省力。
进一步的,所述的阻挡机构还包括限位锁件,所述的限位锁件被按下的把手的第一端驱使转动并挡住摆臂,且被限位锁件挡住的摆臂处于轨迹交叉范围内,从而使得第二连杆被摆臂限位。
进一步的,所述的限位锁件转动连接在基体上,限位锁件与基体之间设有促使限位锁件复位的第三弹性复位元件,且被按压后的把手第一端促使限位锁件向摆臂靠近以锁紧摆臂,且复位后的限位锁件远离摆臂从而不限制摆臂的动作。
进一步的,所述的摆臂连接有使其延时复位的阻尼结构。
进一步的,所述的基体上还设有拉索,拉索连接有拉索摆动块,拉索摆动块与基体之间设有第四弹性复位元件,第四弹性复位元件可选但不限于扭簧,处于展开位置的把手被拉起至开锁位置过程中,所述的第二连杆勾住拉索摆动块并带动拉索运动,把手的第二端设有滑槽,所述的第二连杆设有在滑槽中滑动的滑柱。
有益效果:
(1)本实用新型的平出式把手为机械式结构,不需要额外的电气元件即可实现把手的初始隐藏位置、按压位置、展开位置和开锁位置的转换,节省成本;
(2)本实用新型的把手的第一端被按压后,第二端受限,把手的第一端采用蓄力的方式促使把手的第一端展开,从而实现把手的展开,响应快速;
(3)本实用新型采用四连杆机构(第一连杆、第二连杆与中间连杆)实现把手与基体的连接,通过按压拉动第二连杆,第二连杆受摆臂制约,摆臂又受到限位锁件的制约,使得把手第二端翘起从而把手展开,并且蓄能机构与第二连杆联动,把手第一端与限位锁件的联动,整个过程各零件相互配合或制约;
(4)处于初始隐藏位置和开锁位置的把手的第二连杆处于与摆臂的轨迹交叉范围外,而处于按压位置与展开位置把手的第二连杆处于与摆臂的轨迹交叉范围内,即第二连杆的滚轮与摆臂之间采用分离-干涉-分离的工作原理,实现把手的展开,同时又不影响把手的回位,把手整体功能性好;
(5)摆臂具有三个功能部分,第一个功能部分是与第二连杆的滚轮相互制约或者相互传动的第一配合功能部分X,第二个功能部分是与阻尼机构的第二配合功能部分Y,第三个功能部分是与限位锁件的第三配合功能部分Z,同一结构实现了三个功能,结构巧妙且集成。
附图说明
为了更清楚地说明本实用新型实施例的技术方案,下面将对实施例描述中所需要使用的附图作简单地介绍,显而易见地,下面描述中的附图仅仅是本实用新型的一些实施例,对于本领域的普通技术人员来讲,在不付出创造性劳动的前提下,还可以根据这些附图获得其他附图。
图1为本实用新型的平出式把手的四种状态示意图;
图2为本实用新型的平出式把手处于初始隐藏位置的内部结构图;
图3为本实用新型的平出式把手处于初始隐藏位置(隐藏基体和密封条)的正面视图;
图4为本实用新型的平出式把手处于初始隐藏位置(隐藏基体和密封条)的反面视图;
图5为本实用新型的平出式把手处于初始隐藏位置(隐藏基体和密封条)的立体图;
图6为本实用新型的平出式把手处于按压状态(隐藏基体和密封条)的正面视图;
图7为本实用新型的平出式把手处于按压状态(隐藏基体和密封条)的反面视图;
图8为本实用新型的平出式把手处于展开状态(隐藏基体和密封条)的正面视图;
图9为本实用新型的平出式把手处于展开状态(隐藏基体和密封条)的反面视图;
图10为本实用新型的平出式把手处于开锁位置(隐藏基体和密封条)的正面视图;
图11为本实用新型的平出式把手处于开锁位置(隐藏基体和密封条)的反面视图;
图12为摆臂的结构示意图;
图13为摆臂与第二连杆的滚轮的运动关系图。
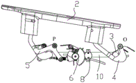
其中,1、基体,2、把手,21、第一端,22、第二端,23、滑槽,3、蓄能机构,4、第一连杆,5、第二连杆,51、滑柱,52、滚轮,6、摆臂,7、限位锁件,8.阻尼结构,9、拉索,91、拉索摆动块,10、中间连杆。
具体实施方式
下面将结合本实用新型实施例中的附图,对本实用新型实施例中的技术方案进行清楚、完整地描述,显然,所描述的实施例仅仅是本实用新型一部分实施例,而不是全部的实施例。以下对至少一个示例性实施例的描述实际上仅仅是说明性的,决不作为对本实用新型及其应用或使用的任何限制。基于本实用新型中的实施例,本领域普通技术人员在没有作出创造性劳动前提下所获得的所有其他实施例,都属于本实用新型保护的范围。
需要注意的是,这里所使用的术语仅是为了描述具体实施方式,而非意图限制根据本申请的示例性实施方式。如在这里所使用的,除非上下文另外明确指出,否则单数形式也意图包括复数形式,此外,还应当理解的是,当在本说明书中使用术语“包含”和/或“包括”时,其指明存在特征、步骤、操作、器件、组件和/或它们的组合。
除非另外具体说明,否则在这些实施例中阐述的部件和步骤的相对布置、数字表达式和数值不限制本实用新型的范围。同时,应当明白,为了便于描述,附图中所示出的各个部分的尺寸并不是按照实际的比例关系绘制的。对于相关领域普通技术人员已知的技术、方法和设备可能不作详细讨论,但在适当情况下,所述技术、方法和设备应当被视为授权说明书的一部分。在这里示出和讨论的所有示例中,任何具体值应被解释为仅仅是示例性的,而不是作为限制。因此,示例性实施例的其它示例可以具有不同的值。应注意到:相似的标号和字母在下面的附图中表示类似项,因此,一旦某一项在一个附图中被定义,则在随后的附图中不需要对其进行进一步讨论。
在本实用新型的描述中,需要理解的是,方位词如“前、后、上、下、左、右”、“横向、竖向、垂直、水平”和“顶、底”等所指示的方位或位置关系通常是基于附图所示的方位或位置关系,仅是为了便于描述本实用新型和简化描述,在未作相反说明的情况下,这些方位词并不指示和暗示所指的装置或元件必须具有特定的方位或者以特定的方位构造和操作,因此不能理解为对本实用新型保护范围的限制;方位词“内、外”是指相对于各部件本身的轮廓的内外。
为了便于描述,在这里可以使用空间相对术语,如“在……之上”、“在……上方”、“在……上表面”、“上面的”等,用来描述如在图中所示的一个器件或特征与其他器件或特征的空间位置关系。应当理解的是,空间相对术语旨在包含除了器件在图中所描述的方位之外的在使用或操作中的不同方位。例如,如果附图中的器件被倒置,则描述为“在其他器件或构造上方”或“在其他器件或构造之上”的器件之后将被定位为“在其他器件或构造下方”或“在其他器件或构造之下”。因而,示例性术语“在……上方”可以包括“在……上方”和“在……下方”两种方位。该器件也可以其他不同方式定位(旋转90度或处于其他方位),并且对这里所使用的空间相对描述作出相应解释。
此外,需要说明的是,使用“第一”、“第二”等词语来限定零部件,仅仅是为了便于对相应零部件进行区别,如没有另行声明,上述词语并没有特殊含义,因此不能理解为对本实用新型保护范围的限制。
本实用新型的平出式把手具有四种工作位置,如图1,A位置为初始隐藏位置,B位置为按压位置,C位置为展开位置,D位置为把手的开锁位置。
如图1~11,一种平出式车门把手,包括基体1、把手2、阻挡机构和蓄能机构3,基体1上设有通孔,通孔边缘设有密封条,把手2可从基体1的通孔中伸出,把手2连接有第一连接件和第二连接件,第一连接件与把手2的第一端21相连,第二连接件与把手2的第二端22相连,本实用新型采用四连杆机构,具体的结构为:第一连接件为铰接在基体1上的第一连杆4,第一连杆4铰接位置如图所示的O处,第二连接件为铰接在基体1上的第二连杆5,第二连杆5的铰接位置如图所示的P处,第一连杆4和第二连杆5之间铰接有中间连杆10,中间连杆10与基体1之间设有第一弹性复位元件,第一弹性复位元件可选但不限于扭簧。
阻挡机构在处于初始隐藏位置的把手2的第一端21被向内按压且第二连接件被把手2的第二端22拉动后用于挡住第二连接件使其暂时无法复位。
阻挡机构包括转动设置在基体1上的摆臂6,摆臂6与基体1之间设有用于促使摆臂6回复至初始位置的第二弹性复位元件。第二弹性复位元件可选但不限于扭簧,且不论摆臂顺时针或者逆时针转动,此处的扭簧总可以让摆臂回复至初始位置,即扭簧具有双向复位功能。摆臂6运动轨迹与第二连杆5的运动轨迹之间具有轨迹交叉范围,两者在轨迹交叉范围内相互制约或相互驱动。处于初始隐藏位置和开锁位置的把手2的第二连杆5处于与摆臂6的轨迹交叉范围外。这样,当第二连杆5越过与摆臂6的轨迹交叉范围后,两者相互脱开,便于实现开锁或者四连杆机构的复位。摆臂6还连接有使其延时复位的阻尼结构8,阻尼结构8可以采用现有的阻尼器等。
阻挡机构还包括限位锁件7,限位锁件7被按下的把手2的第一端21驱使转动并挡住摆臂6,且被限位锁件7挡住的摆臂6处于轨迹交叉范围内,从而使得第二连杆5被摆臂6限位。第二连杆5转动连接有用于与摆臂6配合的滚轮52。限位锁件7可以单独控制,本实用新型中,限位锁件7转动连接在基体1上,限位锁件7与基体1之间设有促使限位锁件7复位的第三弹性复位元件,且被按压后的把手2第一端21促使限位锁件7向摆臂6靠近以锁紧摆臂6,且复位后的限位锁件7远离摆臂6从而不限制摆臂6的动作。
第一连接件与蓄能机构3之间设有促使两者相互靠近的势能存储件,蓄能机构3远离第一连接件后被限位,使得蓄能机构3与第一连接件之间产生的势能促使第一连接件转动并将把手2的按压后的第一端21推出至把手2的展开位置。储能件可选但不限于扭簧。
蓄能机构3可以单独控制,本实用新型中,蓄能机构3与第二连接件直接连接或者间接连接从而实现联动。作为本实用新型的优选实施例,蓄能机构3与中间连杆10铰接,从而实现联动。
基体1上还设有拉索9,拉索9连接有拉索摆动块91,拉索摆动块91与基体之间设有第四弹性复位元件,处于展开位置的把手2被拉起至开锁位置过程中,所述的第二连杆5勾住拉索摆动块91并带动拉索9运动,把手2的第二端22设有滑槽23,第二连杆5设有在滑槽23中滑动的滑柱51。
如图12,摆臂6具有三个功能部分,第一个功能部分是与第二连杆5的滚轮52相互制约或者相互传动的第一配合功能部分X,第二个功能部分是与阻尼机构相互配合的第二配合功能部分Y,第三个功能部分是与限位锁件7的第三配合功能部分Z,同一结构实现了三个功能,结构巧妙且集成。
如图13,实线位置为摆臂6的初始位置a,虚线位置b和c分别是摆臂6与滚轮52轨迹交叉范围的第一边界位置和第二边界位置,越过两个边界位置两者就不会相互制约,双点划线位置d为把手2被按压后摆臂6限制滚轮52的位置,图中阴影部分为第二连杆5的滚轮52处于与摆臂6的轨迹交叉范围。
工作原理:
按压把手:把手2处于如图3~5的初始隐藏位置时,按压把手2的第一端21,把手2的第二端22被带动翘起,如图6~7,第二连杆5转动并带动摆臂6转动,把手2的第一端21按压后,把手2的第一端21驱动限位锁件7转动,摆臂6在第二连杆5驱动下逆时针转动并抵在限位锁件7上,此时,限位锁件7阻挡第二连杆5使其无法进行复位,把手2的第二端22保持翘起的状态,而在刚开始把手2的第二端22翘起并带动第二连杆5转动过程中,第二连杆5通过中间连杆10拉动蓄能机构3向远离第一连杆4的方向转动,在第二连杆5无法复位的情况下,蓄能机构3也无法复位,此时,不再按压把手2的第一端21,不受限制的第一连杆4在势能存储件的作用下向蓄能机构3靠拢转动,从而带动把手2的第一端21向外展开,把手2到达如图8~9的展开位置,把手2的第一端21展开后,限位锁件7不再受把手2的第一端21的限制,限位锁件7复位;
把手开锁:由于把手2处于展开位置,第二连杆5的滚轮52与摆臂6之间仍处于相互制约的轨迹交叉范围,又由于摆臂6连接阻尼机构8,中间连杆10如果想要带动第一连杆4和第二连杆5复位,就要克服阻尼机构9的阻尼力,因此,处于展开位置的把手2不会立即复位,此状态可以保持一定时间(如若干秒),如果没有人工干预,把手2在展开位置保持一定时间后中间连杆10带动第一连杆4和第二连杆5克服阻尼力复位,把手2会回复到初始隐藏位置;而如果人手此时在展开位置下拉动把手2时,把手2就会进入到如图9~10所示的开锁位置,此过程中第二连杆5的滑柱51在把手2的第二端22的滑槽23内滑动,从而第二连杆5转动,把手2的第二端22翘起,第二连杆5在此过程转动并会勾住拉索摆动块91运动,进而拉动拉索9,从而实现开锁,此过程中,第二连杆5的滚轮52会驱动摆臂6继续逆时针转动并越过两者的轨迹交叉范围,即摆臂6首先转动至第一边界位置b然后回复到初始位置a。
把手复位:实现开锁后,中间连杆10在第一弹性复位元件作用下带动第一连杆4和第二连杆5复位,复位过程中第二连杆5要先推动摆臂6使得摆臂6顺时针转动,当摆臂越过第二边界位置c后,滚轮52与摆臂6相互脱离,之后摆臂6和第二连杆5均复位。
图11中拉索的前端应和摆臂配合的,且拉索被拉动,图中只示意出拉索摆动块转动,实际拉索也被拉动。
以上,仅为本实用新型较佳的具体实施方式,但本实用新型的保护范围并不局限于此,任何熟悉本技术领域的技术人员在本实用新型揭露的技术范围内,根据本实用新型的技术方案及其实用新型构思加以等同替换或改变,都应涵盖在本实用新型的保护范围之内。
Claims (10)
1.一种平出式车门把手,其特征在于:包括:
把手(2),所述的把手(2)连接有第一连接件和第二连接件,所述的第一连接件与把手(2)第一端(21)相连,第二连接件与把手(2)的第二端(22)相连,
阻挡机构,所述的阻挡机构在处于初始隐藏位置的把手(2)的第一端(21)被向内按压且第二连接件被把手(2)的第二端(22)拉动后用于挡住第二连接件使其暂时无法复位;
蓄能机构(3),所述的第一连接件与蓄能机构(3)之间设有促使两者相互靠近的势能存储件,蓄能机构(3)远离第一连接件后被限位,使得蓄能机构(3)与第一连接件之间产生的势能促使第一连接件转动并将把手(2)按压后的第一端(21)推出至把手(2)的展开位置。
2.根据权利要求1所述的一种平出式车门把手,其特征在于:所述的蓄能机构(3)与第二连接件直接连接或者间接连接。
3.根据权利要求2所述的一种平出式车门把手,其特征在于:还包括基体(1),基体(1)上设有通孔,所述的把手(2)可从基体(1)的通孔中伸出,所述的第一连接件为铰接在基体(1)上的第一连杆(4),第二连接件为铰接在基体(1)上的第二连杆(5)。
4.根据权利要求3所述的一种平出式车门把手,其特征在于:所述的第一连杆(4)和第二连杆(5)之间铰接有中间连杆(10),中间连杆(10)与基体(1)之间设有第一弹性复位元件,蓄能机构(3)与中间连杆(10)铰接。
5.根据权利要求3所述的一种平出式车门把手,其特征在于:所述的阻挡机构包括转动设置在基体(1)上的摆臂(6),所述的摆臂(6)与基体(1)之间设有用于促使摆臂(6)回复至初始位置的第二弹性复位元件,所述的摆臂(6)运动轨迹与第二连杆(5)的运动轨迹之间具有轨迹交叉范围,两者在轨迹交叉范围内相互制约或相互驱动。
6.根据权利要求5所述的一种平出式车门把手,其特征在于:处于初始隐藏位置和开锁位置的把手(2)的第二连杆(5)处于与摆臂(6)的轨迹交叉范围外。
7.根据权利要求5所述的一种平出式车门把手,其特征在于:所述的阻挡机构还包括限位锁件(7),所述的限位锁件(7)被按下的把手(2)的第一端(21)驱使转动并挡住摆臂(6),且被限位锁件(7)挡住的摆臂(6)处于轨迹交叉范围内,从而使得第二连杆(5)被摆臂(6)限位。
8.根据权利要求7所述的一种平出式车门把手,其特征在于:所述的限位锁件(7)转动连接在基体(1)上,限位锁件(7)与基体(1)之间设有促使限位锁件(7)复位的第三弹性复位元件,且被按压后的把手(2)第一端(21)促使限位锁件(7)向摆臂(6)靠近以锁紧摆臂(6),且复位后的限位锁件(7)远离摆臂(6)从而不限制摆臂(6)的动作。
9.根据权利要求5所述的一种平出式车门把手,其特征在于:所述的摆臂(6)连接有使其延时复位的阻尼结构(8)。
10.根据权利要求5所述的一种平出式车门把手,其特征在于:所述的基体(1)上还设有拉索(9),拉索(9)连接有拉索摆动块(91),拉索摆动块(91)与基体之间设有第四弹性复位元件,处于展开位置的把手(2)被拉起至开锁位置过程中,所述的第二连杆(5)勾住拉索摆动块(91)并带动拉索(9)运动,把手(2)的第二端(22)设有滑槽(23),所述的第二连杆(5)设有在滑槽(23)中滑动的滑柱(51)。
Priority Applications (1)
| Application Number | Priority Date | Filing Date | Title |
|---|---|---|---|
| CN202222434044.8U CN219241629U (zh) | 2022-09-14 | 2022-09-14 | 一种平出式车门把手 |
Applications Claiming Priority (1)
| Application Number | Priority Date | Filing Date | Title |
|---|---|---|---|
| CN202222434044.8U CN219241629U (zh) | 2022-09-14 | 2022-09-14 | 一种平出式车门把手 |
Publications (1)
| Publication Number | Publication Date |
|---|---|
| CN219241629U true CN219241629U (zh) | 2023-06-23 |
Family
ID=86840043
Family Applications (1)
| Application Number | Title | Priority Date | Filing Date |
|---|---|---|---|
| CN202222434044.8U Active CN219241629U (zh) | 2022-09-14 | 2022-09-14 | 一种平出式车门把手 |
Country Status (1)
| Country | Link |
|---|---|
| CN (1) | CN219241629U (zh) |
Cited By (1)
| Publication number | Priority date | Publication date | Assignee | Title |
|---|---|---|---|---|
| CN115478743A (zh) * | 2022-09-14 | 2022-12-16 | 伟速达(中国)汽车安全系统有限公司 | 一种平出式车门把手 |
-
2022
- 2022-09-14 CN CN202222434044.8U patent/CN219241629U/zh active Active
Cited By (2)
| Publication number | Priority date | Publication date | Assignee | Title |
|---|---|---|---|---|
| CN115478743A (zh) * | 2022-09-14 | 2022-12-16 | 伟速达(中国)汽车安全系统有限公司 | 一种平出式车门把手 |
| CN115478743B (zh) * | 2022-09-14 | 2025-11-07 | 伟速达(中国)汽车安全系统有限公司 | 一种平出式车门把手 |
Similar Documents
| Publication | Publication Date | Title |
|---|---|---|
| CN115478743B (zh) | 一种平出式车门把手 | |
| US6065797A (en) | Locking mechanism of door locking apparatus for motor vehicle | |
| CN219241629U (zh) | 一种平出式车门把手 | |
| CN207128968U (zh) | 可快速联动折叠的童车 | |
| CN208347492U (zh) | 用于机动车辆门的操作系统及机动车辆 | |
| CN221322081U (zh) | 一种车门把手解锁机构 | |
| CN218623759U (zh) | 平出隐藏式汽车外门把手 | |
| CN115476888A (zh) | 疏散结构及轨道车辆 | |
| CN209990282U (zh) | 一种儿童锁装置 | |
| CN116122677B (zh) | 一种具有应急功能的电子解锁车门把手 | |
| CN219910404U (zh) | 一种内置式电子解锁车门把手 | |
| CN210062789U (zh) | 一种翻转装置及采用该翻转装置制作的车辆 | |
| CN216588174U (zh) | 机械隐藏把手及汽车 | |
| CN218197880U (zh) | 敞篷车折叠车顶的锁紧装置及敞篷车 | |
| CN108222695A (zh) | 带有易操作内解锁结构的直升机舱门 | |
| CN221568195U (zh) | 一种隐藏式车门把手 | |
| CN116220489B (zh) | 一种内置式电子解锁车门把手 | |
| CN107503586B (zh) | 一种把手开锁部件以及锁具总成 | |
| CN214835561U (zh) | 一种自动回位翻转把手 | |
| CN202753826U (zh) | 一种汽车后排座椅总成 | |
| CN210067701U (zh) | 一种自动上锁开锁且能反倒锁舌的智能锁 | |
| CN209429789U (zh) | 一种车内门把手 | |
| CN207157319U (zh) | 一种野营拖车 | |
| CN208102172U (zh) | 一种车桩锁 | |
| CN223621396U (zh) | 一种隐藏式车门把手结构及车辆 |
Legal Events
| Date | Code | Title | Description |
|---|---|---|---|
| GR01 | Patent grant | ||
| GR01 | Patent grant |