CN219200729U - An intelligent waterproof detection system for building facades - Google Patents
An intelligent waterproof detection system for building facades Download PDFInfo
- Publication number
- CN219200729U CN219200729U CN202223114485.6U CN202223114485U CN219200729U CN 219200729 U CN219200729 U CN 219200729U CN 202223114485 U CN202223114485 U CN 202223114485U CN 219200729 U CN219200729 U CN 219200729U
- Authority
- CN
- China
- Prior art keywords
- plate
- water
- facade
- strip
- building
- Prior art date
- Legal status (The legal status is an assumption and is not a legal conclusion. Google has not performed a legal analysis and makes no representation as to the accuracy of the status listed.)
- Expired - Fee Related
Links
Images
Classifications
-
- Y—GENERAL TAGGING OF NEW TECHNOLOGICAL DEVELOPMENTS; GENERAL TAGGING OF CROSS-SECTIONAL TECHNOLOGIES SPANNING OVER SEVERAL SECTIONS OF THE IPC; TECHNICAL SUBJECTS COVERED BY FORMER USPC CROSS-REFERENCE ART COLLECTIONS [XRACs] AND DIGESTS
- Y02—TECHNOLOGIES OR APPLICATIONS FOR MITIGATION OR ADAPTATION AGAINST CLIMATE CHANGE
- Y02A—TECHNOLOGIES FOR ADAPTATION TO CLIMATE CHANGE
- Y02A20/00—Water conservation; Efficient water supply; Efficient water use
- Y02A20/108—Rainwater harvesting
Landscapes
- Examining Or Testing Airtightness (AREA)
Abstract
本发明提供了一种用于建筑物外立面的智能防水检测系统,包括楼顶支撑组件和外立面喷水检测组件;楼顶支撑组件包括水平设置的支架板,支架板的前侧底部设有竖直设置的外抵板,后段底部设有可沿其前后滑动的滑板,顶部前侧设有两左右对称设置的卷扬机;外立面喷水检测组件包括竖直设置的外立板,外立板的左右两侧内部对设有竖直设置的条形滑板,内侧中部设有上下设置的红外线成像仪和条形喷头。本发明的有益效果在于:适用于目前的大多数高建筑物,能实现自动升降检测,并能实时有效回收水资源,既提高的检测效率,还能节约资源,具有广阔的市场前景。
The invention provides an intelligent waterproof detection system for building facades, which includes a roof support assembly and a facade water spray detection assembly; the roof support assembly includes a horizontally arranged support plate, and the front bottom of the support plate There is a vertically arranged outer board, the bottom of the rear section is provided with a slide plate that can slide forward and backward along it, and the front side of the top is provided with two symmetrically arranged winches; the façade water spray detection component includes a vertically arranged outer façade , the left and right sides of the outer vertical board are provided with vertically arranged strip slides, and the inner middle is provided with an infrared imager and a strip nozzle arranged up and down. The beneficial effect of the present invention is that it is applicable to most of the current high buildings, can realize automatic lifting detection, and can effectively recycle water resources in real time, not only improves the detection efficiency, but also saves resources, and has broad market prospects.
Description
技术领域technical field
本发明涉及防水检测领域,具体涉及一种用于建筑物外立面的智能防水检测系统。The invention relates to the field of waterproof detection, in particular to an intelligent waterproof detection system for building facades.
背景技术Background technique
建筑物外立面渗水是由于施工工艺不规范和细部处理不认真,选用的材料不当,二次装修不当等因素造成的,且当前很多防水材料质量下降,合格率普遍低下,尤其是小型厂生产的产品,在生产过程中没有经过严格的工艺处理,质量关、技术关都没把好,甚至生产防水材料的原材料的质量也有问题,砌块、机制粘土砖、水泥的质量达不到要求,强度不够,施工所用的砂石含泥量大、超出规范要求等。The water seepage on the facade of the building is caused by factors such as irregular construction techniques, careless details, improperly selected materials, and improper secondary decoration. Moreover, the quality of many current waterproof materials has declined, and the pass rate is generally low, especially for small factories. The products in the production process have not been strictly processed, and the quality control and technical control have not been properly controlled. There are even problems with the quality of raw materials for the production of waterproof materials. The quality of blocks, machine-made clay bricks, and cement cannot meet the requirements. The strength is not enough, and the sand and gravel used in the construction have a large mud content and exceed the specification requirements.
目前,建筑物外立面渗水一般通过红外线成像仪,其利用红外探测器和光学成像物镜接收被测目标的红外辐射能量,并形成可见的红外热像图,这种热像图与物体表面的热分布场相对应。由于水的热容比建筑材料的热容大,在同样的热辐射条件下,渗水部位由于水分的存在,使其热量增大,其温度的升高较小,从而再红外热像图上形成“冷点”,以判断是否渗水。但当前大都采用在外立面使用升降操作台人工检测的方式,不仅耗费人力,而且会浪费大量水资源并存在安全隐患。At present, water seepage on building facades generally passes through infrared imagers, which use infrared detectors and optical imaging objective lenses to receive infrared radiation energy from the target to form a visible infrared thermal image, which is consistent with the surface of the object corresponding to the heat distribution field. Since the heat capacity of water is larger than that of building materials, under the same heat radiation conditions, the presence of water in the water seepage part increases the heat, and the temperature rise is small, thus forming a thermal radiation on the infrared thermal image. "Cold spot" to judge whether there is water seepage. However, at present, most of them adopt the method of manual inspection using the lifting operation platform on the facade, which not only consumes manpower, but also wastes a lot of water resources and poses safety hazards.
发明内容Contents of the invention
为解决上述问题,本发明公开了一种用于建筑物外立面的智能防水检测系统。In order to solve the above problems, the invention discloses an intelligent waterproof detection system for building facades.
具体方案如下:The specific plan is as follows:
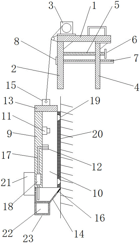
一种用于建筑物外立面的智能防水检测系统,其特征在于:包括楼顶支撑组件和外立面喷水检测组件;所述楼顶支撑组件包括水平设置的支架板,所述支架板的前侧底部设有竖直设置的外抵板,后段底部设有可沿其前后滑动的滑板,顶部前侧设有两左右对称设置的卷扬机,所述滑板的前侧底部设有竖直设置的内抵板,所述外抵板与内抵板平行,且内抵板上螺纹穿设有横向设置的螺杆,所述螺杆与外抵板垂直,且其前端与外抵板转动连接,后端设有操控手盘,所述外抵板与内抵板间还设有水平设置的支撑板,所述支撑板的前端穿过外抵板并连接有限位条,后端滑动穿过内抵板;所述外立面喷水检测组件包括竖直设置的外立板,所述外立板的左右两侧内部对设有竖直设置的条形滑板,内侧中部设有上下设置的红外线成像仪和条形喷头,所述条形滑板与建筑物外立面滑动接触,所述条形喷头水平设置,所述外立板的顶部是有支撑杆,底部设有收集水箱,所述支撑杆上设有两左右对称设置的连接座,且两连接座分别与两卷扬机的钢丝绳端部固定连接,所述收集水箱的顶部敞口,且后侧上端向后倾斜设置,后侧上端还设有与建筑物外立面接触的橡胶条,所述外立板的内部嵌设有水管,所述水管的上端与条形喷头连接,下端置于收集水箱内,中部配合安装有水泵。An intelligent waterproof detection system for building facades, characterized in that: it includes a roof support assembly and a facade water spray detection assembly; the roof support assembly includes a horizontally arranged bracket plate, and the bracket plate The bottom of the front side is provided with a vertically arranged outer board, the bottom of the rear section is provided with a slide plate that can slide back and forth along it, and the front side of the top is provided with two symmetrically arranged winches, and the front bottom of the slide plate is provided with a vertical The inner abutment plate is provided, the outer abutment plate is parallel to the inner abutment plate, and the thread on the inner abutment plate is threaded with a horizontally arranged screw rod, the screw rod is perpendicular to the outer abutment plate, and its front end is rotatably connected with the outer abutment plate, The rear end is provided with a control hand plate, and a support plate is arranged horizontally between the outer support plate and the inner support plate. Reaching board; the said façade water spray detection assembly includes a vertically arranged outer fascia, the inside of the left and right sides of the said façade is provided with a vertically arranged bar-shaped slide plate, and the inner middle part is provided with an infrared ray arranged up and down. Imager and strip sprinkler, the strip slide is in sliding contact with the facade of the building, the strip sprinkler is arranged horizontally, the top of the facade has a support rod, and the bottom is provided with a collection water tank, the support There are two connecting seats symmetrically arranged on the pole, and the two connecting seats are fixedly connected to the ends of the wire ropes of the two hoists respectively. The top of the collecting water tank is open, and the upper end of the rear side is inclined backward. There are rubber strips in contact with the exterior facade of the building. Water pipes are embedded inside the exterior facades. The upper ends of the water pipes are connected to strip nozzles, the lower ends are placed in the collection water tank, and the middle part is matched with a water pump.
本发明通过螺杆控制外抵板与内抵板相向运动,从而夹紧建筑物顶部的女儿墙,其中支撑板可稳定支撑在女儿墙的顶部,待楼顶支撑组件完成固定后,通过两卷扬机的同步收放卷,实现控制外立面喷水检测组件的稳定升降。当外立面喷水检测组件匀速下降时,条形喷头会连续与建筑物外立面喷水,沿外立面留下的水会回收进收集水箱中,形成循环用水,减少水资源的损耗,同时红外线成像仪会对喷水后端墙面进行扫描,以判断是否有漏缝渗水情况。The invention controls the relative movement of the outer support plate and the inner support plate through the screw rod, thereby clamping the parapet wall on the top of the building, wherein the support plate can be stably supported on the top of the parapet wall, and after the roof support assembly is fixed, the two winches Synchronous rewinding and unwinding realizes the stable lifting of the water spray detection component on the control exterior. When the façade water spray detection component descends at a constant speed, the strip nozzle will continuously spray water on the façade of the building, and the water left along the façade will be recycled into the collection water tank to form circulating water and reduce the loss of water resources At the same time, the infrared imager will scan the wall at the back end of the water spray to determine whether there is leakage of water.
作为本发明的进一步改进,所述外抵板的上端内侧与支架板之间设有第一三角定位块,所述内抵板的上端内侧与滑板之间设有第二三角定位块,所述支撑板的底部设有防滑层。As a further improvement of the present invention, a first triangular positioning block is provided between the inner side of the upper end of the outer abutment plate and the bracket plate, and a second triangular positioning block is provided between the inner side of the upper end of the inner abutting plate and the slide plate, and the The bottom of the support plate is provided with an anti-skid layer.
作为本发明的进一步改进,所述条形滑板的内侧设有两上下对称设置的滑轮,内侧面上除滑轮外的位置设有毛刷,可有效减少喷水从两侧流出外溢,减少水资源消耗。As a further improvement of the present invention, two pulleys arranged symmetrically up and down are provided on the inner side of the strip skateboard, and brushes are provided on the inner side except for the pulleys, which can effectively reduce the overflow of water spray from both sides and reduce water resources. consume.
作为本发明的进一步改进,所述外立板的外侧中部设有补水箱,所述补水箱的下端设有与收集水箱内腔上部连通的补水管,当收集水箱内的液面较低时会进行补水,以确保喷水操作。As a further improvement of the present invention, a water supply tank is provided at the outer middle of the outer vertical plate, and a water supply pipe communicated with the upper part of the inner chamber of the collection water tank is provided at the lower end of the water supply tank. When the liquid level in the collection water tank is low, it will Perform water replenishment to ensure water jet operation.
作为本发明的进一步改进,所述收集水箱的底部设有用于供电的蓄电池,且蓄电池外设有保护壳。As a further improvement of the present invention, a storage battery for power supply is provided at the bottom of the collection water tank, and a protective case is provided outside the storage battery.
作为本发明的进一步改进,还包括对称设置在外立面喷水检测组件左右两侧的吸附组件,所述吸附组件包括吸附在建筑物外立面上的吸附板,所述吸附板上开设有两上下对称设置的安装孔,所述安装孔内配合安装有风扇,安装孔的内外两端分别罩设有防护网。通过风扇转动,使得吸附板与建筑物外立面间形成负压,进而使得外立面喷水检测组件能紧贴建筑物外立面运动,有效减少喷水外漏,降低水资源消耗。As a further improvement of the present invention, it also includes adsorption assemblies arranged symmetrically on the left and right sides of the water spray detection assembly on the facade, the adsorption assembly includes an adsorption plate adsorbed on the facade of the building, and two The mounting holes are arranged symmetrically up and down, and a fan is installed in the mounting holes, and the inner and outer ends of the mounting holes are respectively covered with protective nets. Through the rotation of the fan, a negative pressure is formed between the adsorption plate and the facade of the building, so that the water spray detection component of the facade can move close to the facade of the building, effectively reducing the leakage of water spray and reducing the consumption of water resources.
本发明的有益效果在于:适用于目前的大多数高建筑物,能实现自动升降检测,并能实时有效回收水资源,既提高的检测效率,还能节约资源,具有广阔的市场前景。The beneficial effect of the present invention is that it is suitable for most of the current high buildings, can realize automatic lifting detection, and can effectively recycle water resources in real time, not only improves the detection efficiency, but also saves resources, and has broad market prospects.
附图说明Description of drawings
图1为本发明的结构示意图。Fig. 1 is a structural schematic diagram of the present invention.
图2为图1的左视图。Fig. 2 is a left side view of Fig. 1 .
附图标记列表:List of reference signs:
1-支架板,2-外抵板,3-卷扬机,4-内抵板,5-螺杆,6-操控手盘,7-支撑板,8-限位条,9-外立板,10-条形滑板,11-红外线成像仪,12-条形喷头,13-支撑杆,14-收集水箱,15-连接座,16-橡胶条,17-水管,18-水泵,19-滑轮,20-毛刷,21-补水箱,22-蓄电池,23-保护壳,24-吸附板,25-风扇。1-Bracket board, 2-Outer board, 3-Hoist, 4-Inner board, 5-Screw, 6-Hand plate, 7-Support board, 8-Limiting bar, 9-Outer board, 10- Strip slide, 11-infrared imager, 12-strip nozzle, 13-support rod, 14-collecting water tank, 15-connecting seat, 16-rubber strip, 17-water pipe, 18-water pump, 19-pulley, 20- Hairbrush, 21-replenishing water tank, 22-accumulator, 23-protective shell, 24-adsorption plate, 25-fan.
具体实施方式Detailed ways
下面结合附图和具体实施方式,进一步阐明本发明,应理解下述具体实施方式仅用于说明本发明而不用于限制本发明的范围。The present invention will be further explained below in conjunction with the accompanying drawings and specific embodiments. It should be understood that the following specific embodiments are only used to illustrate the present invention and are not intended to limit the scope of the present invention.
如图所示,一种用于建筑物外立面的智能防水检测系统,包括楼顶支撑组件和外立面喷水检测组件;楼顶支撑组件包括水平设置的支架板1,支架板1的前侧底部设有竖直设置的外抵板2,后段底部设有可沿其前后滑动的滑板,顶部前侧设有两左右对称设置的卷扬机3,滑板的前侧底部设有竖直设置的内抵板4,外抵板2与内抵板4平行,且内抵板4上螺纹穿设有横向设置的螺杆5,螺杆5与外抵板垂直,且其前端与外抵板2转动连接,后端设有操控手盘6,外抵板2与内抵板间4还设有水平设置的支撑板7,支撑板7的前端穿过外抵板2并连接有限位条8,后端滑动穿过内抵板4;外立面喷水检测组件包括竖直设置的外立板9,外立板9的左右两侧内部对设有竖直设置的条形滑板10,内侧中部设有上下设置的红外线成像仪11和条形喷头12,条形滑板10与建筑物外立面滑动接触,条形喷头12水平设置,外立板9的顶部是有支撑杆13,底部设有收集水箱14,支撑杆13上设有两左右对称设置的连接座15,且两连接座15分别与两卷扬机3的钢丝绳端部固定连接,收集水箱14的顶部敞口,且后侧上端向后倾斜设置,后侧上端还设有与建筑物外立面接触的橡胶条16,外立板9的内部嵌设有水管17,水管17的上端与条形喷头12连接,下端置于收集水箱14内,中部配合安装有水泵18。其中,支架板1的顶部还设有两左右对称设置的辅助把手。As shown in the figure, an intelligent waterproof detection system for building facades includes a roof support assembly and a facade water spray detection assembly; the roof support assembly includes a horizontally arranged
本发明通过螺杆控制外抵板与内抵板相向运动,从而夹紧建筑物顶部的女儿墙,其中支撑板可稳定支撑在女儿墙的顶部,待楼顶支撑组件完成固定后,通过两卷扬机的同步收放卷,实现控制外立面喷水检测组件的稳定升降。当外立面喷水检测组件匀速下降时,条形喷头会连续与建筑物外立面喷水,沿外立面留下的水会回收进收集水箱中,形成循环用水,减少水资源的损耗,同时红外线成像仪会对喷水后端墙面进行扫描,以判断是否有漏缝渗水情况。The invention controls the relative movement of the outer support plate and the inner support plate through the screw rod, thereby clamping the parapet wall on the top of the building, wherein the support plate can be stably supported on the top of the parapet wall, and after the roof support assembly is fixed, the two winches Synchronous rewinding and unwinding realizes the stable lifting of the water spray detection component on the control exterior. When the façade water spray detection component descends at a constant speed, the strip nozzle will continuously spray water on the façade of the building, and the water left along the façade will be recycled into the collection water tank to form circulating water and reduce the loss of water resources At the same time, the infrared imager will scan the wall at the back end of the water spray to determine whether there is leakage of water.
在本实施例中,外抵板2的上端内侧与支架板1之间设有第一三角定位块,内抵板4的上端内侧与滑板之间设有第二三角定位块,支撑板7的底部设有防滑层。In this embodiment, a first triangular positioning block is provided between the inner side of the upper end of the
在本实施例中,条形滑板10的内侧设有两上下对称设置的滑轮19,内侧面上除滑轮19外的位置设有毛刷20,可有效减少喷水从两侧流出外溢,减少水资源消耗。In this embodiment, two
在本实施例中,外立板9的外侧中部设有补水箱21,补水箱21的下端设有与收集水箱14内腔上部连通的补水管,当收集水箱内的液面较低时会进行补水,以确保喷水操作。In this embodiment, the outer middle part of the outer
在本实施例中,收集水箱14的底部设有用于供电的蓄电池22,且蓄电池22外设有保护壳23。In this embodiment, a
在本实施例中,还包括对称设置在外立面喷水检测组件左右两侧的吸附组件,吸附组件包括吸附在建筑物外立面上的吸附板24,吸附板24上开设有两上下对称设置的安装孔,安装孔内配合安装有风扇25,安装孔的内外两端分别罩设有防护网。通过风扇转动,使得吸附板与建筑物外立面间形成负压,进而使得外立面喷水检测组件能紧贴建筑物外立面运动,有效减少喷水外漏,降低水资源消耗。In this embodiment, it also includes adsorption assemblies symmetrically arranged on the left and right sides of the water spray detection assembly on the facade. The adsorption assembly includes an
本发明方案所公开的技术手段不仅限于上述实施方式所公开的技术手段,还包括由以上技术特征任意组合所组成的技术方案。应当指出,对于本技术领域的普通技术人员来说,在不脱离本发明原理的前提下,还可以做出若干改进和润饰,这些改进和润饰也视为本发明的保护范围。The technical means disclosed in the solutions of the present invention are not limited to the technical means disclosed in the above embodiments, but also include technical solutions composed of any combination of the above technical features. It should be pointed out that those skilled in the art can make some improvements and modifications without departing from the principle of the present invention, and these improvements and modifications are also considered as the protection scope of the present invention.
Claims (6)
Priority Applications (1)
| Application Number | Priority Date | Filing Date | Title |
|---|---|---|---|
| CN202223114485.6U CN219200729U (en) | 2022-11-23 | 2022-11-23 | An intelligent waterproof detection system for building facades |
Applications Claiming Priority (1)
| Application Number | Priority Date | Filing Date | Title |
|---|---|---|---|
| CN202223114485.6U CN219200729U (en) | 2022-11-23 | 2022-11-23 | An intelligent waterproof detection system for building facades |
Publications (1)
| Publication Number | Publication Date |
|---|---|
| CN219200729U true CN219200729U (en) | 2023-06-16 |
Family
ID=86717521
Family Applications (1)
| Application Number | Title | Priority Date | Filing Date |
|---|---|---|---|
| CN202223114485.6U Expired - Fee Related CN219200729U (en) | 2022-11-23 | 2022-11-23 | An intelligent waterproof detection system for building facades |
Country Status (1)
| Country | Link |
|---|---|
| CN (1) | CN219200729U (en) |
Cited By (1)
| Publication number | Priority date | Publication date | Assignee | Title |
|---|---|---|---|---|
| CN117782931A (en) * | 2023-12-26 | 2024-03-29 | 宁波高专建设监理有限公司 | Building outer wall surface leakage detection system |
-
2022
- 2022-11-23 CN CN202223114485.6U patent/CN219200729U/en not_active Expired - Fee Related
Cited By (1)
| Publication number | Priority date | Publication date | Assignee | Title |
|---|---|---|---|---|
| CN117782931A (en) * | 2023-12-26 | 2024-03-29 | 宁波高专建设监理有限公司 | Building outer wall surface leakage detection system |
Similar Documents
| Publication | Publication Date | Title |
|---|---|---|
| CN219200729U (en) | An intelligent waterproof detection system for building facades | |
| CN102871609A (en) | An automatic exterior wall cleaning machine | |
| CN207023998U (en) | A kind of building glass curtain wall automatic cleaning device | |
| CN110700498A (en) | Integrated roof of green building | |
| CN104777851B (en) | A kind of solar panel cleaning vehicle and its control method | |
| CN101982565B (en) | Full-automatic multifunctional acid etching production line and acid etching process thereof | |
| CN206438737U (en) | A kind of high-effective water-proof material elevation construction spraying equipment | |
| CN114427303A (en) | Building maintenance spray set for construction | |
| CN209831159U (en) | A kind of painting device for building wall surface | |
| CN103386403B (en) | A kind of bar-shaped solder cleaning method and cleaning device | |
| WO2018232781A1 (en) | Photovoltaic panel cleaning system | |
| CN114838876B (en) | Magnetic type outer window water spraying self-circulation test system and method | |
| CN110974082B (en) | High-rise building glass cleaning mechanical device adopting Internet of things technology | |
| CN210257566U (en) | Novel production of compound intergral template of heat preservation energy-saving device | |
| CN211061287U (en) | Experimental curing means of polymer cement base composite waterproof coating | |
| CN210111936U (en) | Solar cell panel cleaning device | |
| CN102058372A (en) | Sole snow clearing device | |
| CN2573943Y (en) | Wall solar water heater | |
| CN210401282U (en) | Ceramic tile quality detection device for building decoration | |
| CN209334003U (en) | A kind of novel fog gun blower with energy-conserving action | |
| CN207808205U (en) | A kind of cooling device for the production of nano microcrystalline plate | |
| CN211200945U (en) | Energy-conserving roofing of green building | |
| CN207032968U (en) | Convenience-for-people charging bicycle shed | |
| CN216301158U (en) | Energy-conserving building transportation is with small handcart | |
| CN119259547B (en) | Live cleaning and insulator drying device based on unmanned aerial vehicle |
Legal Events
| Date | Code | Title | Description |
|---|---|---|---|
| GR01 | Patent grant | ||
| GR01 | Patent grant | ||
| CF01 | Termination of patent right due to non-payment of annual fee |
Granted publication date: 20230616 |
|
| CF01 | Termination of patent right due to non-payment of annual fee |
