CN219116815U - A winding mechanism for yarn processing - Google Patents
A winding mechanism for yarn processing Download PDFInfo
- Publication number
- CN219116815U CN219116815U CN202320128021.6U CN202320128021U CN219116815U CN 219116815 U CN219116815 U CN 219116815U CN 202320128021 U CN202320128021 U CN 202320128021U CN 219116815 U CN219116815 U CN 219116815U
- Authority
- CN
- China
- Prior art keywords
- reciprocating screw
- yarn
- screw rod
- rod
- mounting plate
- Prior art date
- Legal status (The legal status is an assumption and is not a legal conclusion. Google has not performed a legal analysis and makes no representation as to the accuracy of the status listed.)
- Expired - Fee Related
Links
Images
Classifications
-
- Y—GENERAL TAGGING OF NEW TECHNOLOGICAL DEVELOPMENTS; GENERAL TAGGING OF CROSS-SECTIONAL TECHNOLOGIES SPANNING OVER SEVERAL SECTIONS OF THE IPC; TECHNICAL SUBJECTS COVERED BY FORMER USPC CROSS-REFERENCE ART COLLECTIONS [XRACs] AND DIGESTS
- Y02—TECHNOLOGIES OR APPLICATIONS FOR MITIGATION OR ADAPTATION AGAINST CLIMATE CHANGE
- Y02W—CLIMATE CHANGE MITIGATION TECHNOLOGIES RELATED TO WASTEWATER TREATMENT OR WASTE MANAGEMENT
- Y02W30/00—Technologies for solid waste management
- Y02W30/50—Reuse, recycling or recovery technologies
- Y02W30/66—Disintegrating fibre-containing textile articles to obtain fibres for re-use
Landscapes
- Yarns And Mechanical Finishing Of Yarns Or Ropes (AREA)
Abstract
本申请提供了一种纱线加工用收卷机构,包括安装板,安装板的侧端中部设置有往复丝杆,往复丝杆的左端设置有第一电机,第一电机固定安装在安装板的内侧中部,往复丝杆的中部滑动安装有滑动块,滑动块的上端中部设置有导线孔,导线孔位于螺纹孔的上方,往复丝杆的右端中部设置有转动轴,转动轴转动安装在安装板的侧端右侧,转动轴的中部固定安装有收卷轮,转动轴的左端中部设置有第二电机,第二电机固定安装在安装板的内侧右端。本实用新型通过滑动块在往复丝杆的中部做水平方向往复运动,带动纱线从收卷轮的一侧缠绕至另一侧,从而实现纱线在收卷轮的中部进行均匀的分布,从而避免纱线在收卷的过程中出现絮乱缠绕。
The application provides a winding mechanism for yarn processing, which includes a mounting plate, a reciprocating screw rod is arranged in the middle of the side end of the mounting plate, a first motor is installed at the left end of the reciprocating screw rod, and the first motor is fixedly installed on the mounting plate. In the middle part of the inner side, a sliding block is slidably installed in the middle part of the reciprocating screw rod, and a wire hole is arranged in the middle part of the upper end of the sliding block, and the wire hole is located above the threaded hole. On the right side of the side end, the middle part of the rotating shaft is fixedly equipped with a winding wheel, and the middle part of the left end of the rotating shaft is provided with a second motor, and the second motor is fixedly installed on the inner right end of the mounting plate. The utility model reciprocates in the horizontal direction through the sliding block in the middle of the reciprocating screw rod to drive the yarn to wind from one side of the winding wheel to the other, so that the yarn is evenly distributed in the middle of the winding wheel, thereby Avoid tangles of yarn during winding.
Description
技术领域technical field
本实用新型涉及纱线加工收卷领域,特别涉及一种纱线加工用收卷机构。The utility model relates to the field of yarn processing and winding, in particular to a winding mechanism for yarn processing.
背景技术Background technique
纱线是一种纺织品,用各种纺织纤维加工成一定细度的产品,用于织布、制绳、制线、针织和刺绣等,分为短纤维纱,连续长丝等,在纺织纱线加工过程中,需要对加工完成的成品纺织线进行收卷工作,从而方便对纱线进行收纳运输。Yarn is a kind of textile, which is processed into products of a certain fineness with various textile fibers. It is used for weaving, rope making, thread making, knitting and embroidery, etc. In the thread processing process, it is necessary to wind up the processed finished textile thread, so as to facilitate the storage and transportation of the yarn.
现有授权公告号为(CN210914752U)的中国专利,公开了一种纱线线加工收卷设备,包括固定板和紧线机构,固定板中部位置设置有紧线机构,固定板在相对于紧线机构中心对称设置有两个引导轮轴,且其中一个引导轮轴位于固定板一侧相对于紧线机构中心水平线上方,两个引导轮轴远离固定板的一端分别转动连接有进线引导轮和出线引导轮,且位于固定板一侧相对于紧线机构中心水平线上方的引导轮轴与转动连接,固定板在两个引导轮轴相对于紧线机构中心水平线的另一侧均固定连接有伸缩气缸,两个伸缩气缸驱动端均固定连接有压线板。The existing authorized announcement number is the Chinese patent of (CN210914752U), which discloses a kind of yarn processing and winding equipment, including a fixed plate and a tightening mechanism. The middle position of the fixed plate is provided with a tightening mechanism. There are two guide wheel shafts symmetrically arranged in the center of the mechanism, and one of the guide wheel shafts is located on the side of the fixed plate relative to the horizontal line above the center of the thread tightening mechanism. , and the guide wheel shaft located on one side of the fixed plate relative to the center horizontal line of the tensioning mechanism is connected to the rotation. The driving end of the cylinder is fixedly connected with a pressure plate.
此实用新型通过转杆和弹簧作为紧线装置,使得收卷轮对纱线进行紧致的收卷工作,然而此设备对纱线运输采用的是连续紧致的拉紧传送,使得纱线在传送的过程中无法改变传送轨迹,从而导致纱线集中缠绕在收卷轮的同一处位置上,出现絮乱缠绕,影响纱线收卷的质量。This utility model uses the rotating rod and the spring as the thread tightening device, so that the winding wheel can perform tight winding work on the yarn, but this equipment uses continuous and tight tension transmission for the yarn transportation, so that the yarn is During the transmission process, the transmission track cannot be changed, resulting in the concentrated winding of the yarn at the same position of the take-up wheel, resulting in disorderly winding, which affects the quality of the yarn take-up.
为此,我们提出一种纱线加工用收卷机构来解决上述问题。For this reason, we propose a winding mechanism for yarn processing to solve the above problems.
实用新型内容Utility model content
本实用新型的主要目的在于提供一种纱线加工用收卷机构,可以有效解决背景技术中的问题。The main purpose of the utility model is to provide a winding mechanism for yarn processing, which can effectively solve the problems in the background technology.
为实现上述目的,本实用新型采取的技术方案为:In order to achieve the above object, the technical scheme that the utility model takes is:
一种纱线加工用收卷机构,包括:A winding mechanism for yarn processing, comprising:
安装板,所述安装板的侧端中部设置有往复丝杆,所述往复丝杆的左端设置有第一电机,所述第一电机固定安装在安装板的内侧中部,所述往复丝杆的中部滑动安装有滑动块,所述滑动块的内侧中部设置有螺纹孔,所述螺纹孔与往复丝杆相适配,所述滑动块的上端中部设置有导线孔,所述导线孔位于螺纹孔的上方,通过第一电机带动往复丝杆进行转动,从而使得滑动块在往复丝杆的中部进行水平方向滑动,同时通过在滑动块的上端中部设置有导线孔,可以对需要进行收卷的纱线起到水平导向的作用。The mounting plate, the middle part of the side end of the mounting plate is provided with a reciprocating screw rod, the left end of the reciprocating screw rod is provided with a first motor, and the first motor is fixedly installed on the inner middle part of the mounting plate, and the reciprocating screw rod The middle part is slidably installed with a sliding block, and the inner middle part of the sliding block is provided with a threaded hole, and the threaded hole is adapted to the reciprocating screw rod. Above, the reciprocating screw rod is driven by the first motor to rotate, so that the sliding block slides horizontally in the middle of the reciprocating screw rod. The line acts as a horizontal guide.
所述往复丝杆的右端中部设置有转动轴,所述转动轴转动安装在安装板的侧端右侧,所述转动轴的中部固定安装有收卷轮,所述转动轴的左端中部设置有第二电机,所述第二电机固定安装在安装板的内侧右端,通过第二电机带动转动轴进行转动,从而使得收卷轮对纱线进行收卷工作。The middle part of the right end of the reciprocating screw rod is provided with a rotating shaft, the rotating shaft is mounted on the right side of the side end of the mounting plate, the middle part of the rotating shaft is fixedly equipped with a winding wheel, and the middle part of the left end of the rotating shaft is provided The second motor is fixedly mounted on the inner right end of the mounting plate, and the rotating shaft is driven by the second motor to rotate, so that the winding wheel performs winding work on the yarn.
所述往复丝杆的下方中部设置有导杆,所述滑动块的内侧下端设置有滑孔,所述导杆与滑孔进行滑动连接,通过导杆对滑动块滑行的轨迹进行限位,从而防止滑动块在滑动的过程中出现偏移的情况发生。The lower middle part of the reciprocating screw rod is provided with a guide rod, and the inner lower end of the sliding block is provided with a slide hole, the guide rod is slidably connected with the slide hole, and the sliding track of the slide block is limited by the guide rod, thereby Prevent the slider from shifting during sliding.
所述安装板的底端中部设置有底板,所述底板的顶端中部设置有主杆,所述主杆位于往复丝杆的左侧下方,所述主杆的内侧中部滑动安装有副杆,所述副杆的顶端两侧设置有固定板,所述固定板的内侧中部转动安装有滚轮,所述主杆的内侧底部固定安装有弹簧,所述弹簧的顶端中部固定安装有副杆,通过弹簧带动副杆进行收缩,从而带动纱线向下方进行下压,使得纱线在传输的过程中处于收紧的状态,从而使得收卷轮对纱线进行紧致的收卷工作。The middle part of the bottom end of the mounting plate is provided with a base plate, and the middle part of the top end of the base plate is provided with a main rod. The main rod is located under the left side of the reciprocating screw rod. The two sides of the top end of the sub-rod are provided with fixed plates, the inner middle part of the fixed plate is rotatably installed with rollers, the inner bottom of the main rod is fixedly installed with a spring, and the middle part of the top end of the spring is fixedly installed with a sub-rod. Drive the sub-rod to shrink, thereby driving the yarn to press down, so that the yarn is in a tightened state during the transmission process, so that the winding wheel can perform tight winding work on the yarn.
优选的,所述安装板的侧端左侧转动安装有滚筒,所述滚筒位于主杆的左方上侧。Preferably, a roller is installed on the left side of the side end of the installation plate, and the roller is located on the upper left side of the main rod.
优选的,所述收卷轮的两端中部设置有固定块,所述固定块固定安装在转动轴的两端中部,加强对收卷轮进行限位固定,从而使得转动轴带动收卷轮进行转动。Preferably, a fixed block is provided at the middle of both ends of the winding wheel, and the fixed block is fixedly installed at the middle of both ends of the rotating shaft to strengthen the limit and fix the winding wheel, so that the rotating shaft drives the winding wheel to turn.
优选的,所述底板的顶端中部固定安装有支撑板。Preferably, a support plate is fixedly installed in the middle of the top end of the bottom plate.
优选的,所述导杆的末端固定安装在支撑板的上端中部,所述往复丝杆的末端转动安装在支撑板的上端中部,可以加强往复丝杆转动时的稳定性。Preferably, the end of the guide rod is fixedly installed in the middle of the upper end of the support plate, and the end of the reciprocating screw is rotatably installed in the middle of the upper end of the support plate, which can enhance the stability of the reciprocating screw when rotating.
与现有技术相比,本实用新型具有如下有益效果:Compared with the prior art, the utility model has the following beneficial effects:
通过在滑动块的上端中部设置有导线孔,同时通过第一电机带动往复丝杆进行转动,从而使得滑动块在往复丝杆的中部做水平方向往复运动,使得纱线在收卷的过程能够均匀的从收卷轮的一侧缠绕至另一侧,通过上述装置从而带动纱线在收卷轮的中部进行均匀的分布,从而避免纱线在收卷的过程中堆积在一处,导致出现絮乱缠绕,从而影响纱线收卷的质量。A wire hole is provided in the middle of the upper end of the sliding block, and the reciprocating screw rod is driven by the first motor to rotate, so that the sliding block reciprocates horizontally in the middle of the reciprocating screw rod, so that the yarn can be evenly wound during the winding process. Winding from one side of the winding wheel to the other side, through the above-mentioned device, the yarn is evenly distributed in the middle of the winding wheel, so as to avoid the accumulation of yarn in one place during the winding process, resulting in flocculation Random winding, thus affecting the quality of yarn winding.
附图说明Description of drawings
图1为本实用新型一种纱线加工用收卷机构的整体结构图;Fig. 1 is an overall structural diagram of a winding mechanism for yarn processing of the present invention;
图2为本实用新型一种纱线加工用收卷机构的俯视平面图;Fig. 2 is a top plan view of a winding mechanism for yarn processing of the present invention;
图3为本实用新型一种纱线加工用收卷机构中主杆与副杆的侧剖结构图;Fig. 3 is a side sectional structure diagram of the main rod and the auxiliary rod in a winding mechanism for yarn processing of the present invention;
图4为本实用新型一种纱线加工用收卷机构中滑动块的整体结构图。Fig. 4 is an overall structural diagram of a sliding block in a winding mechanism for yarn processing of the present invention.
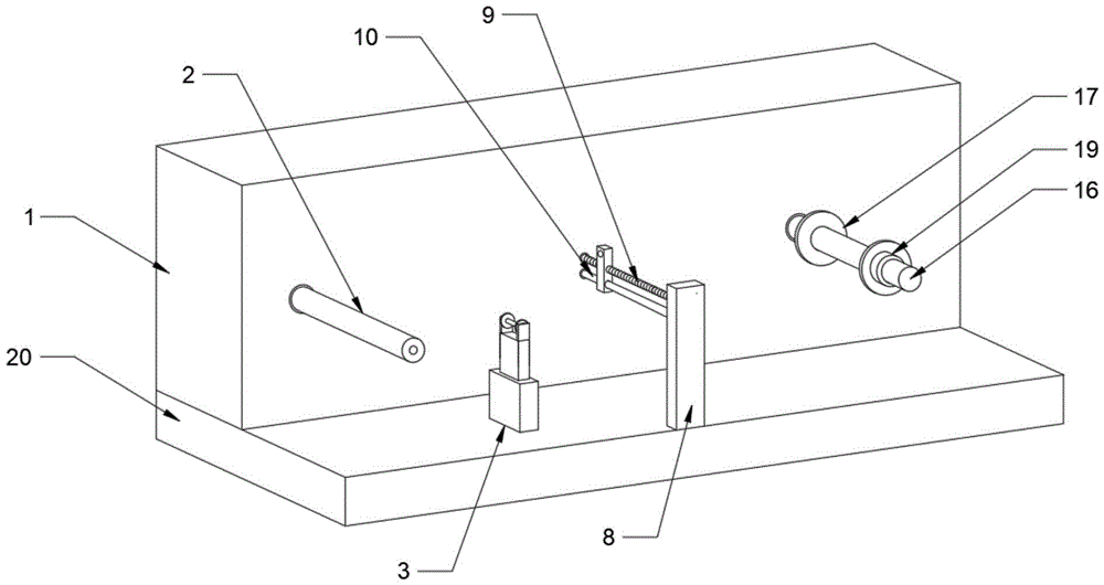
图中:1、安装板;2、滚筒;3、主杆;4、副杆;5、弹簧;6、固定板;7、滚轮;8、支撑板;9、往复丝杆;10、导杆;11、第一电机;12、滑动块;13、滑孔;14、螺纹孔;15、导线孔;16、转动轴;17、收卷轮;18、第二电机;19、固定块;20、底板。In the figure: 1. Mounting plate; 2. Roller; 3. Main rod; 4. Auxiliary rod; 5. Spring; 6. Fixed plate; 7. Roller; 8. Support plate; 9. Reciprocating screw rod; 10.
具体实施方式Detailed ways
以下结合附图对本实用新型作进一步详细说明。Below in conjunction with accompanying drawing, the utility model is described in further detail.
当需要对纱线进行收卷时,首先使得纱线从滚筒2的上方进行滑动,然后带动纱线从滚轮7的下方穿过,再穿过滑动块12上端中部设置的导线孔15,最后把纱线在收卷轮17的中部进行缠绕固定,同时通过第二电机18带动转动轴16进行转动,从而带动收卷轮17进行转动,使得收卷轮17对纱线进行收卷工作。When the yarn needs to be wound up, the yarn is first slid from the top of the
在对纱线进行收卷的过程中,通过弹簧5对副杆4的位置进行收紧限定,使得纱线在传输的过程中处于收集的状态,从而避免纱线进行松散的收卷,使得收卷轮17对纱线进行紧致的收卷,提高纱线收卷的质量,同时通过第一电机11带动往复丝杆9进行转动,从而使得滑动块12在往复丝杆9的中部做水平方向往复运动,使得纱线能够均匀的从收卷轮17的一侧缠绕至另一侧,使得纱线在收卷轮17的中部进行均匀的分布,从而避免纱线在收卷的过程中堆积在一处,导致出现絮乱缠绕。In the process of winding up the yarn, the position of the
实施例1Example 1
参照图1所示,一种纱线加工用收卷机构,包括:Referring to Figure 1, a winding mechanism for yarn processing includes:
安装板1,所述安装板1的侧端中部设置有往复丝杆9,所述往复丝杆9的左端设置有第一电机11,所述第一电机11固定安装在安装板1的内侧中部,所述往复丝杆9的中部滑动安装有滑动块12,所述滑动块12的内侧中部设置有螺纹孔14,所述螺纹孔14与往复丝杆9相适配,所述滑动块12的上端中部设置有导线孔15,所述导线孔15位于螺纹孔14的上方,通过第一电机11带动往复丝杆9进行转动,从而使得滑动块12在往复丝杆9的中部进行水平方向滑动,同时通过在滑动块12的上端中部设置有导线孔15,可以对需要进行收卷的纱线起到水平导向的作用。Mounting plate 1, the middle part of the side end of the mounting plate 1 is provided with a
所述往复丝杆9的右端中部设置有转动轴16,所述转动轴16转动安装在安装板1的侧端右侧,所述转动轴16的中部固定安装有收卷轮17,所述转动轴16的左端中部设置有第二电机18,所述第二电机18固定安装在安装板1的内侧右端,通过第二电机18带动转动轴16进行转动,从而使得收卷轮17对纱线进行收卷工作。The middle part of the right end of the reciprocating
所述往复丝杆9的下方中部设置有导杆10,所述滑动块12的内侧下端设置有滑孔13,所述导杆10与滑孔13进行滑动连接,通过导杆10对滑动块12滑行的轨迹进行限位,从而防止滑动块12在滑动的过程中出现偏移的情况发生。The bottom middle part of described
本实用新型的工作原理是:The working principle of the utility model is:
当需要对纱线进行收卷工作时,通过把纱线的缠绕在收卷轮17的表面中部,然后通过第二电机18带动转动轴16进行转动,所述收卷轮17固定安装在转动轴16的中部,通过转动轴16带动收卷轮17进行转动,从而实现对纱线进行收卷工作。When the yarn needs to be wound up, the yarn is wound in the middle of the surface of the winding
同时在安装板1的侧端中部设置有往复丝杆9,所述往复丝杆9的中部滑动安装有滑动块12,所述滑动块12的上端中部设置有导线孔15,通过纱线穿过导线孔15,然后通过第一电机11带动往复丝杆9进行转动,从而使得滑动块12在往复丝杆9的中部做水平往复运动,使得纱线能够均匀的从收卷轮17的一侧缠绕至另一侧,之后往复运动来回缠绕,从而使得收卷轮17在对纱线进行收卷的过程中进行均匀的收卷工作,从而避免纱线堆积在一处,导致出现絮乱缠绕。At the same time, a
实施例2Example 2
参照图1所示,一种纱线加工用收卷机构:Referring to Figure 1, a winding mechanism for yarn processing:
所述安装板1的底端中部设置有底板20,所述底板20的顶端中部设置有主杆3,所述主杆3位于往复丝杆9的左侧下方,所述主杆3的内侧中部滑动安装有副杆4,所述副杆4的顶端两侧设置有固定板6,所述固定板6的内侧中部转动安装有滚轮7,可以对纱线输送的过程中起到引导的作用,所述主杆3的内侧底部固定安装有弹簧5,所述弹簧5的顶端中部固定安装有副杆4,然后通过弹簧5带动副杆4进行收缩,从而带动纱线向下方进行下压,使得纱线在传输的过程中处于收紧的状态,从而使得收卷轮17对纱线进行紧致的收卷工作。The middle part of the bottom end of the mounting plate 1 is provided with a
所述安装板1的侧端左侧转动安装有滚筒2,所述滚筒2位于主杆3的左方上侧,通过滚筒2可以调整纱线传输过程中的轨迹。The side end of the mounting plate 1 is rotated to the left and installed with a
所述收卷轮17的两端中部设置有固定块19,所述固定块19固定安装在转动轴16的两端中部,通过固定块19对收卷轮17进行固定,从而使得转动轴16带动收卷轮17进行转动。The middle part of both ends of described winding
所述底板20的顶端中部固定安装有支撑板8,所述导杆10的末端固定安装在支撑板8的上端中部,所述往复丝杆9的末端转动安装在支撑板8的上端中部,通过在往复丝杆9的末端转动安装有支撑板8,从而加强往复丝杆9转动时的稳定。The top middle part of the
本实用新型的工作原理是:The working principle of the utility model is:
通过在安装板1的侧端左侧转动安装有滚筒2,可以对纱线在传输的过程中进行限位滑动,同时通过在底板20的顶端中部设置有主杆3,在主杆3的内侧中部设置有弹簧5,通过弹簧5使得副杆4在主杆3的内侧中部进行垂直方向滑动,同时通过在副杆4的顶端中部设置有滚轮7,通过把纱线穿过滚轮7,然后通过弹簧5对副杆4进行收缩,从而带动纱线向下方进行下压,使得纱线在传输的过程中处于收紧的状态,从而使得收卷轮17对纱线进行紧致的收卷工作。By turning and installing the
以上显示和描述了本实用新型的基本原理和主要特征和本实用新型的优点。本行业的技术人员应该了解,本实用新型不受上述实施例的限制,上述实施例和说明书中描述的只是说明本实用新型的原理,在不脱离本实用新型精神和范围的前提下,本实用新型还会有各种变化和改进,这些变化和改进都落入要求保护的本实用新型范围内。本实用新型要求保护范围由所附的权利要求书及其等效物界定。The basic principles and main features of the present utility model and the advantages of the present utility model have been shown and described above. Those skilled in the industry should understand that the utility model is not limited by the above-mentioned embodiments. The above-mentioned embodiments and descriptions only illustrate the principles of the utility model. Without departing from the spirit and scope of the utility model, the utility model The new model also has various changes and improvements, and these changes and improvements all fall within the scope of the claimed utility model. The scope of protection required by the utility model is defined by the appended claims and their equivalents.
Claims (8)
Priority Applications (1)
| Application Number | Priority Date | Filing Date | Title |
|---|---|---|---|
| CN202320128021.6U CN219116815U (en) | 2023-01-16 | 2023-01-16 | A winding mechanism for yarn processing |
Applications Claiming Priority (1)
| Application Number | Priority Date | Filing Date | Title |
|---|---|---|---|
| CN202320128021.6U CN219116815U (en) | 2023-01-16 | 2023-01-16 | A winding mechanism for yarn processing |
Publications (1)
| Publication Number | Publication Date |
|---|---|
| CN219116815U true CN219116815U (en) | 2023-06-02 |
Family
ID=86524251
Family Applications (1)
| Application Number | Title | Priority Date | Filing Date |
|---|---|---|---|
| CN202320128021.6U Expired - Fee Related CN219116815U (en) | 2023-01-16 | 2023-01-16 | A winding mechanism for yarn processing |
Country Status (1)
| Country | Link |
|---|---|
| CN (1) | CN219116815U (en) |
Cited By (2)
| Publication number | Priority date | Publication date | Assignee | Title |
|---|---|---|---|---|
| CN117104993A (en) * | 2023-10-20 | 2023-11-24 | 江苏春利达纺织科技有限公司 | Yarn winding device for cotton yarn production and processing |
| CN117401514A (en) * | 2023-11-27 | 2024-01-16 | 高邑县得利达纺织有限公司 | Yarn winding measuring device |
-
2023
- 2023-01-16 CN CN202320128021.6U patent/CN219116815U/en not_active Expired - Fee Related
Cited By (2)
| Publication number | Priority date | Publication date | Assignee | Title |
|---|---|---|---|---|
| CN117104993A (en) * | 2023-10-20 | 2023-11-24 | 江苏春利达纺织科技有限公司 | Yarn winding device for cotton yarn production and processing |
| CN117401514A (en) * | 2023-11-27 | 2024-01-16 | 高邑县得利达纺织有限公司 | Yarn winding measuring device |
Similar Documents
| Publication | Publication Date | Title |
|---|---|---|
| CN219116815U (en) | A winding mechanism for yarn processing | |
| CN204873177U (en) | Asbest rope spindle winder | |
| KR200446322Y1 (en) | Winder for rassel machine with traverse | |
| CN207404594U (en) | A kind of rewinder | |
| CN110790084A (en) | A wire mechanism for producing polyester metal composite yarn | |
| CN220998707U (en) | Cable arranging device | |
| CN211338323U (en) | A winding device for yarn processing that can easily adjust tension | |
| CN221116439U (en) | Carbon fiber wire winding device | |
| CN112609362A (en) | Efficient single yarn sizing machine | |
| CN112693961A (en) | Automatic rolling forming quick replacement mechanism for textile cotton threads | |
| CN211920444U (en) | Colored fiber yarn guiding device for textile machinery | |
| CN220392938U (en) | Anti-winding take-up device for cashmere threads in textile industry | |
| CN221165402U (en) | Tension control device of grass yarn cladding machine | |
| CN116692584A (en) | Polyester yarn doubling and shaft beating device | |
| CN220375966U (en) | Wrapping yarn tightening structure | |
| CN220392920U (en) | Winding machine equipment | |
| CN211521172U (en) | Textile yarn winding device | |
| CN218619553U (en) | PVC cladding dacron wire drawing machine | |
| CN217920833U (en) | Trouble is rewound to wire winding axle equipment | |
| CN223385641U (en) | Tension control device for continuous winding of yarn | |
| CN222293218U (en) | A winding device for polyester sewing thread | |
| CN207738212U (en) | Automatic coil winding machine | |
| CN218950649U (en) | Support device for blended yarn winding | |
| CN222273758U (en) | Wrapping yarn tightening device | |
| CN222794827U (en) | Polyester yarn doubling machine |
Legal Events
| Date | Code | Title | Description |
|---|---|---|---|
| GR01 | Patent grant | ||
| GR01 | Patent grant | ||
| CF01 | Termination of patent right due to non-payment of annual fee |
Granted publication date: 20230602 |
