CN219108082U - A high-efficiency cooling air-conditioning unit - Google Patents
A high-efficiency cooling air-conditioning unit Download PDFInfo
- Publication number
- CN219108082U CN219108082U CN202223340100.8U CN202223340100U CN219108082U CN 219108082 U CN219108082 U CN 219108082U CN 202223340100 U CN202223340100 U CN 202223340100U CN 219108082 U CN219108082 U CN 219108082U
- Authority
- CN
- China
- Prior art keywords
- air
- conditioning
- data center
- branch
- air conditioner
- Prior art date
- Legal status (The legal status is an assumption and is not a legal conclusion. Google has not performed a legal analysis and makes no representation as to the accuracy of the status listed.)
- Expired - Fee Related
Links
Images
Landscapes
- Central Air Conditioning (AREA)
Abstract
本实用新型涉及空调机组技术领域,具体为一种高效冷却空调机组,包括:数据中心机房,多个数据服务器对称设置于数据中心机房的两侧;空调外主机,空调外主机设置于数据中心机房的外壁顶部,空调外主机的两侧外壁上对称设置有用于输送冷空气的冷风主管;分支空调内机,分支空调内机与数据服务器的数量相同且位置相对应,每个数据服务器的背部均安装有分支空调内机,分支空调内机的出风口均安装有抽风风扇。本实用新型通过在每个数据服务器处设置的分支空调内机,提高降温效率和降温速度,且每个分支空调内机的出风口处还安装有抽风风扇,将分支空调内机排出的冷空气快速吹入至数据服务器上,提高冷却效率。
The utility model relates to the technical field of air-conditioning units, in particular to an efficient cooling air-conditioning unit, comprising: a data center computer room, a plurality of data servers symmetrically arranged on both sides of the data center computer room; On the top of the outer wall of the air conditioner, cold air main pipes for conveying cold air are symmetrically arranged on the outer walls of both sides of the air conditioner's outer host; the branch air conditioner internal units, the branch air conditioner internal units and the data servers have the same number and corresponding positions, and the back of each data server is Branch air-conditioning internal units are installed, and exhaust fans are installed at the air outlets of the branch air-conditioning internal units. The utility model improves the cooling efficiency and cooling speed through the branch air-conditioning internal units arranged at each data server, and an exhaust fan is installed at the air outlet of each branch air-conditioning internal unit to discharge the cold air discharged from the branch air-conditioning internal units. Blows quickly onto data servers for improved cooling efficiency.
Description
技术领域technical field
本实用新型涉及空调机组技术领域,具体为一种高效冷却空调机组。The utility model relates to the technical field of air-conditioning units, in particular to an efficient cooling air-conditioning unit.
背景技术Background technique
数据中心机房内的电子设备一般分布规律,位置集中,相对热源也是有规律的集中分布,但目前的数据中心机房用空调是对整个机房进行温度调节,难以针对热源进行集中降温,对热源之外的空间降温,会加大造成冷气浪费,使空调的能耗增高,制冷效率降低。The electronic equipment in the data center computer room is generally distributed in a regular manner, the location is concentrated, and the relative heat source is also regularly distributed. However, the current air conditioner in the data center computer room is to adjust the temperature of the entire computer room, and it is difficult to centrally cool the heat source. The cooling of the space will increase the waste of air-conditioning, increase the energy consumption of air-conditioning, and reduce the cooling efficiency.
公开(公告)号:CN214249934U公开了一种低能耗高性能的数据中心机房用空调,包括空调内机本体,空调内机本体外设有风墙机构,风墙机构包括风墙机构保护壳,风墙机构保护壳上连接有电动机,电动机上连接有主动齿轮,风墙机构保护壳内连接有支撑架,支撑架上连接有传动转轴,传动转轴上连接有风叶,传动转轴远离风叶的一端连接有从动齿轮,风墙机构保护壳上连接有调节机构,电动机贯穿风墙机构保护壳设置,传动转轴贯穿支撑架设置。本实用新型通过数据中心机房用空调相应机构的设置,使空调可以集中对发热的电子设备进行降温,减少了部分冷气的扩散,提高了冷气的利用率,减少了冷气的浪费,降低了空调的能耗,提高了空调的制冷效率。Publication (announcement) number: CN214249934U discloses a kind of air conditioner with low energy consumption and high performance in the data center computer room, including air conditioner inner unit body, the air conditioner inner unit body is provided with a wind wall mechanism outside, the wind wall mechanism includes the wind wall mechanism protective shell, the wind wall mechanism The protective shell of the wall mechanism is connected with a motor, the motor is connected with a driving gear, the protective shell of the wind wall mechanism is connected with a support frame, the support frame is connected with a transmission shaft, and the transmission shaft is connected with a fan blade. A driven gear is connected, an adjustment mechanism is connected to the protective shell of the wind wall mechanism, the motor is set through the protective shell of the wind wall mechanism, and the transmission rotating shaft is set through the support frame. The utility model sets the corresponding mechanism of the air conditioner in the data center computer room, so that the air conditioner can centrally cool down the heating electronic equipment, reduces the diffusion of part of the cold air, improves the utilization rate of the air conditioner, reduces the waste of the air conditioner, and reduces the cost of the air conditioner. Energy consumption, improve the cooling efficiency of the air conditioner.
上述数据中心机房用空调提高了冷气的利用率,减少了冷气的浪费,但是该数据中心机房用空调仅仅通过单个出风口吹出冷空气,对于多服务器的数据中心房,降温效率低下,不能满足服务器的散热需求。The above-mentioned data center computer room air conditioner improves the utilization rate of cold air and reduces the waste of cold air. However, the data center computer room air conditioner only blows out cold air through a single air outlet. For a multi-server data center room, the cooling efficiency is low and cannot meet the needs of servers. cooling needs.
实用新型内容Utility model content
本实用新型的目的在于提供一种高效冷却空调机组,以解决上述背景技术中提出多服务器的数据中心房,降温效率低下的问题。The purpose of the utility model is to provide a high-efficiency cooling air-conditioning unit to solve the problem of low cooling efficiency in the multi-server data center room proposed in the background art.
为实现上述目的,本实用新型提供如下技术方案:In order to achieve the above object, the utility model provides the following technical solutions:
一种高效冷却空调机组,包括:A high-efficiency cooling air-conditioning unit comprising:
数据中心机房,所述数据中心机房用于放置多个数据服务器,且多个所述数据服务器对称设置于数据中心机房的两侧;A data center computer room, the data center computer room is used to place multiple data servers, and the multiple data servers are symmetrically arranged on both sides of the data center computer room;
空调外主机,所述空调外主机设置于数据中心机房的外壁顶部,所述空调外主机的两侧外壁上对称设置有用于输送冷空气的冷风主管;The air-conditioning external host, the air-conditioning external host is arranged on the top of the outer wall of the data center machine room, and the outer walls of both sides of the air-conditioning external host are symmetrically arranged with cold air main pipes for conveying cold air;
分支空调内机,所述分支空调内机与数据服务器的数量相同且位置相对应,每个数据服务器的背部均安装有分支空调内机,所述分支空调内机的出风口均安装有抽风风扇,每个所述分支空调内机与冷风主管之间均通过冷风支管连接。Branch air-conditioning internal units, the number of the branch air-conditioning internal units is the same as that of the data servers and the positions correspond to each other. A branch air-conditioning internal unit is installed on the back of each data server, and exhaust fans are installed at the air outlets of the branch air-conditioning internal units , each of the branch air-conditioning internal units is connected to the cold air main pipe through a cold air branch pipe.
作为优选,所述数据中心机房的一端中心铰接有用于进出的机房门,所述机房门的内外壁上均安装有门把手。Preferably, a computer room door for access is hinged at the center of one end of the data center computer room, and door handles are installed on the inner and outer walls of the computer room door.
作为优选,所述空调外主机的底部四个顶角处均安装有固定立柱,所述固定立柱连接于所述数据中心机房的顶部外壁。Preferably, four corners of the bottom of the air-conditioning external main unit are all equipped with fixed columns, and the fixed columns are connected to the top outer wall of the data center machine room.
作为优选,每个所述分支空调内机上均安装有与所述数据中心机房外壁连接的限位座。Preferably, each branch air conditioner internal unit is equipped with a limit seat connected to the outer wall of the data center machine room.
作为优选,所述限位座的顶部和底部对称设置有固定座,所述固定座上开设有安装孔。Preferably, the top and bottom of the limiting seat are symmetrically provided with fixing seats, and the fixing seats are provided with mounting holes.
作为优选,所述限位座与固定座为一体成型结构,所述限位座、固定座与数据中心机房外壁之间设置有采用橡胶制成的减震垫。Preferably, the limiting seat and the fixing seat are integrally formed, and a shock-absorbing pad made of rubber is arranged between the limiting seat, the fixing seat and the outer wall of the data center machine room.
作为优选,所述固定座通过安装固定螺栓穿过安装孔螺纹连接于数据中心机房的外壁上。Preferably, the fixing base is threadedly connected to the outer wall of the data center computer room by installing fixing bolts through the installation holes.
与现有技术相比,本实用新型的有益效果是:Compared with the prior art, the beneficial effects of the utility model are:
1、本高效冷却空调机组中,通过在每个数据服务器处设置的分支空调内机,提高降温效率和降温速度,且每个分支空调内机的出风口处还安装有抽风风扇,将分支空调内机排出的冷空气快速吹入至数据服务器上,提高冷却效率。1. In this high-efficiency cooling air-conditioning unit, the cooling efficiency and cooling speed are improved through the branch air-conditioning internal units installed at each data server, and an exhaust fan is installed at the air outlet of each branch air-conditioning internal unit, and the branch air-conditioning The cold air discharged from the internal unit is quickly blown into the data server to improve cooling efficiency.
2、本高效冷却空调机组中,固定座通过安装固定螺栓穿过安装孔螺纹连接于数据中心机房的外壁上,便于进行安装或拆卸,单个分支空调内机损坏后,可单独进行更换,节约维修成本。2. In this high-efficiency cooling air-conditioning unit, the fixing seat is threadedly connected to the outer wall of the data center machine room through the installation hole through the installation fixing bolt, which is convenient for installation or disassembly. After the internal unit of a single branch air conditioner is damaged, it can be replaced separately, saving maintenance cost.
3、本高效冷却空调机组中,限位座、固定座与数据中心机房外壁之间设置有采用橡胶制成的减震垫,提高减震效果。3. In the high-efficiency cooling air-conditioning unit, a shock-absorbing pad made of rubber is arranged between the limit seat, the fixed seat and the outer wall of the data center machine room to improve the shock-absorbing effect.
附图说明Description of drawings
附图用来提供对本实用新型的进一步理解,并且构成说明书的一部分,与本实用新型的实施例一起做进一步的详细解释,但并不构成对本实用新型的限制。The accompanying drawings are used to provide a further understanding of the utility model, and constitute a part of the description, and are further explained in detail together with the embodiments of the utility model, but do not constitute a limitation to the utility model.
图1为本实用新型的结构示意图;Fig. 1 is the structural representation of the utility model;
图2为本实用新型的截面结构示意图;Fig. 2 is the cross-sectional structure schematic diagram of the present utility model;
图3为本实用新型分支空调内机的截面结构示意图。Fig. 3 is a schematic cross-sectional structure diagram of the branch air conditioner internal unit of the present invention.
图中各标号的含义:The meaning of each label in the figure:
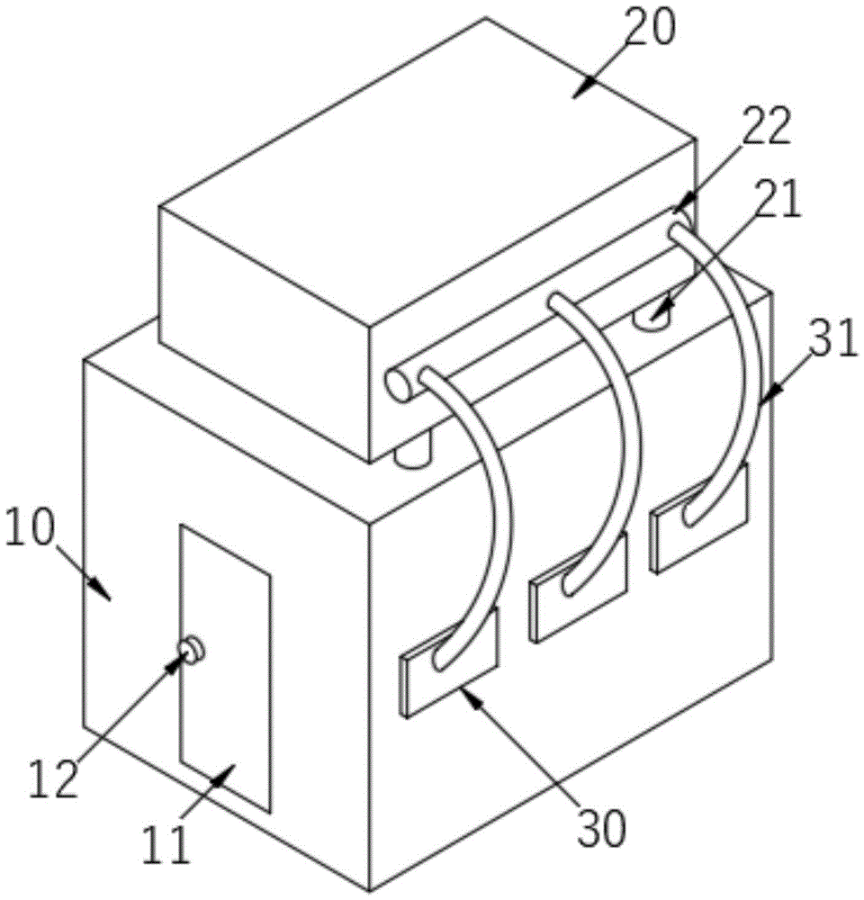
10、数据中心机房;11、机房门;12、门把手;13、数据服务器;10. Data center computer room; 11. Computer room door; 12. Door handle; 13. Data server;
20、空调外主机;21、固定立柱;22、冷风主管;20. External host of air conditioner; 21. Fixed column; 22. Cold air supervisor;
30、分支空调内机;31、限位座;32、抽风风扇;33、冷风支管;34、固定座;35、安装孔。30. Inner unit of branch air conditioner; 31. Limit seat; 32. Exhaust fan; 33. Cooling branch pipe; 34. Fixing seat; 35. Mounting hole.
具体实施方式Detailed ways
下面将结合本实用新型实施例和说明书附图,对本实用新型实施例中的技术方案进行清楚、完整地描述,显然,所描述的实施例仅仅是本实用新型一部分实施例,而不是全部的实施例。基于本实用新型中的实施例,本领域普通技术人员在没有做出创造性劳动前提下所获得的所有其他实施例,都属于本实用新型保护的范围。The technical solutions in the embodiments of the present invention will be clearly and completely described below in conjunction with the embodiments of the present invention and the accompanying drawings. Obviously, the described embodiments are only part of the embodiments of the present invention, not all of them. example. Based on the embodiments of the present utility model, all other embodiments obtained by persons of ordinary skill in the art without making creative efforts belong to the scope of protection of the present utility model.
在本实用新型的描述中,需要理解的是,术语“中心”、“竖向”、“横向”、“长度”、“宽度”、“厚度”、“上”、“下”、“前”、“后”、“左”、“右”、“竖直”、“水平”、“顶”、“底”、“内”、“外”、“顺时针”、“逆时针”等指示的方位或位置关系为基于附图所示的方位或位置关系,仅是为了便于描述本实用新型和简化描述,而不是指示或暗示所指的设备或元件必须具有特定的方位、以特定的方位构造和操作,因此不能理解为对本实用新型的限制。In describing the present invention, it should be understood that the terms "center", "vertical", "transverse", "length", "width", "thickness", "upper", "lower", "front" , "Back", "Left", "Right", "Vertical", "Horizontal", "Top", "Bottom", "Inner", "Outer", "Clockwise", "Counterclockwise", etc. The orientation or positional relationship is based on the orientation or positional relationship shown in the drawings, which is only for the convenience of describing the utility model and simplifying the description, and does not indicate or imply that the referred equipment or elements must have a specific orientation or be constructed in a specific orientation. and operation, and therefore cannot be construed as a limitation of the present utility model.
一种高效冷却空调机组,如图1-图3所示,包括:数据中心机房10,数据中心机房10用于放置多个数据服务器13,且多个数据服务器13对称设置于数据中心机房10的两侧;空调外主机20,空调外主机20设置于数据中心机房10的外壁顶部,空调外主机20的两侧外壁上对称设置有用于输送冷空气的冷风主管22;分支空调内机30,分支空调内机30与数据服务器13的数量相同且位置相对应,每个数据服务器13的背部均安装有分支空调内机30,分支空调内机30的出风口均安装有抽风风扇32,每个分支空调内机30与冷风主管22之间均通过冷风支管33连接,通过在每个数据服务器13处设置的分支空调内机30,提高降温效率和降温速度,且每个分支空调内机30的出风口处还安装有抽风风扇32,将分支空调内机30排出的冷空气快速吹入至数据服务器13上,提高冷却效率。A high-efficiency cooling air-conditioning unit, as shown in Figures 1-3, includes: a data
进一步的,数据中心机房10的一端中心铰接有用于进出的机房门11,机房门11的内外壁上均安装有门把手12,方便进出。Further, a
具体的,空调外主机20的底部四个顶角处均安装有固定立柱21,固定立柱21连接于数据中心机房10的顶部外壁,提高空调外主机20安装的稳定性。Specifically, the four top corners of the bottom of the air-conditioning external
此外,每个分支空调内机30上均安装有与数据中心机房10外壁连接的限位座31,限位座31的顶部和底部对称设置有固定座34,固定座34上开设有安装孔35,固定座34通过安装固定螺栓穿过安装孔35螺纹连接于数据中心机房10的外壁上,便于进行安装或拆卸,单个分支空调内机30损坏后,可单独进行更换,节约维修成本。In addition, each branch air conditioner
值得说明的是,限位座31与固定座34为一体成型结构,限位座31、固定座34与数据中心机房10外壁之间设置有采用橡胶制成的减震垫,提高减震效果。It is worth noting that the limiting
本实用新型高效冷却空调机组的工作原理:使用时,操作人员在数据中心机房10的两侧外壁上开设与分支空调内机30截面尺寸相适配的通孔,将分支空调内机30插入至通孔中,并将定座34通过安装固定螺栓穿过安装孔35螺纹连接于数据中心机房10的外壁上,如图1所示,数据服务器13工作时,通过分支空调内机30和抽风风扇32对数据服务器13进行散热。The working principle of the utility model high-efficiency cooling air-conditioning unit: when in use, the operator opens a through hole on the outer wall of both sides of the data
以上显示和描述了本实用新型的基本原理、主要特征和本实用新型的优点。本行业的技术人员应该了解,本实用新型不受上述实施例的限制,上述实施例和说明书中描述的仅为本实用新型的优选例,并不用来限制本实用新型,在不脱离本实用新型精神和范围的前提下,本实用新型还会有各种变化和改进,这些变化和改进都落入要求保护的本实用新型范围内。本实用新型要求保护范围由所附的权利要求书及其等效物界定。The basic principles, main features and advantages of the present utility model have been shown and described above. Those skilled in the industry should understand that the utility model is not limited by the above-mentioned embodiments. The above-mentioned embodiments and descriptions are only preferred examples of the utility model, and are not used to limit the utility model. Without departing from the utility model Under the premise of the spirit and scope, the utility model also has various changes and improvements, and these changes and improvements all fall within the scope of the claimed utility model. The scope of protection required by the utility model is defined by the appended claims and their equivalents.
Claims (7)
Priority Applications (1)
| Application Number | Priority Date | Filing Date | Title |
|---|---|---|---|
| CN202223340100.8U CN219108082U (en) | 2022-12-12 | 2022-12-12 | A high-efficiency cooling air-conditioning unit |
Applications Claiming Priority (1)
| Application Number | Priority Date | Filing Date | Title |
|---|---|---|---|
| CN202223340100.8U CN219108082U (en) | 2022-12-12 | 2022-12-12 | A high-efficiency cooling air-conditioning unit |
Publications (1)
| Publication Number | Publication Date |
|---|---|
| CN219108082U true CN219108082U (en) | 2023-05-30 |
Family
ID=86457364
Family Applications (1)
| Application Number | Title | Priority Date | Filing Date |
|---|---|---|---|
| CN202223340100.8U Expired - Fee Related CN219108082U (en) | 2022-12-12 | 2022-12-12 | A high-efficiency cooling air-conditioning unit |
Country Status (1)
| Country | Link |
|---|---|
| CN (1) | CN219108082U (en) |
Cited By (1)
| Publication number | Priority date | Publication date | Assignee | Title |
|---|---|---|---|---|
| CN116669382A (en) * | 2023-06-02 | 2023-08-29 | 广东云下汇金科技有限公司 | Intelligent air guide device of air-cooled air conditioner of data center |
-
2022
- 2022-12-12 CN CN202223340100.8U patent/CN219108082U/en not_active Expired - Fee Related
Cited By (2)
| Publication number | Priority date | Publication date | Assignee | Title |
|---|---|---|---|---|
| CN116669382A (en) * | 2023-06-02 | 2023-08-29 | 广东云下汇金科技有限公司 | Intelligent air guide device of air-cooled air conditioner of data center |
| CN116669382B (en) * | 2023-06-02 | 2024-09-13 | 广东云下汇金科技有限公司 | Intelligent air guide device of air-cooled air conditioner of data center |
Similar Documents
| Publication | Publication Date | Title |
|---|---|---|
| CN205040137U (en) | Rack group and concentrate heat dissipation cooling system thereof | |
| CN219108082U (en) | A high-efficiency cooling air-conditioning unit | |
| CN204806579U (en) | A high-efficiency modular air-conditioning system | |
| CN205667062U (en) | Area refrigeration amount of wind adjustable server rack | |
| CN207099493U (en) | A kind of communication equipment of high efficiency and heat radiation | |
| CN108776520A (en) | A kind of computer cabinet convenient for rapid cooling | |
| CN210093809U (en) | Computer network switch board that heat dispersion is good | |
| CN205718399U (en) | A kind of machine room waste heat recovery device | |
| CN112445307A (en) | Protective device for computer protection | |
| CN207638494U (en) | A New Air-Water Cooler Structure for High Power Density Box Motor | |
| CN210399351U (en) | Industry humidifier convenient to heat dissipation | |
| CN214198918U (en) | Heat exchanger fixing frame, courtyard type indoor unit and air conditioner | |
| CN215416570U (en) | Server heat abstractor | |
| CN218728934U (en) | Portable computer heat abstractor | |
| CN211457849U (en) | Intelligent control box that radiating effect is good | |
| CN208955516U (en) | A kind of power distribution cabinet that safeguard function is good | |
| CN221806272U (en) | Switch board ventilation unit | |
| CN221427843U (en) | Air-cooled battery cluster | |
| CN218348839U (en) | Air duct device capable of uniformly exchanging heat | |
| CN222415070U (en) | A wind power generation system using waste heat from air conditioning in a signal tower | |
| CN206145873U (en) | Self cooling, air -cooled indoor temperature control equipment of ceiling type heat pipe | |
| CN219287202U (en) | A system control device based on modular UPS | |
| CN218648431U (en) | Internal radiator of electrical cabinet | |
| CN223613702U (en) | Integrated water-cooled frequency converter and its cooling system | |
| CN212299547U (en) | High-power heat pump host |
Legal Events
| Date | Code | Title | Description |
|---|---|---|---|
| GR01 | Patent grant | ||
| GR01 | Patent grant | ||
| CF01 | Termination of patent right due to non-payment of annual fee | ||
| CF01 | Termination of patent right due to non-payment of annual fee |
Granted publication date: 20230530 |
