CN219102830U - 一种舞台灯具的遮光板安装结构 - Google Patents

一种舞台灯具的遮光板安装结构 Download PDF

Info

Publication number
CN219102830U
CN219102830U CN202320304515.5U CN202320304515U CN219102830U CN 219102830 U CN219102830 U CN 219102830U CN 202320304515 U CN202320304515 U CN 202320304515U CN 219102830 U CN219102830 U CN 219102830U
Authority
CN
China
Prior art keywords
fixedly connected
mounting structure
piece
frame
underframe
Prior art date
Legal status (The legal status is an assumption and is not a legal conclusion. Google has not performed a legal analysis and makes no representation as to the accuracy of the status listed.)
Active
Application number
CN202320304515.5U
Other languages
English (en)
Inventor
李哥成
陈宇群
Current Assignee (The listed assignees may be inaccurate. Google has not performed a legal analysis and makes no representation or warranty as to the accuracy of the list.)
Huizhou Montetech Co ltd
Original Assignee
Huizhou Montetech Co ltd
Priority date (The priority date is an assumption and is not a legal conclusion. Google has not performed a legal analysis and makes no representation as to the accuracy of the date listed.)
Filing date
Publication date
Application filed by Huizhou Montetech Co ltd filed Critical Huizhou Montetech Co ltd
Priority to CN202320304515.5U priority Critical patent/CN219102830U/zh
Application granted granted Critical
Publication of CN219102830U publication Critical patent/CN219102830U/zh
Active legal-status Critical Current
Anticipated expiration legal-status Critical

Links

Images

Classifications

    • YGENERAL TAGGING OF NEW TECHNOLOGICAL DEVELOPMENTS; GENERAL TAGGING OF CROSS-SECTIONAL TECHNOLOGIES SPANNING OVER SEVERAL SECTIONS OF THE IPC; TECHNICAL SUBJECTS COVERED BY FORMER USPC CROSS-REFERENCE ART COLLECTIONS [XRACs] AND DIGESTS
    • Y02TECHNOLOGIES OR APPLICATIONS FOR MITIGATION OR ADAPTATION AGAINST CLIMATE CHANGE
    • Y02BCLIMATE CHANGE MITIGATION TECHNOLOGIES RELATED TO BUILDINGS, e.g. HOUSING, HOUSE APPLIANCES OR RELATED END-USER APPLICATIONS
    • Y02B20/00Energy efficient lighting technologies, e.g. halogen lamps or gas discharge lamps
    • Y02B20/40Control techniques providing energy savings, e.g. smart controller or presence detection

Landscapes

  • Devices For Indicating Variable Information By Combining Individual Elements (AREA)

Abstract

本实用新型公开了一种舞台灯具的遮光板安装结构,属于灯具遮光板领域,一种舞台灯具的遮光板安装结构,包括底架,底架上安装有水平调节架,水平调节架上通过角度调节件装配有遮光单元,底架上滑动连接有两个挂置件,挂置件上安装有锁定件,挂置件包括有竖向滑动连接在底架上的竖板,竖板的上部固定连接有上横板,竖板的下部固定连接有下横板,上横板的下侧固定连接有磁石,锁定件包括有锁定螺钉,锁定螺钉螺纹连接在下横板上,且锁定螺钉位于底架的下部,它可以实现,在装配遮光单元时提供一个对遮光单元进行支撑的辅助力,让用户在安装遮光单元时无需对遮光单元进行托举,降低安装遮光单元时的难度。

Description

一种舞台灯具的遮光板安装结构
技术领域
本实用新型涉及灯具遮光板领域,更具体地说,涉及一种舞台灯具的遮光板安装结构。
背景技术
遮光板是舞台灯具在使用时用于对舞台灯具的舞台光线进行遮挡的组件;
在安装遮光板时通常将遮光板安装在舞台骨架上,在安装过程中,一手托举遮光板让遮光板的位置和舞台骨架上的安装位置相对应,另一只手操作工具(如螺钉、扳手)对遮光板和舞台骨架进行锁定。
实用新型内容
1.要解决的技术问题
针对现有技术中存在的问题,本实用新型的目的在于提供一种舞台灯具的遮光板安装结构,它可以实现,在装配遮光单元时提供一个对遮光单元进行支撑的辅助力,让用户在安装遮光单元时无需对遮光单元进行托举,降低安装遮光单元时的难度。
2.技术方案
为解决上述问题,本实用新型采用如下的技术方案。
一种舞台灯具的遮光板安装结构,包括底架,所述底架上安装有水平调节架,所述水平调节架上通过角度调节件装配有遮光单元,所述底架上滑动连接有两个挂置件,所述挂置件上安装有锁定件。
进一步的,所述挂置件包括有竖向滑动连接在底架上的竖板,所述竖板的上部固定连接有上横板,所述竖板的下部固定连接有下横板。
进一步的,所述上横板的下侧固定连接有磁石。
进一步的,所述锁定件包括有锁定螺钉,所述锁定螺钉螺纹连接在下横板上,且所述锁定螺钉位于底架的下部。
进一步的,所述水平调节架包括有固定连接在底架下侧的两个导向管,两个所述导向管的内部均滑动连接有水平滑杆,所述水平滑杆的一端固定连接有连板,所述角度调节件固定连接在连板上,所述导向管上螺纹连接有定位螺钉。
进一步的,所述连板位于与挂置件开口端相对的一端,所述导向管位于底架下侧远离挂置件开口端的一端。
进一步的,所述角度调节件包括有固定连接在连板下侧的机架,所述机架上转动连接有相互啮合的蜗杆和蜗轮,所述遮光单元和蜗轮固定连接。
3.有益效果
相比于现有技术,本实用新型的优点在于:
本方案通过设置挂置件能够在装配遮光单元时提供一个对遮光单元进行支撑的辅助力,让用户在安装遮光单元时无需对遮光单元进行托举,降低安装遮光单元时的难度。
附图说明
图1为本实用新型的结构示意图;
图2为本实用新型的结构侧视图;
图3为本实用新型的局部结构侧视图;
图4为本实用新型图3中A处的放大图。
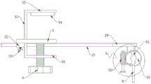
图中标号说明:
1、底架;2、水平调节架;21、水平滑杆;22、导向管;23、定位螺钉;24、连板;3、挂置件;31、竖板;32、上横板;33、下横板;34、磁石;4、锁定件;5、角度调节件;51、机架;52、蜗杆;53、蜗轮;6、遮光单元。
具体实施方式
下面将结合本实用新型实施例中的附图,对本实用新型实施例中的技术方案进行清楚、完整地描述;显然,所描述的实施例仅仅是本实用新型一部分实施例,而不是全部的实施例,基于本实用新型中的实施例,本领域普通技术人员在没有做出创造性劳动前提下所获得的所有其他实施例,都属于本实用新型保护的范围。
实施例:
请参阅图1-4,一种舞台灯具的遮光板安装结构,包括底架1,底架1上安装有水平调节架2,水平调节架2上通过角度调节件5装配有遮光单元6,通过水平调节架2可调节遮光单元6和底架1之间的相对水平位置,带动遮光单元6进行水平移动,通过角度调节件5可带动遮光单元6进行转动,调节遮光单元6的角度;
底架1上滑动连接有两个挂置件3,在安装底架1时可通过挂置件3挂置在预先搭设的舞台骨架上,用于对底架1进行临时固定,不需要操作人员对其进行托举,挂置件3上安装有锁定件4,用于对底架1进行长久锁定。
其中,请参阅图2-3所示,挂置件3包括有竖向滑动连接在底架1上的竖板31,竖板31的上部固定连接有上横板32,竖板31的下部固定连接有下横板33,此时,对挂置件3进行安装时,将上横板32挂置在舞台骨架上,即可通过下横板33对底架1进行支撑,为底架1提供一个支撑的辅助力。
且,为了避免挂置件3从底架1上脱落的现象,上横板32的下侧固定连接有磁石34,通过磁石34吸附在舞台骨架上,即可对挂置件3进行加固,减少挂置件3的脱落现象。
请参阅图3所示,为了能够简化装置的结构,锁定件4包括有锁定螺钉,锁定螺钉螺纹连接在下横板33上,且锁定螺钉位于底架1的下部,此时,通过对锁定螺钉进行转动,能够带动锁定螺钉进行垂直移动,调节底架1的高度。
请参阅图1和图3所示,水平调节架2包括有固定连接在底架1下侧的两个导向管22,两个导向管22的内部均滑动连接有水平滑杆21,水平滑杆21的一端固定连接有连板24,角度调节件5固定连接在连板24上,此时,通过滑动水平滑杆21即可带动角度调节件5进行水平移动,调节遮光单元6的水平位置,导向管22上螺纹连接有定位螺钉23,通过定位螺钉23即可对水平滑杆21进行锁定。
且,为了保证装置的平衡性,连板24位于与挂置件3开口端相对的一端,导向管22位于底架1下侧远离挂置件3开口端的一端,此时,连板24可滑动至底架1的下侧,保证其平衡性,当连板24滑动至挂置件3的一侧时,挂置件3可变成一个挂钩,对连板24进行固定。
请参阅图3-4所示,角度调节件5包括有固定连接在连板24下侧的机架51,机架51上转动连接有相互啮合的蜗杆52和蜗轮53,遮光单元6和蜗轮53固定连接,此时,通过转动蜗杆52即可带动蜗轮53进行转动,蜗轮53转动时会带动遮光单元6一起进行转动,调节遮光单元6的角度。
在使用时:在安装底架1时可通过挂置件3挂置在预先搭设的舞台骨架上,对底架1进行临时固定,承受装置的重力,然后通过锁定件4带动底架1进行移动,让底架1和上横板32夹持在舞台骨架上;
综上,本技术方案通过设置挂置件3能够在装配遮光单元6时提供一个对遮光单元6进行支撑的辅助力,让用户在安装遮光单元6时无需对遮光单元6进行托举,降低安装遮光单元6时的难度。
以上所述,仅为本实用新型较佳的具体实施方式;但本实用新型的保护范围并不局限于此。任何熟悉本技术领域的技术人员在本实用新型揭露的技术范围内,根据本实用新型的技术方案及其改进构思加以等同替换或改变,都应涵盖在本实用新型的保护范围内。

Claims (7)

1.一种舞台灯具的遮光板安装结构,包括底架(1),其特征在于:所述底架(1)上安装有水平调节架(2),所述水平调节架(2)上通过角度调节件(5)装配有遮光单元(6),所述底架(1)上滑动连接有两个挂置件(3),所述挂置件(3)上安装有锁定件(4)。
2.根据权利要求1所述的一种舞台灯具的遮光板安装结构,其特征在于:所述挂置件(3)包括有竖向滑动连接在底架(1)上的竖板(31),所述竖板(31)的上部固定连接有上横板(32),所述竖板(31)的下部固定连接有下横板(33)。
3.根据权利要求2所述的一种舞台灯具的遮光板安装结构,其特征在于:所述上横板(32)的下侧固定连接有磁石(34)。
4.根据权利要求2所述的一种舞台灯具的遮光板安装结构,其特征在于:所述锁定件(4)包括有锁定螺钉,所述锁定螺钉螺纹连接在下横板(33)上,且所述锁定螺钉位于底架(1)的下部。
5.根据权利要求1所述的一种舞台灯具的遮光板安装结构,其特征在于:所述水平调节架(2)包括有固定连接在底架(1)下侧的两个导向管(22),两个所述导向管(22)的内部均滑动连接有水平滑杆(21),所述水平滑杆(21)的一端固定连接有连板(24),所述角度调节件(5)固定连接在连板(24)上,所述导向管(22)上螺纹连接有定位螺钉(23)。
6.根据权利要求5所述的一种舞台灯具的遮光板安装结构,其特征在于:所述连板(24)位于与挂置件(3)开口端相对的一端,所述导向管(22)位于底架(1)下侧远离挂置件(3)开口端的一端。
7.根据权利要求5所述的一种舞台灯具的遮光板安装结构,其特征在于:所述角度调节件(5)包括有固定连接在连板(24)下侧的机架(51),所述机架(51)上转动连接有相互啮合的蜗杆(52)和蜗轮(53),所述遮光单元(6)和蜗轮(53)固定连接。
CN202320304515.5U 2023-02-24 2023-02-24 一种舞台灯具的遮光板安装结构 Active CN219102830U (zh)

Priority Applications (1)

Application Number Priority Date Filing Date Title
CN202320304515.5U CN219102830U (zh) 2023-02-24 2023-02-24 一种舞台灯具的遮光板安装结构

Applications Claiming Priority (1)

Application Number Priority Date Filing Date Title
CN202320304515.5U CN219102830U (zh) 2023-02-24 2023-02-24 一种舞台灯具的遮光板安装结构

Publications (1)

Publication Number Publication Date
CN219102830U true CN219102830U (zh) 2023-05-30

Family

ID=86464521

Family Applications (1)

Application Number Title Priority Date Filing Date
CN202320304515.5U Active CN219102830U (zh) 2023-02-24 2023-02-24 一种舞台灯具的遮光板安装结构

Country Status (1)

Country Link
CN (1) CN219102830U (zh)

Similar Documents

Publication Publication Date Title
CN219102830U (zh) 一种舞台灯具的遮光板安装结构
CN215330802U (zh) 一种房屋建设墙体结构用拼接装置
CN219775396U (zh) 一种led显示屏安装结构
CN218204165U (zh) 防汛挡板
CN2904030Y (zh) 背投大屏幕显示单元箱体
CN206563223U (zh) 双向调整照射角度的led筒灯
CN212231376U (zh) 一种可调式光伏支架
CN215446232U (zh) 一种带空调通风孔的面板灯转换框
CN209765208U (zh) 一种液晶面板检查机
CN212672866U (zh) 一种可调节的抗光幕推车
CN215364699U (zh) 一种led显示器面罩安装用举升装置
CN220540658U (zh) 一种多屏幕架构装置
CN216715966U (zh) 一种检修照明灯的旋转支架
CN208859555U (zh) 一种灯光控制装置用安装底座
CN207179075U (zh) 可调的显示器安装支架
CN211289642U (zh) 一种用于多个模组灯具用拼接装置
CN221454886U (zh) 一种金属门窗框架安装水平调节装置
CN221171098U (zh) 一种滑动式抗震支吊架
CN219828712U (zh) 一种舞台灯光设备可旋转悬挂固定支架
CN221422626U (zh) 一种墙外悬挑架
CN219014211U (zh) 一种位置可调节航空障碍灯支架
CN218544130U (zh) 一种电梯轿厢照明装置及电梯轿厢
CN222953952U (zh) 一种具有卡装安装结构的光伏设备
CN215127046U (zh) 一种可调节长度的窗帘轨道
CN215863062U (zh) 一种led舞台灯

Legal Events

Date Code Title Description
GR01 Patent grant
GR01 Patent grant