CN219074477U - 一种铣削支撑件螺孔及周边型面的夹具 - Google Patents
一种铣削支撑件螺孔及周边型面的夹具 Download PDFInfo
- Publication number
- CN219074477U CN219074477U CN202223149087.8U CN202223149087U CN219074477U CN 219074477 U CN219074477 U CN 219074477U CN 202223149087 U CN202223149087 U CN 202223149087U CN 219074477 U CN219074477 U CN 219074477U
- Authority
- CN
- China
- Prior art keywords
- base body
- milling
- screw holes
- support
- clamp
- Prior art date
- Legal status (The legal status is an assumption and is not a legal conclusion. Google has not performed a legal analysis and makes no representation as to the accuracy of the status listed.)
- Active
Links
- 238000003801 milling Methods 0.000 title claims abstract description 23
- 230000002093 peripheral effect Effects 0.000 title claims abstract description 20
- 238000001514 detection method Methods 0.000 claims description 3
- 238000005242 forging Methods 0.000 claims description 3
- 239000002184 metal Substances 0.000 claims description 3
- 238000005553 drilling Methods 0.000 claims 1
- 238000003754 machining Methods 0.000 abstract description 7
- 238000004519 manufacturing process Methods 0.000 abstract description 4
- 230000000694 effects Effects 0.000 abstract description 3
- 229910003460 diamond Inorganic materials 0.000 description 6
- 239000010432 diamond Substances 0.000 description 6
- 238000000034 method Methods 0.000 description 3
- 239000000758 substrate Substances 0.000 description 2
- 238000010276 construction Methods 0.000 description 1
- 230000007547 defect Effects 0.000 description 1
- 238000010586 diagram Methods 0.000 description 1
- 238000005516 engineering process Methods 0.000 description 1
- 238000012986 modification Methods 0.000 description 1
- 230000004048 modification Effects 0.000 description 1
Images
Classifications
-
- Y—GENERAL TAGGING OF NEW TECHNOLOGICAL DEVELOPMENTS; GENERAL TAGGING OF CROSS-SECTIONAL TECHNOLOGIES SPANNING OVER SEVERAL SECTIONS OF THE IPC; TECHNICAL SUBJECTS COVERED BY FORMER USPC CROSS-REFERENCE ART COLLECTIONS [XRACs] AND DIGESTS
- Y02—TECHNOLOGIES OR APPLICATIONS FOR MITIGATION OR ADAPTATION AGAINST CLIMATE CHANGE
- Y02P—CLIMATE CHANGE MITIGATION TECHNOLOGIES IN THE PRODUCTION OR PROCESSING OF GOODS
- Y02P70/00—Climate change mitigation technologies in the production process for final industrial or consumer products
- Y02P70/10—Greenhouse gas [GHG] capture, material saving, heat recovery or other energy efficient measures, e.g. motor control, characterised by manufacturing processes, e.g. for rolling metal or metal working
Landscapes
- Jigs For Machine Tools (AREA)
Abstract
本实用新型公开了一种铣削支撑件螺孔及周边型面的夹具,包括基体,支撑件固定在基体上,支撑件待钻螺孔的两支臂伸出基体外;基体一端固定在机床卡盘上,另一端由机床工作台顶紧。该夹具结构简单,制造周期短。配合数控机床附件和机床功能,应用效果好,加工效率高。
Description
技术领域
本实用新型属于机械加工技术领域,尤其涉及一种铣削支撑件螺孔及周边型面的夹具。
背景技术
一种十字形支撑件,四个支臂两两对称,在一对向下倾斜的支臂上开设有螺孔,另一对支臂为平直结构。且螺孔四周具有特殊异型面,这些异型面与螺孔轴线平行或垂直。传统的方案是设计加工钻模和铣床夹具,用来解决螺孔及四周特殊异型面的加工技术问题,需要设计的加工钻模和铣床夹具至少包括基础底座、定位、夹紧、分度等部分,结构复杂,并且需要两套夹具,分四个工步进行。存在夹具结构较复杂,夹具制造周期长,效率较低,难以满足生产进度要求等问题。
实用新型内容
实用新型目的
为解决上述问题,本实用新型提供了一种铣削支撑件螺孔及周边型面的夹具。
实用新型技术解决方案
一种铣削支撑件螺孔及周边型面的夹具,包括基体,支撑件固定在基体上,支撑件待钻螺孔的两支臂伸出基体外;基体一端固定在机床卡盘上,另一端由机床工作台顶紧。
优选的,基体上带有能容纳支撑件的凹槽。
优选的,基体一端的六方体结构供机床卡盘夹紧,由机床工作台顶紧的另一端端面制有顶尖孔。
优选的,支撑件平直的两支臂分别通过圆柱定位螺栓和菱形定位螺栓固定在基体上,并通过螺母将支撑件压紧在基体上。
优选的,圆柱定位螺栓和菱形定位螺栓端部通过防旋转螺钉固紧。
优选的,基体上位于容纳支撑件的凹槽相对面对应基体轴线与支撑件待钻螺孔两支臂的轴线的交点处开设有基准孔,作为数控铣加工原点O(0.0.0)。
优选的,基体采用锻件或板料加工而成。
优选的,需对基体的毛坯进行磁力探伤检查。
优选的,基体上制有若干减重槽。
本实用新型的优点:该夹具结构简单,制造周期短。配合数控机床附件和机床功能,应用效果好,加工效率高。
附图说明
图1为本实用新型的一种铣削支撑件螺孔及周边型面的夹具的结构示意图。
图2是图1的A-A剖视图。
图3是图1的B-B剖视图。
图4是图1的俯视图。
图5是图4的右视图。
图6是图4的仰视图。
图7是螺孔加工工序状态图。
图8是6号件支撑件的立体图。
图9是本实用新型的一种铣削支撑件螺孔及周边型面的夹具的立体图。
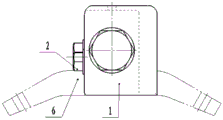
图中,1-基体,2-螺母,3-菱形定位螺栓,4-螺钉,5-圆柱定位螺栓,6-支撑件。
具体实施方式
本实用新型是通过如下技术方案予以实现的。
一种铣削支撑件螺孔及周边型面的夹具,包括基体1,基体1上制有能够容纳支撑件6中部和平直的一对支臂的槽,两个需钻螺孔的支臂伸出基体1外,基体1一端为能够由机床卡盘夹紧的六方体,另一端端面制有供机床工作台顶紧的中心孔。平直的一对支臂分别通过圆柱定位螺栓5、菱形定位螺栓3和螺母2固定在基体1上,并通过防旋转螺钉4固紧。基体1与容纳支撑件6的槽相对的面上,在基体1轴线与需钻孔的一对支臂的轴线的交点处开设有基准孔,作为数控铣加工原点O(0.0.0)。基体1采用锻件或板料加工制成,并通过磁力探伤检查缺陷。基体1上还开设有几处减轻槽,作用是减轻夹具整体重量。
加工过程为:保证支撑件6工序加工前状态符合要求,将支撑件6安装在基体1上,使支撑件6待加工螺孔的两支臂向远离基体1的方向延伸,采用圆柱定位螺栓5、菱形定位螺栓3固定两平直支臂并将螺母2连接在圆柱定位螺栓5、菱形定位螺栓3上压紧支撑件6,机床卡盘夹紧基体1的六方体,机床工作台顶紧基体1上的顶尖孔。刀具找准加工原点O(0.0.0),旋转工作台至支撑件6需钻螺孔位置,加工螺孔后,更换刀具,加工螺孔周边型面。数控程序调整至另一个螺孔位置,加工螺孔。同理更换刀具,加工螺孔周边型面。
上述实施例只为说明本实用新型的技术构思及特点,其目的是让熟悉该技术领域的技术人员能够了解本实用新型的内容并据以实施,并不能以此来限制本实用新型的保护范围,凡根据本实用新型精神本质所作出的等同变换或修饰,都应涵盖本实用新型的保护范围内。本实用新型未详细描述的技术、形状、构造部分均为公知技术。
Claims (9)
1.一种铣削支撑件螺孔及周边型面的夹具,其特征在于,包括基体(1),支撑件(6)固定在基体(1)上,支撑件(6)待钻螺孔的两支臂伸出基体(1)外;基体(1)一端固定在机床卡盘上,另一端由机床工作台顶紧。
2.如权利要求1所述的一种铣削支撑件螺孔及周边型面的夹具,其特征在于,基体(1)上带有能容纳支撑件(6)的凹槽。
3.如权利要求1所述的一种铣削支撑件螺孔及周边型面的夹具,其特征在于,基体(1)一端的六方体结构供机床卡盘夹紧,由机床工作台顶紧的另一端端面制有顶尖孔。
4.如权利要求1所述的一种铣削支撑件螺孔及周边型面的夹具,其特征在于,支撑件(6)平直的两支臂分别通过圆柱定位螺栓(5)和菱形定位螺栓(3)固定在基体(1)上,并通过螺母(2)将支撑件(6)压紧在基体(1)上。
5.如权利要求4所述的一种铣削支撑件螺孔及周边型面的夹具,其特征在于,圆柱定位螺栓(5)和菱形定位螺栓(3)端部通过防旋转螺钉(4)固紧。
6.如权利要求2所述的一种铣削支撑件螺孔及周边型面的夹具,其特征在于,基体(1)上位于容纳支撑件(6)的凹槽相对面对应基体(1)轴线与支撑件(6)待钻螺孔两支臂的轴线的交点处开设有基准孔,作为数控铣加工原点O(0.0.0)。
7.如权利要求1~6任一所述的一种铣削支撑件螺孔及周边型面的夹具,其特征在于,基体(1)采用锻件或板料加工而成。
8.如权利要求7所述的一种铣削支撑件螺孔及周边型面的夹具,其特征在于,需对基体(1)的毛坯进行磁力探伤检查。
9.如权利要求7所述的一种铣削支撑件螺孔及周边型面的夹具,其特征在于,基体(1)上制有若干减重槽。
Priority Applications (1)
| Application Number | Priority Date | Filing Date | Title |
|---|---|---|---|
| CN202223149087.8U CN219074477U (zh) | 2022-11-25 | 2022-11-25 | 一种铣削支撑件螺孔及周边型面的夹具 |
Applications Claiming Priority (1)
| Application Number | Priority Date | Filing Date | Title |
|---|---|---|---|
| CN202223149087.8U CN219074477U (zh) | 2022-11-25 | 2022-11-25 | 一种铣削支撑件螺孔及周边型面的夹具 |
Publications (1)
| Publication Number | Publication Date |
|---|---|
| CN219074477U true CN219074477U (zh) | 2023-05-26 |
Family
ID=86399860
Family Applications (1)
| Application Number | Title | Priority Date | Filing Date |
|---|---|---|---|
| CN202223149087.8U Active CN219074477U (zh) | 2022-11-25 | 2022-11-25 | 一种铣削支撑件螺孔及周边型面的夹具 |
Country Status (1)
| Country | Link |
|---|---|
| CN (1) | CN219074477U (zh) |
-
2022
- 2022-11-25 CN CN202223149087.8U patent/CN219074477U/zh active Active
Similar Documents
| Publication | Publication Date | Title |
|---|---|---|
| CN214135038U (zh) | 一种四轴旋转夹具 | |
| CN111283316A (zh) | 一种电子束焊接通用平台 | |
| CN219074477U (zh) | 一种铣削支撑件螺孔及周边型面的夹具 | |
| CN111168425A (zh) | 连杆小头斜面加工用夹具 | |
| CN113579750B (zh) | 一种减速机半凸轮轴随行工装 | |
| CN220636985U (zh) | 一种可适用于多种形状的机床用夹具 | |
| CN210388374U (zh) | 一种组合式工装夹具 | |
| CN208945615U (zh) | 一种内撑式夹具 | |
| CN216371155U (zh) | 一种用于机床加工的夹具台 | |
| CN112823984A (zh) | 一种l形零件钻孔用夹具及使用方法 | |
| CN213053760U (zh) | 轴类工件加工用固定夹具 | |
| CN214488973U (zh) | 一种模具加工铣床用的工装夹具 | |
| CN215659050U (zh) | 一种燕尾槽式夹具 | |
| CN220259633U (zh) | 一种阀芯翻转式钻模 | |
| CN112809432A (zh) | 一种铣床夹具 | |
| CN220718473U (zh) | 四方调节螺母加工用夹具 | |
| CN220260225U (zh) | 一种钻铣专用夹具 | |
| CN222449318U (zh) | 一种金属工件加工夹具工装 | |
| CN113732757A (zh) | 一种用于加工机床垫块的夹具及其加工方法 | |
| CN221983932U (zh) | 四通管用钻孔工装 | |
| CN217551813U (zh) | 一种横梁工装 | |
| CN222806527U (zh) | 异形轴夹具工装 | |
| CN112935869A (zh) | 四轴联动双排并列式制具装置 | |
| CN217292024U (zh) | 一种机械加工用固定夹具 | |
| CN221088104U (zh) | 一种用于金属零部件加工的定位治具 |
Legal Events
| Date | Code | Title | Description |
|---|---|---|---|
| GR01 | Patent grant | ||
| GR01 | Patent grant |