CN219068740U - Aluminum product rack that heat dispersion is good - Google Patents
Aluminum product rack that heat dispersion is good Download PDFInfo
- Publication number
- CN219068740U CN219068740U CN202222919370.8U CN202222919370U CN219068740U CN 219068740 U CN219068740 U CN 219068740U CN 202222919370 U CN202222919370 U CN 202222919370U CN 219068740 U CN219068740 U CN 219068740U
- Authority
- CN
- China
- Prior art keywords
- heat dissipation
- cabinet body
- cabinet
- fixedly connected
- aluminum
- Prior art date
- Legal status (The legal status is an assumption and is not a legal conclusion. Google has not performed a legal analysis and makes no representation as to the accuracy of the status listed.)
- Active
Links
Images
Classifications
-
- Y—GENERAL TAGGING OF NEW TECHNOLOGICAL DEVELOPMENTS; GENERAL TAGGING OF CROSS-SECTIONAL TECHNOLOGIES SPANNING OVER SEVERAL SECTIONS OF THE IPC; TECHNICAL SUBJECTS COVERED BY FORMER USPC CROSS-REFERENCE ART COLLECTIONS [XRACs] AND DIGESTS
- Y02—TECHNOLOGIES OR APPLICATIONS FOR MITIGATION OR ADAPTATION AGAINST CLIMATE CHANGE
- Y02D—CLIMATE CHANGE MITIGATION TECHNOLOGIES IN INFORMATION AND COMMUNICATION TECHNOLOGIES [ICT], I.E. INFORMATION AND COMMUNICATION TECHNOLOGIES AIMING AT THE REDUCTION OF THEIR OWN ENERGY USE
- Y02D10/00—Energy efficient computing, e.g. low power processors, power management or thermal management
Landscapes
- Cooling Or The Like Of Electrical Apparatus (AREA)
Abstract
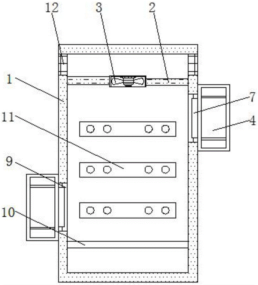
本实用新型公开了一种散热性能好的铝材机柜,包括柜体,所述柜体的内壁固定连接有支撑板,所述支撑板的上表面固定镶嵌有排风扇,所述柜体的左右两侧面均开设有进风口,所述柜体的左右两侧面均固定连接有散热罩,两个所述散热罩相互远离的一侧面均开设有通风孔,两个所述散热罩的内壁均固定连接有进风扇,两个所述进风扇相互靠近的一端分别延伸至两个进风口的内部,两个所述散热罩的内侧壁均开设有两个卡孔,两个所述散热罩的内部均设有过滤板,两个过滤板相互远离的一端分别延伸至两组卡孔的内部,所述柜体的内壁固定连接有载板。本散热性能好的铝材机柜,提高了对柜体的散热速度,满足柜体内部电气设备运行时的温度需求。
The utility model discloses an aluminum cabinet with good heat dissipation performance. The sides are provided with air inlets, the left and right sides of the cabinet are fixedly connected with heat dissipation covers, the sides of the two heat dissipation covers away from each other are provided with ventilation holes, and the inner walls of the two heat dissipation covers are fixedly connected There is an air inlet fan, and the ends of the two air inlet fans close to each other extend to the inside of the two air inlets respectively, and the inner side walls of the two heat dissipation covers are provided with two clamping holes, and the insides of the two heat dissipation covers are both A filter plate is provided, and the ends of the two filter plates away from each other respectively extend to the inside of the two sets of clamping holes, and the inner wall of the cabinet body is fixedly connected with a carrier plate. The aluminum cabinet with good heat dissipation performance improves the heat dissipation speed of the cabinet body and meets the temperature requirements of the electrical equipment inside the cabinet body during operation.
Description
技术领域technical field
本实用新型涉及铝材机柜领域,尤其是一种散热性能好的铝材机柜。The utility model relates to the field of aluminum material cabinets, in particular to an aluminum material cabinet with good heat dissipation performance.
背景技术Background technique
铝材机柜一般是铝材或合金制作的用来存放计算机和相关控制设备的物件,可以提供对存放设备的保护,屏蔽电磁干扰,有序、整齐地排列设备,方便以后维护设备。Aluminum cabinets are generally made of aluminum or alloys to store computers and related control equipment. They can provide protection for storage equipment, shield electromagnetic interference, and arrange equipment orderly and neatly to facilitate future maintenance of equipment.
铝材机柜需要对大量的电气设备进行安装,但是目前的铝材机柜散热性能较差,不能够对铝材机柜内部快速降温,难以满足电气设备运行时的温度需求,为此,我们提出一种散热性能好的铝材机柜解决上述问题。Aluminum cabinets need to install a large number of electrical equipment, but the current aluminum cabinets have poor heat dissipation performance, cannot quickly cool down the interior of the aluminum cabinet, and are difficult to meet the temperature requirements of electrical equipment during operation. Therefore, we propose a Aluminum cabinets with good heat dissipation performance can solve the above problems.
实用新型内容Utility model content
本实用新型的目的在于提供一种散热性能好的铝材机柜,以解决上述背景技术中提出的问题。The purpose of the utility model is to provide an aluminum cabinet with good heat dissipation performance, so as to solve the problems raised in the above-mentioned background technology.
为实现上述目的,本实用新型提供如下技术方案:In order to achieve the above object, the utility model provides the following technical solutions:
一种散热性能好的铝材机柜,包括柜体,所述柜体的内壁固定连接有支撑板,所述支撑板的上表面固定镶嵌有排风扇,所述柜体的左右两侧面均开设有进风口,所述柜体的左右两侧面均固定连接有散热罩,两个所述散热罩相互远离的一侧面均开设有通风孔,两个所述散热罩的内壁均固定连接有进风扇,两个所述进风扇相互靠近的一端分别延伸至两个进风口的内部。An aluminum cabinet with good heat dissipation performance, including a cabinet body, the inner wall of the cabinet body is fixedly connected with a support plate, the upper surface of the support plate is fixedly embedded with an exhaust fan, and the left and right sides of the cabinet body are provided with inlets. The air outlet, the left and right sides of the cabinet body are fixedly connected with heat dissipation covers, and the sides of the two heat dissipation covers away from each other are provided with ventilation holes, and the inner walls of the two heat dissipation covers are fixedly connected with intake fans. One end of the two inlet fans close to each other extends to the inside of the two air inlets respectively.
在进一步的实施例中,两个所述散热罩的内侧壁均开设有两个卡孔,两个所述散热罩的内部均设有过滤板,两个所述过滤板相互远离的一端分别延伸至两组卡孔的内部。In a further embodiment, two clamping holes are provided on the inner side walls of the two heat dissipation covers, filter plates are provided inside the two heat dissipation covers, and the ends of the two filter plates that are far away from each other extend respectively. to the inside of the two sets of card holes.
在进一步的实施例中,所述柜体的内壁固定连接有载板,所述柜体的内壁固定安装有多个安装板。In a further embodiment, the inner wall of the cabinet body is fixedly connected with a carrier board, and the inner wall of the cabinet body is fixedly installed with a plurality of installation boards.
在进一步的实施例中,所述柜体的左右两侧面均固定镶嵌有散热网板,且散热网板位于散热罩的上方。In a further embodiment, the left and right sides of the cabinet body are fixedly inlaid with heat dissipation mesh panels, and the heat dissipation mesh panels are located above the heat dissipation cover.
与现有技术相比,本实用新型的有益效果是:Compared with the prior art, the beneficial effects of the utility model are:
本装置通过支撑板设有的排风扇,能够产生一定的吸力,可以对柜体的热量向外抽除,起到对柜体内部初步散热的特点,通过散热罩内部设有的进风扇,并与过滤板的配合,能够对柜体的内部进行通风,同时可以对通风的气体进行过滤,然后利用通风的空气,便达到对柜体内部通风降温的效果,从而提高了对柜体的散热速度,满足柜体内部电气设备运行时的温度需求。The device can generate a certain suction force through the exhaust fan provided on the support plate, which can draw the heat of the cabinet outward, and has the characteristics of preliminary heat dissipation inside the cabinet. The cooperation of the filter plate can ventilate the inside of the cabinet, and at the same time filter the ventilated gas, and then use the ventilated air to achieve the effect of ventilation and cooling inside the cabinet, thereby improving the cooling speed of the cabinet. Meet the temperature requirements of the electrical equipment inside the cabinet during operation.
附图说明Description of drawings
图1为散热性能好的铝材机柜中柜体正视图的剖视图。Fig. 1 is a cross-sectional view of a front view of a cabinet body in an aluminum cabinet with good heat dissipation performance.
图2为散热性能好的铝材机柜中散热罩正视图的剖视图。Fig. 2 is a sectional view of the front view of the heat dissipation cover in the aluminum cabinet with good heat dissipation performance.
图中:1、柜体;2、支撑板;3、排风扇;4、散热罩;5、通风孔;6、过滤板;7、进风扇;8、卡孔;9、进风口;10、载板;11、安装板;12、散热网板。In the figure: 1. Cabinet body; 2. Support plate; 3. Exhaust fan; 4. Heat dissipation cover; 5. Ventilation hole; 6. Filter plate; 7. Inlet fan; plate; 11, mounting plate; 12, cooling net plate.
具体实施方式Detailed ways
在本实用新型的描述中,需要理解的是,术语“中心”、“纵向”、“横向”、“上”、“下”、“前”、“后”、“左”、“右”、“竖直”、“水平”、“顶”、“底”、“内”、“外”等指示的方位或位置关系为基于附图所示的方位或位置关系,仅是为了便于描述本实用新型和简化描述,而不是指示或暗示所指的装置或元件必须具有特定的方位、以特定的方位构造和操作,因此不能理解为对本实用新型的限制。此外,术语“第一”、“第二”等仅用于描述目的,而不能理解为指示或暗示相对重要性或者隐含指明所指示的技术特征的数量。由此,限定有“第一”、“第二”等的特征可以明示或者隐含地包括一个或者更多个该特征。在本实用新型的描述中,除非另有说明,“多个”的含义是两个或两个以上。In describing the present utility model, it should be understood that the terms "center", "longitudinal", "transverse", "upper", "lower", "front", "rear", "left", "right", The orientations or positional relationships indicated by "vertical", "horizontal", "top", "bottom", "inner", "outer", etc. are based on the orientation or positional relationships shown in the drawings, and are only for the convenience of describing the present invention. Novel and simplified descriptions do not indicate or imply that the device or element referred to must have a specific orientation, be constructed and operate in a specific orientation, and therefore should not be construed as limiting the utility model. In addition, the terms "first", "second", etc. are used for descriptive purposes only, and should not be understood as indicating or implying relative importance or implicitly specifying the quantity of the indicated technical features. Thus, a feature defined as "first", "second", etc. may expressly or implicitly include one or more of that feature. In the description of the present utility model, unless otherwise specified, "plurality" means two or more.
在本实用新型的描述中,需要说明的是,除非另有明确的规定和限定,术语“安装”、“相连”、“连接”应做广义理解,例如,可以是固定连接,也可以是可拆卸连接,或一体连接;可以是机械连接,也可以是电连接;可以是直接相连,也可以通过中间媒介间接相连,可以是两个元件内部的连通。对于本领域的普通技术人员而言,可以通过具体情况理解上述术语在本实用新型中的具体含义。In the description of the present utility model, it should be noted that, unless otherwise clearly stipulated and limited, the terms "installation", "connection" and "connection" should be understood in a broad sense, for example, it can be a fixed connection or a flexible connection. Detachable connection, or integral connection; it can be mechanical connection or electrical connection; it can be direct connection or indirect connection through an intermediary, and it can be the internal communication of two components. Those of ordinary skill in the art can understand the specific meanings of the above terms in the present invention through specific situations.
下面将结合本实用新型实施例中的附图,对本实用新型实施例中的技术方案进行清楚、完整地描述,显然,所描述的实施例仅仅是本实用新型一部分实施例,而不是全部的实施例。基于本实用新型中的实施例,本领域普通技术人员在没有做出创造性劳动前提下所获得的所有其他实施例,都属于本实用新型保护的范围。The technical solutions in the embodiments of the present invention will be clearly and completely described below in conjunction with the accompanying drawings in the embodiments of the present invention. Obviously, the described embodiments are only part of the embodiments of the present invention, not all of them. example. Based on the embodiments of the present utility model, all other embodiments obtained by persons of ordinary skill in the art without making creative efforts belong to the scope of protection of the present utility model.
请参阅图1-2,本实用新型中,一种散热性能好的铝材机柜,包括柜体1,柜体1的内壁固定连接有支撑板2,支撑板2的上表面固定镶嵌有排风扇3,柜体1的左右两侧面均开设有进风口9,柜体1的左右两侧面均固定连接有散热罩4,两个散热罩4相互远离的一侧面均开设有通风孔5,两个散热罩4的内壁均固定连接有进风扇7,两个进风扇7相互靠近的一端分别延伸至两个进风口9的内部。Please refer to Figure 1-2, in the present utility model, an aluminum cabinet with good heat dissipation performance includes a
两个散热罩4的内侧壁均开设有两个卡孔8,两个散热罩4的内部均设有过滤板6,两个过滤板6相互远离的一端分别延伸至两组卡孔8的内部,柜体1的内壁固定连接有载板10,柜体1的内壁固定安装有多个安装板11,柜体1的左右两侧面均固定镶嵌有散热网板12,且散热网板12位于散热罩4的上方,通过过滤板6可以对通风的气体进行过滤,然后利用通风的空气,能够对柜体1的内部进行通风降温。The inner walls of the two
本实用新型的工作原理是:首先将电气设备在载板10和安装板11处进行安装,当对柜体1内部进行散热降温时,启动排风扇3和进风扇7工作,利用排风扇3的运转,可以对柜体1的热量向外抽除,并会通过散热网板12进行排出,而两个进风扇7的工作,能够将外部空气抽入至柜体1的内部,达到对柜体1内部通风降温的效果,从而提高了对柜体1的散热速度。The working principle of the utility model is as follows: first, install the electrical equipment on the
对于本领域技术人员而言,显然本实用新型不限于上述示范性实施例的细节,而且在不背离本实用新型的精神或基本特征的情况下,能够以其他的具体形式实现本实用新型。因此,无论从哪一点来看,均应将实施例看作是示范性的,而且是非限制性的,本实用新型的范围由所附权利要求而不是上述说明限定,因此旨在将落在权利要求的等同要件的含义和范围内的所有变化囊括在本实用新型内。不应将权利要求中的任何附图标记视为限制所涉及的权利要求。It is obvious to those skilled in the art that the present invention is not limited to the details of the above exemplary embodiments, and that the present invention can be implemented in other specific forms without departing from the spirit or essential features of the present invention. Therefore, no matter from all points of view, the embodiments should be regarded as exemplary and non-restrictive, and the scope of the present invention is defined by the appended claims rather than the above description, so it is intended to fall within the scope of the claims All changes within the meaning and range of equivalents of the required elements are included in the present invention. Any reference sign in a claim should not be construed as limiting the claim concerned.
此外,应当理解,虽然本说明书按照实施方式加以描述,但并非每个实施方式仅包含一个独立的技术方案,说明书的这种叙述方式仅仅是为清楚起见,本领域技术人员应当将说明书作为一个整体,各实施例中的技术方案也可以经适当组合,形成本领域技术人员可以理解的其他实施方式。In addition, it should be understood that although this specification is described according to implementation modes, not each implementation mode only includes an independent technical solution, and this description in the specification is only for clarity, and those skilled in the art should take the specification as a whole , the technical solutions in the various embodiments can also be properly combined to form other implementations that can be understood by those skilled in the art.
Claims (4)
Priority Applications (1)
| Application Number | Priority Date | Filing Date | Title |
|---|---|---|---|
| CN202222919370.8U CN219068740U (en) | 2022-11-01 | 2022-11-01 | Aluminum product rack that heat dispersion is good |
Applications Claiming Priority (1)
| Application Number | Priority Date | Filing Date | Title |
|---|---|---|---|
| CN202222919370.8U CN219068740U (en) | 2022-11-01 | 2022-11-01 | Aluminum product rack that heat dispersion is good |
Publications (1)
| Publication Number | Publication Date |
|---|---|
| CN219068740U true CN219068740U (en) | 2023-05-23 |
Family
ID=86371660
Family Applications (1)
| Application Number | Title | Priority Date | Filing Date |
|---|---|---|---|
| CN202222919370.8U Active CN219068740U (en) | 2022-11-01 | 2022-11-01 | Aluminum product rack that heat dispersion is good |
Country Status (1)
| Country | Link |
|---|---|
| CN (1) | CN219068740U (en) |
-
2022
- 2022-11-01 CN CN202222919370.8U patent/CN219068740U/en active Active
Similar Documents
| Publication | Publication Date | Title |
|---|---|---|
| CN209327926U (en) | Compatible with hard disk bracket cooling mechanism and rack server chassis | |
| CN113176819A (en) | Heat radiation structure of easy loading and unloading formula modularization blade server | |
| CN201536316U (en) | Outdoor power cabinet | |
| CN209088802U (en) | Transduser cabinet and frequency converter | |
| CN219068740U (en) | Aluminum product rack that heat dispersion is good | |
| CN203826807U (en) | Box-type emergency power supply | |
| CN216311903U (en) | A heat dissipation structure of a battery case for shield equipment | |
| CN116234273A (en) | Closed machine case with forced air cooling heat dissipation function | |
| CN201097299Y (en) | Shielding plate and computer enclosure with shielding plate | |
| CN106774705A (en) | A kind of blade server | |
| CN111878912A (en) | Outdoor unit radiating assembly, outdoor unit and air conditioner | |
| CN201654661U (en) | Direct ventilation cooling cabinet | |
| CN201876783U (en) | Heat-dissipation and dustproof computer case | |
| WO2021135241A1 (en) | Electronic communication cabinet based on internet of things | |
| CN214751765U (en) | Water-cooled heat dissipation computing host and its mounting bracket | |
| CN219628167U (en) | Communication module guard | |
| CN202041892U (en) | a computer case | |
| CN217064403U (en) | A network cabinet with good heat dissipation effect | |
| CN212723860U (en) | Machine box | |
| CN212838477U (en) | Fan mounting structure and inverter comprising same | |
| CN205196224U (en) | Cabinet is settled to server | |
| CN220544078U (en) | Heat dissipation energy storage cabinet | |
| CN205304009U (en) | Air compressor inverter flange mounting structure | |
| CN208159095U (en) | A kind of subrack realizing front and back and radiating | |
| CN103049060B (en) | Server |
Legal Events
| Date | Code | Title | Description |
|---|---|---|---|
| GR01 | Patent grant | ||
| GR01 | Patent grant | ||
| TR01 | Transfer of patent right |
Effective date of registration: 20251215 Address after: 422000 Hunan Province Shaoyang City Shuangqing District Jinzhan Road and No. 18 Highway Intersection Hunan Xunyuan Industrial Development Co., Ltd. 2# Factory 206 Patentee after: Hunan Anyu Network Technology Co.,Ltd. Country or region after: China Address before: Room 5715, Qianjin Zhongzhi Business Park, Building 5, Chengzhi Business Center, No. 5000, Jiangdong 1st Road, Qiantang New District, Hangzhou, Zhejiang Province, 310000 Patentee before: Hangzhou Trek Machinery Co.,Ltd. Country or region before: China |
