CN219053912U - Stainless steel handle processing equipment - Google Patents
Stainless steel handle processing equipment Download PDFInfo
- Publication number
- CN219053912U CN219053912U CN202223414748.5U CN202223414748U CN219053912U CN 219053912 U CN219053912 U CN 219053912U CN 202223414748 U CN202223414748 U CN 202223414748U CN 219053912 U CN219053912 U CN 219053912U
- Authority
- CN
- China
- Prior art keywords
- grinding
- base
- fixedly connected
- rod
- sleeve
- Prior art date
- Legal status (The legal status is an assumption and is not a legal conclusion. Google has not performed a legal analysis and makes no representation as to the accuracy of the status listed.)
- Active
Links
- 229910001220 stainless steel Inorganic materials 0.000 title claims abstract description 15
- 239000010935 stainless steel Substances 0.000 title claims abstract description 15
- 230000008878 coupling Effects 0.000 claims description 3
- 238000010168 coupling process Methods 0.000 claims description 3
- 238000005859 coupling reaction Methods 0.000 claims description 3
- 230000005540 biological transmission Effects 0.000 claims description 2
- 230000002457 bidirectional effect Effects 0.000 claims 2
- 230000000694 effects Effects 0.000 abstract description 9
- 238000000034 method Methods 0.000 description 2
- 238000005498 polishing Methods 0.000 description 2
- 230000009286 beneficial effect Effects 0.000 description 1
- 238000005034 decoration Methods 0.000 description 1
- 238000005516 engineering process Methods 0.000 description 1
- 238000009434 installation Methods 0.000 description 1
- 238000004519 manufacturing process Methods 0.000 description 1
Images
Classifications
-
- Y—GENERAL TAGGING OF NEW TECHNOLOGICAL DEVELOPMENTS; GENERAL TAGGING OF CROSS-SECTIONAL TECHNOLOGIES SPANNING OVER SEVERAL SECTIONS OF THE IPC; TECHNICAL SUBJECTS COVERED BY FORMER USPC CROSS-REFERENCE ART COLLECTIONS [XRACs] AND DIGESTS
- Y02—TECHNOLOGIES OR APPLICATIONS FOR MITIGATION OR ADAPTATION AGAINST CLIMATE CHANGE
- Y02P—CLIMATE CHANGE MITIGATION TECHNOLOGIES IN THE PRODUCTION OR PROCESSING OF GOODS
- Y02P70/00—Climate change mitigation technologies in the production process for final industrial or consumer products
- Y02P70/10—Greenhouse gas [GHG] capture, material saving, heat recovery or other energy efficient measures, e.g. motor control, characterised by manufacturing processes, e.g. for rolling metal or metal working
Landscapes
- Finish Polishing, Edge Sharpening, And Grinding By Specific Grinding Devices (AREA)
Abstract
本实用新型公开了一种不锈钢拉手加工设备,包括底座,所述底座的顶部固定连接有打磨框,所述打磨框的表面固定连接有存储箱,所述底座内腔的左侧通过轴承件转动连接有双向螺纹杆,所述双向螺纹杆的右端贯穿底座并延伸至底座的外部,所述双向螺纹杆表面的两侧且位于底座的内部均螺纹连接有螺纹套,所述螺纹套的顶部固定连接有支撑杆,所述支撑杆的顶端贯穿底座并延伸至底座的外部,本实用新型涉及拉手加工技术领域。该不锈钢拉手加工设备,通过将需要打磨的把手放置于打磨槽的内部,把手落至斜块的顶部,然后通过转动双向螺纹杆右侧的把手带动双向螺纹杆驱动第二转动杆移动,从而达到对打磨槽内部的把手进行夹持的效果。
The utility model discloses a stainless steel handle processing equipment, comprising a base, the top of the base is fixedly connected with a grinding frame, the surface of the grinding frame is fixedly connected with a storage box, and the left side of the inner cavity of the base rotates through a bearing A two-way threaded rod is connected, the right end of the two-way threaded rod runs through the base and extends to the outside of the base, both sides of the surface of the two-way threaded rod and the inside of the base are threaded with threaded sleeves, and the top of the threaded sleeve is fixed A support rod is connected, and the top end of the support rod penetrates the base and extends to the outside of the base. The utility model relates to the technical field of handle processing. The stainless steel handle processing equipment, by placing the handle to be polished inside the grinding groove, the handle falls to the top of the inclined block, and then drives the two-way threaded rod to drive the second rotating rod to move by turning the handle on the right side of the two-way threaded rod, so as to achieve The effect of clamping the handle inside the grinding tank.
Description
技术领域technical field
本实用新型涉及拉手加工技术领域,具体为一种不锈钢拉手加工设备。The utility model relates to the technical field of handle processing, in particular to stainless steel handle processing equipment.
背景技术Background technique
拉手是建筑装修和家具制作中常用的启闭门窗、窗扇和抽屉等构件的把手,加工拉手需要通过切割,打磨、组装,其中在对拉手安装部件进行打磨的过程中,因现有的打磨设备在对把手进行打磨时,需要先将把手夹持住,由于把手的型号不同,导致把手的长度不同,因此在对不同长度的把手进行打磨时,需要对夹持机构进行调节,然后再对把手进行打磨,从而导致加工时长的增加,进而导致打磨效率降低,因此需要设计一种不锈钢拉手加工设备来解决以上问题。Handle is the handle of opening and closing doors and windows, window sashes, drawers and other components commonly used in building decoration and furniture production. The processing of the handle needs to be cut, polished and assembled. In the process of polishing the handle installation parts, due to the existing grinding equipment When grinding the handle, it is necessary to clamp the handle first. Because the handles are of different models, the length of the handle is different. Therefore, when grinding the handles of different lengths, it is necessary to adjust the clamping mechanism, and then adjust the handle Grinding will lead to an increase in processing time, which will lead to a decrease in grinding efficiency. Therefore, it is necessary to design a stainless steel handle processing equipment to solve the above problems.
实用新型内容Utility model content
为解决背景技术中存在的技术问题,本实用新型提出一种不锈钢拉手加工设备,包括底座,所述底座的顶部固定连接有打磨框,所述打磨框的表面固定连接有存储箱,所述底座内腔的左侧通过轴承件转动连接有双向螺纹杆,所述双向螺纹杆的右端贯穿底座并延伸至底座的外部,所述双向螺纹杆表面的两侧且位于底座的内部均螺纹连接有螺纹套,所述螺纹套的顶部固定连接有支撑杆,所述支撑杆的顶端贯穿底座并延伸至底座的外部,所述底座顶部的两侧均开设有与支撑杆相配合使用的第一活动槽,所述支撑杆延伸至底座外部的一端固定连接有支撑板,两个所述支撑板相背的一侧均通过支架固定安装有电机,所述电机的输出轴通过联轴器固定连接有第一转动杆,两个所述第一转动杆相对的一端均贯穿支撑板并延伸至支撑板的外部,两个所述支撑板相对的一侧均开设有第一滑槽,所述第一滑槽的内部滑动连接有第一滑块,所述第一滑槽内腔的后部固定连接有第一弹簧,所述第一弹簧的前端固定连接于第一滑块的后侧,两个所述第一滑块相对的一侧通过轴承件转动连接有方型转动杆,两个所述支撑板相对的一侧均通过支架固定安装有第一电动伸缩杆,所述第一电动伸缩杆的底端通过轴承件转动连接有第二转动杆,所述第一转动杆、方型转动杆和第二转动杆的表面均固定连接有链齿轮,三个所述链齿轮之间通过链条传动连接。In order to solve the technical problems in the background technology, the utility model proposes a stainless steel handle processing equipment, including a base, the top of the base is fixedly connected with a grinding frame, the surface of the grinding frame is fixedly connected with a storage box, and the base The left side of the inner cavity is rotatably connected with a two-way threaded rod through a bearing. The right end of the two-way threaded rod runs through the base and extends to the outside of the base. The top of the threaded sleeve is fixedly connected with a support rod, the top of the support rod passes through the base and extends to the outside of the base, and the two sides of the top of the base are provided with a first movable groove used in conjunction with the support rod One end of the support rod extending to the outside of the base is fixedly connected with a support plate, and the opposite sides of the two support plates are fixedly installed with a motor through a bracket, and the output shaft of the motor is fixedly connected with a second shaft through a coupling. A rotating rod, the opposite ends of the two first rotating rods pass through the supporting plate and extend to the outside of the supporting plate, and the opposite sides of the two supporting plates are provided with first slide grooves, and the first slide The inside of the groove is slidably connected with a first slider, and the rear part of the inner cavity of the first chute is fixedly connected with a first spring, and the front end of the first spring is fixedly connected with the rear side of the first slider. The opposite side of the first slider is rotatably connected with a square rotating rod through a bearing, and the opposite sides of the two support plates are fixed with a first electric telescopic rod through a bracket, and the first electric telescopic rod The bottom end is rotatably connected with a second rotating rod through a bearing, and the surfaces of the first rotating rod, the square rotating rod and the second rotating rod are all fixedly connected with sprockets, and the three sprockets are connected through a chain drive. .
优选的,所述打磨框的顶部开设有打磨槽,所述打磨槽内腔的底部固定安装有第二电动伸缩杆,所述第二电动伸缩杆的顶端固定连接有斜块,所述打磨槽内腔的两侧均开设有与第一转动杆相配合使用的第二活动口,所述打磨槽内腔的前部开设有下落口。Preferably, the top of the grinding frame is provided with a grinding groove, the bottom of the inner cavity of the grinding groove is fixedly installed with a second electric telescopic rod, and the top end of the second electric telescopic rod is fixedly connected with a slanting block, and the grinding groove Both sides of the inner cavity are provided with a second movable opening used in conjunction with the first rotating rod, and the front part of the inner cavity of the grinding groove is provided with a drop opening.
优选的,所述打磨框的内部且位于打磨槽的前侧开设有活动槽,所述活动槽内腔顶部的两侧均开设有第二滑槽,所述第二滑槽的内部滑动连接有第二滑块,所述第二滑块的底部通过支架固定连接有第一套筒,所述活动槽内腔后部的两侧均固定连接有第二弹簧,所述第二弹簧的前端固定连接于第一套筒的后侧,所述第一套筒的内部通过轴承件转动连接有第二套筒,所述第二套筒两端分别依次贯穿活动槽与打磨框并延伸至打磨框的外部。Preferably, an active slot is provided inside the grinding frame and located on the front side of the grinding slot, and a second chute is provided on both sides of the top of the inner chamber of the active slot, and the inside of the second chute is slidably connected with The second slider, the bottom of the second slider is fixedly connected with the first sleeve through the bracket, the two sides of the rear part of the movable groove inner cavity are fixedly connected with the second spring, and the front end of the second spring is fixed Connected to the rear side of the first sleeve, the inside of the first sleeve is rotatably connected to the second sleeve through bearings, and the two ends of the second sleeve pass through the movable groove and the grinding frame in turn and extend to the grinding frame of the exterior.
优选的,所述打磨框的两侧均开设有与第二套筒相配合使用的第三活动口。Preferably, both sides of the grinding frame are provided with a third movable port for use with the second sleeve.
优选的,所述第二套筒的表面且位于两个第一套筒之间固定连接有打磨筒。Preferably, a grinding cylinder is fixedly connected to the surface of the second sleeve and between the two first sleeves.
优选的,所述活动槽内腔的后侧开设有与打磨筒相配合使用的打磨口。Preferably, the rear side of the inner cavity of the movable groove is provided with a grinding port used in conjunction with the grinding cylinder.
与现有技术相比,本实用新型的上述技术方案具有如下有益的技术效果:Compared with the prior art, the above-mentioned technical solution of the utility model has the following beneficial technical effects:
(1)该不锈钢拉手加工设备,通过将需要打磨的把手放置于打磨槽的内部,把手落至斜块的顶部,然后通过转动双向螺纹杆右侧的把手带动双向螺纹杆驱动第二转动杆移动,从而达到对打磨槽内部不同长度的把手进行夹持的效果,然后启动电机,电机驱动把手转动,方型转动杆带动第二套筒转动,第二套筒带动打磨筒转动,然后控制第一电动伸缩杆伸出,第一电动伸缩杆带动第二转动杆移动,第二转动杆通过链条带动方型转动杆移动,方型转动杆带动第二套筒移动,第二套筒带动打磨筒移动,从而达到对把手表面进行全方位打磨的效果,提高了打磨的效率。(1) The stainless steel handle processing equipment, by placing the handle to be polished inside the grinding groove, the handle falls to the top of the inclined block, and then drives the two-way threaded rod to drive the second rotating rod to move by turning the handle on the right side of the two-way threaded rod , so as to achieve the effect of clamping the handles of different lengths inside the grinding tank, then start the motor, the motor drives the handle to rotate, the square rotating rod drives the second sleeve to rotate, the second sleeve drives the grinding cylinder to rotate, and then controls the first The electric telescopic rod is stretched out, the first electric telescopic rod drives the second rotating rod to move, the second rotating rod drives the square rotating rod to move through the chain, the square rotating rod drives the second sleeve to move, and the second sleeve drives the grinding cylinder to move , so as to achieve the effect of all-round grinding on the surface of the handle and improve the efficiency of grinding.
(2)该不锈钢拉手加工设备,通过控制斜块缩回,斜块带动把手向下移动,把手通过下落口落至存储箱的内部,从而达到将把手整齐存放便于拿取的效果。(2) The stainless steel handle processing equipment, by controlling the retraction of the slanting block, the slanting block drives the handle to move downward, and the handle falls to the inside of the storage box through the drop opening, so as to achieve the effect that the handle is stored neatly and easy to take.
附图说明Description of drawings
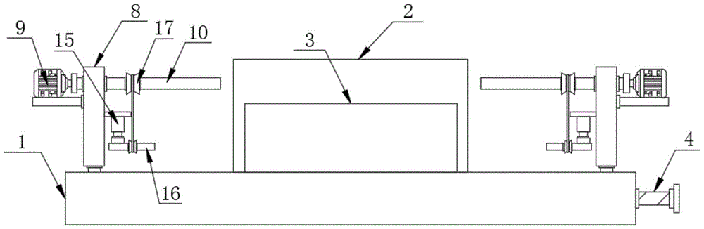
图1为本实用新型结构示意图;Fig. 1 is the structural representation of the utility model;
图2为本实用新型底座结构的剖视图;Fig. 2 is a cross-sectional view of the base structure of the utility model;
图3为本实用新型打磨框和存储框内部结构的侧视图;Fig. 3 is the side view of the internal structure of the grinding frame and the storage frame of the utility model;
图4为本实用新型打磨框和支撑板内部结构的俯视图;Fig. 4 is the top view of the internal structure of the grinding frame and the support plate of the utility model;
图5为本实用新型打磨框和活动槽结构的剖视图;Fig. 5 is a sectional view of the utility model grinding frame and movable groove structure;
图6为本实用新型支撑板结构的侧视图。Fig. 6 is a side view of the structure of the support plate of the present invention.
附图标记:1、底座;2、打磨框;3、存储箱;4、双向螺纹杆;5、螺纹套;6、支撑杆;7、第一活动槽;8、支撑板;9、电机;10、第一转动杆;11、第一滑槽;12、第一滑块;13、第一弹簧;14、方型转动杆;15、第一电动伸缩杆;16、第二转动杆;17、链齿轮;18、链条;19、打磨槽;20、活动槽;21、第二电动伸缩杆;22、斜块;23、第二活动口;24、第二弹簧;25、第一套筒;26、第二套筒;27、打磨筒;28、第二滑槽;29、第二滑块;30、第三活动口;31、下落口;32、打磨口。Reference signs: 1, base; 2, grinding frame; 3, storage box; 4, two-way threaded rod; 5, threaded sleeve; 6, support rod; 7, first movable groove; 8, support plate; 9, motor; 10. The first rotating rod; 11. The first chute; 12. The first slider; 13. The first spring; 14. The square rotating rod; 15. The first electric telescopic rod; 16. The second rotating rod; 17 , chain gear; 18, chain; 19, grinding groove; 20, movable groove; 21, second electric telescopic rod; 22, inclined block; 23, second movable port; 24, second spring; 25, first sleeve ; 26, the second sleeve; 27, the grinding cylinder; 28, the second chute; 29, the second slider; 30, the third movable port; 31, the drop port; 32, the grinding port.
具体实施方式Detailed ways
请参阅图1-6,本实用新型提供一种技术方案:一种不锈钢拉手加工设备,包括底座1,底座1的顶部固定连接有打磨框2,打磨框2的表面固定连接有存储箱3,底座1内腔的左侧通过轴承件转动连接有双向螺纹杆4,双向螺纹杆4的右端贯穿底座1并延伸至底座1的外部,双向螺纹杆4表面的两侧且位于底座1的内部均螺纹连接有螺纹套5,螺纹套5的顶部固定连接有支撑杆6,支撑杆6的顶端贯穿底座1并延伸至底座1的外部,底座1顶部的两侧均开设有与支撑杆6相配合使用的第一活动槽7,支撑杆6延伸至底座1外部的一端固定连接有支撑板8,两个支撑板8相背的一侧均通过支架固定安装有电机9,电机9为伺服电机,电机9的输出轴通过联轴器固定连接有第一转动杆10,两个第一转动杆10相对的一端均贯穿支撑板8并延伸至支撑板8的外部,第一转动杆10与支撑板8通过轴承件转动连接,两个支撑板8相对的一侧均开设有第一滑槽11,第一滑槽11的内部滑动连接有第一滑块12,第一滑槽11内腔的后部固定连接有第一弹簧13,第一弹簧13可便于更换,第一弹簧13的前端固定连接于第一滑块12的后侧,两个第一滑块12相对的一侧通过轴承件转动连接有方型转动杆14,两个支撑板8相对的一侧均通过支架固定安装有第一电动伸缩杆15,第一电动伸缩杆15的底端通过轴承件转动连接有第二转动杆16,第一转动杆10、方型转动杆14和第二转动杆16的表面均固定连接有链齿轮17,三个链齿轮17之间通过链条18传动连接。Please refer to Figures 1-6, the utility model provides a technical solution: a stainless steel handle processing equipment, including a base 1, the top of the base 1 is fixedly connected with a
进一步的,为了便于将打磨后的把手整齐存储于存储箱3内部的效果,打磨框2的顶部开设有打磨槽19,打磨槽19内腔的底部固定安装有第二电动伸缩杆21,第二电动伸缩杆21的顶端固定连接有斜块22,打磨槽19内腔的两侧均开设有与第一转动杆10相配合使用的第二活动口23,打磨槽19内腔的前部开设有下落口31。Further, in order to store the polished handle neatly in the
进一步的,为了达到便于将打磨筒27移动至打磨口32内部对打磨槽19内部的把手进行打磨的效果,打磨框2的内部且位于打磨槽19的前侧开设有活动槽20,活动槽20内腔顶部的两侧均开设有第二滑槽28,第二滑槽28的内部滑动连接有第二滑块29,第二滑块29的底部通过支架固定连接有第一套筒25,活动槽20内腔后部的两侧均固定连接有第二弹簧24,第二弹簧24可便于更换,第二弹簧24的前端固定连接于第一套筒25的后侧,第一套筒25的内部通过轴承件转动连接有第二套筒26,第二套筒26两端分别依次贯穿活动槽20与打磨框2并延伸至打磨框2的外部,打磨框2的两侧均开设有与第二套筒26相配合使用的第三活动口30,第二套筒26的表面且位于两个第一套筒25之间固定连接有打磨筒27,活动槽20内腔的后侧开设有与打磨筒27相配合使用的打磨口32。Further, in order to achieve the effect of moving the grinding
同时本说明书中未作详细描述的内容均属于本领域技术人员公知的现有技术。At the same time, the content not described in detail in this specification belongs to the prior art known to those skilled in the art.
使用时,通过将需要打磨的把手放置于打磨槽19的内部,把手落至斜块22的顶部,然后通过转动双向螺纹杆4右侧的把手带动双向螺纹杆4转动,双向螺纹杆4带动螺纹套5向内移动,螺纹套5带动支撑杆6移动,支撑杆6带动支撑板8移动,支撑板8带动电机9移动,电机9带动第一转动杆10移动,同时支撑板8带动方型转动杆14移动,同时支撑板8带动第一电动伸缩杆15移动,第一电动伸缩杆15带动第二转动杆16移动,当第一转动杆10通过第二活动口23移动至打磨槽19的内部时,从而达到对打磨槽19内部不同长度的把手进行夹持的效果,同时方型转动杆14移动至第二套筒26的内部时,然后启动电机9,电机9带动第一转动杆10转动,第一转动杆10带动链齿轮17转动,链齿轮17通过链条18带动方型转动杆14和第二转动杆16转动,第一转动杆10带动把手转动,方型转动杆14带动第二套筒26转动,第二套筒26带动打磨筒27转动,然后控制第一电动伸缩杆15伸出,第一电动伸缩杆15带动第二转动杆16移动,第二转动杆16通过链条18带动方型转动杆14移动,方型转动杆14带动第二套筒26移动,第二套筒26带动打磨筒27移动,从而达到对把手表面进行全方位打磨的效果,通过控制斜块22缩回,斜块22带动把手向下移动,把手通过下落口31落至存储箱3的内部,从而达到将把手整齐存放便于拿取的效果。During use, by placing the handle that needs to be polished in the inside of the
上面结合附图对本实用新型的实施方式作了详细说明,但是本实用新型并不限于此,在所属技术领域的技术人员所具备的知识范围内,在不脱离本实用新型宗旨的前提下还可以作出各种变化。Above, the embodiment of the present utility model has been described in detail in conjunction with the accompanying drawings, but the present utility model is not limited thereto. Make various changes.
Claims (6)
Priority Applications (1)
| Application Number | Priority Date | Filing Date | Title |
|---|---|---|---|
| CN202223414748.5U CN219053912U (en) | 2022-12-20 | 2022-12-20 | Stainless steel handle processing equipment |
Applications Claiming Priority (1)
| Application Number | Priority Date | Filing Date | Title |
|---|---|---|---|
| CN202223414748.5U CN219053912U (en) | 2022-12-20 | 2022-12-20 | Stainless steel handle processing equipment |
Publications (1)
| Publication Number | Publication Date |
|---|---|
| CN219053912U true CN219053912U (en) | 2023-05-23 |
Family
ID=86347010
Family Applications (1)
| Application Number | Title | Priority Date | Filing Date |
|---|---|---|---|
| CN202223414748.5U Active CN219053912U (en) | 2022-12-20 | 2022-12-20 | Stainless steel handle processing equipment |
Country Status (1)
| Country | Link |
|---|---|
| CN (1) | CN219053912U (en) |
-
2022
- 2022-12-20 CN CN202223414748.5U patent/CN219053912U/en active Active
Similar Documents
| Publication | Publication Date | Title |
|---|---|---|
| CN210135412U (en) | A large-screen display device for power information | |
| CN112517689B (en) | Folding mechanism and folding method of metal sheet | |
| CN219053912U (en) | Stainless steel handle processing equipment | |
| CN209120672U (en) | Mechatronics clamping and breaking pineapple harvesting device | |
| CN215547339U (en) | A double-sided high-efficiency polishing device for tempered glass processing | |
| CN114274002B (en) | Door frame edge light smoothness processing device for glass door and window processing | |
| CN114454106A (en) | Clamping tool for sensor machining | |
| CN219634021U (en) | A high-precision plate cutting device for wardrobe production | |
| CN219403871U (en) | Electromagnetic gaseous polishing clamp | |
| CN218350390U (en) | an aging cabinet | |
| CN217345088U (en) | A tool for car luggage rack sandblast | |
| CN211516764U (en) | A cutting and positioning device for the production of aluminum alloy doors and windows | |
| CN215292149U (en) | Superheavy up-down folding window capable of saving labor | |
| CN221850480U (en) | A punching device for plastic pipe | |
| CN220807082U (en) | Automatic adjustment fixture | |
| CN222493997U (en) | Case and bag positioner | |
| CN219598959U (en) | A port polishing device for processing aluminum alloy auto parts | |
| CN223070996U (en) | Automatic door and window material processing equipment | |
| CN221290651U (en) | Polishing device for processing aluminum alloy doors and windows | |
| CN221791105U (en) | Bar drilling machine capable of preventing deviation | |
| CN222949646U (en) | A sliding support hinge for meshing linkage doors and windows | |
| CN216585580U (en) | A double row embroidery machine | |
| CN217797522U (en) | A surface cleaning device for tap production and processing | |
| CN221087507U (en) | Semicircle cap clamping device | |
| CN221364731U (en) | Auxiliary device for installation of environmental protection mechanical equipment parts |
Legal Events
| Date | Code | Title | Description |
|---|---|---|---|
| GR01 | Patent grant | ||
| GR01 | Patent grant | ||
| TR01 | Transfer of patent right | ||
| TR01 | Transfer of patent right |
Effective date of registration: 20250110 Address after: 516000 roadside in Qiubaishi Village, Huiyang District, Huizhou City, Guangdong Province (for office use only) Patentee after: Huizhou Shunxingsheng Mold Steel Co.,Ltd. Country or region after: China Address before: Room 238, Building 1, No. 188-11 Xinghai South Road, Chongxian Street, Linping District, Hangzhou City, Zhejiang Province, 310000 Patentee before: Hangzhou Ruiqiao Metal Co.,Ltd. Country or region before: China |
