CN219041208U - 一种用于配电站定轨巡检的智能小车 - Google Patents
一种用于配电站定轨巡检的智能小车 Download PDFInfo
- Publication number
- CN219041208U CN219041208U CN202222273330.0U CN202222273330U CN219041208U CN 219041208 U CN219041208 U CN 219041208U CN 202222273330 U CN202222273330 U CN 202222273330U CN 219041208 U CN219041208 U CN 219041208U
- Authority
- CN
- China
- Prior art keywords
- trolley
- inspection
- temperature
- power distribution
- camera
- Prior art date
- Legal status (The legal status is an assumption and is not a legal conclusion. Google has not performed a legal analysis and makes no representation as to the accuracy of the status listed.)
- Active
Links
- 238000007689 inspection Methods 0.000 title claims abstract description 36
- 238000011161 development Methods 0.000 claims abstract description 16
- 238000000034 method Methods 0.000 abstract description 11
- 238000001514 detection method Methods 0.000 abstract description 4
- 230000005540 biological transmission Effects 0.000 description 6
- 238000004891 communication Methods 0.000 description 5
- 238000013527 convolutional neural network Methods 0.000 description 5
- 230000002159 abnormal effect Effects 0.000 description 4
- 238000005516 engineering process Methods 0.000 description 4
- 230000006698 induction Effects 0.000 description 4
- 238000012423 maintenance Methods 0.000 description 4
- 238000010586 diagram Methods 0.000 description 3
- 238000004458 analytical method Methods 0.000 description 2
- 230000009286 beneficial effect Effects 0.000 description 2
- 238000013079 data visualisation Methods 0.000 description 2
- 230000026058 directional locomotion Effects 0.000 description 2
- 230000000694 effects Effects 0.000 description 2
- 230000033001 locomotion Effects 0.000 description 2
- 238000005259 measurement Methods 0.000 description 2
- 230000001133 acceleration Effects 0.000 description 1
- 230000004888 barrier function Effects 0.000 description 1
- 238000009529 body temperature measurement Methods 0.000 description 1
- 238000007405 data analysis Methods 0.000 description 1
- 238000013461 design Methods 0.000 description 1
- 230000007613 environmental effect Effects 0.000 description 1
- 239000000463 material Substances 0.000 description 1
- 238000012986 modification Methods 0.000 description 1
- 230000004048 modification Effects 0.000 description 1
- 239000007787 solid Substances 0.000 description 1
- 230000001360 synchronised effect Effects 0.000 description 1
- 238000012360 testing method Methods 0.000 description 1
Images
Classifications
-
- Y—GENERAL TAGGING OF NEW TECHNOLOGICAL DEVELOPMENTS; GENERAL TAGGING OF CROSS-SECTIONAL TECHNOLOGIES SPANNING OVER SEVERAL SECTIONS OF THE IPC; TECHNICAL SUBJECTS COVERED BY FORMER USPC CROSS-REFERENCE ART COLLECTIONS [XRACs] AND DIGESTS
- Y02—TECHNOLOGIES OR APPLICATIONS FOR MITIGATION OR ADAPTATION AGAINST CLIMATE CHANGE
- Y02T—CLIMATE CHANGE MITIGATION TECHNOLOGIES RELATED TO TRANSPORTATION
- Y02T10/00—Road transport of goods or passengers
- Y02T10/60—Other road transportation technologies with climate change mitigation effect
- Y02T10/70—Energy storage systems for electromobility, e.g. batteries
Landscapes
- Investigating Materials By The Use Of Optical Means Adapted For Particular Applications (AREA)
Abstract
本实用新型公开了一种用于配电站定轨巡检的智能小车,包括小车底板和小车车体,在小车底板和小车车体之间安装有STM32F407开发板和L298N四电机驱动板;小车车体上安装有温湿度传感器、WiFi模块和充电宝;小车车体中部位置固定有支撑杆,支撑杆顶端安装有ov5640摄像头;温湿度传感器、WiFi模块和ov5640摄像头与STM32F407开发板连接;解决了通过人工巡检的方式完成对配电站内设备运行状态的掌控,获取相应的运行数据,具有劳动强度较大、工作效率较低、人员需求量较多、检测失误率较大、巡检手段单一等技术问题。
Description
技术领域
本实用新型属于智能巡检技术领域,尤其涉及一种用于配电站定轨巡检的智能小车。
背景技术
配电站是指带有低压负荷的室内配电场所,设有中压进线(可有少量出线)、配电变压器和低压配电装置,是中压配电网的末端,直接面向低压用户配送电能,数量众多。传统模式的配电站日常管理中,需要工作人员通过人工巡检的方式完成对配电站内设备运行状态的掌控,获取相应的运行数据,这种方式虽然能够在一定程度上实现管理目标,但是其具有劳动强度较大、工作效率较低、人员需求量较多、检测失误率较大、巡检手段单一等缺点,且受外部环境因素影响较大,存在一定的落后性。巡检水平急需进一步提高。
实用新型内容:
本实用新型要解决的技术问题:提供一种用于配电站定轨巡检的智能小车,以解决现有技术通过人工巡检的方式完成对配电站内设备运行状态的掌控,获取相应的运行数据,这种方式虽然能够在一定程度上实现管理目标,但是其具有劳动强度较大、工作效率较低、人员需求量较多、检测失误率较大、巡检手段单一等技术问题。
本实用新型技术方案:
一种用于配电站定轨巡检的智能小车,包括小车底板和小车车体,在小车底板和小车车体之间安装有STM32F407开发板和L298N四电机驱动板;小车车体上安装有温湿度传感器、WiFi模块和充电宝;小车车体中部位置固定有支撑杆,支撑杆顶端安装有ov5640摄像头;温湿度传感器、WiFi模块和ov5640摄像头与STM32F407开发板连接。
所述小车底板前端安装有D-MNSV6-N16磁轨传感器;小车底板后侧底部固定有无线充电接收器。
根据所述的一种用于配电站定轨巡检的智能小车,所述智能小车还包括地面磁轨,地面磁轨上设置有断点。
无线充电接收器和充电宝相结合,采用Arduino时钟模块和继电器来控制充电的通断。
所述智能小车还无线充电座,无线充电座与单片机连接。
本实用新型的有益效果:
通过在配电站智能巡检机器人主要由移动站和控制台构成,其中移动站包括移动车体、微机系统、避障系统、导航定位系统、通讯系统和检测设备,可实现定轨移动、定点拍照、温湿度采集和数据回传。控制台主要由后台控制软件组成,结合AI技术,通过后台控制移动站定轨移动,定点记录,定时巡检,实现数据查询及分析,管理人员可以通过网络随时查看,大大减少了人力物力的使用,减少了巡检工作的繁琐性与重复性。配电站智能巡检机器人有益效果体现在:
(1)依靠D-MNSV6-X8的磁轨传感器进行寻迹,可以实现严格按照铺设的导轨定向移动,大大的提升了定点图像采集的准确性。
(2)利用DHT11温度传感器采集到温湿度通过stm32f407串口通信,将数据传递给ZigBee,利用ZigBee的点对点无线传送,将温湿度数据传送到上位机,上位机定时扫描串口数据,生成excel表格与曲线图像,便于随时查看。
(3)采用arduino和时钟模块、继电器控制机器人充电设备。
(4)采用esp8266WiFi模块实现图像回传。单片机控制ov5640摄像模块定点拍照并存储至单片机内部存储中,再通过FATFS文件系统存储到外部SD卡,最后通过esp8266WiFi模块将SD卡内的图片传输至上位机。
(5)管理人员只需通过网络便可随时查看,数据异常实时报警通知管理人员。
智能巡检机器人是一项综合应用系统,它改变了原有巡检工作方式,利用机器人检查将大量的人力巡检力量解放出来,增强了巡检的质量,取得了很好的使用效果。
解决了现有技术通过人工巡检的方式完成对配电站内设备运行状态的掌控,获取相应的运行数据,这种方式虽然能够在一定程度上实现管理目标,但是其具有劳动强度较大、工作效率较低、人员需求量较多、检测失误率较大、巡检手段单一等技术问题。
附图说明:
图1为本实用新型正视结构示意图;
图2为本实用新型侧视结构示意图;
图3为本实用新型俯视结构示意图;
图4为DHT11温湿度传感模块结构图;
图5为zigbee结构示意图;
图6为系统行进路线图。
具体实施方式:
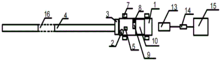
实施例1:如附图1所示,一种用于配电站定轨巡检的智能小车,它包括小车车体1、L298N四电机驱动板11、STM32F407开发板6、Arduino单片机14、D-MNSV6-N16磁轨传感器3、地面磁轨4、无线充电座13、电源15、无线充电接收器12、ov5640摄像头8、温湿度传感器5、WiFi模块2、数据传输,见图5、数据可视化上位机,磁轨传感器3连接在小车车体1的前端,在小车车体1的后侧底端有无线充电接收器12,小车内部前端有STM32F407开发板6,小车内部中端有充电宝10,小车内部后端有L298N四电机驱动板11,小车中部连接着支撑杆9,ov5640摄像头8固定在支撑杆9上方,温湿度传感器5和WiFi模块2连接在STM32F407开发板6上,所述STM32F407开发板6、Arduino单片机14作为机器人的主控制运用了Arduino单片机14的时钟模块控制继电器1个小时启动一次主单片机STM32F4076。
进一步的D-MNSV6-N16磁轨传感器3感应地面磁轨4,将感应信号传至STM32F407开发板6,结合STM32F407开发板6内部编写程序,控制小车进行巡检。
进一步的地面磁轨4可自行设计断点,ov5640摄像头8和温湿度传感器5在断点处进行拍照和测温湿度。
进一步的利用了CNN卷积神经网络的故障图片识别,利用matlab的编程,使网络形成自学习功能,当传输数据偏离预定正常数据,实现故障信号的自动报警功能,故障信号传到运维人员的手机上,实现了实时报警。
进一步的数据传输(图5)运用了cc2530 zigbee的点对点无线传输温室度数据,将采集场所的温湿度数据回传到上位机。
进一步的数据可视化上位机利用matlab内置串口类函数,将采集到的数据生成excel表格与图像显示在上位机界面上。
进一步的WiFi模块2用于图片传输进行回传显示,当系统处于特定位置时,单片机控制ov5640摄像模块8拍照并存储至单片机内部存储中,再通过FATFS文件系统存储到外部SD卡,最后通过esp8266WiFi模块2将SD卡内的图片传输至上位机,以供查看。
进一步的无线充电采用磁吸充电器12和充电宝10相结合,并采用Arduino14时钟模块和继电器来控制充电的通断。
进一步的ov5640摄像头模块8,通过支撑杆来固定高度和角度拍摄的照片能清晰辩识出出线柜上方的电压显示。
进一步的温湿度传感器5采用非接触式红外测温传感器,利用辐射热效应对室内温度和湿度同时进行检测,并将数据通过ZigBee回传。
实施例2:如附图2所示,一种用于配电站定轨巡检的智能小车,它包括车轮7、小车车体1、STM32F407开发板6、D-MNSV6-N16磁轨传感器3、地面磁轨4、ov5640摄像头8、温湿度传感器5、WiFi模块2、支撑杆9、充电宝10。如附图3所示,为本实用新型的俯视图,它包括拍照节点16、地面磁轨4、Arduino单片机14、电源15、D-MNSV6-N16磁轨传感器3、无线充电座13、ov5640摄像头8、温湿度传感器5、WiFi模块6、车轮7、支撑杆9。如附图6所示,行进系统设置由开始节点、前进拍照节点、后退拍照节点和掉头节点。在启动智能小车后,STM32F407开发板初始化摄像头,磁轨传感器感应到地面磁轨信号后,将信号传至STM32F407开发板中,开发板中的根据设定启动小车行进。智能小车沿着地面磁轨行进,当到达拍照节点时,拍照并且测温湿度,将所测温湿度通过zigbee传至上位机中形成数据曲线,且将照片通过WiFi模块传到网页中,由鼠标自动点击下载至上位机中。行进系统中设置了诺干个拍照节点,当智能小车行至掉头节点时,小车开始调头并且往回拍照,最后拍完之后退后到充电区域,通过无线充电给智能小车充电。每个一个小时,小车通过计时器控制又开始进行新一轮的巡视工作,大大减少了人力,具有显著的效果。
本实用新型有如下功能:
(1)自动巡视
智能小车根据识别铺设的磁轨实现定时、定点的巡视。智能小车自动巡视由电机驱动和磁轨导航系统两个模块来实现。
电机驱动采用先进的PWM控制技术,控制直流电机的加速、减速以及电机的正转和反转,并且可以调整电机的转速,还可以方便地读出电机转速的大小和转向,从而实现电机的智能控制。其中还包括直流电机的直接清零、启动(置数)、暂停等功能。
磁导航系统通过磁传感器识别磁轨,向控制中心(单片机)发出信号,控制中心通过磁轨信号,控制智能小车精准的沿着磁轨巡视,在磁轨上设置断点,可以实现智能小车定点启停。
(2)拍照识别功能
智能小车搭载OV5640高清摄像头,在需要获取设备参数的地方设置磁轨断点,智能小车在断点处准确停下,对设备参数进行拍照。针对静止拍摄图像场景,控制中心发出拍照信号驱动OV5640摄像板进行图像捕获,存储至SD卡后并通过esp8266wifi模块将数据送到上位机软件进行解码。
上位机采用卷积神经网络对传回的照片进行识别, 卷积神经网络进行电气设备参数的图片的故障识别,可以自动识别电气设备的异常参数,例如低电压、过电流,进行上位机的报警信号回传给运维人员。进行实时的报警,以便于运维人员进行故障的切除与查看。
(3)自动测温度、湿度功能
单片机定时发出测温湿度信号,由温湿度传感器DHT11采集温湿度,DHT11采集的温湿度数据经过串口上的zigbee进行点对点无线传输到上位机串口。上位机接收到温湿度数据,通过matlab程序对温湿度数据进行处理,生成温湿度曲线和温湿度数据表格,以方便运维人员查看。
(4)智能小车的智能充电
当智能小车运行一段时间后,电量不足时,智能小车根据磁轨运行到充电装置位置,智能充电采用先进无线充电技术,在小车底部安装磁感应充电装置连接小车电源,在充电装置位置有和小车配套的磁感应装置。当小车运行到充电装置,通过磁感应原理实现小车的无线充电。
(5)数据智能分析
智能小车将巡检过程中单片机回传过来的图片以及温湿度等数据进行分析处理。
小车将回传过来的图片通过自动下载程序下载到上位机中,提供给工作人员进行查看,与此同时传递过来的图片也通过卷积神经网络识别分析,通过设定正常范围值,当图片中的设备参数超出正常范围时,即向上位机以及连接的手机发出警报,提示设备出现相关问题。
智能小车将回传过来的温湿度数据进行分析,将每天每时段的温湿度数据联合形成一个日温湿度曲线图以及日温湿度线性表格,将出现异常的数据进行特别标示,并且上传给工作人员。与此同时,上位机还会将一个月的数据曲线整理出来形成月温湿度曲线图。
(6)通讯功能
智能小车通过zigbee以及WiFi作为通讯的工具,形成人机远距离调控及观测。Zigbee和wifi可以连接至个人用户手机端以及电脑端,也可以连接至家庭用户区域以及配电站和企业的相关局域网中,可以实现信息同步实时共享,也可以对历史数据进行查看,甚至可以对历史事故出现的数据进行回访分析。Zigbee和WiFi用于局域网络中,具有高度的保密性,不会造成数据外泄,也能防止非法分析进行数据串改,是用户的隐私以及电力信息安全的坚实屏障。取得了很好的使用效果。
配电站智能巡检机器人创新性体现在:
(1)依靠D-MNSV6-X8的磁轨传感器进行寻迹,可以实现严格按照铺设的导轨定向移动,大大的提升了定点图像采集的准确性。
(2)利用DHT11温度传感器采集到温湿度通过stm32f407串口通信,将数据传递给ZigBee,利用ZigBee的点对点无线传送,将温湿度数据传送到上位机,上位机定时扫描串口数据,生成excel表格与曲线图像,便于随时查看。
(3)采用arduino和时钟模块、继电器控制机器人充电设备。
(4)采用esp8266WiFi模块实现图像回传。单片机控制ov5640摄像模块定点拍照并存储至单片机内部存储中,再通过FATFS文件系统存储到外部SD卡,最后通过esp8266WiFi模块将SD卡内的图片传输至上位机。
(5)管理人员只需通过网络便可随时查看,数据异常实时报警通知管理人员。
Claims (5)
1.一种用于配电站定轨巡检的智能小车,包括小车底板和小车车体(1),其特征在于:在小车底板和小车车体(1)之间安装有STM32F407开发板(6)和L298N四电机驱动板(11);小车车体(1)上安装有温湿度传感器(5)、WiFi模块(2)和充电宝(10);小车车体(1)中部位置固定有支撑杆(9),支撑杆(9)顶端安装有ov5640摄像头(8);温湿度传感器(5)、WiFi模块(2)和ov5640摄像头(8)与STM32F407开发板(6)连接。
2.根据权利要求1所述的一种用于配电站定轨巡检的智能小车,其特征在于:所述小车底板前端安装有D-MNSV6-N16磁轨传感器(3);小车底板后侧底部固定有无线充电接收器(12)。
3.根据权利要求1所述的一种用于配电站定轨巡检的智能小车,其特征在于:所述智能小车还包括地面磁轨(4),地面磁轨(4)上设置有断点。
4.根据权利要求2所述的一种用于配电站定轨巡检的智能小车,其特征在于:无线充电接收器(12)和充电宝(10)相结合,采用Arduino单片机(14)时钟模块和继电器来控制充电的通断。
5.根据权利要求1所述的一种用于配电站定轨巡检的智能小车,其特征在于:所述智能小车还无线充电座(13),无线充电座(13)与Arduino单片机(14)连接。
Priority Applications (1)
| Application Number | Priority Date | Filing Date | Title |
|---|---|---|---|
| CN202222273330.0U CN219041208U (zh) | 2022-08-29 | 2022-08-29 | 一种用于配电站定轨巡检的智能小车 |
Applications Claiming Priority (1)
| Application Number | Priority Date | Filing Date | Title |
|---|---|---|---|
| CN202222273330.0U CN219041208U (zh) | 2022-08-29 | 2022-08-29 | 一种用于配电站定轨巡检的智能小车 |
Publications (1)
| Publication Number | Publication Date |
|---|---|
| CN219041208U true CN219041208U (zh) | 2023-05-16 |
Family
ID=86274676
Family Applications (1)
| Application Number | Title | Priority Date | Filing Date |
|---|---|---|---|
| CN202222273330.0U Active CN219041208U (zh) | 2022-08-29 | 2022-08-29 | 一种用于配电站定轨巡检的智能小车 |
Country Status (1)
| Country | Link |
|---|---|
| CN (1) | CN219041208U (zh) |
Cited By (1)
| Publication number | Priority date | Publication date | Assignee | Title |
|---|---|---|---|---|
| CN119926982A (zh) * | 2025-01-16 | 2025-05-06 | 马鞍山钢铁股份有限公司 | 一种智能冷轧定点设备巡检装置及巡检控制系统 |
-
2022
- 2022-08-29 CN CN202222273330.0U patent/CN219041208U/zh active Active
Cited By (1)
| Publication number | Priority date | Publication date | Assignee | Title |
|---|---|---|---|---|
| CN119926982A (zh) * | 2025-01-16 | 2025-05-06 | 马鞍山钢铁股份有限公司 | 一种智能冷轧定点设备巡检装置及巡检控制系统 |
Similar Documents
| Publication | Publication Date | Title |
|---|---|---|
| CN202145538U (zh) | 基于变电站移动式巡检装置的巡检系统 | |
| CN105835063B (zh) | 一种变电站室内巡检机器人系统及其巡检方法 | |
| CN205889197U (zh) | 一种无线自动充电智能巡逻机器人 | |
| CN204913887U (zh) | 无人值守变电站保护室内巡视及勘察机器人 | |
| CN202167775U (zh) | 基于移动通信技术的变电站巡检机器人远程数据采集系统 | |
| CN106340912B (zh) | 一种充电桩系统、控制方法及停车棚 | |
| CN103296753B (zh) | 用于光伏电站的监测系统 | |
| CN102354174A (zh) | 基于变电站移动式巡检装置的巡检系统及其巡检方法 | |
| CN208043128U (zh) | 一种变电站室内设备智能巡检机器人 | |
| CN107065868A (zh) | 一种基于巡检机器人的巡检系统 | |
| CN203616007U (zh) | 一种用于变电站的自动巡视测温装置 | |
| CN109572842B (zh) | 一种爬杆机构、爬杆智能巡检机器人及其变电站爬杆方法 | |
| CN107389130B (zh) | 智能灌溉巡检车以及灌溉方法 | |
| CN208444335U (zh) | 一种巡检系统 | |
| CN207134725U (zh) | 一种输电线路无人自检装置 | |
| CN104070516A (zh) | 一种变电站巡检方法和变电站巡检机器人 | |
| CN109283930A (zh) | 一种球状智能巡检机器人 | |
| CN219041208U (zh) | 一种用于配电站定轨巡检的智能小车 | |
| CN104122892A (zh) | 大型电机型式试验台智能巡检小车系统 | |
| CN207164045U (zh) | 智能灌溉巡检车 | |
| CN205983860U (zh) | 一种停车场的监控装置及系统 | |
| CN212170419U (zh) | 一种使用rgv型机器人的电缆隧道巡检系统 | |
| CN203312911U (zh) | 用于光伏电站的监测机器人 | |
| CN203311234U (zh) | 用于光伏电站的监测系统 | |
| CN203366398U (zh) | 一种变电站运行设备温度巡检小车 |
Legal Events
| Date | Code | Title | Description |
|---|---|---|---|
| GR01 | Patent grant | ||
| GR01 | Patent grant |