CN219034112U - An easy-to-adjust light-weight wall panel combined fixing frame - Google Patents
An easy-to-adjust light-weight wall panel combined fixing frame Download PDFInfo
- Publication number
- CN219034112U CN219034112U CN202320043658.5U CN202320043658U CN219034112U CN 219034112 U CN219034112 U CN 219034112U CN 202320043658 U CN202320043658 U CN 202320043658U CN 219034112 U CN219034112 U CN 219034112U
- Authority
- CN
- China
- Prior art keywords
- base
- rod
- fixedly connected
- transmission rod
- easy
- Prior art date
- Legal status (The legal status is an assumption and is not a legal conclusion. Google has not performed a legal analysis and makes no representation as to the accuracy of the status listed.)
- Expired - Fee Related
Links
Images
Classifications
-
- Y—GENERAL TAGGING OF NEW TECHNOLOGICAL DEVELOPMENTS; GENERAL TAGGING OF CROSS-SECTIONAL TECHNOLOGIES SPANNING OVER SEVERAL SECTIONS OF THE IPC; TECHNICAL SUBJECTS COVERED BY FORMER USPC CROSS-REFERENCE ART COLLECTIONS [XRACs] AND DIGESTS
- Y02—TECHNOLOGIES OR APPLICATIONS FOR MITIGATION OR ADAPTATION AGAINST CLIMATE CHANGE
- Y02E—REDUCTION OF GREENHOUSE GAS [GHG] EMISSIONS, RELATED TO ENERGY GENERATION, TRANSMISSION OR DISTRIBUTION
- Y02E10/00—Energy generation through renewable energy sources
- Y02E10/50—Photovoltaic [PV] energy
Landscapes
- Conveying And Assembling Of Building Elements In Situ (AREA)
Abstract
本申请公开了一种便于调节的轻体墙板组合式固定架,属于装配式建筑领域。一种便于调节的轻体墙板组合式固定架,包括底座,调节机构,转动安装于底座内,限位杆,限位杆一端铰接有安装座,另一端与调节机构插接配合,转轮,转动安装于底座一端,用于带动调节机构转动。通过向下按压转轮并带动转轮转动时,转轮带动螺杆转动,使得螺纹套与滑座配合,可带动限位杆进行角度调整,进而实现对墙板的竖直度调整,操作简单,使用方便。
The application discloses a light-weight wall panel combined fixing frame that is easy to adjust, and belongs to the field of prefabricated buildings. An easy-to-adjust light-weight wall panel combined fixing frame, including a base, an adjustment mechanism, which is installed in the base by rotation, and a limit rod. One end of the limit rod is hinged with a mounting seat, and the other end is plugged and matched with the adjustment mechanism. , rotatably mounted on one end of the base, used to drive the adjustment mechanism to rotate. By pressing down on the runner and driving the runner to rotate, the runner drives the screw to rotate, so that the threaded sleeve cooperates with the sliding seat, which can drive the limit rod to adjust the angle, and then realize the vertical adjustment of the wallboard, which is easy to operate. Easy to use.
Description
技术领域technical field
本申请涉及装配式建筑领域,更具体地说,涉及一种便于调节的轻体墙板组合式固定架。The present application relates to the field of prefabricated buildings, more specifically, to a light-weight wall panel combined fixing frame that is easy to adjust.
背景技术Background technique
轻体墙板是建筑用的轻质材料板体,墙板在装配完成后需要通过固定架与墙板、地面连接,用于调节墙板安装后的竖直度及稳定性,现有技术公开号为CN208009936U的专利文献提供用于辅助装配式预制墙板安装的斜支撑,上述中的现有技术方案虽然通过现有技术的结构可以实现与有关的有益效果,但是仍存在以下缺陷:Lightweight wallboard is a light material board body used in construction. After the wallboard is assembled, it needs to be connected with the wallboard and the ground through a fixing frame to adjust the verticality and stability of the wallboard after installation. The prior art is disclosed The patent document No. CN208009936U provides oblique supports for the installation of auxiliary prefabricated wallboards. Although the above-mentioned prior art solutions can achieve beneficial effects related to the structure of the prior art, there are still the following defects:
相关技术中,通过采用可拆卸的卡扣式连接方式将第一伸缩杆和第二伸缩杆连接在预制墙板与楼板或地面之间,结构简单,安装快捷高效,并且无需工人借助梯子或者其他工具攀爬到预制墙板的上部进行斜支撑的安装,保证了工人的安全,且易于施工、经济实用。In the related art, the first telescopic rod and the second telescopic rod are connected between the prefabricated wall panel and the floor or the ground by adopting a detachable snap-in connection method, which has a simple structure, quick and efficient installation, and does not require workers to rely on ladders or other The tool climbs to the upper part of the prefabricated wall panel to install the oblique support, which ensures the safety of workers, is easy to construct, and is economical and practical.
针对上述中的相关技术,发明人认为第一伸缩杆需要连接墙板的高处一侧,导致第一螺纹杆高度较高,不便于人工进行调节。因此,我们提出一种便于调节的轻体墙板组合式固定架。In view of the above-mentioned related technologies, the inventor believes that the first telescopic rod needs to be connected to the high side of the wallboard, resulting in a high height of the first threaded rod, which is not convenient for manual adjustment. Therefore, we propose an easy-to-adjust light-weight wall panel combined fixing frame.
实用新型内容Utility model content
为了改善上述背景技术中提出的问题,本申请提供一种便于调节的轻体墙板组合式固定架,In order to improve the problems raised in the above-mentioned background technology, the present application provides an easy-to-adjust lightweight wall panel combined fixing frame,
本申请提供的一种便于调节的轻体墙板组合式固定架,采用如下的技术方案:The application provides an easy-to-adjust lightweight wall panel combined fixing frame, which adopts the following technical scheme:
一种便于调节的轻体墙板组合式固定架,包括An easy-to-adjust light-weight wall panel combined fixing frame, comprising
底座;base;
调节机构,转动安装于所述底座内;The adjustment mechanism is rotatably installed in the base;
限位杆,所述限位杆一端铰接有安装座,另一端与调节机构插接配合;A limit rod, one end of the limit rod is hinged with a mounting seat, and the other end is plugged and matched with the adjustment mechanism;
转轮,转动安装于所述底座一端,用于带动调节机构转动。The runner is rotatably mounted on one end of the base, and is used to drive the adjustment mechanism to rotate.
通过采用上述技术方案,通过转动转轮,可带动调节机构转动,使得调节机构带动限位杆进行角度调节,实现带动墙板的调整。By adopting the above-mentioned technical scheme, by turning the runner, the adjustment mechanism can be driven to rotate, so that the adjustment mechanism can drive the limit rod to adjust the angle, and realize the adjustment of driving the wallboard.
可选的,所述底座包括由固定座、固定板组成。Optionally, the base includes a fixed base and a fixed plate.
可选的,所述调节机构包括与底座转动连接的螺杆,所述螺杆上螺纹配合有螺纹套,所述螺纹套上固定连接有滑座,所述滑座与底座滑动连接。Optionally, the adjustment mechanism includes a screw rod rotatably connected to the base, a threaded sleeve is threaded on the screw rod, a sliding seat is fixedly connected to the threaded sleeve, and the sliding seat is slidably connected to the base.
通过采用上述技术方案,螺杆转动时可带动滑动螺纹套运动,螺纹套与滑座配合使得滑座在底座上平移。By adopting the above technical scheme, the screw can drive the sliding threaded sleeve to move when the screw rotates, and the threaded sleeve cooperates with the sliding seat to make the sliding seat translate on the base.
可选的,所述滑座上铰接有套筒,所述套筒与限位杆插接配合。Optionally, a sleeve is hinged on the sliding seat, and the sleeve is plug-fitted with the limit rod.
通过采用上述技术方案,套筒与限位杆插接后可调节限位杆的角度,进而调节墙板的角度。By adopting the above technical solution, the angle of the limit rod can be adjusted after the sleeve is inserted into the limit rod, and then the angle of the wallboard can be adjusted.
可选的,所述转轮上固定连接有传动杆A,所述传动杆A上滑动连接有传动杆B,所述传动杆B与底座转动连接,且所述传动杆B一端固定连接有锥齿轮A,所述锥齿轮A与螺杆一端固定连接的锥齿轮B啮合连接。Optionally, a transmission rod A is fixedly connected to the runner, a transmission rod B is slidably connected to the transmission rod A, the transmission rod B is rotatably connected to the base, and one end of the transmission rod B is fixedly connected to a cone Gear A, said bevel gear A is engaged with bevel gear B fixedly connected to one end of the screw rod.
通过采用上述技术方案,转轮与传动杆A、传动杆B配合带动锥齿轮A转动,锥齿轮A与锥齿轮B啮合带动螺杆转动。By adopting the above technical scheme, the runner cooperates with the transmission rod A and the transmission rod B to drive the bevel gear A to rotate, and the bevel gear A and the bevel gear B mesh to drive the screw to rotate.
可选的,所述传动杆A上固定连接有限位板,所述限位板一侧通过弹簧与传动杆B弹性连接,所述限位板另一侧固定连接有多个卡块,所述底座上固定连接有固定筒,所述固定筒与卡块卡接配合。Optionally, the transmission rod A is fixedly connected with a limit plate, one side of the limit plate is elastically connected with the transmission rod B through a spring, and the other side of the limit plate is fixedly connected with a plurality of blocks. A fixed cylinder is fixedly connected to the base, and the fixed cylinder is clamped and matched with the clamping block.
通过采用上述技术方案,卡块与固定筒卡接时,转轮无法转动,向下按压限位板时,转轮可进行转动。By adopting the above technical solution, when the clamping block is engaged with the fixed cylinder, the running wheel cannot rotate, and when the limiting plate is pressed down, the running wheel can rotate.
综上所述,本申请包括以下至少一种有益技术效果:In summary, the present application includes at least one of the following beneficial technical effects:
1.通过向下按压转轮并带动转轮转动时,转轮带动螺杆转动,使得螺纹套与滑座配合,可带动限位杆进行角度调整,进而实现对墙板的竖直度调整,操作简单,使用方便。1. When the runner is pressed down and the runner is driven to rotate, the runner drives the screw to rotate, so that the threaded sleeve cooperates with the sliding seat, which can drive the limit rod to adjust the angle, and then realize the vertical adjustment of the wallboard. Operation Simple and easy to use.
2.通过转轮在不受外力时,弹簧带动限位板上升,并使卡块与固定筒卡接,既能够防止转轮被旁人进行误操作,同时能够防止螺杆转动,提升限位杆的稳定性。2. When the runner is not subjected to external force, the spring drives the limit plate to rise, and makes the clamping block engage with the fixed cylinder, which not only prevents the runner from being misoperated by others, but also prevents the screw from rotating and lifts the limit rod. stability.
附图说明Description of drawings
图1为本申请实施例的一种便于调节的轻体墙板组合式固定架的整体结构示意图;Fig. 1 is a schematic diagram of the overall structure of an easy-to-adjust lightweight wallboard combined fixing frame according to an embodiment of the present application;
图2为本申请实施例的一种便于调节的轻体墙板组合式固定架的底座内部结构示意图;Fig. 2 is a schematic diagram of the internal structure of the base of an easy-to-adjust lightweight wallboard combined fixing frame according to an embodiment of the present application;
图3为本申请实施例的一种便于调节的轻体墙板组合式固定架的固定筒结构解剖示意图;Fig. 3 is an anatomical schematic diagram of the fixed cylinder structure of an easy-to-adjust lightweight wallboard combined fixing frame according to the embodiment of the present application;
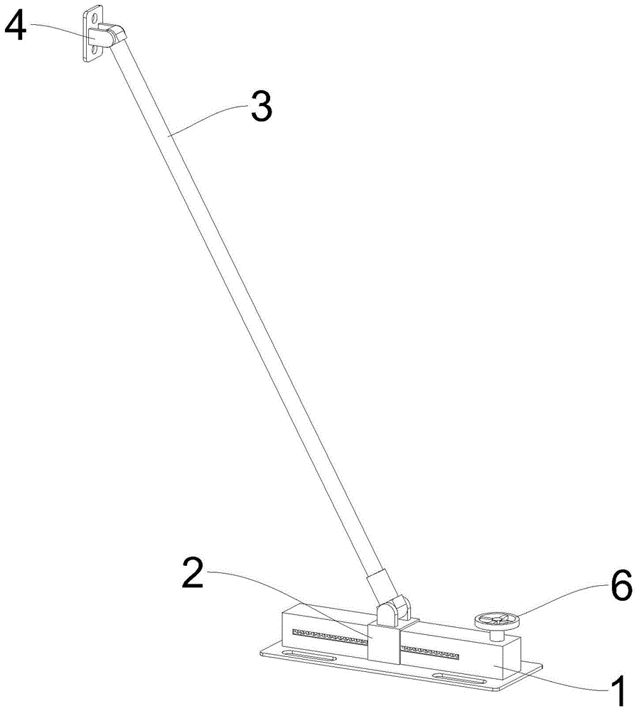
图中标号说明:1、底座;101、固定座;102、固定板;2、调节机构;201、螺杆;202、螺纹套;203、滑座;3、限位杆;4、安装座;5、套筒;6、转轮;7、传动杆A;8、传动杆B;9、锥齿轮A;10、锥齿轮B;11、限位板;12、弹簧;13、卡块;14、固定筒。Explanation of symbols in the figure: 1, base; 101, fixed seat; 102, fixed plate; 2, adjustment mechanism; 201, screw rod; 202, thread sleeve; 203, sliding seat; 3, limit rod; 4, mounting seat; 5 , sleeve; 6, runner; 7, transmission rod A; 8, transmission rod B; 9, bevel gear A; 10, bevel gear B; 11, limit plate; 12, spring; 13, block; 14, Fixed barrel.
具体实施方式Detailed ways
以下结合说明书附图对本申请作进一步详细说明。The present application will be described in further detail below in conjunction with the accompanying drawings of the description.
参照图1-3,本申请包括底座1,底座1内转动连接有调节机构2,调节机构2上连接有限位杆3,限位杆3一端铰接有安装座4,安装座4通过螺栓与墙板进行连接,底座1一端转动连接有转轮,通过转动转轮6可使调节机构2带动限位杆3进行角度调节,实现对墙板的竖直度调整。Referring to Figures 1-3, this application includes a
参照图2,底座1包括由固定座101、固定板102组成,固定板102的边角处均开设有通孔,固定板102通过通孔、螺栓与地面进行安装连接。Referring to FIG. 2 , the
参照图2,调节机构2包括与底座1转动连接的螺杆201,螺杆201上螺纹配合有螺纹套202,螺纹套202上固定连接有滑座203,滑座203与底座1滑动连接,螺杆201转动时带动螺纹套202运动,由于滑座203与底座1滑动配合,螺纹套202带动滑座203在底座1上左右平移。Referring to Fig. 2, the
参照图2,滑座203上铰接有套筒5,套筒5与限位杆3插接配合且安装座4与墙板连接后,滑座203的移动可实现限位杆3的角度调整。Referring to FIG. 2 , the sliding
参照图2与图3,转轮6上固定连接有传动杆A7,传动杆A7上滑动连接有传动杆B8,传动杆B8与底座1转动连接,且传动杆B8一端固定连接有锥齿轮A9,锥齿轮A9与螺杆201一端固定连接的锥齿轮B10啮合连接,转动转轮6时,传动杆A7、传动杆B8带动锥齿轮A9转动,使得锥齿轮A9与锥齿轮B10啮合带动螺杆201转动。Referring to Figure 2 and Figure 3, a transmission rod A7 is fixedly connected to the
参照图3,传动杆A7上固定连接有限位板11,限位板11一侧通过弹簧12与传动杆B8弹性连接,限位板11另一侧固定连接有多个卡块13,底座1上固定连接有固定筒14,转轮6在不受外力作用下,弹簧12带动限位板11上升,使得卡块13与固定筒14上开设的凹槽卡接,使得传动杆A7无法转动。Referring to Fig. 3, the
本申请实施例一种便于调节的轻体墙板组合式固定架的实施原理为:将固定板102通过螺栓安装于地面,且底座1垂直于墙板,当墙板安装完成后,将安装座4通过螺栓与墙板连接,并使限位杆3与套筒5插接,此时向下按压转轮6,使得传动杆A7下降,卡块13脱离与固定筒14的卡接,转动转轮6,传动杆A7、传动杆B8带动锥齿轮A9转动,使得锥齿轮A9与锥齿轮B10啮合带动螺杆201转动,螺杆201转动时带动螺纹套202运动,螺纹套202带动滑座203在底座1上平移进行调节限位杆3的角度,使得调节墙板的竖直度。The implementation principle of an easy-to-adjust lightweight wallboard combined fixing frame in the embodiment of the present application is as follows: the
Claims (6)
Priority Applications (1)
| Application Number | Priority Date | Filing Date | Title |
|---|---|---|---|
| CN202320043658.5U CN219034112U (en) | 2023-01-04 | 2023-01-04 | An easy-to-adjust light-weight wall panel combined fixing frame |
Applications Claiming Priority (1)
| Application Number | Priority Date | Filing Date | Title |
|---|---|---|---|
| CN202320043658.5U CN219034112U (en) | 2023-01-04 | 2023-01-04 | An easy-to-adjust light-weight wall panel combined fixing frame |
Publications (1)
| Publication Number | Publication Date |
|---|---|
| CN219034112U true CN219034112U (en) | 2023-05-16 |
Family
ID=86287682
Family Applications (1)
| Application Number | Title | Priority Date | Filing Date |
|---|---|---|---|
| CN202320043658.5U Expired - Fee Related CN219034112U (en) | 2023-01-04 | 2023-01-04 | An easy-to-adjust light-weight wall panel combined fixing frame |
Country Status (1)
| Country | Link |
|---|---|
| CN (1) | CN219034112U (en) |
-
2023
- 2023-01-04 CN CN202320043658.5U patent/CN219034112U/en not_active Expired - Fee Related
Similar Documents
| Publication | Publication Date | Title |
|---|---|---|
| CN220889545U (en) | Assembled wallboard mounting device | |
| CN212056853U (en) | Lighting device for construction | |
| CN210828380U (en) | Supporting device for prefabricated balcony slab | |
| CN219034112U (en) | An easy-to-adjust light-weight wall panel combined fixing frame | |
| CN220133536U (en) | Suspended ceiling installation equipment for building decoration construction | |
| CN220098315U (en) | A kind of lead glass lifting bracket | |
| CN221953284U (en) | Large-scale equipment maintenance is with adjusting support frame | |
| CN218715267U (en) | Adsorption type lifting curtain wall truss mechanism | |
| CN221001872U (en) | Safety construction frame for building engineering construction | |
| CN111424979A (en) | Connecting and supporting structure for building template | |
| CN217494783U (en) | A kind of ceramic floor tile processing and cutting equipment | |
| CN217394348U (en) | Positioning device for processing stainless steel doors and windows | |
| CN218434366U (en) | Elevator maintenance support fender bracket | |
| CN112267673B (en) | Aluminum formwork connection and fixing mechanism for civil engineering | |
| CN116638847A (en) | A building formwork hot pressing device | |
| CN214329808U (en) | Building construction operation platform | |
| CN217054216U (en) | A kind of support structure for wood wall panel installation | |
| CN221724250U (en) | A temporary lamp stand structure for building construction | |
| CN220131802U (en) | Stable wallboard lifting device | |
| CN217840852U (en) | Aluminum alloy template wallboard bottom regulator | |
| CN222140825U (en) | Building construction supporting equipment | |
| CN214275392U (en) | A lighting device for construction | |
| CN220036236U (en) | Independent strutting arrangement of assembled building construction | |
| CN219365484U (en) | Membrane plate fixing device | |
| CN222879225U (en) | A single-side support device for aluminum alloy template |
Legal Events
| Date | Code | Title | Description |
|---|---|---|---|
| GR01 | Patent grant | ||
| GR01 | Patent grant | ||
| CB03 | Change of inventor or designer information | ||
| CB03 | Change of inventor or designer information |
Inventor after: Jiang Guanghui Inventor after: Hou Jiangnan Inventor after: Wang Bin Inventor after: Tang Xiaoying Inventor before: Tang Xiaoying |
|
| TR01 | Transfer of patent right | ||
| TR01 | Transfer of patent right |
Effective date of registration: 20240905 Address after: No. 478 Taihua Street, Xinhua District, Shijiazhuang City, Hebei Province, China 050000 Patentee after: Jiang Guanghui Country or region after: China Address before: Room 501, Unit 3, Building 22, Fengjiayuan Community, Dongyue Street, Mount Taishan District, Tai'an City, Shandong Province, 271000 Patentee before: Tang Xiaoying Country or region before: China |
|
| CF01 | Termination of patent right due to non-payment of annual fee | ||
| CF01 | Termination of patent right due to non-payment of annual fee |
Granted publication date: 20230516 |
