CN219031130U - Unloading platform of concrete column top double-support cantilever truss - Google Patents
Unloading platform of concrete column top double-support cantilever truss Download PDFInfo
- Publication number
- CN219031130U CN219031130U CN202223206755.6U CN202223206755U CN219031130U CN 219031130 U CN219031130 U CN 219031130U CN 202223206755 U CN202223206755 U CN 202223206755U CN 219031130 U CN219031130 U CN 219031130U
- Authority
- CN
- China
- Prior art keywords
- support
- concrete
- cantilever
- cantilever truss
- truss
- Prior art date
- Legal status (The legal status is an assumption and is not a legal conclusion. Google has not performed a legal analysis and makes no representation as to the accuracy of the status listed.)
- Active
Links
- 229910000831 Steel Inorganic materials 0.000 claims description 14
- 239000010959 steel Substances 0.000 claims description 14
- 238000010276 construction Methods 0.000 abstract description 18
- 238000000034 method Methods 0.000 description 5
- 239000002131 composite material Substances 0.000 description 4
- 238000009415 formwork Methods 0.000 description 3
- 230000007547 defect Effects 0.000 description 1
- 238000012423 maintenance Methods 0.000 description 1
- 238000004519 manufacturing process Methods 0.000 description 1
- 239000000463 material Substances 0.000 description 1
Images
Landscapes
- Conveying And Assembling Of Building Elements In Situ (AREA)
Abstract
本实用新型提出一种混凝土柱顶双支座悬臂桁架的卸料平台,涉及仓储技术领域,该卸料平台包括:两根悬臂桁架,平行设置并具有水平间隔,各悬臂桁架具有上下间隔设置的上弦杆和下弦杆;平台板,平铺于两根悬臂桁架上并与上弦杆固定连接;至少两根混凝土支撑柱,分别支撑于悬臂桁架下方,各混凝土支撑柱的顶端固设有两个支座,两个支座沿悬臂桁架的长度方向间隔设置,上弦杆与支座的顶端固定连接,下弦杆与支座的侧壁固定连接。本实用新型提出的混凝土柱顶双支座悬臂桁架的卸料平台特降低施工费用,缩短施工工期。
The utility model proposes an unloading platform for cantilever trusses with double supports at the top of concrete columns, which relates to the technical field of storage. The upper chord and the lower chord; the platform slab is flatly laid on two cantilever trusses and fixedly connected with the upper chord; at least two concrete support columns are respectively supported under the cantilever trusses, and the top of each concrete support column is fixed with two supports. Two supports are arranged at intervals along the length direction of the cantilever truss, the upper chord is fixedly connected to the top of the support, and the lower chord is fixedly connected to the side wall of the support. The unloading platform of the double-support cantilever truss on the top of the concrete column proposed by the utility model can reduce the construction cost and shorten the construction period.
Description
技术领域technical field
本实用新型涉及仓储技术领域,特别涉及一种混凝土柱顶双支座悬臂桁架的卸料平台。The utility model relates to the technical field of storage, in particular to a discharge platform of a double-support cantilever truss at the top of a concrete column.
背景技术Background technique
在大型料库中,需要设置高架卸料平台用于物料的运输和装卸。高架卸料平台高度较高,通常在20m以上。目前,高架卸料平台主要采用两种结构,一种采用全混凝土结构,另一种悬挑主梁采用混凝土结构,次梁采用钢结构梁,楼板采用钢平台板或钢楼承板与混凝土的组合楼板。In a large warehouse, it is necessary to set up an elevated unloading platform for the transportation and loading and unloading of materials. The height of the elevated unloading platform is relatively high, usually above 20m. At present, the elevated unloading platform mainly adopts two structures, one is a full concrete structure, the other is a cantilevered main beam with a concrete structure, the secondary beam is a steel structure beam, and the floor is a steel platform slab or a combination of steel floor deck and concrete. Composite floors.
但是上述两种结构均具有缺陷,具体的,如果采用全混凝土结构,需要搭设满堂红脚手架或高架支撑用以支撑模板,混凝土现场浇注,养护完毕后再拆除模板和脚手架,施工繁琐,施工措施费高,工期长;如采用“悬挑混凝土主梁+钢结构次梁+钢平台板(组合楼板)”方式,仍然不能避免对悬挑主梁设置脚手架。However, both of the above two structures have defects. Specifically, if an all-concrete structure is used, it is necessary to set up a full house scaffolding or elevated support to support the formwork, pour the concrete on site, and remove the formwork and scaffolding after the maintenance is completed. The construction is cumbersome and the construction measures are expensive. , long construction period; if the method of "cantilevered concrete main beam + steel structure secondary beam + steel platform slab (composite floor)" is adopted, it is still unavoidable to set scaffolding on the cantilevered main beam.
有鉴于此,本发明人根据多年从事本领域和相关领域的生产设计经验,经过反复试验设计出一种混凝土柱顶双支座悬臂桁架的卸料平台,以期解决现有技术存在的问题。In view of this, based on years of experience in production and design in this field and related fields, the inventor has designed a kind of unloading platform for cantilever trusses with double supports on top of concrete columns through trial and error, in order to solve the problems existing in the prior art.
实用新型内容Utility model content
本实用新型的目的在于提供一种混凝土柱顶双支座悬臂桁架的卸料平台,降低施工费用,缩短施工工期。The purpose of the utility model is to provide a concrete column top double-support cantilever truss unloading platform, which reduces construction costs and shortens the construction period.
为达到上述目的,本实用新型提出一种混凝土柱顶双支座悬臂桁架的卸料平台,其中,所述卸料平台包括:In order to achieve the above purpose, the utility model proposes a discharge platform of a double-support cantilever truss at the top of a concrete column, wherein the discharge platform includes:
两根悬臂桁架,平行设置并具有水平间隔,各所述悬臂桁架具有上下间隔设置的上弦杆和下弦杆;Two cantilever trusses are arranged in parallel and have a horizontal interval, and each of the cantilever trusses has an upper chord and a lower chord arranged at intervals up and down;
平台板,平铺于两根悬臂桁架上并与所述上弦杆固定连接;The platform plate is flatly laid on two cantilever trusses and fixedly connected with the upper chord;
至少两根混凝土支撑柱,分别支撑于所述悬臂桁架下方,各所述混凝土支撑柱的顶端固设有两个支座,两个所述支座沿所述悬臂桁架的长度方向间隔设置,所述上弦杆与所述支座的顶端固定连接,所述下弦杆与所述支座的侧壁固定连接。At least two concrete support columns are respectively supported under the cantilever truss, and two supports are fixed at the top of each concrete support column, and the two support are arranged at intervals along the length direction of the cantilever truss. The upper chord is fixedly connected to the top end of the support, and the lower chord is fixedly connected to the side wall of the support.
与现有技术相比,本实用新型具有以下特点和优点:Compared with the prior art, the utility model has the following characteristics and advantages:
本实用新型提出的混凝土柱顶双支座悬臂桁架的卸料平台,将悬臂桁架直接放到混凝土柱顶作为悬臂大梁,悬臂桁架采用工厂预制,现场装配施工,降低了施工费用,缩短了施工工期。The utility model proposes the unloading platform of the double-support cantilever truss on the top of the concrete column. The cantilever truss is directly placed on the top of the concrete column as the cantilever beam. The cantilever truss is prefabricated in the factory and assembled on site, which reduces the construction cost and shortens the construction period. .
本实用新型提出的混凝土柱顶双支座悬臂桁架的卸料平台,在混凝土支撑柱的顶端设置有两个支座,两个支座具有一定间距,抗倾覆能力更强,非常适合高架工艺平台。The unloading platform of the double-support cantilever truss on the top of the concrete column proposed by the utility model is provided with two supports on the top of the concrete support column. The two supports have a certain distance, and the anti-overturning ability is stronger, which is very suitable for the elevated process platform. .
附图说明Description of drawings
在此描述的附图仅用于解释目的,而不意图以任何方式来限制本实用新型公开的范围。另外,图中的各部件的形状和比例尺寸等仅为示意性的,用于帮助对本实用新型的理解,并不是具体限定本实用新型各部件的形状和比例尺寸。本领域的技术人员在本实用新型的教导下,可以根据具体情况选择各种可能的形状和比例尺寸来实施本实用新型。The drawings described herein are for illustration purposes only and are not intended to limit the scope of the present disclosure in any way. In addition, the shapes and proportional dimensions of the components in the drawings are only schematic and are used to help the understanding of the present utility model, and do not specifically limit the shapes and proportional dimensions of the various components of the present utility model. Under the teaching of the utility model, those skilled in the art can choose various possible shapes and proportional dimensions according to specific conditions to implement the utility model.
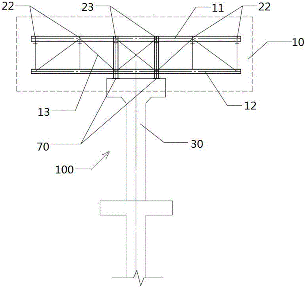
图1为本实用新型提出的混凝土柱顶双支座悬臂桁架的卸料平台的结构示意图;Fig. 1 is the structural representation of the unloading platform of the double-support cantilever truss of the concrete column top that the utility model proposes;
图2为本实用新型中支座的结构示意图;Fig. 2 is the structural representation of bearing in the utility model;
图3为本实用新型中单榀悬臂桁架的俯视图;Fig. 3 is the plan view of single cantilever truss in the utility model;
图4为本实用新型中双榀悬臂桁架的俯视图;Fig. 4 is the top view of the double cantilever truss in the utility model;
图5为本实用新型中单榀悬臂桁架的仰视图;Fig. 5 is the bottom view of single cantilever truss in the utility model;
图6为本实用新型中双榀悬臂桁架的仰视图。Fig. 6 is the bottom view of the double cantilever truss in the utility model.
附图标记说明:Explanation of reference signs:
100、卸料平台; 10、悬臂桁架;100. Unloading platform; 10. Cantilever truss;
11、上弦杆; 12、下弦杆;11. Upper chord; 12. Lower chord;
13、腹杆; 20、平台板;13. Web bar; 20. Platform plate;
21、平台板本体; 22、支撑梁;21. Platform plate body; 22. Support beam;
23、次梁; 30、混凝土支撑柱;23. Secondary beam; 30. Concrete support column;
31、第一抗剪坑;31. The first shear pit;
70、支座; 71、第一抗剪键;70. Support; 71. The first shear key;
72、锚栓; 73、第一连接螺母;72, anchor bolt; 73, the first connecting nut;
74、第二抗剪键。74. The second shear key.
具体实施方式Detailed ways
结合附图和本实用新型具体实施方式的描述,能够更加清楚地了解本实用新型的细节。但是,在此描述的本实用新型的具体实施方式,仅用于解释本实用新型的目的,而不能以任何方式理解成是对本实用新型的限制。在本实用新型的教导下,技术人员可以构想基于本实用新型的任意可能的变形,这些都应被视为属于本实用新型的范围。The details of the utility model can be understood more clearly in combination with the accompanying drawings and the description of the specific implementation of the utility model. However, the specific implementation manners of the utility model described here are only for the purpose of explaining the utility model, and cannot be construed as limiting the utility model in any way. Under the teaching of the present utility model, any possible deformation based on the present utility model can be conceived by a skilled person, and these should be regarded as belonging to the scope of the present utility model.
如图1至图6所示,本实用新型提出了一种混凝土柱顶双支座悬臂桁架的卸料平台100,该卸料平台包括100包括两根悬臂桁架10、平台板20和至少两根混凝土支撑柱30,其中,两根悬臂桁架10平行设置并在水平方向上具有间隔,各悬臂桁架10具有上下间隔设置的上弦杆11和下弦杆12;平台板20平铺于两根悬臂桁架10上并与上弦杆11固定连接;两根混凝土支撑柱30分别支撑于悬臂桁架10下方,各混凝土支撑柱30的顶端固设有两个支座70,两个支座70沿悬臂桁架10的长度方向间隔设置,上弦杆11与支座70的顶端固定连接,下弦杆12与支座70的侧壁固定连接。As shown in Figures 1 to 6, the utility model proposes an
本实用新型提出的混凝土柱顶双支座悬臂桁架的卸料平台100,利用悬臂桁架10替代混凝土大梁,由于悬臂桁架10可以在工厂预制后,再运至现场装配施工,无需再搭设脚手架,大大降低了施工费用,缩短了施工工期。The
本实用新型提出的混凝土柱顶双支座悬臂桁架的卸料平台100,其悬臂桁架10的上弦杆11与支座70的顶端固定连接,下弦杆12与支座70的侧壁固定连接,采用上述结构,悬臂桁架10与支座70具有两个刚性连接位置,增强了悬臂桁架10与支座之间的连接强度,保证了整个卸料平台100的牢度程度。The utility model proposes the
本实用新型提出的混凝土柱顶双支座悬臂桁架的卸料平台100,具有承载能力高,结构占用空间高度小,也可以降低高架的卸料平台的标高及料库封闭屋面的高度,降低综合造价。The
本实用新型提出的混凝土柱顶双支座悬臂桁架的卸料平台100,其悬臂桁架10在工厂预制而成,装配时,先将上弦杆11与支座70固定连接在一起,再将下弦杆12与支座70的侧壁固定连接在一起。The utility model proposes the
在本实用新型一个可选的实施方式中,悬臂桁架10为钢制悬臂桁架,且该悬臂桁架10在工厂预制而成。In an optional embodiment of the present invention, the
在本实用新型一个可选的实施方式中,上弦杆11和下弦杆12之间连接有多个腹杆13,以形成一个组合桁架结构,具有更高的承载能力。In an optional embodiment of the present invention, a plurality of
在一个可选的例子中,上弦杆11、下弦杆12及腹杆13均为钢杆。In an optional example, the
进一步的,上弦杆11的横截面和下弦杆12的横截面可以为工字形、矩形或圆形。Further, the cross section of the
在本实用新型一个可选的实施方式中,平台板20包括平台板本体21和多个支承梁22,多个支承梁22沿上弦杆11的长度方向顺序间隔排列,以支承卸料车及其轨道的重量,各支承梁22的两端分别与两个上弦杆11固定连接,平台板本体21平铺设于多个支承梁22上。多个支承梁22用于支承卸料车轨道及平台板本体21的重量。In an optional embodiment of the present utility model, the platform slab 20 includes a
在该实施方式一个可选的例子中,在与支座70对位配合的位置处设有次梁23,次梁23的两端分别与两个上弦杆11相连接。In an optional example of this embodiment, a
在该实施方式一个可选的例子中,支撑梁22、次梁23分别为钢梁,且支撑梁22、次梁23分别与上弦杆11焊接。In an optional example of this embodiment, the
在该实施方式一个可选的例子中,平台板板体21为钢板或钢-混凝土组合楼板。In an optional example of this embodiment, the
在本实用新型一个可选的实施方式中,在混凝土支撑柱30的柱顶左右两侧外伸牛腿,形成T型混凝土柱顶,以保证两个支座70之间具有足够的间隔,进一步提高卸料平台100的抗倾覆能力。In an optional embodiment of the present invention, the corbels are extended on the left and right sides of the top of the
在本实用新型一个可选的实施方式中,支座70的底部具有用于连接的底座,底座下设第一抗剪键71,混凝土支撑柱30的顶部设有与第一抗剪键71对位配合的第一抗剪坑31,第一抗剪坑31内填充有二次灌浆的混凝土。该二次灌浆的混凝土的浇筑在悬臂桁架10安装就位后进行。In an optional embodiment of the present utility model, the bottom of the
在该实施方式一个可选的例子中,支座70底部还设置有锚栓72和第一连接螺母73,锚栓72的一端预埋在混凝土支撑柱30内,锚栓72的另一端向上贯穿底座、下弦杆12和第一连接螺母73,锚栓72与第一连接螺母73连接并将支座70和下弦杆12连接在一起。In an optional example of this embodiment, an
在一个可选的例子中,锚栓72的底部下设有第二抗剪键74。In an optional example, the bottom of the
在一个可选的例子中,支座70、锚栓72和第一连接螺母73均采用钢材制作而成。In an optional example, the
在一个可选的例子中,上弦杆11焊接于支座70的顶端。In an optional example, the
在本实用新型一个可选的实施方式中,悬臂桁架10为单榀桁架或双榀桁架。当悬臂桁架10较长、卸料设备荷载较大时,采用双榀桁架,反之采用单榀桁架。In an optional embodiment of the present invention, the
在一个可选的例子中,悬臂桁架10为单榀桁架,即悬臂桁架10具有一个上弦杆11和一个下弦杆12。In an optional example, the
在另一个可选的例子中,悬臂桁架10为双榀桁架,即悬臂桁架10具有两个平行设置的上弦杆11和两个平行设置的下弦杆12。In another optional example, the
进一步的,两个上弦杆11之间设置有多个支撑杆,将悬臂桁架10形成一个组合桁架结构,提高悬臂桁架10的整体性和承载能力,进一步保证悬臂桁架的稳定性。Furthermore, a plurality of support rods are arranged between the two
本实用新型提出的混凝土柱顶双支座悬臂桁架的卸料平台100,与以往全混凝土结构或“悬挑混凝土主梁+钢结构平台次梁”的做法相比,不需要设置满堂红脚手架或高架模板支撑,主结构避免了现场混凝土浇筑施工的繁琐工序。The
本实用新型提出的混凝土柱顶双支座悬臂桁架的卸料平台100,其悬臂桁架10均可由工厂预制,现场工业化装配,施工环保,没有临时措施费用,大大降低了施工成本,大大缩短了施工工期。经测算,与全混凝土结构相比,本实用新型提出的混凝土柱顶双支座悬臂桁架的卸料平台100的造价可降低40%,施工工期缩短40%。The utility model proposes the
针对上述各实施方式的详细解释,其目的仅在于对本实用新型进行解释,以便于能够更好地理解本实用新型,但是,这些描述不能以任何理由解释成是对本实用新型的限制,特别是,在不同的实施方式中描述的各个特征也可以相互任意组合,从而组成其他实施方式,除了有明确相反的描述,这些特征应被理解为能够应用于任何一个实施方式中,而并不仅局限于所描述的实施方式。For the detailed explanations of the above-mentioned embodiments, the purpose is only to explain the utility model so as to better understand the utility model, but these descriptions cannot be interpreted as a limitation to the utility model for any reason, especially, The various features described in different implementations can also be combined arbitrarily with each other to form other implementations. Unless there is an explicit description to the contrary, these features should be understood as being applicable to any implementation, and are not limited to all of them. described implementation.
Claims (10)
Priority Applications (1)
| Application Number | Priority Date | Filing Date | Title |
|---|---|---|---|
| CN202223206755.6U CN219031130U (en) | 2022-11-30 | 2022-11-30 | Unloading platform of concrete column top double-support cantilever truss |
Applications Claiming Priority (1)
| Application Number | Priority Date | Filing Date | Title |
|---|---|---|---|
| CN202223206755.6U CN219031130U (en) | 2022-11-30 | 2022-11-30 | Unloading platform of concrete column top double-support cantilever truss |
Publications (1)
| Publication Number | Publication Date |
|---|---|
| CN219031130U true CN219031130U (en) | 2023-05-16 |
Family
ID=86285653
Family Applications (1)
| Application Number | Title | Priority Date | Filing Date |
|---|---|---|---|
| CN202223206755.6U Active CN219031130U (en) | 2022-11-30 | 2022-11-30 | Unloading platform of concrete column top double-support cantilever truss |
Country Status (1)
| Country | Link |
|---|---|
| CN (1) | CN219031130U (en) |
Cited By (1)
| Publication number | Priority date | Publication date | Assignee | Title |
|---|---|---|---|---|
| CN115783823A (en) * | 2022-11-30 | 2023-03-14 | 中冶京诚工程技术有限公司 | Platform of unloading of concrete column top double support cantilever truss |
-
2022
- 2022-11-30 CN CN202223206755.6U patent/CN219031130U/en active Active
Cited By (2)
| Publication number | Priority date | Publication date | Assignee | Title |
|---|---|---|---|---|
| CN115783823A (en) * | 2022-11-30 | 2023-03-14 | 中冶京诚工程技术有限公司 | Platform of unloading of concrete column top double support cantilever truss |
| CN115783823B (en) * | 2022-11-30 | 2025-09-09 | 中冶京诚工程技术有限公司 | Unloading platform of concrete column top double-support cantilever truss |
Similar Documents
| Publication | Publication Date | Title |
|---|---|---|
| CN204662235U (en) | A kind of steel plate combination T beam bridge | |
| JP7370626B2 (en) | Side span support structure for a continuous T-girder viaduct spanning the existing railway line | |
| CN108222480B (en) | High-altitude cantilever main truss type steel formwork construction platform | |
| CN111254800A (en) | A composite beam suitable for urban bridges and its construction method | |
| CN111766150A (en) | Loading reaction device used in static load test of high-speed rail box girder | |
| CN219031130U (en) | Unloading platform of concrete column top double-support cantilever truss | |
| CN218881633U (en) | A unloading platform for a single-support cantilever truss on top of a concrete column | |
| CN113089843A (en) | Steel beam platform structure for C-shaped stock ground | |
| CN115783823B (en) | Unloading platform of concrete column top double-support cantilever truss | |
| CN218643913U (en) | Unloading platform for cantilever truss on side of concrete column | |
| CN115717483A (en) | Platform of unloading of concrete column top single support cantilever truss | |
| CN212336080U (en) | Assembled tower crane foundation structure | |
| CN218881634U (en) | Unloading platform of column side cantilever truss | |
| CN112727157A (en) | Assembled double-column overhead station | |
| CN220504566U (en) | Unloading platform of cantilever steel beam on top of concrete column | |
| CN217678547U (en) | Large-span steel trestle structure | |
| CN115749314A (en) | Unloading platform of column side cantilever truss | |
| CN117488647A (en) | Combined beam suitable for upper and lower two-layer steel truss web rods of overhead in urban area and construction method | |
| CN215629403U (en) | Supporting system for temporary via hole of bridge girder erection machine | |
| CN112049253B (en) | Truss body and concrete structure connecting node, truss and method | |
| CN211312231U (en) | A bearing support for construction of cast-in-place bridge superstructure | |
| CN209906223U (en) | Beam gantry crane | |
| CN220848253U (en) | Prefabricated floor slab template suitable for steel construction | |
| CN115853291A (en) | Unloading platform for cantilever truss on side of concrete column | |
| CN221646160U (en) | Open pit mine elevated unloading room support structure |
Legal Events
| Date | Code | Title | Description |
|---|---|---|---|
| GR01 | Patent grant | ||
| GR01 | Patent grant |
