CN219003908U - Automobile parts maintenance cleaning device - Google Patents
Automobile parts maintenance cleaning device Download PDFInfo
- Publication number
- CN219003908U CN219003908U CN202222897553.4U CN202222897553U CN219003908U CN 219003908 U CN219003908 U CN 219003908U CN 202222897553 U CN202222897553 U CN 202222897553U CN 219003908 U CN219003908 U CN 219003908U
- Authority
- CN
- China
- Prior art keywords
- fixedly connected
- wall
- box
- cleaning
- motor
- Prior art date
- Legal status (The legal status is an assumption and is not a legal conclusion. Google has not performed a legal analysis and makes no representation as to the accuracy of the status listed.)
- Expired - Fee Related
Links
- 238000004140 cleaning Methods 0.000 title claims abstract description 45
- 238000012423 maintenance Methods 0.000 title claims abstract description 18
- 230000007246 mechanism Effects 0.000 claims abstract description 34
- 238000001035 drying Methods 0.000 claims abstract description 25
- XLYOFNOQVPJJNP-UHFFFAOYSA-N water Substances O XLYOFNOQVPJJNP-UHFFFAOYSA-N 0.000 claims abstract description 14
- 230000005540 biological transmission Effects 0.000 claims abstract description 8
- 239000007921 spray Substances 0.000 claims description 3
- 230000000149 penetrating effect Effects 0.000 abstract 1
- 238000000034 method Methods 0.000 description 7
- 238000010586 diagram Methods 0.000 description 4
- 238000012986 modification Methods 0.000 description 2
- 230000004048 modification Effects 0.000 description 2
- 230000009286 beneficial effect Effects 0.000 description 1
- 238000004891 communication Methods 0.000 description 1
- 238000005034 decoration Methods 0.000 description 1
- 230000007812 deficiency Effects 0.000 description 1
- 238000011161 development Methods 0.000 description 1
- 230000000694 effects Effects 0.000 description 1
- 238000005516 engineering process Methods 0.000 description 1
- 239000000284 extract Substances 0.000 description 1
- 238000007689 inspection Methods 0.000 description 1
- 238000009434 installation Methods 0.000 description 1
- 238000005406 washing Methods 0.000 description 1
Images
Landscapes
- Cleaning By Liquid Or Steam (AREA)
Abstract
本实用新型涉及一种汽车零部件维修保养清理装置,包括固定座,所述固定座的顶部设有清洗机构,所述固定座的顶部设有干燥机构,所述固定座顶部设有依次贯穿清洗机构和干燥机构的传输机构,所述清洗机构包括设在固定座顶部的清洗箱,所述清洗箱的外壁固定连接有水泵,所述水泵的出管固定连接有固定管,所述固定管的外壁固定连接有第一圆环,所述第一圆环的外壁活动连接有第一转筒,所述第一转筒的底部固定连接有转轴,所述转轴的底部固定连接有第一电机,所述第一电机的外壁固定连接有第一电机箱,所述第一转筒的顶部固定连接有第一喷管。该汽车零部件维修保养清理装置,具备方便对清洗的零件进行干燥等优点。
The utility model relates to a maintenance and cleaning device for auto parts, which comprises a fixing seat, the top of the fixing seat is provided with a cleaning mechanism, the top of the fixing seat is provided with a drying mechanism, and the top of the fixing seat is provided with sequentially penetrating cleaning mechanisms. mechanism and the transmission mechanism of the drying mechanism, the cleaning mechanism includes a cleaning box located on the top of the fixed seat, the outer wall of the cleaning box is fixedly connected with a water pump, the outlet pipe of the water pump is fixedly connected with a fixed pipe, and the fixed pipe The outer wall is fixedly connected with a first ring, the outer wall of the first ring is movably connected with a first drum, the bottom of the first drum is fixedly connected with a rotating shaft, and the bottom of the rotating shaft is fixedly connected with a first motor, The outer wall of the first motor is fixedly connected with a first motor box, and the top of the first drum is fixedly connected with a first nozzle. The auto parts maintenance and cleaning device has the advantages of being convenient to dry the cleaned parts and the like.
Description
技术领域technical field
本实用新型涉及汽车维修保养技术领域,具体为一种汽车零部件维修保养清理装置。The utility model relates to the technical field of automobile maintenance, in particular to an automobile parts maintenance and cleaning device.
背景技术Background technique
随着社会不断的发展,出门乘车已经代替了人工行走,因此对于车辆而言,是比较普遍的,为了使得乘坐比较舒适,在车辆内会安装内饰,为了保持洁净和卫生,需要进行定期的清洗,传统的清洗为了节省体力都是进行洗衣机的自动清洗。With the continuous development of society, going out by car has replaced manual walking, so it is relatively common for vehicles. In order to make the ride more comfortable, interior decorations will be installed in the vehicle. In order to keep clean and hygienic, regular inspections are required. In order to save energy, the traditional cleaning is the automatic cleaning of the washing machine.
现有技术CN201910067992.2公开了一种汽车保养维修用内饰清洁装置,该专利使用比较方便,便于转动清理,冲洗清理,使得清洁方便,便于维护,减轻劳动强度,成本较低,便于重复使用水源的装置,但是该专利还存在一些不足,不方便对清洗的零件进行干燥。The prior art CN201910067992.2 discloses an interior cleaning device for automobile maintenance and repair. This patent is relatively convenient to use, easy to rotate and clean, rinse and clean, so that it is convenient to clean, easy to maintain, reduce labor intensity, low cost, and easy to reuse The device of water source, but this patent also has some deficiencies, it is inconvenient to dry the cleaned parts.
实用新型内容Utility model content
本实用新型的目的是为了解决现有技术中存在的不方便对清洗的零件进行干燥问题,而提出的一种汽车零部件维修保养清理装置。The purpose of the utility model is to solve the problem in the prior art that it is inconvenient to dry the cleaned parts, and proposes a maintenance and cleaning device for auto parts.
为实现上述目的,本实用新型提供如下技术方案:In order to achieve the above object, the utility model provides the following technical solutions:
一种汽车零部件维修保养清理装置,包括固定座,所述固定座的顶部设有清洗机构,所述固定座的顶部设有干燥机构,所述固定座顶部设有依次贯穿清洗机构和干燥机构的传输机构。A maintenance and cleaning device for auto parts, comprising a fixing seat, the top of the fixing seat is provided with a cleaning mechanism, the top of the fixing seat is provided with a drying mechanism, and the top of the fixing seat is provided with a cleaning mechanism and a drying mechanism in sequence the transmission mechanism.
进一步,所述清洗机构包括设在固定座顶部的清洗箱,所述清洗箱的外壁固定连接有水泵,所述水泵的出管固定连接有固定管。Further, the cleaning mechanism includes a cleaning box arranged on the top of the fixing seat, a water pump is fixedly connected to the outer wall of the cleaning box, and a fixed pipe is fixedly connected to the outlet pipe of the water pump.
进一步,所述固定管的外壁固定连接有第一圆环,所述第一圆环的外壁活动连接有第一转筒,所述第一转筒的底部固定连接有转轴。Further, the outer wall of the fixed pipe is fixedly connected with a first ring, the outer wall of the first ring is movably connected with a first drum, and the bottom of the first drum is fixedly connected with a rotating shaft.
进一步,所述转轴的底部固定连接有第一电机,所述第一电机的外壁固定连接有第一电机箱,所述第一转筒的顶部固定连接有第一喷管。Further, a first motor is fixedly connected to the bottom of the rotating shaft, a first motor box is fixedly connected to the outer wall of the first motor, and a first nozzle is fixedly connected to the top of the first drum.
进一步,所述传输机构包括设置在固定座顶部的四个支柱,所述支柱的外壁固定连接有电动机,所述电动机的输出轴固定连接有转杆。Further, the transmission mechanism includes four pillars arranged on the top of the fixing base, the outer walls of the pillars are fixedly connected with the motor, and the output shaft of the motor is fixedly connected with the rotating rod.
进一步,所述转杆的外壁活动连接有传送带,所述传送带的外壁固定连接有固定块,所述固定块的内部转动连接有挂钩。Further, the outer wall of the rotating rod is movably connected with a conveyor belt, the outer wall of the conveyor belt is fixedly connected with a fixed block, and the inside of the fixed block is rotatably connected with a hook.
进一步,所述干燥机构包括设置在固定座顶部干燥箱,所述干燥箱的外壁固定连接有气泵,所述气泵的出管固定连接有连接管,所述连接管的外壁固定连接有第二圆环。Further, the drying mechanism includes a drying box arranged on the top of the fixed seat, an air pump is fixedly connected to the outer wall of the drying box, a connecting pipe is fixedly connected to the outlet pipe of the air pump, and a second round pipe is fixedly connected to the outer wall of the connecting pipe. ring.
进一步,所述第二圆环的外壁转动连接有第二转筒,所述第二转筒的顶部固定连接有第二喷管,所述第二转筒的底部固定连接有转柱,所述转柱的底部固定连接有第二电机,所述第二电机的外壁固定连接有第二电机箱,所述气泵的进管设有固定箱,所述固定箱的顶部固定连接有抽湿器,所述固定箱远离气泵的一侧开设有网孔。Further, the outer wall of the second ring is rotatably connected with a second drum, the top of the second drum is fixedly connected with a second nozzle, and the bottom of the second drum is fixedly connected with a rotating column. The bottom of the rotating column is fixedly connected with a second motor, the outer wall of the second motor is fixedly connected with a second motor box, the inlet pipe of the air pump is provided with a fixed box, and the top of the fixed box is fixedly connected with a dehumidifier, A mesh is opened on the side of the fixed box away from the air pump.
与现有技术相比,本申请的有益效果是:Compared with prior art, the beneficial effect of the present application is:
该汽车零部件维修保养清理装置,通过电动机带动传送带在清洗箱和干燥箱内部转动,由汽车零部件在挂钩上放置,汽车零件随传送带转动,然后通过水泵抽取外界水经过固定管进入第一转筒,由第一转筒上的第一喷管进行喷水清洗,然后通过汽车零件转动至干燥箱内部,由气泵抽取外界的气体经过固定箱,由抽湿器进行抽湿,气体经过连接管进入第二转筒的内部,对汽车零件干燥,方便对清洗的零件进行干燥。The auto parts maintenance and cleaning device uses a motor to drive the conveyor belt to rotate inside the cleaning box and drying box. The auto parts are placed on the hook, and the auto parts rotate with the conveyor belt. The cylinder is sprayed and cleaned by the first nozzle on the first cylinder, and then rotated to the inside of the drying box through the auto parts, the air pump draws the outside gas through the fixed box, and dehumidifies it by the dehumidifier, and the gas passes through the connecting pipe Enter the inside of the second drum to dry the car parts, which is convenient for drying the cleaned parts.
附图说明Description of drawings
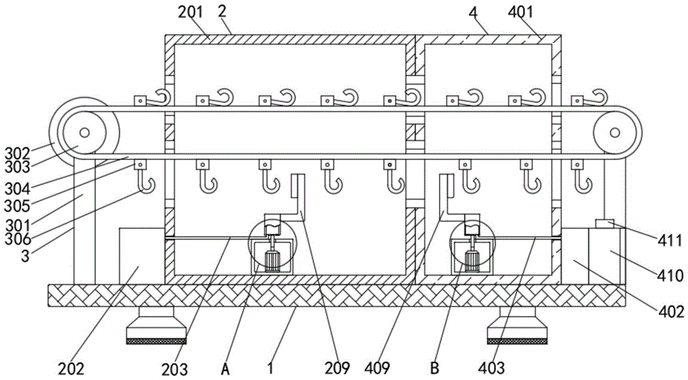
图1为本实用新型结构示意图;Fig. 1 is the structural representation of the utility model;
图2为本实用新型图1中A部放大结构示意图;Fig. 2 is the schematic diagram of enlarged structure of part A in Fig. 1 of the utility model;
图3为本实用新型图1中B部放大结构示意图;Fig. 3 is a schematic diagram of enlarged structure of part B in Fig. 1 of the utility model;
图4为本实用新型立体结构示意图。Fig. 4 is a schematic diagram of the three-dimensional structure of the utility model.
图中:1、固定座;2、清洗机构;201、清洗箱;202、水泵;203、固定管;204、第一圆环;205、第一转筒;206、转轴;207、第一电机箱;208、第一电机;209、第一喷管;3、传输机构;301、支柱;302、电动机;303、转杆;304、传送带;305、固定块;306、挂钩;4、干燥机构;401、干燥箱;402、气泵;403、连接管;404、第二圆环;405、第二转筒;406、转柱;407、第二电机箱;408、第二电机;409、第二喷管;410、固定箱;411、抽湿器。Among the figure: 1, fixed seat; 2, cleaning mechanism; 201, cleaning box; 202, water pump; 203, fixed pipe; 204, the first ring; 205, the first drum; 208, the first motor; 209, the first nozzle; 3, the transmission mechanism; 301, the pillar; 302, the motor; 303, the rotating rod; 304, the conveyor belt; 305, the fixed block; 306, the hook; 4, the drying mechanism ; 401, drying oven; 402, air pump; 403, connecting pipe; 404, second ring; 405, second drum; 406, rotating column; 407, second motor box; 408, second motor; Two spray pipes; 410, fixed box; 411, dehumidifier.
具体实施方式Detailed ways
下面将结合本实用新型实施例中的附图,对本实用新型实施例中的技术方案进行清楚、完整地描述,显然,所描述的实施例仅仅是本实用新型一部分实施例,而不是全部的实施例。基于本实用新型中的实施例,本领域普通技术人员在没有做出创造性劳动前提下所获得的所有其他实施例,都属于本实用新型保护的范围。The technical solutions in the embodiments of the present invention will be clearly and completely described below in conjunction with the accompanying drawings in the embodiments of the present invention. Obviously, the described embodiments are only part of the embodiments of the present invention, not all of them. example. Based on the embodiments of the present utility model, all other embodiments obtained by persons of ordinary skill in the art without making creative efforts belong to the scope of protection of the present utility model.
需要说明的是,这些附图均为简化的示意图,仅以示意方式说明本实用新型的基本结构,因此其仅显示与本实用新型有关的构成。It should be noted that these drawings are all simplified schematic diagrams, and only schematically illustrate the basic structure of the utility model, so they only show the configurations related to the utility model.
在本实用新型的描述中,需要理解的是,术语“中心”、“纵向”、“横向”、“上”、“下”、“前”、“后”、“左”、“右”、“竖直”、“水平”、“顶”、“底”、“内”和“外”等指示的方位或位置关系为基于附图所示的方位或位置关系,仅是为了便于描述本实用新型和简化描述,而不是指示或暗示所指的装置或元件必须具有特定的方位、以特定的方位构造和操作,因此不能理解为对本实用新型的限制,此外,术语“第一”、“第二”仅用于描述目的,而不能理解为指示或暗示相对重要性或者隐含指明所指示的技术特征的数量,由此,限定有“第一”、“第二”的特征可以明示或者隐含地包括一个或者更多个该特征,在本实用新型的描述中,除非另有说明,“多个”的含义是两个或两个以上。In describing the present utility model, it should be understood that the terms "center", "longitudinal", "transverse", "upper", "lower", "front", "rear", "left", "right", The orientations or positional relationships indicated by "vertical", "horizontal", "top", "bottom", "inner" and "outer" are based on the orientations or positional relationships shown in the drawings, and are only for the convenience of describing the present invention. novel and simplified description, rather than indicating or implying that the device or element referred to must have a specific orientation, be constructed and operated in a specific orientation, and therefore cannot be construed as limiting the utility model. In addition, the terms "first", "second Two" is used for descriptive purposes only, and cannot be understood as indicating or implying the relative importance or implicitly indicating the number of indicated technical features. Therefore, the features defined as "first" and "second" can be expressed or implied Inclusively include one or more of these features, and in the description of the present utility model, unless otherwise specified, "plurality" means two or more.
在本实用新型的描述中,需要说明的是,除非另有明确的规定和限定,术语“安装”、“相连”和“连接”应做广义理解,例如,可以是固定连接,也可以是可拆卸连接,或一体地连接,可以是机械连接,也可以是电连接,可以是直接相连,也可以通过中间媒介间接相连,可以是两个元件内部的连通,对于本领域的普通技术人员而言,可以具体情况理解上述术语在本实用新型中的具体含义。In the description of the present utility model, it should be noted that, unless otherwise clearly stipulated and limited, the terms "installation", "connection" and "connection" should be interpreted in a broad sense, for example, it can be a fixed connection or a flexible connection. Detachable connection, or integral connection, can be mechanical connection or electrical connection, can be directly connected, can also be indirectly connected through an intermediary, and can be internal communication between two components. For those of ordinary skill in the art , the specific meanings of the above-mentioned terms in the present utility model can be understood in specific situations.
请参阅图1-4,本申请提出了一种汽车零部件维修保养清理装置,用于对汽车零件进行清洗干燥,包括固定座1,固定座1的顶部设有清洗机构2,固定座1的顶部设有干燥机构4,固定座1顶部设有依次贯穿清洗机构2和干燥机构4的传输机构3。Please refer to Fig. 1-4, this application proposes a kind of auto parts maintenance and cleaning device, is used for cleaning and drying auto parts, comprises fixed
需要说明的是,本实施例中,用于水泵202抽取外界的水进入固定管203,清洗机构2包括设在固定座1顶部的清洗箱201,清洗箱201的外壁固定连接有水泵202,水泵202的出管固定连接有固定管203。It should be noted that, in the present embodiment, the
进一步的,用于转轴206带动第一转筒205在第一圆环204和固定管203上转动,固定管203的外壁固定连接有第一圆环204,第一圆环204的外壁活动连接有第一转筒205,第一转筒205的底部固定连接有转轴206。Further, the rotating
需要说明的是,用于第一电机208带动第一转筒205上的第一喷管209转动,转轴206的底部固定连接有第一电机208,第一电机208的外壁固定连接有第一电机箱207,第一转筒205的顶部固定连接有第一喷管209。It should be noted that, for the
需要说明的是,用于电动机302带动转杆303在支柱301上转动,传输机构3包括设置在固定座1顶部的四个支柱301,支柱301的外壁固定连接有电动机302,电动机302的输出轴固定连接有转杆303。It should be noted that, for the
为了进一步的提高挂取汽车零件效果,转杆303的外壁活动连接有传送带304,传送带304的外壁固定连接有固定块305,固定块305的内部转动连接有挂钩306。In order to further improve the effect of hanging and picking up auto parts, the outer wall of the rotating
需要进一步补充的是,用于气泵402抽取外界的气体进入连接管403的内部,干燥机构4包括设置在固定座1顶部干燥箱401,干燥箱401的外壁固定连接有气泵402,气泵402的出管固定连接有连接管403,连接管403的外壁固定连接有第二圆环404。What needs to be further added is that the
进一步需要说明的是,用于第二电机408带动转柱406上的第二转筒405转动,对固定箱410内部的气体进行干燥,第二圆环404的外壁转动连接有第二转筒405,第二转筒405的顶部固定连接有第二喷管409,第二转筒405的底部固定连接有转柱406,转柱406的底部固定连接有第二电机408,第二电机408的外壁固定连接有第二电机箱407,气泵402的进管设有固定箱410,固定箱410的顶部固定连接有抽湿器411,固定箱410远离气泵402的一侧开设有网孔。It should be further noted that the
本实施例在使用时,首先,由汽车零件在挂钩306上放置,以及电动机302带动转杆303上的传送带304转动,使得传送带304带动汽车零件在清洗箱201和干燥箱401内部转动,当汽车零件转动至清洗箱201的内部,由水泵202抽取外界的水经过固定管203进入第一转筒205的内部,使得第一电机208带动转轴206上的第一转筒205在第一圆环204上转动,然后通过第一喷管209对汽车零件进行清洗,当汽车零件转动至干燥箱401的内部,由气泵402抽取外界的气体,气体经过固定箱410,由抽湿器411对气体干燥,然后气体通过连接管403进入第二转筒405的内部,由第二电机408带动转柱406和第二转筒405转动,由第二喷管409对零件干燥,当零件转动至干燥箱401的外部,取下零件。When this embodiment is in use, at first, the car parts are placed on the
文中出现的电器元件均与主控器及电源电连接,主控器可为计算机等起到控制的常规已知设备,且现有公开的电力连接技术,不在文中赘述。The electrical components appearing in the article are all electrically connected to the main controller and the power supply. The main controller can be a conventionally known device controlled by a computer, etc., and the existing public power connection technology will not be repeated in the article.
需要说明的是,在本文中,诸如第一和第二等之类的关系术语仅仅用来将一个实体或者操作与另一个实体或操作区分开来,而不一定要求或者暗示这些实体或操作之间存在任何这种实际的关系或者顺序。而且,术语“包括”、“包含”或者其任何其他变体意在涵盖非排他性的包含,从而使得包括一系列要素的过程、方法、物品或者设备不仅包括那些要素,而且还包括没有明确列出的其他要素,或者是还包括为这种过程、方法、物品或者设备所固有的要素。在没有更多限制的情况下,由语句“包括一个……”限定的要素,并不排除在包括所述要素的过程、方法、物品或者设备中还存在另外的相同要素。It should be noted that in this article, relational terms such as first and second are only used to distinguish one entity or operation from another entity or operation, and do not necessarily require or imply that there is a relationship between these entities or operations. There is no such actual relationship or order between them. Furthermore, the term "comprises", "comprises" or any other variation thereof is intended to cover a non-exclusive inclusion such that a process, method, article, or apparatus comprising a set of elements includes not only those elements, but also includes elements not expressly listed. other elements of or also include elements inherent in such a process, method, article, or device. Without further limitations, an element defined by the phrase "comprising a ..." does not exclude the presence of additional identical elements in the process, method, article or apparatus comprising said element.
尽管已经示出和描述了本实用新型的实施例,对于本领域的普通技术人员而言,可以理解在不脱离本实用新型的原理和精神的情况下可以对这些实施例进行多种变化、修改、替换和变型,本实用新型的范围由所附权利要求及其等同物限定。Although the embodiments of the present invention have been shown and described, those skilled in the art can understand that various changes and modifications can be made to these embodiments without departing from the principle and spirit of the present invention , replacements and modifications, the scope of the present utility model is defined by the appended claims and their equivalents.
Claims (8)
Priority Applications (1)
| Application Number | Priority Date | Filing Date | Title |
|---|---|---|---|
| CN202222897553.4U CN219003908U (en) | 2022-11-01 | 2022-11-01 | Automobile parts maintenance cleaning device |
Applications Claiming Priority (1)
| Application Number | Priority Date | Filing Date | Title |
|---|---|---|---|
| CN202222897553.4U CN219003908U (en) | 2022-11-01 | 2022-11-01 | Automobile parts maintenance cleaning device |
Publications (1)
| Publication Number | Publication Date |
|---|---|
| CN219003908U true CN219003908U (en) | 2023-05-12 |
Family
ID=86236739
Family Applications (1)
| Application Number | Title | Priority Date | Filing Date |
|---|---|---|---|
| CN202222897553.4U Expired - Fee Related CN219003908U (en) | 2022-11-01 | 2022-11-01 | Automobile parts maintenance cleaning device |
Country Status (1)
| Country | Link |
|---|---|
| CN (1) | CN219003908U (en) |
-
2022
- 2022-11-01 CN CN202222897553.4U patent/CN219003908U/en not_active Expired - Fee Related
Similar Documents
| Publication | Publication Date | Title |
|---|---|---|
| CN208513192U (en) | A kind of cushion block cleaning machine | |
| CN210730303U (en) | An efficient mold cleaning device | |
| CN110420901A (en) | Cleaning device is used in a kind of production of auto parts and components | |
| CN211866015U (en) | Cleaning equipment for automobile parts | |
| CN219003908U (en) | Automobile parts maintenance cleaning device | |
| CN109365465A (en) | A kind of chemical industry dust-extraction unit | |
| CN206324177U (en) | Integrate the device for being used to process konjaku dried, cleaned | |
| CN208556927U (en) | A kind of automobile lock piece manufacturing polishing cleaning device with drying function | |
| CN213433412U (en) | Artificial intelligence new trend system air inlet filter equipment | |
| CN109719100A (en) | The efficient ton barrel cleaner of multi-station turning formula | |
| CN205843002U (en) | A kind of idle call auto-cleaning filter screen device | |
| CN205805054U (en) | Auto repair maintenance workshop | |
| CN209736282U (en) | Multi-station rotary type high-efficiency ton barrel cleaning machine | |
| CN109226047B (en) | Cleaning device and cleaning method for integrated crystal lamp | |
| CN208098767U (en) | A kind of aluminum plastic bottle cap production line ultrasonic cleaning equipment | |
| CN215198595U (en) | Machine part belt cleaning device | |
| CN214321196U (en) | A fatlute cleaning device for oil gas pipeline | |
| CN205413725U (en) | Auto -parts cleaning system of intelligent production | |
| CN206659736U (en) | A kind of door and window swab | |
| CN212069655U (en) | Cleaning device with water temperature control device | |
| CN210448513U (en) | An electrical automatic dust removal device | |
| CN211459985U (en) | Glass curtain wall automatic cleaning device | |
| CN211949724U (en) | Multifunctional curtain wall cleaning device | |
| CN210993422U (en) | A kind of environmental protection equipment with high efficiency of purifying exhaust gas | |
| CN220239445U (en) | Cleaning device for manufacturing mechanical parts |
Legal Events
| Date | Code | Title | Description |
|---|---|---|---|
| GR01 | Patent grant | ||
| GR01 | Patent grant | ||
| TR01 | Transfer of patent right |
Effective date of registration: 20231026 Address after: 620000, 1st Floor, Office Building, No. 1 Jintai Road, Meishan Jinxiang Chemical Industry Park, Meishan City, Sichuan Province Patentee after: Sichuan Zehan Automotive Parts Co.,Ltd. Address before: Room CC226, Commercial Zone D, Jingshang Commercial City, No. 1188 Huaihai Avenue, Xinzhan District, Hefei City, Anhui Province, 230011 Patentee before: Anhui Zhongyou Software Co.,Ltd. |
|
| TR01 | Transfer of patent right | ||
| CF01 | Termination of patent right due to non-payment of annual fee |
Granted publication date: 20230512 |
|
| CF01 | Termination of patent right due to non-payment of annual fee |
