CN218990024U - Anti-collision device for river channel transmission tower - Google Patents
Anti-collision device for river channel transmission tower Download PDFInfo
- Publication number
- CN218990024U CN218990024U CN202223501354.3U CN202223501354U CN218990024U CN 218990024 U CN218990024 U CN 218990024U CN 202223501354 U CN202223501354 U CN 202223501354U CN 218990024 U CN218990024 U CN 218990024U
- Authority
- CN
- China
- Prior art keywords
- slider
- movable arm
- fixed plate
- transmission tower
- connecting block
- Prior art date
- Legal status (The legal status is an assumption and is not a legal conclusion. Google has not performed a legal analysis and makes no representation as to the accuracy of the status listed.)
- Active
Links
- 230000005540 biological transmission Effects 0.000 title claims abstract description 31
- 230000007246 mechanism Effects 0.000 claims abstract description 5
- 230000006978 adaptation Effects 0.000 claims 1
- 239000000463 material Substances 0.000 abstract description 6
- 230000002349 favourable effect Effects 0.000 abstract description 2
- 230000001681 protective effect Effects 0.000 abstract description 2
- 238000009434 installation Methods 0.000 description 8
- 235000017166 Bambusa arundinacea Nutrition 0.000 description 6
- 235000017491 Bambusa tulda Nutrition 0.000 description 6
- 241001330002 Bambuseae Species 0.000 description 6
- 235000015334 Phyllostachys viridis Nutrition 0.000 description 6
- 239000011425 bamboo Substances 0.000 description 6
- XLYOFNOQVPJJNP-UHFFFAOYSA-N water Substances O XLYOFNOQVPJJNP-UHFFFAOYSA-N 0.000 description 4
- 230000000694 effects Effects 0.000 description 3
- 230000008859 change Effects 0.000 description 2
- 230000003247 decreasing effect Effects 0.000 description 2
- 230000004048 modification Effects 0.000 description 2
- 238000012986 modification Methods 0.000 description 2
- 229910000831 Steel Inorganic materials 0.000 description 1
- 208000034699 Vitreous floaters Diseases 0.000 description 1
- 230000009471 action Effects 0.000 description 1
- 230000009286 beneficial effect Effects 0.000 description 1
- 230000005611 electricity Effects 0.000 description 1
- 230000006872 improvement Effects 0.000 description 1
- 239000010959 steel Substances 0.000 description 1
- 238000012876 topography Methods 0.000 description 1
Images
Classifications
-
- Y—GENERAL TAGGING OF NEW TECHNOLOGICAL DEVELOPMENTS; GENERAL TAGGING OF CROSS-SECTIONAL TECHNOLOGIES SPANNING OVER SEVERAL SECTIONS OF THE IPC; TECHNICAL SUBJECTS COVERED BY FORMER USPC CROSS-REFERENCE ART COLLECTIONS [XRACs] AND DIGESTS
- Y02—TECHNOLOGIES OR APPLICATIONS FOR MITIGATION OR ADAPTATION AGAINST CLIMATE CHANGE
- Y02A—TECHNOLOGIES FOR ADAPTATION TO CLIMATE CHANGE
- Y02A30/00—Adapting or protecting infrastructure or their operation
- Y02A30/30—Adapting or protecting infrastructure or their operation in transportation, e.g. on roads, waterways or railways
Landscapes
- Vibration Dampers (AREA)
Abstract
The utility model provides an anti-collision device for a river channel transmission tower, which belongs to the technical field of transmission towers, and comprises a fixed plate, wherein the top and the bottom of the fixed plate are respectively provided with a buffer mechanism, each group of buffer mechanisms comprises two symmetrically distributed sliding grooves, the interiors of the two sliding grooves are respectively and movably connected with a first sliding block and a second sliding block, one side of each of the first sliding block and the second sliding block is fixedly connected with a spring damper, one side of each of the first sliding blocks is hinged with a first movable arm, and one side of each of the second sliding blocks is hinged with a second movable arm. This an buffer stop for river course transmission tower, through the cooperation between first movable arm, second movable arm, first slider, second slider, baffle and the spring damper, can cushion and absorb the impact force that receives to reduce the power that the tower main material received, have better protective effect, be favorable to using widely.
Description
Technical Field
The utility model belongs to the technical field of power transmission towers, and particularly relates to an anti-collision device for a river channel power transmission tower.
Background
The transmission tower is used for supporting the transmission cable in the overhead transmission line, the installation environment is complex and various, when the water level rises in the low-lying land with low topography, the tower feet of the transmission tower are submerged by water, the floaters on the water surface frequently strike the steel frame of the tower feet under the action of water flow, the stability of the transmission tower is seriously influenced, the deformation and fracture of the tower feet are possibly caused, the transmission tower collapses, the influence on resident life or industrial electricity is caused, and huge economic loss is caused.
The outside of current river course transmission tower protects the bottom of transmission tower through overlapping and setting up crashproof section of thick bamboo, crashproof section of thick bamboo simple structure, and crashproof effect is relatively poor, and when crashproof section of thick bamboo receives external force great, the barrel can directly transmit the impact to the main material of shaft tower bottom on, and the shaft tower bottom produces deformation easily to influence its life-span of using.
Disclosure of Invention
The utility model aims to provide an anti-collision device for a river transmission tower, and aims to solve the problem that the anti-collision device for the river transmission tower in the prior art is poor in protection effect.
In order to achieve the above purpose, the present utility model provides the following technical solutions: the utility model provides an buffer stop for river course transmission tower, includes the fixed plate, the top and the bottom of fixed plate all are provided with buffer gear, every group buffer gear includes two spouts that are symmetric distribution, two the inside of spout is swing joint respectively has first slider and second slider, the equal fixedly connected with spring damper in one side of first slider and second slider, one side of first slider articulates there is first movable arm, one side of second slider articulates there is the second movable arm, the tip of first movable arm and second movable arm articulates, one side of first movable arm and second movable arm is equal fixedly connected with baffle, one side top that the baffle was kept away from to the fixed plate is provided with the connecting block, one side bottom fixedly connected with lower connecting block that the baffle was kept away from to the fixed plate, the inside of connecting block and last connecting block all articulates there is the fixing base down, last connecting block and fixed plate are provided with telescopic machanism.
As one preferable mode of the utility model, the telescopic mechanism comprises a fixed cylinder fixedly connected with the fixed plate, one end of the fixed cylinder is internally connected with a screw in a threaded manner, and one end of the screw far away from the fixed cylinder is rotationally connected with the upper connecting block.
As one preferable mode of the utility model, one end of the screw close to the upper connecting block is fixedly connected with a rotating block.
As one preferable mode of the utility model, the top and the bottom of the sliding groove are respectively provided with a movable groove, the top and the bottom of the first sliding block and the second sliding block are respectively fixedly connected with a clamping block, and the clamping blocks are matched with the movable grooves.
As a preferable aspect of the present utility model, a rubber plate is disposed on a side of the baffle plate away from the fixing plate.
Compared with the prior art, the utility model has the beneficial effects that:
1. this an buffer stop for river course transmission tower, through the cooperation between first movable arm, second movable arm, first slider, second slider, baffle and the spring damper, can cushion and absorb the impact force that receives to reduce the power that the tower main material received, have better protective effect, be favorable to using widely.
2. This an buffer stop for river course transmission tower, through telescopic machanism, go up the cooperation between connecting block, lower connecting block and the fixing base, make the device change the distance between connecting block and the fixed plate according to installation environment, make the installation of device more swift laborsaving, it is more convenient to use.
Drawings
The accompanying drawings are included to provide a further understanding of the utility model and are incorporated in and constitute a part of this specification, illustrate the utility model and together with the embodiments of the utility model, serve to explain the utility model. In the drawings:
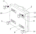
FIG. 1 is a schematic perspective view of the present utility model;
FIG. 2 is a second perspective view of the present utility model;
FIG. 3 is a schematic view of the structure of a first movable arm and a second movable arm according to the present utility model;
fig. 4 is an enlarged schematic view of the structure of fig. 3 a according to the present utility model.
In the figure: 1. a fixing plate; 2. a baffle; 3. a first movable arm; 4. a second movable arm; 5. a fixing seat; 6. an upper connecting block; 7. a first slider; 8. a second slider; 9. a spring damper; 10. a chute; 11. a rotating block; 12. a fixed cylinder; 13. a screw; 14. a lower connecting block; 15. a moving groove; 16. and (5) clamping blocks.
Detailed Description
The following description of the embodiments of the present utility model will be made clearly and completely with reference to the accompanying drawings, in which it is apparent that the embodiments described are only some embodiments of the present utility model, but not all embodiments. All other embodiments, which can be made by those skilled in the art based on the embodiments of the utility model without making any inventive effort, are intended to be within the scope of the utility model.
Examples
Referring to fig. 1-4, the present utility model provides the following technical solutions: the utility model provides an buffer stop for river course transmission tower, including fixed plate 1, the top and the bottom of fixed plate 1 all are provided with buffer gear, every group buffer gear includes two spouts 10 that are symmetric distribution, the inside of two spouts 10 is swing joint respectively has first slider 7 and second slider 8, the equal fixedly connected with spring damper 9 in one side of first slider 7 and second slider 8, one side of first slider 7 articulates there is first movable arm 3, one side of second slider 8 articulates there is second movable arm 4, the tip of first movable arm 3 and second movable arm 4 articulates, one side of first movable arm 3 and second movable arm 4 is equal fixedly connected with baffle 2, one side top that baffle 2 was kept away from to fixed plate 1 is provided with connecting block 6, one side bottom fixedly connected with lower connecting block 14 that baffle 2 was kept away from to fixed plate 1, the inside of connecting block 14 and last connecting block 6 all articulates there is fixing base 5 down, it is telescopic machanism to go up connecting block 6 and fixed plate 1.
In a specific embodiment of the present utility model, the transmission tower is generally in the shape of "narrow top and wide bottom", so that the outer side of the transmission tower is an inclined plane. During installation, the fixing base 5 on the lower connecting block 14 is fixed on the main material at the bottom of the tower, then the telescopic mechanism is adjusted according to the installation conditions, the upper connecting block 6 and the fixing plate 1 are kept at a proper distance, then the fixing base 5 on the upper connecting block 6 and the main material of the power transmission tower pole are fixed, the installation of the single fixing plate 1 can be completed, and similarly, the fixing plates 1 are sequentially installed on the outer side of the power transmission tower, so that the fixing plates 1 enclose the bottom of the power transmission tower. When the baffle plate 2 is impacted by the outside, the baffle plate 2 can transmit force to the first movable arm 3 and the second movable arm 4, the first movable arm 3 and the second movable arm 4 transmit force to the spring damper 9 through the first sliding block 7 and the second sliding block 8, and the spring damper 9 can buffer and absorb impact force, so that the force born by a main material of a tower is reduced, and the protection effect is better; through the cooperation between telescopic machanism, last connecting block 6, lower connecting block 14 and fixing base 5, make the device change the distance between last connecting block 6 and the fixed plate 1 according to the installation environment, make the installation of device more convenient laborsaving.
Specifically, the telescopic machanism includes a fixed section of thick bamboo 12 with fixed plate 1 fixed connection, and the inside threaded connection of one end of fixed section of thick bamboo 12 has screw rod 13, and the one end that screw rod 13 kept away from fixed section of thick bamboo 12 is connected with last connecting block 6 rotation.
In this embodiment: when the distance between the upper connecting block 6 and the fixed plate 1 needs to be changed, the screw 13 is rotated to enable the screw 13 to move in the fixed cylinder 12, so that the whole length of the upper connecting block 6 and the fixed plate 1 is increased or decreased, and the distance between the upper connecting block and the fixed plate 1 is increased or decreased.
Specifically, one end of the screw 13, which is close to the upper connecting block 6, is fixedly connected with a rotating block 11.
In this embodiment: the screw 13 is driven to rotate through the rotating block 11, so that the operation is more convenient and labor-saving.
Specifically, the top and the bottom of the chute 10 are both provided with a moving groove 15, the top and the bottom of the first slide block 7 and the second slide block 8 are both fixedly connected with a clamping block 16, and the clamping block 16 is matched with the moving groove 15.
In this embodiment: by means of the cooperation between the clamping blocks 16 and the moving grooves 15, the movement of the first sliding block 7 and the second sliding block 8 can be limited, and the movement of the first sliding block and the second sliding block is stable.
Specifically, a rubber plate is provided on the side of the baffle 2 away from the fixed plate 1.
In this embodiment: the anti-collision capability of the baffle plate 2 is improved by the rubber plate, so that protection can be provided for the outer side of the baffle plate 2, and the impact suffered by the baffle plate can be buffered.
Finally, it should be noted that: the foregoing description is only a preferred embodiment of the present utility model, and the present utility model is not limited thereto, but it is to be understood that modifications and equivalents of some of the technical features described in the foregoing embodiments may be made by those skilled in the art, although the present utility model has been described in detail with reference to the foregoing embodiments. Any modification, equivalent replacement, improvement, etc. made within the spirit and principle of the present utility model should be included in the protection scope of the present utility model.
Claims (5)
1. An anti-collision device for a river channel transmission tower comprises a fixed plate (1), and is characterized in that: the top and the bottom of fixed plate (1) all are provided with buffer gear, every group buffer gear includes two spout (10) that are symmetrical distribution, two the inside of spout (10) respectively swing joint have first slider (7) and second slider (8), one side of first slider (7) and second slider (8) is equal fixedly connected with spring damper (9), one side of first slider (7) articulates there is first movable arm (3), one side of second slider (8) articulates there is second movable arm (4), the tip of first movable arm (3) and second movable arm (4) articulates, one side of first movable arm (3) and second movable arm (4) is equal fixedly connected with baffle (2), one side top that baffle (2) was kept away from to fixed plate (1) is provided with connecting block (6), one side bottom fixedly connected with down connecting block (14) that baffle (2) was kept away from to fixed plate (1), one side of lower (14) and last inside articulated there are both sides of connecting block (6) and fixed connection seat (5).
2. The anti-collision device for a river transmission tower according to claim 1, wherein: the telescopic mechanism comprises a fixed cylinder (12) fixedly connected with the fixed plate (1), one end of the fixed cylinder (12) is internally connected with a screw rod (13) in a threaded manner, and one end of the screw rod (13) away from the fixed cylinder (12) is rotationally connected with the upper connecting block (6).
3. A collision avoidance device for a riverway transmission tower as claimed in claim 2, wherein: one end of the screw rod (13) close to the upper connecting block (6) is fixedly connected with a rotating block (11).
4. The anti-collision device for a river transmission tower according to claim 1, wherein: the top and the bottom of spout (10) all are provided with removal groove (15), the top and the bottom of first slider (7) and second slider (8) all fixedly connected with fixture block (16), fixture block (16) and removal groove (15) looks adaptation.
5. The anti-collision device for a river transmission tower according to claim 1, wherein: one side of the baffle (2) far away from the fixed plate (1) is provided with a rubber plate.
Priority Applications (1)
| Application Number | Priority Date | Filing Date | Title |
|---|---|---|---|
| CN202223501354.3U CN218990024U (en) | 2022-12-28 | 2022-12-28 | Anti-collision device for river channel transmission tower |
Applications Claiming Priority (1)
| Application Number | Priority Date | Filing Date | Title |
|---|---|---|---|
| CN202223501354.3U CN218990024U (en) | 2022-12-28 | 2022-12-28 | Anti-collision device for river channel transmission tower |
Publications (1)
| Publication Number | Publication Date |
|---|---|
| CN218990024U true CN218990024U (en) | 2023-05-09 |
Family
ID=86190698
Family Applications (1)
| Application Number | Title | Priority Date | Filing Date |
|---|---|---|---|
| CN202223501354.3U Active CN218990024U (en) | 2022-12-28 | 2022-12-28 | Anti-collision device for river channel transmission tower |
Country Status (1)
| Country | Link |
|---|---|
| CN (1) | CN218990024U (en) |
-
2022
- 2022-12-28 CN CN202223501354.3U patent/CN218990024U/en active Active
Similar Documents
| Publication | Publication Date | Title |
|---|---|---|
| CN209855876U (en) | Dismounting structure of automobile filter | |
| CN218990024U (en) | Anti-collision device for river channel transmission tower | |
| CN217267264U (en) | Slope protection mechanism | |
| CN110880698B (en) | High-voltage power distribution cabinet with protection function | |
| CN221269312U (en) | Blanking device of chain type cold drawing machine | |
| CN219012060U (en) | Supporting device for transformation of dangerous house | |
| CN209699199U (en) | A kind of positioning-cutting device for bridge construction | |
| CN112026994A (en) | Stability augmentation equipment for navigation mark | |
| CN208955596U (en) | A kind of angle steel tower adjustable cable holder | |
| CN115014464B (en) | Ultrasonic water level measuring device | |
| CN116928175A (en) | Hydraulic cylinder convenient for shock absorption and buffering | |
| CN217030428U (en) | Precision equipment capable of automatically controlling pressure | |
| CN212721610U (en) | Avoid ultrasonic water meter that water was revealed | |
| CN209318542U (en) | A kind of crossbeam punching die | |
| CN221441502U (en) | Water conservancy gate bearing structure | |
| CN210729962U (en) | Coating equipment for pipeline | |
| CN220450773U (en) | Combined flood prevention baffle | |
| CN214612152U (en) | Material guide device for bottle making | |
| CN112324857A (en) | Damping device with noise reduction mechanism | |
| CN221463122U (en) | Hydraulic engineering pipeline protection casing | |
| CN209720949U (en) | A kind of automatic charging equipment of head tower bar processing | |
| CN214740362U (en) | Base reinforcing apparatus based on transmission line iron tower | |
| CN221072843U (en) | Low-noise negative-pressure-free water supply equipment | |
| CN219975859U (en) | Remote measuring and collecting equipment for water conditions | |
| CN219998829U (en) | Assembled transformer case steel reinforced concrete structure base |
Legal Events
| Date | Code | Title | Description |
|---|---|---|---|
| GR01 | Patent grant | ||
| GR01 | Patent grant |