CN218981781U - A ball mill for refractory production - Google Patents
A ball mill for refractory production Download PDFInfo
- Publication number
- CN218981781U CN218981781U CN202222477325.1U CN202222477325U CN218981781U CN 218981781 U CN218981781 U CN 218981781U CN 202222477325 U CN202222477325 U CN 202222477325U CN 218981781 U CN218981781 U CN 218981781U
- Authority
- CN
- China
- Prior art keywords
- ball mill
- plate
- gear
- limiting plate
- reciprocating
- Prior art date
- Legal status (The legal status is an assumption and is not a legal conclusion. Google has not performed a legal analysis and makes no representation as to the accuracy of the status listed.)
- Active
Links
Images
Landscapes
- Crushing And Grinding (AREA)
Abstract
本实用新型公开了一种耐火材料生产用球磨机,包括球磨机,所述球磨机一侧安装有电机,电机一侧安装有减速器,减速器一侧连接有齿轮,齿轮一侧连接有往复丝杠,往复丝杠外侧套设有移动套,移动套外侧固定连接有移动架,移动架上端转动连接有敲击棒,敲击棒一端位于球磨机上方,敲击棒与移动架之间连接有弹簧,所述往复丝杠一侧固定连接有安装槽,安装槽内部滑动连接有限位板一与限位板二。本实用新型通过设计有往复丝杠与移动架,通过移动架往复移动可对球磨机的筒体进行来回敲击,使得球磨机内部的附着的材料下落,提高装置的研磨效果。
The utility model discloses a ball mill for refractory material production, which comprises a ball mill. A motor is installed on one side of the ball mill, a reducer is installed on one side of the motor, a gear is connected to one side of the reducer, and a reciprocating lead screw is connected to one side of the gear. The outer cover of the reciprocating lead screw is provided with a moving sleeve, and the outer side of the moving sleeve is fixedly connected with a moving frame. The upper end of the moving frame is rotatably connected with a percussion rod. One side of the reciprocating lead screw is fixedly connected with a mounting groove, and the inside of the mounting groove is slidably connected to the first limiting plate and the second limiting plate. The utility model is designed with a reciprocating screw and a moving frame, and the cylinder body of the ball mill can be knocked back and forth through the reciprocating movement of the moving frame, so that the attached materials inside the ball mill fall down, and the grinding effect of the device is improved.
Description
技术领域technical field
本实用新型涉及一种球磨机,具体涉及一种耐火材料生产用球磨机。The utility model relates to a ball mill, in particular to a ball mill for refractory production.
背景技术Background technique
球磨机是物料被破碎之后,再进行粉碎的关键设备,这种类型磨矿机是在其筒体内装入一定数量的钢球作为研磨介质,它广泛应用于水泥,硅酸盐制品,新型建筑材料、耐火材料、化肥、黑与有色金属选矿以及玻璃陶瓷等生产行业,对各种矿石和其它可磨性物料进行干式或湿式粉磨,球磨机适用于粉磨各种矿石及其它物料,被广泛用于选矿,建材及化工等行业,可分为干式和湿式两种磨矿方式,根据排矿方式不同,可分格子型和溢流型两种,现有的耐火材料生产用球磨机在工作过程中,无法做到对筒体内壁附着的材料进行震落工作,减少了研磨效果,浪费材料。因此,本领域技术人员提供了一种耐火材料生产用球磨机,以解决上述背景技术中提出的问题。The ball mill is the key equipment for crushing the material after it is crushed. This type of grinding machine is filled with a certain number of steel balls in its cylinder as the grinding medium. It is widely used in cement, silicate products, new building materials , refractory materials, chemical fertilizers, black and non-ferrous metal beneficiation and glass ceramics and other production industries, dry or wet grinding of various ores and other grindable materials, ball mills are suitable for grinding various ores and other materials, and are widely used It is used in mineral processing, building materials and chemical industries, and can be divided into two types of grinding methods: dry type and wet type. According to different ore discharge methods, it can be divided into two types: grid type and overflow type. The existing ball mill for refractory production is working During the process, it is impossible to shake off the materials attached to the inner wall of the cylinder, which reduces the grinding effect and wastes materials. Therefore, those skilled in the art provide a ball mill for refractory production to solve the problems raised in the above-mentioned background technology.
实用新型内容Utility model content
为解决上述技术问题,本实用新型提供一种耐火材料生产用球磨机,包括球磨机,所述球磨机一侧安装有电机,电机一侧安装有减速器,减速器一侧连接有齿轮,齿轮一侧连接有往复丝杠,往复丝杠外侧套设有移动套,移动套外侧固定连接有移动架,移动架上端转动连接有敲击棒,敲击棒一端位于球磨机上方,敲击棒与移动架之间连接有弹簧;In order to solve the above technical problems, the utility model provides a ball mill for refractory production, including a ball mill, a motor is installed on one side of the ball mill, a reducer is installed on one side of the motor, a gear is connected to one side of the reducer, and a gear is connected to one side of the gear There is a reciprocating screw, and a moving sleeve is set on the outer side of the reciprocating screw. The outer side of the moving sleeve is fixedly connected with a moving frame. The upper end of the moving frame is rotatably connected with a percussion rod. connected with a spring;
所述往复丝杠一侧固定连接有安装槽,安装槽内部滑动连接有限位板一与限位板二,限位板一内部贯穿有连接柱一,限位板二内部贯穿有连接柱二,安装槽两端转动连接有转动杆,连接柱二与连接柱一位于转动杆内部,往复丝杠左侧滑动连接有斜板一,斜板一位于转动杆上方,往复丝杠右侧滑动连接有斜板二,斜板二位于转动杆下方,限位板一与限位板二内部固定连接有若干卡块,敲击棒一端插入限位板一与限位板二内部位于卡块之间。One side of the reciprocating lead screw is fixedly connected with an installation groove, and the inside of the installation groove is slidably connected to the first limit plate and the second limit plate, the first limit plate runs through the first connecting column, and the second limit plate runs through the second connecting column, The two ends of the installation groove are rotatably connected with a rotating rod, the connecting
优选的:所述安装槽内部下方固定连接有磁板,限位板一与限位板二下端外侧设有包铁。Preferably: a magnetic plate is fixedly connected to the lower part of the installation groove, and iron cladding is provided outside the lower ends of the first and second limiting plates.
优选的:所述移动架下方转动连接有滚轮。Preferably: a roller is rotatably connected to the bottom of the moving frame.
优选的:所述斜板一与齿轮外侧的固定架滑动连接,斜板二与往复丝杠有端的支撑板滑动连接。Preferably: the first swash plate is slidably connected to the fixed frame on the outer side of the gear, and the second swash plate is slidably connected to the support plate with the end of the reciprocating lead screw.
优选的:所述球磨机滚筒上方设有人孔。Preferably: a manhole is provided above the roller of the ball mill.
优选的:所述球磨机外侧设有齿环,齿环位于齿轮一侧与齿轮啮合。Preferably: a gear ring is provided on the outside of the ball mill, and the gear ring is located on one side of the gear and meshed with the gear.
本实用新型的技术效果和优点:Technical effect and advantage of the present utility model:
本实用新型通过设计有往复丝杠与移动架,通过移动架往复移动可对球磨机的筒体进行来回敲击,使得球磨机内部的附着的材料下落,提高装置的研磨效果。The utility model is designed with a reciprocating screw and a moving frame, and the cylinder body of the ball mill can be knocked back and forth through the reciprocating movement of the moving frame, so that the attached materials inside the ball mill fall down, and the grinding effect of the device is improved.
附图说明Description of drawings
图1是本申请提供的结构示意图;Fig. 1 is the structural representation that the application provides;
图2是本申请提供的敲击棒的结构示意图;Fig. 2 is the structural representation of the knocking rod provided by the present application;
图3是本申请提供的转动杆的结构示意图;Fig. 3 is a schematic structural view of the rotating rod provided by the present application;
图4是本申请提供的安装槽的结构示意图;Fig. 4 is a schematic structural view of the mounting groove provided by the present application;
图中:In the picture:
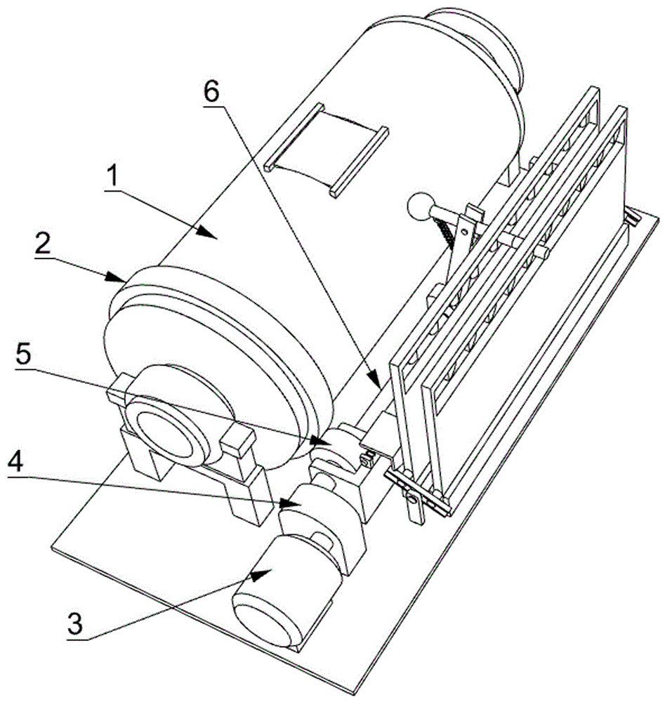
1、球磨机;2、齿环;3、电机;4、减速器;5、齿轮;6、往复丝杠;7、移动套;8、移动架;9、敲击棒;10、弹簧;11、限位板一;12、限位板二;13、连接柱二;14、连接柱一;15、转动杆;16、斜板一;17、斜板二;18、安装槽;19、卡块。1. Ball mill; 2. Gear ring; 3. Motor; 4. Reducer; 5. Gear; 6. Reciprocating screw; 7. Moving sleeve; 8. Moving frame; 9. Knocking rod; 10. Spring; 11. Limiting plate one; 12, limiting plate two; 13, connecting column two; 14, connecting column one; 15, rotating rod; 16, inclined plate one; 17, inclined plate two; 18, installation slot; .
具体实施方式Detailed ways
下面结合附图和具体实施方式对本实用新型作进一步详细的说明。本实用新型的实施例是为了示例和描述起见而给出的,而并不是无遗漏的或者将本实用新型限于所公开的形式。很多修改和变化对于本领域的普通技术人员而言是显而易见的。选择和描述实施例是为了更好说明本实用新型的原理和实际应用,并且使本领域的普通技术人员能够理解本实用新型从而设计适于特定用途的带有各种修改的各种实施例。Below in conjunction with accompanying drawing and specific embodiment, the utility model is described in further detail. The embodiments of the invention have been presented for purposes of illustration and description, but are not intended to be exhaustive or to limit the invention to the forms disclosed. Many modifications and changes will be apparent to those of ordinary skill in the art. The embodiment was chosen and described in order to better explain the principle and practical application of the invention, and to enable those of ordinary skill in the art to understand the invention and design various embodiments with various modifications suitable for particular purposes.
请参阅图1~4,在本实施例中提供一种耐火材料生产用球磨机,包括球磨机1,所述球磨机1一侧安装有电机3,电机3一侧安装有减速器4,减速器4一侧连接有齿轮5,所述球磨机1外侧设有齿环2,齿环2位于齿轮5一侧与齿轮5啮合,所述球磨机1的滚筒上方设有人孔,齿轮5一侧连接有往复丝杠6,往复丝杠6外侧套设有移动套7,移动套7外侧固定连接有移动架8,所述移动架8下方转动连接有滚轮,移动架8上端转动连接有敲击棒9,敲击棒9一端位于球磨机1上方,敲击棒9与移动架8之间连接有弹簧10;Please refer to Figures 1 to 4. In this embodiment, a ball mill for refractory production is provided, including a ball mill 1. A
所述往复丝杠6一侧固定连接有安装槽18,安装槽18内部滑动连接有限位板一11与限位板二12,所述安装槽18内部下方固定连接有磁板,限位板一11与限位板二12下端外侧设有包铁,限位板一11内部贯穿有连接柱一14,限位板二12内部贯穿有连接柱二13,安装槽18两端转动连接有转动杆15,连接柱二13与连接柱一14位于转动杆15内部,往复丝杠6左侧滑动连接有斜板一16,斜板一16位于转动杆15上方,往复丝杠6右侧滑动连接有斜板二17,斜板二17位于转动杆15下方,限位板一11与限位板二12内部固定连接有若干卡块19,敲击棒9一端插入限位板一11与限位板二12内部位于卡块19之间,所述斜板一16与齿轮5外侧的固定架滑动连接,斜板二17与往复丝杠6有端的支撑板滑动连接。One side of the
本实用新型的工作原理是:The working principle of the utility model is:
本装置在使用时,通过球磨机1一侧的轴孔将物料置入球磨机1内部,启动电机3,通过电机3经过减速器4减速后驱动齿轮5转动,齿轮5通过球磨机1外侧的齿轮5使得其筒体转动,对内部的物料进行磨碎,同时当电机3启动时也带动齿轮5一侧的往复丝杠6转动,往复丝杠6转动使得外侧的移动套7左右来回移动,移动套7带动移动架8左右来回移动,当移动架8向左移动时,移动套7上的敲击棒9一端在限位板二12内部的卡块19的作用下不断下降后又在弹簧10的作用下复位,通过敲击棒9另一端的敲击球对筒体进行敲击,将筒体内部的附着的材料敲落,当移动架8移动至最左侧时,推动斜板一16向左侧移动,斜板一16压迫转动杆15转动,转动杆15转动使得限位板一11下降限位板二12上升,同时移动架8开始向右移动,通过限位板一11上反向的卡块19重新使得敲击棒9移动时上下移动对筒体进行敲击,同时当移动架8移动至最右侧时,通过斜板二17使得转动杆15转动,使得限位板一11上升限位板二12下降,使得移动架8向左移动时,重新通过限位板二12起到限位的作用。When the device is in use, put the material into the ball mill 1 through the shaft hole on one side of the ball mill 1, start the
显然,所描述的实施例仅仅是本实用新型的一部分实施例,而不是全部的实施例。基于本实用新型中的实施例,本领域及相关领域的普通技术人员在没有作出创造性劳动的前提下所获得的所有其他实施例,都应属于本实用新型保护的范围。本实用新型中未具体描述和解释说明的结构、装置以及操作方法,如无特别说明和限定,均按照本领域的常规手段进行实施。Apparently, the described embodiments are only some of the embodiments of the present invention, but not all of them. Based on the embodiments of the present utility model, all other embodiments obtained by persons of ordinary skill in the art and related fields without creative efforts shall fall within the protection scope of the present utility model. The structures, devices and operation methods that are not specifically described and explained in the utility model, unless otherwise specified and limited, are implemented according to conventional means in the art.
Claims (6)
Priority Applications (1)
| Application Number | Priority Date | Filing Date | Title |
|---|---|---|---|
| CN202222477325.1U CN218981781U (en) | 2022-09-19 | 2022-09-19 | A ball mill for refractory production |
Applications Claiming Priority (1)
| Application Number | Priority Date | Filing Date | Title |
|---|---|---|---|
| CN202222477325.1U CN218981781U (en) | 2022-09-19 | 2022-09-19 | A ball mill for refractory production |
Publications (1)
| Publication Number | Publication Date |
|---|---|
| CN218981781U true CN218981781U (en) | 2023-05-09 |
Family
ID=86224319
Family Applications (1)
| Application Number | Title | Priority Date | Filing Date |
|---|---|---|---|
| CN202222477325.1U Active CN218981781U (en) | 2022-09-19 | 2022-09-19 | A ball mill for refractory production |
Country Status (1)
| Country | Link |
|---|---|
| CN (1) | CN218981781U (en) |
Cited By (1)
| Publication number | Priority date | Publication date | Assignee | Title |
|---|---|---|---|---|
| CN116772216A (en) * | 2023-06-09 | 2023-09-19 | 丰城黑豹炭黑有限公司 | Combustion furnace with auxiliary combustion function |
-
2022
- 2022-09-19 CN CN202222477325.1U patent/CN218981781U/en active Active
Cited By (1)
| Publication number | Priority date | Publication date | Assignee | Title |
|---|---|---|---|---|
| CN116772216A (en) * | 2023-06-09 | 2023-09-19 | 丰城黑豹炭黑有限公司 | Combustion furnace with auxiliary combustion function |
Similar Documents
| Publication | Publication Date | Title |
|---|---|---|
| CN205966117U (en) | High -efficient ore crusher with deironing device | |
| CN210632229U (en) | High-efficient ball-milling device | |
| CN218981781U (en) | A ball mill for refractory production | |
| CN210994471U (en) | A pair of roller sand making machine | |
| CN212215671U (en) | A cement production clinker crushing device | |
| CN211051578U (en) | Cement reducing mechanism of cement board for building | |
| CN219765507U (en) | High-efficient ball mill of smashing | |
| CN208583397U (en) | A kind of list roller high voltagehigh frequency vibrating roller mill crusher | |
| CN216538664U (en) | High crushing capacity's grit is with smashing system sand equipment | |
| CN219291649U (en) | A raw coal iron removal device | |
| CN219024498U (en) | Ball mill convenient to row material | |
| CN219463479U (en) | Jaw breaker is used in quartz sand production | |
| CN212468329U (en) | High efficiency ball mill with rotary drum | |
| CN206392167U (en) | A kind of slag horizontal roller mill deironing apparatus | |
| CN216936182U (en) | Quartz sand grinding and discharging device | |
| CN205868370U (en) | Two -way ore crushing apparatus that rolls | |
| CN219502884U (en) | Rolling ball machine is used in production of aluminium oxide pottery | |
| CN205570459U (en) | High -efficient convenient lime ball mill | |
| CN213494067U (en) | Ball mill for ceramic manufacture | |
| CN210846675U (en) | Rubbing crusher is used in concrete production | |
| CN210675300U (en) | Grinding device is used in refractory material production | |
| CN209061336U (en) | It is a kind of to build the broken recyclable device of useless brick | |
| CN216499747U (en) | Superfine ball mill for lithium battery material preparation | |
| CN219187141U (en) | Ball milling equipment for producing foamed ceramic-based glass mosaic | |
| CN217164675U (en) | Ball mill for iron disulfide |
Legal Events
| Date | Code | Title | Description |
|---|---|---|---|
| GR01 | Patent grant | ||
| GR01 | Patent grant | ||
| CP03 | Change of name, title or address | ||
| CP03 | Change of name, title or address |
Address after: 561116 Guizhou Province, Anshun City, Pingba District, Xiayun Industrial Park Patentee after: Guizhou Kaicheng Electric Melting Mineral Co., Ltd. Country or region after: China Address before: 561000 Xia Yun Industrial Park, Pingba District, Anshun, Guizhou Patentee before: Guizhou Taifu Industrial Co.,Ltd. Country or region before: China |
