CN218963306U - Stone removing machine for rice processing - Google Patents
Stone removing machine for rice processing Download PDFInfo
- Publication number
- CN218963306U CN218963306U CN202320115560.6U CN202320115560U CN218963306U CN 218963306 U CN218963306 U CN 218963306U CN 202320115560 U CN202320115560 U CN 202320115560U CN 218963306 U CN218963306 U CN 218963306U
- Authority
- CN
- China
- Prior art keywords
- fixedly connected
- close
- department
- box
- rod
- Prior art date
- Legal status (The legal status is an assumption and is not a legal conclusion. Google has not performed a legal analysis and makes no representation as to the accuracy of the status listed.)
- Active
Links
Images
Classifications
-
- Y—GENERAL TAGGING OF NEW TECHNOLOGICAL DEVELOPMENTS; GENERAL TAGGING OF CROSS-SECTIONAL TECHNOLOGIES SPANNING OVER SEVERAL SECTIONS OF THE IPC; TECHNICAL SUBJECTS COVERED BY FORMER USPC CROSS-REFERENCE ART COLLECTIONS [XRACs] AND DIGESTS
- Y02—TECHNOLOGIES OR APPLICATIONS FOR MITIGATION OR ADAPTATION AGAINST CLIMATE CHANGE
- Y02P—CLIMATE CHANGE MITIGATION TECHNOLOGIES IN THE PRODUCTION OR PROCESSING OF GOODS
- Y02P60/00—Technologies relating to agriculture, livestock or agroalimentary industries
- Y02P60/14—Measures for saving energy, e.g. in green houses
Landscapes
- Adjustment And Processing Of Grains (AREA)
Abstract
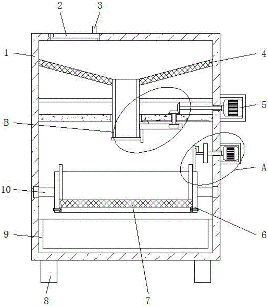
本实用新型公开了一种用于大米加工用的去石机,包括箱体,所述箱体的底部靠近四角处均固定连接有支撑腿,所述箱体的顶部靠近左侧处开设有进料口,且所述进料口内腔右侧底部处固定连接有隔板,所述进料口内腔左侧顶部处铰接有顶盖,且所述顶盖的底部与隔板的顶部贴合,本实用新型通过设置遮挡机构,通过伺服电机、从动锥形齿轮、主动锥形齿轮、转动杆、传动杆、活动齿轮、齿条板、连接板、挡板和限位块这些部件之间的相互配合,便于带动挡板左右移动,从而遮挡或者打开输料管,本实用新型通过设置摆动机构,通过驱动电机、圆盘、L形杆和连接杆这些部件之间的相互配合,便于带动活动框前后来回摆动,从而加快过滤的效率。
The utility model discloses a stone removing machine for rice processing, which comprises a box body, the bottom of the box body near the four corners is fixedly connected with supporting legs, and the top of the box body near the left side is provided with an inlet. The material inlet, and the bottom of the right side of the inner cavity of the feeding inlet is fixedly connected with a partition, the top of the left side of the inner cavity of the feeding inlet is hinged with a top cover, and the bottom of the top cover is attached to the top of the partition, The utility model is provided with a shielding mechanism, through servo motors, driven bevel gears, driving bevel gears, rotating rods, transmission rods, movable gears, rack plates, connecting plates, baffles and limit blocks. Cooperating with each other, it is convenient to drive the baffle to move left and right, so as to block or open the feeding pipe. The utility model is convenient to drive the movement through the arrangement of the swing mechanism and the mutual cooperation between the drive motor, the disc, the L-shaped rod and the connecting rod. The box swings back and forth to speed up the filtering efficiency.
Description
技术领域technical field
本实用新型涉及大米加工的技术领域,尤其涉及一种用于大米加工用的去石机。The utility model relates to the technical field of rice processing, in particular to a destoner for rice processing.
背景技术Background technique
大米加工是指稻谷经清理、砻谷、碾米、成品整理等加工工序,大米清理加工过程中较为重要的一项是去石,大米在收获以后,其内部含有的石子等杂质较多,为了提高大米的质量,保证人体食用的健康,需要使用去石机将大米中含有的石子杂质清理干净。Rice processing refers to the processing steps of rice cleaning, husking, rice milling, and finishing of finished products. One of the more important items in the rice cleaning process is stone removal. After rice is harvested, there are many impurities such as stones inside. To improve the quality of rice and ensure the health of the human body, it is necessary to use a destoner machine to clean up the stone impurities contained in the rice.
由于传统的用于大米加工用的去石机,在使用的过程中,不便于对经过初次筛分后侧的大米输料管进行打开与关上,从而导致操作较为不便捷,同时传统的装置不便于对带动活动框进行来回摆动加快过滤的速率,从而导致装置的实用性差。Due to the traditional destoner used for rice processing, it is inconvenient to open and close the rice feeding pipe after the primary screening during use, which makes the operation more inconvenient. At the same time, the traditional device is not It is convenient to swing back and forth to drive the movable frame to speed up the filtering rate, resulting in poor practicability of the device.
实用新型内容Utility model content
为了克服现有技术的不足,本实用新型的目的之一在于提供一种用于大米加工用的去石机。In order to overcome the deficiencies in the prior art, one of the purposes of the utility model is to provide a stoner for rice processing.
本实用新型的目的之一采用如下技术方案实现:One of purpose of the utility model adopts following technical scheme to realize:
一种用于大米加工用的去石机,包括箱体,所述箱体的底部靠近四角处均固定连接有支撑腿,所述箱体的顶部靠近左侧处开设有进料口,且所述进料口内腔右侧底部处固定连接有隔板,所述进料口内腔左侧顶部处铰接有顶盖,且所述顶盖的底部与隔板的顶部贴合,所述顶盖的顶部靠近右侧处固定连接有拉杆,所述箱体内腔左右两侧靠近顶部处均固定连接有滤板,且两个所述滤板为倾斜设置,两个所述滤板相对的一侧共同固定连接有输料管,且所述箱体内腔靠近中间位置处固定连接有横板,所述输料管的底端贯穿横板的顶部,并延伸至横板的底部,且所述输料管的底端设有遮挡机构,所述输料管的外侧靠近顶端处固定连接有矩形板,且所述矩形板上开设有与输料管相匹配的通孔,所述箱体内腔靠近底部处设有活动框,且所述活动框的内腔靠近底部处设有过滤网,所述过滤网的外侧设有卡接机构,所述活动框的左右两侧处均固定连接有转杆,且两个所述转杆相反的一端均与箱体内腔活动连接,所述活动框顶部的右侧处设有摆动机构,所述箱体内腔底部处贴合设有收集槽。A stone remover for rice processing, comprising a box body, the bottom of the box body is fixedly connected with support legs near the four corners, the top of the box body is provided with a feeding port near the left side, and the The bottom of the right side of the inner cavity of the feed inlet is fixedly connected with a partition, the top of the left side of the inner cavity of the feed inlet is hinged with a top cover, and the bottom of the top cover is attached to the top of the partition, and the top of the top cover The top is fixedly connected with a tie rod near the right side, and the left and right sides of the box cavity are fixedly connected with filter plates near the top, and the two filter plates are arranged obliquely, and the opposite sides of the two filter plates are in common A feeding pipe is fixedly connected, and a horizontal plate is fixedly connected to the inner cavity of the box near the middle position, the bottom end of the feeding pipe runs through the top of the horizontal plate and extends to the bottom of the horizontal plate, and the feeding pipe The bottom end of the tube is provided with a shielding mechanism, and the outer side of the feeding tube is fixedly connected with a rectangular plate near the top, and the rectangular plate is provided with a through hole matching the feeding tube, and the inner cavity of the box is close to the bottom A movable frame is provided at the center of the movable frame, and a filter screen is provided near the bottom of the inner chamber of the movable frame, and a clamping mechanism is provided on the outside of the filter screen, and rotating rods are fixedly connected to the left and right sides of the movable frame, And the opposite ends of the two rotating rods are movably connected with the inner cavity of the box, a swing mechanism is provided on the right side of the top of the movable frame, and a collection groove is attached to the bottom of the inner cavity of the box.
进一步的,所述箱体的前侧开设有开口,且所述箱体的前侧设有与开口相匹配的活动门,所述活动门的左侧设有若干个合页,且所述活动门通过若干个合页与箱体活动连接,所述活动门的前侧靠近右侧处固定连接有把手。Further, the front side of the box body is provided with an opening, and the front side of the box body is provided with a movable door matching the opening, and the left side of the movable door is provided with several hinges, and the movable door The door is movably connected with the box body through several hinges, and the front side of the movable door is fixedly connected with a handle near the right side.
进一步的,所述卡接机构包括两个竖杆,两个所述竖杆分别固定连接在过滤网顶部的左右两侧处,且所述过滤网底部的左右两侧处均固定连接有卡接板,两个所述卡接板相反的一侧均开设有凹槽,且所述凹槽的内嵌固定连接有螺母,所述活动框的左右两侧靠近底部处均开设有螺纹孔,且所述螺纹孔的内腔贯穿设有螺栓,两个所述螺栓相反的一端分别贯穿相邻的螺母,并延伸至相邻凹槽的内腔。Further, the clamping mechanism includes two vertical rods, the two vertical rods are respectively fixedly connected to the left and right sides of the top of the filter screen, and the left and right sides of the bottom of the filter screen are fixedly connected to clamping joints. There are grooves on the opposite sides of the two clamping plates, and nuts are fixedly embedded in the grooves, and threaded holes are opened on the left and right sides of the movable frame near the bottom, and The inner cavity of the threaded hole is provided with bolts, and the opposite ends of the two bolts respectively pass through the adjacent nuts and extend to the inner cavity of the adjacent groove.
进一步的,所述遮挡机构包括矩形槽,所述矩形槽固定连接在箱体的右侧靠近顶部处,且所述矩形槽内腔右侧处固定连接有伺服电机,所述伺服电机的输出轴固定连接有转动杆,且所述箱体的右侧靠近顶部处固定连接有第一轴承,所述转动杆的左端贯穿第一轴承的内腔,并固定连接有主动锥形齿轮,且所述主动锥形齿轮的底部啮合有从动锥形齿轮。Further, the shielding mechanism includes a rectangular slot, the rectangular slot is fixedly connected to the right side of the box near the top, and a servo motor is fixedly connected to the right side of the inner chamber of the rectangular slot, and the output shaft of the servo motor A rotating rod is fixedly connected, and the right side of the box close to the top is fixedly connected with a first bearing, the left end of the rotating rod runs through the inner cavity of the first bearing, and is fixedly connected with a driving bevel gear, and the The bottom of the driving bevel gear is meshed with a driven bevel gear.
进一步的,所述从动锥形齿轮的底部固定连接有传动杆,所述横板的顶部靠近右侧处固定连接有第二轴承,所述传动杆的底端贯穿第二轴承的内腔,并固定连接有活动齿轮,所述活动齿轮的后侧啮合有齿条板,且所述齿条板的底部靠近左侧处固定连接有连接板,所述连接板的左侧靠近底部处固定连接有挡板,且所述挡板的顶部与输料管的底部贴合。Further, the bottom of the driven bevel gear is fixedly connected with a transmission rod, the top of the horizontal plate is fixedly connected with a second bearing near the right side, and the bottom end of the transmission rod passes through the inner cavity of the second bearing, And fixedly connected with a movable gear, the rear side of the movable gear is meshed with a rack plate, and the bottom of the rack plate is fixedly connected with a connecting plate near the left side, and the left side of the connecting plate is fixedly connected near the bottom. There is a baffle, and the top of the baffle is attached to the bottom of the feeding pipe.
进一步的,所述齿条板的顶部靠近左侧处固定连接有限位块,且所述限位块的顶部固定连接有滑块,所述横板的底部靠近右侧处开设有滑槽,所述滑块活动连接在滑槽的内腔。Further, the top of the rack plate is fixedly connected to the limit block near the left side, and the top of the limit block is fixedly connected to the slider, and the bottom of the horizontal plate is provided with a chute near the right side, so The slider is movably connected to the inner cavity of the chute.
进一步的,所述摆动机构包括安装槽,所述安装槽固定连接在箱体的右侧靠近中间位置处,且所述安装槽内腔右侧处固定连接有驱动电机,所述驱动电机的输出轴固定连接有活动杆,且所述箱体的右侧靠近中间位置处固定连接有第三轴承,所述活动杆的左端贯穿第三轴承的内腔,并固定连接有圆盘,所述圆盘的左侧固定连接有固定杆,且所述固定杆上固定连接有L形杆,所述L形杆远离固定杆的一端铰接有连接杆,所述连接杆远离L形杆的一端活动连接在活动框顶部的右侧靠近后侧处。Further, the swing mechanism includes an installation slot, the installation slot is fixedly connected to the right side of the box body near the middle position, and a drive motor is fixedly connected to the right side of the inner cavity of the installation slot, and the output of the drive motor The shaft is fixedly connected with a movable rod, and the right side of the box is fixedly connected with a third bearing near the middle position, the left end of the movable rod penetrates the inner cavity of the third bearing, and is fixedly connected with a disc, the circular disc The left side of the disk is fixedly connected with a fixed rod, and the fixed rod is fixedly connected with an L-shaped rod, and the end of the L-shaped rod far away from the fixed rod is hinged with a connecting rod, and the end of the connected rod far away from the L-shaped rod is flexibly connected On the right side of the top of the activity box near the rear.
相比现有技术,本实用新型的有益效果在于:Compared with the prior art, the beneficial effects of the utility model are:
1、本实用新型通过设置遮挡机构,通过伺服电机、从动锥形齿轮、主动锥形齿轮、转动杆、传动杆、活动齿轮、齿条板、连接板、挡板和限位块这些部件之间的相互配合,便于带动挡板左右移动,从而遮挡或者打开输料管;1. The utility model is provided with a shielding mechanism, through servo motors, driven bevel gears, driving bevel gears, rotating rods, transmission rods, movable gears, rack plates, connecting plates, baffles and limit blocks. The mutual cooperation between them is convenient to drive the baffle to move left and right, so as to block or open the feeding pipe;
2、本实用新型通过设置摆动机构,通过驱动电机、圆盘、L形杆和连接杆这些部件之间的相互配合,便于带动活动框前后来回摆动,从而加快过滤的效率。2. The utility model is provided with a swing mechanism, and through the mutual cooperation between the drive motor, the disk, the L-shaped rod and the connecting rod, it is convenient to drive the movable frame to swing back and forth, thereby speeding up the filtering efficiency.
上述说明仅是本实用新型技术方案的概述,为了能够更清楚了解本实用新型的技术手段,而可依照说明书的内容予以实施,并且为了让本实用新型的上述和其他目的、特征和优点能够更明显易懂,以下特举较佳实施例,并配合附图,详细说明如下。The above description is only an overview of the technical solutions of the present utility model. In order to better understand the technical means of the present utility model, it can be implemented according to the contents of the description, and in order to make the above-mentioned and other purposes, features and advantages of the present utility model better It is obvious and easy to understand. The preferred embodiments are specifically cited below, together with the accompanying drawings, and detailed descriptions are as follows.
附图说明Description of drawings
图1为本实施例的正视剖面图;Fig. 1 is the front sectional view of present embodiment;
图2为本实施例的局部正视图;Fig. 2 is a partial front view of the present embodiment;
图3为本实施例的图1中A处放大图;Fig. 3 is the enlarged view of place A in Fig. 1 of the present embodiment;
图4为本实施例的图1中B处放大图。Fig. 4 is an enlarged view of B in Fig. 1 of this embodiment.
图中:1、箱体;2、顶盖;3、拉杆;4、滤板;5、伺服电机;6、活动框;7、过滤网;8、支撑腿;9、收集槽;10、转杆;11、活动门;12、把手;13、驱动电机;14、圆盘;15、L形杆;16、连接杆;17、从动锥形齿轮;18、主动锥形齿轮;19、转动杆;20、传动杆;21、活动齿轮;22、齿条板;23、连接板;24、挡板;25、限位块。In the figure: 1. Box body; 2. Top cover; 3. Pull rod; 4. Filter plate; 5. Servo motor; 6. Movable frame; 7. Filter net; 8. Supporting legs; Rod; 11, movable door; 12, handle; 13, driving motor; 14, disc; 15, L-shaped rod; 16, connecting rod; 17, driven bevel gear; 18, driving bevel gear; 19, rotation Rod; 20, transmission rod; 21, movable gear; 22, rack plate; 23, connecting plate; 24, baffle plate; 25, limit block.
具体实施方式Detailed ways
下面,结合附图以及具体实施方式,对本实用新型做进一步描述,需要说明的是,在不相冲突的前提下,以下描述的各实施例之间或各技术特征之间可以任意组合形成新的实施例。Below, the utility model will be further described in conjunction with the accompanying drawings and specific implementation methods. It should be noted that, on the premise of not conflicting, the various embodiments or technical features described below can be combined arbitrarily to form new implementations. example.
需要说明的是,当组件被称为“固定于”另一个组件,它可以直接在另一个组件上或者也可以存在居中的组件。当一个组件被认为是“连接”另一个组件,它可以是直接连接到另一个组件或者可能同时存在居中组件。当一个组件被认为是“设置于”另一个组件,它可以是直接设置在另一个组件上或者可能同时存在居中组件。本文所使用的术语“垂直的”、“水平的”、“左”、“右”以及类似的表述只是为了说明的目的。It should be noted that when a component is said to be "fixed" to another component, it can be directly on the other component or there can also be an intervening component. When a component is said to be "connected" to another component, it may be directly connected to the other component or there may be intervening components at the same time. When a component is said to be "set on" another component, it may be set directly on the other component or there may be an intervening component at the same time. The terms "vertical," "horizontal," "left," "right," and similar expressions are used herein for purposes of illustration only.
除非另有定义,本文所使用的所有的技术和科学术语与属于本实用新型的技术领域的技术人员通常理解的含义相同。本文中在本实用新型的说明书中所使用的术语只是为了描述具体的实施例的目的,不是旨在于限制本实用新型。本文所使用的术语“及/或”包括一个或多个相关的所列项目的任意的和所有的组合。Unless otherwise defined, all technical and scientific terms used herein have the same meaning as commonly understood by one of ordinary skill in the technical field of this invention. The terminology used in the description of the utility model herein is only for the purpose of describing specific embodiments, and is not intended to limit the utility model. As used herein, the term "and/or" includes any and all combinations of one or more of the associated listed items.
请参阅图1至图4,本实用新型提供一种技术方案:Please refer to Figure 1 to Figure 4, the utility model provides a technical solution:
实施例1:Example 1:
一种用于大米加工用的去石机,包括箱体1,箱体1的前侧开设有开口,且箱体1的前侧设有与开口相匹配的活动门11,活动门11的左侧设有若干个合页,且活动门11通过若干个合页与箱体1活动连接,活动门11的前侧靠近右侧处固定连接有把手12,箱体1的底部靠近四角处均固定连接有支撑腿8,箱体1的顶部靠近左侧处开设有进料口,且进料口内腔右侧底部处固定连接有隔板,进料口内腔左侧顶部处铰接有顶盖2,且顶盖2的底部与隔板的顶部贴合,顶盖2的顶部靠近右侧处固定连接有拉杆3,箱体1内腔左右两侧靠近顶部处均固定连接有滤板4,且两个滤板4为倾斜设置,两个滤板4相对的一侧共同固定连接有输料管,且箱体1内腔靠近中间位置处固定连接有横板,输料管的底端贯穿横板的顶部,并延伸至横板的底部,且输料管的底端设有遮挡机构,输料管的外侧靠近顶端处固定连接有矩形板,且矩形板上开设有与输料管相匹配的通孔,箱体1内腔靠近底部处设有活动框6,且活动框6的内腔靠近底部处设有过滤网7,过滤网7的外侧设有卡接机构,活动框6的左右两侧处均固定连接有转杆10,且两个转杆10相反的一端均与箱体1内腔活动连接,活动框6顶部的右侧处设有摆动机构,箱体1内腔底部处贴合设有收集槽9;A stone remover for rice processing, comprising a
遮挡机构包括矩形槽,矩形槽固定连接在箱体1的右侧靠近顶部处,且矩形槽内腔右侧处固定连接有伺服电机5,伺服电机5的输出轴固定连接有转动杆19,且箱体1的右侧靠近顶部处固定连接有第一轴承,转动杆19的左端贯穿第一轴承的内腔,并固定连接有主动锥形齿轮18,且主动锥形齿轮18的底部啮合有从动锥形齿轮17,从动锥形齿轮17的底部固定连接有传动杆20,横板的顶部靠近右侧处固定连接有第二轴承,传动杆20的底端贯穿第二轴承的内腔,并固定连接有活动齿轮21,活动齿轮21的后侧啮合有齿条板22,齿条板22的顶部靠近左侧处固定连接有限位块25,且限位块25的顶部固定连接有滑块,横板的底部靠近右侧处开设有滑槽,滑块活动连接在滑槽的内腔,且齿条板22的底部靠近左侧处固定连接有连接板23,连接板23的左侧靠近底部处固定连接有挡板24,且挡板24的顶部与输料管的底部贴合;The shielding mechanism includes a rectangular slot, the rectangular slot is fixedly connected to the right side of the
在使用的过程中,先拉动拉杆3打开顶盖2,然后将需要筛选的物料通过进料口加入箱体1的内腔中,滤板4的设置可以使比大米细小的杂质通过滤板4停留在矩形板上,而大米与比大米粗大的杂质则通过输料管,当比大米细小的杂质筛选完成后,通过外接电源启动伺服电机5,伺服电机5工作的时候其输出轴会带动转动杆19转动,转动杆19转动会带动主动锥形齿轮18转动,主动锥形齿轮18转动会带动从动锥形齿轮17转动,从动锥形齿轮17转动会带动传动杆20转动,传动杆20转动会带动活动齿轮21转动,活动齿轮21转动会带动与之啮合的齿条板22在限位块25、滑块和滑槽的限位下向右移动,齿条板22向右移动会通过连接板23带动挡板24向右移动,从而打开输料管,使大米和比大米粗大的杂质落到活动框6内腔中的过滤网7上,过滤网7会对其进行再次筛分过滤。In the process of use, first pull the
实施例2:Example 2:
卡接机构包括两个竖杆,两个竖杆分别固定连接在过滤网7顶部的左右两侧处,且过滤网7底部的左右两侧处均固定连接有卡接板,两个卡接板相反的一侧均开设有凹槽,且凹槽的内嵌固定连接有螺母,活动框6的左右两侧靠近底部处均开设有螺纹孔,且螺纹孔的内腔贯穿设有螺栓,两个螺栓相反的一端分别贯穿相邻的螺母,并延伸至相邻凹槽的内腔;The snap-in mechanism includes two vertical bars, and the two vertical bars are respectively fixedly connected to the left and right sides of the top of the
摆动机构包括安装槽,安装槽固定连接在箱体1的右侧靠近中间位置处,且安装槽内腔右侧处固定连接有驱动电机13,驱动电机13的输出轴固定连接有活动杆,且箱体1的右侧靠近中间位置处固定连接有第三轴承,活动杆的左端贯穿第三轴承的内腔,并固定连接有圆盘14,圆盘14的左侧固定连接有固定杆,且固定杆上固定连接有L形杆15,L形杆15远离固定杆的一端铰接有连接杆16,连接杆16远离L形杆15的一端活动连接在活动框6顶部的右侧靠近后侧处;The swing mechanism includes a mounting groove, the mounting groove is fixedly connected to the right side of the
当对使大米和比大米粗大的杂质落到活动框6内腔中的过滤网7上,过滤网7会对其进行再次筛分过滤,此时可以通过外接电源启动驱动电机13,驱动电机13工作的时候其输出轴会带动活动杆转动,活动杆转动会带动圆盘14转动,圆盘14转动会带动固定杆转动,固定杆转动会带动L形杆15转动,L形杆15转动会带动连接杆16转动并上下移动,连接杆16上下移动带动活动框6的后侧上下摆动,通过两个转杆10与箱体1内腔活动连接,从而带动整个活动框6上下摆动,活动框6上下摆动会带动过滤网7摆动,从而使大米与比大米粗大的杂质能够很好地分离,使筛选完毕的大米落入收集槽9的内腔中,方便工作人员收集,当需要对过滤网7上杂质进行清理时转动两个螺栓即可对过滤网7进行拆卸。When rice and impurities larger than rice fall on the
工作原理:首先,在使用的过程中,先拉动拉杆3打开顶盖2,然后将需要筛选的物料通过进料口加入箱体1的内腔中,滤板4的设置可以使比大米细小的杂质通过滤板4停留在矩形板上,而大米与比大米粗大的杂质则通过输料管,当比大米细小的杂质筛选完成后,通过外接电源启动伺服电机5,伺服电机5工作的时候其输出轴会带动转动杆19转动,转动杆19转动会带动主动锥形齿轮18转动,主动锥形齿轮18转动会带动从动锥形齿轮17转动,从动锥形齿轮17转动会带动传动杆20转动,传动杆20转动会带动活动齿轮21转动,活动齿轮21转动会带动与之啮合的齿条板22在限位块25、滑块和滑槽的限位下向右移动,齿条板22向右移动会通过连接板23带动挡板24向右移动,从而打开输料管,使大米和比大米粗大的杂质落到活动框6内腔中的过滤网7上,过滤网7会对其进行再次筛分过滤,此时可以通过外接电源启动驱动电机13,驱动电机13工作的时候其输出轴会带动活动杆转动,活动杆转动会带动圆盘14转动,圆盘14转动会带动固定杆转动,固定杆转动会带动L形杆15转动,L形杆15转动会带动连接杆16转动并上下移动,连接杆16上下移动带动活动框6的后侧上下摆动,通过两个转杆10与箱体1内腔活动连接,从而带动整个活动框6上下摆动,活动框6上下摆动会带动过滤网7摆动,从而使大米与比大米粗大的杂质能够很好地分离,使筛选完毕的大米落入收集槽9的内腔中,方便工作人员收集。Working principle: First, in the process of use, pull the
上述实施方式仅为本实用新型的优选实施方式,不能以此来限定本实用新型保护的范围,本领域的技术人员在本实用新型的基础上所做的任何非实质性的变化及替换均属于本实用新型所要求保护的范围。The above-mentioned embodiments are only preferred embodiments of the present utility model, and cannot be used to limit the scope of protection of the present utility model. The scope of protection required by the utility model.
Claims (7)
Priority Applications (1)
| Application Number | Priority Date | Filing Date | Title |
|---|---|---|---|
| CN202320115560.6U CN218963306U (en) | 2023-02-06 | 2023-02-06 | Stone removing machine for rice processing |
Applications Claiming Priority (1)
| Application Number | Priority Date | Filing Date | Title |
|---|---|---|---|
| CN202320115560.6U CN218963306U (en) | 2023-02-06 | 2023-02-06 | Stone removing machine for rice processing |
Publications (1)
| Publication Number | Publication Date |
|---|---|
| CN218963306U true CN218963306U (en) | 2023-05-05 |
Family
ID=86168403
Family Applications (1)
| Application Number | Title | Priority Date | Filing Date |
|---|---|---|---|
| CN202320115560.6U Active CN218963306U (en) | 2023-02-06 | 2023-02-06 | Stone removing machine for rice processing |
Country Status (1)
| Country | Link |
|---|---|
| CN (1) | CN218963306U (en) |
-
2023
- 2023-02-06 CN CN202320115560.6U patent/CN218963306U/en active Active
Similar Documents
| Publication | Publication Date | Title |
|---|---|---|
| CN211247574U (en) | Soybean soaking and screening device special for soybean milk production | |
| CN113134417A (en) | Dust fall type processing of rice is with processing apparatus of waste material rice bran | |
| CN112403083A (en) | Filtering equipment for deep processing of jersey milk | |
| CN210434824U (en) | Grain sieving mechanism for agricultural machine | |
| CN212284890U (en) | Pretreatment sieving mechanism is used in rice processing | |
| CN214918095U (en) | Alkaline raw materials soil conditioner preparation facilities | |
| CN220028574U (en) | Molding sand impurity removing machine | |
| CN212681647U (en) | A chemical material screening machine | |
| CN218963306U (en) | Stone removing machine for rice processing | |
| CN209205873U (en) | A kind of metallic sieve residue cleaning plant | |
| CN211189828U (en) | Agitating unit is used in portable food production and processing | |
| CN222343140U (en) | Device for extracting polysaccharide from rambutan pulp | |
| CN214390547U (en) | Sorting unit for agricultural products | |
| CN214483180U (en) | Fruit juice beverage raw materials preprocessing device | |
| CN215208842U (en) | An anti-clogging sewage treatment equipment | |
| CN212397255U (en) | Tea production equipment with cleaning, drying and screening functions | |
| CN211100077U (en) | Powdery raw material screening equipment for machine-made charcoal production | |
| CN115777957A (en) | Natto production device | |
| CN116333811A (en) | Integrated equipment is filtered in edible oil production | |
| CN222709144U (en) | High efficiency filtration equipment for fruit and vegetable fiber beverages | |
| CN216629921U (en) | Filter equipment is used in processing of plum juice | |
| CN221808728U (en) | Powder separating device of pulverizer | |
| CN214107892U (en) | Chaff device is used in rice production | |
| CN220780566U (en) | Milling device for flour processing | |
| CN216500607U (en) | Screening and impurity removing device used in production process of wear-resistant castings |
Legal Events
| Date | Code | Title | Description |
|---|---|---|---|
| GR01 | Patent grant | ||
| GR01 | Patent grant | ||
| PE01 | Entry into force of the registration of the contract for pledge of patent right | ||
| PE01 | Entry into force of the registration of the contract for pledge of patent right |
Denomination of utility model: A stone remover for rice processing Granted publication date: 20230505 Pledgee: Bank of Communications Ltd. Liaoning branch Pledgor: Shenyang Lvzhu Rice Co.,Ltd. Registration number: Y2025980048012 |
