CN218960316U - Multifunctional office supplies rack - Google Patents
Multifunctional office supplies rack Download PDFInfo
- Publication number
- CN218960316U CN218960316U CN202320123063.0U CN202320123063U CN218960316U CN 218960316 U CN218960316 U CN 218960316U CN 202320123063 U CN202320123063 U CN 202320123063U CN 218960316 U CN218960316 U CN 218960316U
- Authority
- CN
- China
- Prior art keywords
- fixedly installed
- room
- positive end
- groups
- file
- Prior art date
- Legal status (The legal status is an assumption and is not a legal conclusion. Google has not performed a legal analysis and makes no representation as to the accuracy of the status listed.)
- Active
Links
Images
Landscapes
- Details Of Rigid Or Semi-Rigid Containers (AREA)
Abstract
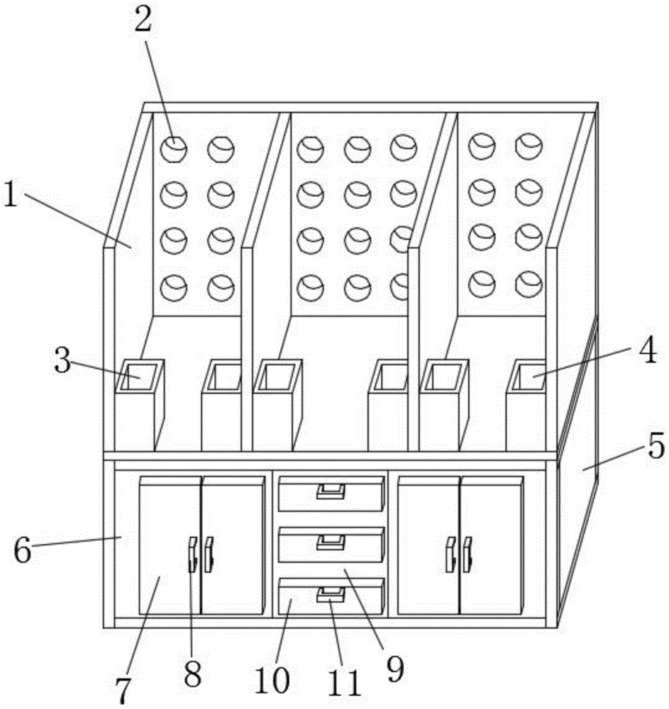
本实用新型公开了一种多功能办公用品架,包括:用品本体、通孔、回形针放置箱、笔筒、底箱、文件放置间、防护门、第一把手、纸文件间、抽屉、第二把手、挡板、标签板、底板、玻璃、滑槽,用品本体的一端固定安装有通孔,用品本体的内部固定安装有回形针放置箱,回形针放置箱的一端固定安装有笔筒,用品本体的下端固定安装有底箱,底箱的内部固定安装有文件放置间,文件放置间的正端活动安装有防护门,防护门的正端固定安装有第一把手,文件放置间的一端固定安装有纸文件间,纸文件间的正端活动安装有抽屉,抽屉的正端固定安装有第二把手,回形针放置箱的一端固定安装有挡板,挡板的正端固定安装有标签板,用品本体的内部固定安装有底板。
The utility model discloses a multifunctional office supply rack, which comprises: a supply body, a through hole, a paper clip storage box, a pen holder, a bottom box, a file storage room, a protective door, a first handle, a paper file room, a drawer, a second handle, Baffle plate, label plate, bottom plate, glass, chute, one end of the product body is fixedly installed with a through hole, the inside of the product body is fixedly installed with a paper clip storage box, one end of the paper clip storage box is fixedly installed with a pen holder, and the lower end of the product body is fixedly installed There is a bottom box, the interior of the bottom box is fixedly installed with a file storage room, the positive end of the file storage room is movable and installed with a protective door, the positive end of the protective door is fixed with a first handle, and one end of the file storage room is fixed with a paper file storage room. A drawer is installed at the positive end of the paper file room, a second handle is fixedly installed at the positive end of the drawer, a baffle is fixedly installed at one end of the paper clip storage box, a label plate is fixedly installed at the positive end of the baffle, and a label plate is fixedly installed inside the article body. There is a bottom plate.
Description
技术领域technical field
本实用新型涉及办公用品技术领域,尤其涉及一种多功能办公用品架。The utility model relates to the technical field of office supplies, in particular to a multifunctional office supplies rack.
背景技术Background technique
干净整洁的办公环境,在给人们带来好心情的同时,也会提高工作的效率。文件架的使用给办公环境的整洁提供了很大的帮助,利用文件架可以放置工作文件、资料等,方便存取。但是现在办公用品越来越多样化,形形色色的办公用品,在给使用者带来方便的同时,也使得这些物品的摆放成为一大难题,摆放在桌面上的物品多而杂乱,使桌面可利用空间变小,整体显得拥挤杂乱,不整洁,且使用时寻找不方便,不便于管理。A clean and tidy office environment will not only bring people a good mood, but also improve work efficiency. The use of the file rack provides a great help to the tidiness of the office environment. The file rack can be used to place work files, materials, etc. for easy access. But now office supplies are becoming more and more diverse. All kinds of office supplies, while bringing convenience to users, also make the placement of these items a big problem. There are many and messy items placed on the desktop, which makes the desktop The usable space becomes smaller, the overall appearance is crowded, messy, untidy, and it is inconvenient to find and manage when using it.
现有的文件架功能单一,若文件放置较少容易造成文件卷边,特别是对于一些单张纸文件不容易放置,导致文件资料容易起皱,从而加快资料的损坏。另外,平时用到的回形针、订书机、钥匙等小物品,没有专门的收纳地方,使用时不方便,影响工作效率。Existing file holders have single functions, and if few files are placed, the edges of the files may easily be caused. Especially for some single-sheet files, it is not easy to place them, causing the files to wrinkle easily, thereby accelerating the damage of the files. In addition, there is no special storage place for small items such as paper clips, staplers, and keys that are usually used, which is inconvenient to use and affects work efficiency.
有鉴于此,针对现有的问题予以研究改良,提供一种多功能办公用品架,具有结构设计合理,通过回形针放置箱、纸文件间、文件放置间和笔筒设置,能够将小物品和单张纸文件能够有地方摆放,且不会占地面积也不会很大,旨在通过该技术,达到解决问题与提高实用价值性的目的。In view of this, the existing problems are researched and improved, and a multifunctional office supplies rack is provided, which has a reasonable structural design, and can store small items and leaflets through the setting of paper clip storage boxes, paper file rooms, file storage rooms and pen holders. Paper documents can be placed in a place without occupying a large area or a large area. The purpose of this technology is to solve problems and improve practical value.
实用新型内容Utility model content
本实用新型的目的是为了解决现有技术中存在的缺点,而提出的一种多功能办公用品架。The purpose of the utility model is to solve the shortcomings in the prior art, and propose a multifunctional office supplies rack.
为了实现上述目的,本实用新型采用了如下技术方案:In order to achieve the above object, the utility model adopts the following technical solutions:
一种多功能办公用品架,包括:用品本体、通孔、回形针放置箱、笔筒、底箱、文件放置间、防护门、第一把手、纸文件间、抽屉、第二把手、挡板、标签板、底板、玻璃、滑槽,所述用品本体的一端固定安装有通孔,所述用品本体的内部固定安装有回形针放置箱,所述回形针放置箱的一端固定安装有笔筒,所述用品本体的下端固定安装有底箱,所述底箱的内部固定安装有文件放置间,所述文件放置间的正端活动安装有防护门,所述防护门的正端固定安装有第一把手,所述,所述文件放置间的一端固定安装有纸文件间,所述纸文件间的正端活动安装有抽屉,所述抽屉的正端固定安装有第二把手,所述回形针放置箱的一端固定安装有挡板,所述挡板的正端固定安装有标签板,所述用品本体的内部固定安装有底板,所述标签板的正端固定安装有玻璃,所述标签板的一端固定安装有滑槽。A multifunctional office supply rack, comprising: a supply body, a through hole, a paper clip storage box, a pen container, a bottom box, a file storage room, a protective door, a first handle, a paper file room, a drawer, a second handle, a baffle plate, and a label plate , bottom plate, glass, chute, one end of the article body is fixedly installed with a through hole, the inside of the article body is fixedly installed with a paper clip storage box, one end of the paper clip storage box is fixedly installed with a pen holder, and the inside of the article body A bottom box is fixedly installed at the lower end, and a file storage room is fixedly installed inside the bottom box, and a protective door is movably installed at the positive end of the file storage room, and a first handle is fixedly installed at the positive end of the protective door. A paper file room is fixedly installed at one end of the file storage room, a drawer is movably installed at the positive end of the paper file room, a second handle is fixedly installed at the positive end of the drawer, and a paper clip storage box is fixedly installed at one end of the paper clip storage box. Baffle plate, the positive end of the baffle plate is fixedly installed with a label plate, the interior of the product body is fixedly installed with a bottom plate, the positive end of the label plate is fixedly installed with glass, and one end of the label plate is fixedly installed with a chute .
优选的,所述通孔的数量设置为若干个,且用品本体的外端。所述回形针放置箱的数量设置为三组,且放置在用品本体的内部。Preferably, the number of said through holes is set to several, and the outer end of the article body. The number of the paper clip storage boxes is set to three groups, and they are placed inside the product body.
优选的,所述笔筒的数量设置为三组,且设置在靠近回形针放置箱的一端,所述文件放置间的数量设置为两组,且设置在底箱的一端。Preferably, the number of the pen holders is set in three groups, and they are set at one end close to the paper clip storage box, and the number of the document storage rooms is set in two sets, and they are set at one end of the bottom box.
优选的,所述防护门的数量设置为四组,且对称安装在文件放置间的正端,所述第一把手的数量设置为四组,且对称安装在防护门的正端。Preferably, the number of the protective doors is set to four, and they are installed symmetrically at the positive end of the document storage room, and the number of the first handles is set to four sets, and they are symmetrically installed at the positive end of the protective doors.
优选的,所述抽屉的数量设置为三组,且对称安装在纸文件间的正端,所述挡板的数量设置为三组,且对称与用品本体相互连接。Preferably, the number of the drawers is set to three sets, and they are installed symmetrically at the positive end of the paper file room, and the number of the baffles is set to three sets, and they are symmetrically connected to the product body.
优选的,所述标签板的数量设置为三组,且安装在挡板的正端,所述滑槽的数量设置为三组,且安装在标签板一端的内部。Preferably, the number of the label plates is set in three groups and installed at the positive end of the baffle, the number of the chute is set in three groups and installed inside one end of the label plate.
本实用新型具有如下有益效果:通过纸文件间和文件放置间设置,能够将单张纸文件有地方摆放,且不会占地面积也不会很大,通过标签板的设置,能够让使用者快速找到所需要的文件,而通过回形针放置箱和笔筒,能够将小型物品摆放进去,从而减少占地面积,而通过挡板的设置,能够对文件进行固定,避免需要搬运的时候文件掉落,如果里面出现重物也容易砸到使用者。The utility model has the following beneficial effects: through the setting of the paper file room and the file placement room, a single paper file can be placed in a place without occupying a large area; through the setting of the label plate, it can be used The reader can quickly find the required documents, and through the paper clip box and pen holder, small items can be placed in, thereby reducing the floor space, and through the setting of the baffle, the documents can be fixed to prevent the documents from falling when they need to be transported If there is a heavy object inside, it is easy to hit the user.
附图说明Description of drawings
图1为本实用新型提出的一种多功能办公用品架的立体正视图;Fig. 1 is the three-dimensional front view of a kind of multifunctional office supplies rack proposed by the utility model;
图2为本实用新型提出的一种多功能办公用品架的立体整体视图;Fig. 2 is a three-dimensional overall view of a multifunctional office supplies rack proposed by the utility model;
图3为本实用新型提出的一种多功能办公用品架的A图放大示意图。Figure 3 is an enlarged schematic diagram of Figure A of a multifunctional office supplies rack proposed by the present invention.
图例说明:illustration:
1、用品本体;2、通孔;3、回形针放置箱;4、笔筒;5、底箱;6、文件放置间;7、防护门;8、第一把手;9、纸文件间;10、抽屉;11、第二把手;12、挡板;13、标签板;14、底板;15、玻璃;16、滑槽。1. Supplies body; 2. Through hole; 3. Paper clip storage box; 4. Pen container; 5. Bottom box; 6. Document storage room; 7. Protective door; 8. First handle; ; 11, second handle; 12, baffle plate; 13, label plate; 14, bottom plate; 15, glass; 16, chute.
具体实施方式Detailed ways
下面将结合本实用新型实施例中的附图,对本实用新型实施例中的技术方案进行清楚、完整地描述,显然,所描述的实施例仅仅是本实用新型一部分实施例,而不是全部的实施例。基于本实用新型中的实施例,本领域普通技术人员在没有做出创造性劳动前提下所获得的所有其他实施例,都属于本实用新型保护的范围。The technical solutions in the embodiments of the present invention will be clearly and completely described below in conjunction with the accompanying drawings in the embodiments of the present invention. Obviously, the described embodiments are only part of the embodiments of the present invention, not all of them. example. Based on the embodiments of the present utility model, all other embodiments obtained by persons of ordinary skill in the art without making creative efforts belong to the scope of protection of the present utility model.
在本实用新型的描述中,需要说明的是,术语“中心”、“上”、“下”、“左”、“右”、“竖直”、“水平”、“内”、“外”等指示的方位或位置关系为基于附图所示的方位或位置关系,仅是为了便于描述本实用新型和简化描述,而不是指示或暗示所指的装置或元件必须具有特定的方位、以特定的方位构造和操作,因此不能理解为对本实用新型的限制;术语“第一”、“第二”、“第三”仅用于描述目的,而不能理解为指示或暗示相对重要性,此外,除非另有明确的规定和限定,术语“安装”、“相连”、“连接”应作广义理解,例如,可以是固定连接,也可以是可拆卸连接,或一体的连接;可以是机械连接,也可以是电连接;可以是直接相连,也可以通过中间媒介间接相连,可以是两个元件内部的连通。对于本领域的普通技术人员而言,可以具体情况理解上述术语在本实用新型中的具体含义。In the description of the present utility model, it should be noted that the terms "center", "upper", "lower", "left", "right", "vertical", "horizontal", "inner", "outer" The orientation or positional relationship indicated by etc. is based on the orientation or positional relationship shown in the drawings, which is only for the convenience of describing the utility model and simplifying the description, rather than indicating or implying that the device or element referred to must have a specific orientation, use a specific Therefore, it cannot be construed as a limitation on the present invention; the terms "first", "second", and "third" are only used for descriptive purposes, and cannot be interpreted as indicating or implying relative importance. In addition, Unless otherwise clearly specified and limited, the terms "installation", "connection" and "connection" should be understood in a broad sense, for example, it can be a fixed connection, a detachable connection, or an integral connection; it can be a mechanical connection, It can also be an electrical connection; it can be a direct connection, or an indirect connection through an intermediary, or an internal communication between two components. Those of ordinary skill in the art can understand the specific meanings of the above terms in the present utility model in specific situations.
参照图1-3,本实用新型提供的一种实施例:Referring to Fig. 1-3, a kind of embodiment provided by the utility model:
一种多功能办公用品架,包括:用品本体1、通孔2、回形针放置箱3、笔筒4、底箱5、文件放置间6、防护门7、第一把手8、纸文件间9、抽屉10、第二把手11、挡板12、标签板13、底板14、玻璃15、滑槽16,其特征在于:用品本体1的一端固定安装有通孔2,用品本体1的内部固定安装有回形针放置箱3,回形针放置箱3的一端固定安装有笔筒4,用品本体1的下端固定安装有底箱5,底箱5的内部固定安装有文件放置间6,文件放置间6的正端活动安装有防护门7,防护门7的正端固定安装有第一把手8,文件放置间6的一端固定安装有纸文件间9,纸文件间9的正端活动安装有抽屉10,抽屉10的正端固定安装有第二把手11,回形针放置箱3的一端固定安装有挡板12,挡板12的正端固定安装有标签板13,用品本体1的内部固定安装有底板14,标签板13的正端固定安装有玻璃15,标签板13的一端固定安装有滑槽16。A multifunctional office supplies rack, comprising:
具体的,通孔2的数量设置为若干个,且用品本体1的外端。回形针放置箱3的数量设置为三组,且放置在用品本体1的内部。Specifically, the number of through
具体的,笔筒4的数量设置为三组,且设置在靠近回形针放置箱3的一端,文件放置间6的数量设置为两组,且设置在底箱5的一端。Specifically, the number of
具体的,防护门7的数量设置为四组,且对称安装在文件放置间6的正端,第一把手8的数量设置为四组,且对称安装在防护门7的正端。Specifically, the number of
具体的,抽屉10的数量设置为三组,且对称安装在纸文件间9的正端,挡板12的数量设置为三组,且对称与用品本体1相互连接。Specifically, the number of
具体的,标签板13的数量设置为三组,且安装在挡板12的正端,滑槽16的数量设置为三组,且安装在标签板13一端的内部。Specifically, there are three sets of
工作原理及流程:首先将用品本体1放入到合适的位置,在将圆珠笔放入笔筒4内,在将回形针或者订书针放入到回形针放置箱3内,而将大型文件通过第一把手8带动防护门7,从而打开文件放置间6,在将大型文件放入进去,而A4纸通过第二把手11打开抽屉10,从而放入纸文件间9内,在将底板14上放入普通文件,在通过标签版13对文件进行标注,而标签通过滑槽16进行入到标签板13内。Working principle and process: first put the
最后应说明的是:以上所述仅为本实用新型的优选实施例而已,并不用于限制本实用新型,尽管参照前述实施例对本实用新型进行了详细的说明,对于本领域的技术人员来说,其依然可以对前述各实施例所记载的技术方案进行修改,或者对其中部分技术特征进行等同替换,凡在本实用新型的精神和原则之内,所作的任何修改、等同替换、改进等,均应包含在本实用新型的保护范围之内。Finally, it should be noted that: the above is only a preferred embodiment of the utility model, and is not intended to limit the utility model, although the utility model has been described in detail with reference to the foregoing embodiments, for those skilled in the art , it can still modify the technical solutions recorded in the foregoing embodiments, or perform equivalent replacements on some of the technical features. Any modifications, equivalent replacements, improvements, etc. made within the spirit and principles of the present utility model, All should be included within the protection scope of the present utility model.
Claims (6)
Priority Applications (1)
| Application Number | Priority Date | Filing Date | Title |
|---|---|---|---|
| CN202320123063.0U CN218960316U (en) | 2023-01-14 | 2023-01-14 | Multifunctional office supplies rack |
Applications Claiming Priority (1)
| Application Number | Priority Date | Filing Date | Title |
|---|---|---|---|
| CN202320123063.0U CN218960316U (en) | 2023-01-14 | 2023-01-14 | Multifunctional office supplies rack |
Publications (1)
| Publication Number | Publication Date |
|---|---|
| CN218960316U true CN218960316U (en) | 2023-05-05 |
Family
ID=86148924
Family Applications (1)
| Application Number | Title | Priority Date | Filing Date |
|---|---|---|---|
| CN202320123063.0U Active CN218960316U (en) | 2023-01-14 | 2023-01-14 | Multifunctional office supplies rack |
Country Status (1)
| Country | Link |
|---|---|
| CN (1) | CN218960316U (en) |
-
2023
- 2023-01-14 CN CN202320123063.0U patent/CN218960316U/en active Active
Similar Documents
| Publication | Publication Date | Title |
|---|---|---|
| CN218960316U (en) | Multifunctional office supplies rack | |
| CN205513415U (en) | Multi -functional storage device is used in government's official working | |
| CN206453526U (en) | Novel document cabinet | |
| CN205612069U (en) | Multi -function display bracket | |
| CN205358813U (en) | Modular learning tools | |
| CN215303998U (en) | A multifunctional office rack | |
| CN209862857U (en) | Multifunctional storage rack for indoor desk | |
| CN201431119Y (en) | Novel desk | |
| CN201691405U (en) | Multifunctional book stand | |
| CN210842168U (en) | A desk organizer | |
| CN222929420U (en) | Multi-layer cosmetic separating and storing device | |
| CN218571755U (en) | Novel multi-functional office supplies receiver | |
| US12527396B2 (en) | Multi-purpose desk | |
| KR20080102883A (en) | Multi-purpose box for computer mounting to ensure fastening stability and ease of use | |
| CN211323802U (en) | Multifunctional desktop office storage box | |
| CN219147109U (en) | Desk convenient to storage article | |
| CN220275205U (en) | Multifunctional desktop management storage box | |
| CN210680238U (en) | Centralized storage rack for office supplies | |
| CN217408209U (en) | Multifunctional desktop storage device | |
| CN210383179U (en) | Space-saving book storage device for library | |
| CN214963693U (en) | A data management frame for economists | |
| CN212591043U (en) | Multifunctional classification rack for financial and economic data | |
| CN219537809U (en) | Detachable multifunctional bookend | |
| CN219213097U (en) | a toolbox | |
| CN201167687Y (en) | Category desk |
Legal Events
| Date | Code | Title | Description |
|---|---|---|---|
| GR01 | Patent grant | ||
| GR01 | Patent grant | ||
| CP03 | Change of name, title or address |
Address after: No. 1403-3, Beiyang Science and Technology Building, No.11 Wenming Road, Economic Development Zone, Handan City, Hebei Province, China 056000 Patentee after: Hebei Landa Fire Protection Technology Co.,Ltd. Country or region after: China Address before: 056000 5-3-2, West Zone, Zhaoxian Community, No. 582, Zhonghua North Street, Congtai District, Handan, Hebei Patentee before: Gu'an Landa Fire Technology Co.,Ltd. Country or region before: China |
|
| CP03 | Change of name, title or address |
