CN218931789U - Oil-water separator - Google Patents
Oil-water separator Download PDFInfo
- Publication number
- CN218931789U CN218931789U CN202223040407.6U CN202223040407U CN218931789U CN 218931789 U CN218931789 U CN 218931789U CN 202223040407 U CN202223040407 U CN 202223040407U CN 218931789 U CN218931789 U CN 218931789U
- Authority
- CN
- China
- Prior art keywords
- fixedly connected
- oil
- housing
- top cover
- fixed cover
- Prior art date
- Legal status (The legal status is an assumption and is not a legal conclusion. Google has not performed a legal analysis and makes no representation as to the accuracy of the status listed.)
- Expired - Fee Related
Links
Images
Landscapes
- Cleaning Or Clearing Of The Surface Of Open Water (AREA)
Abstract
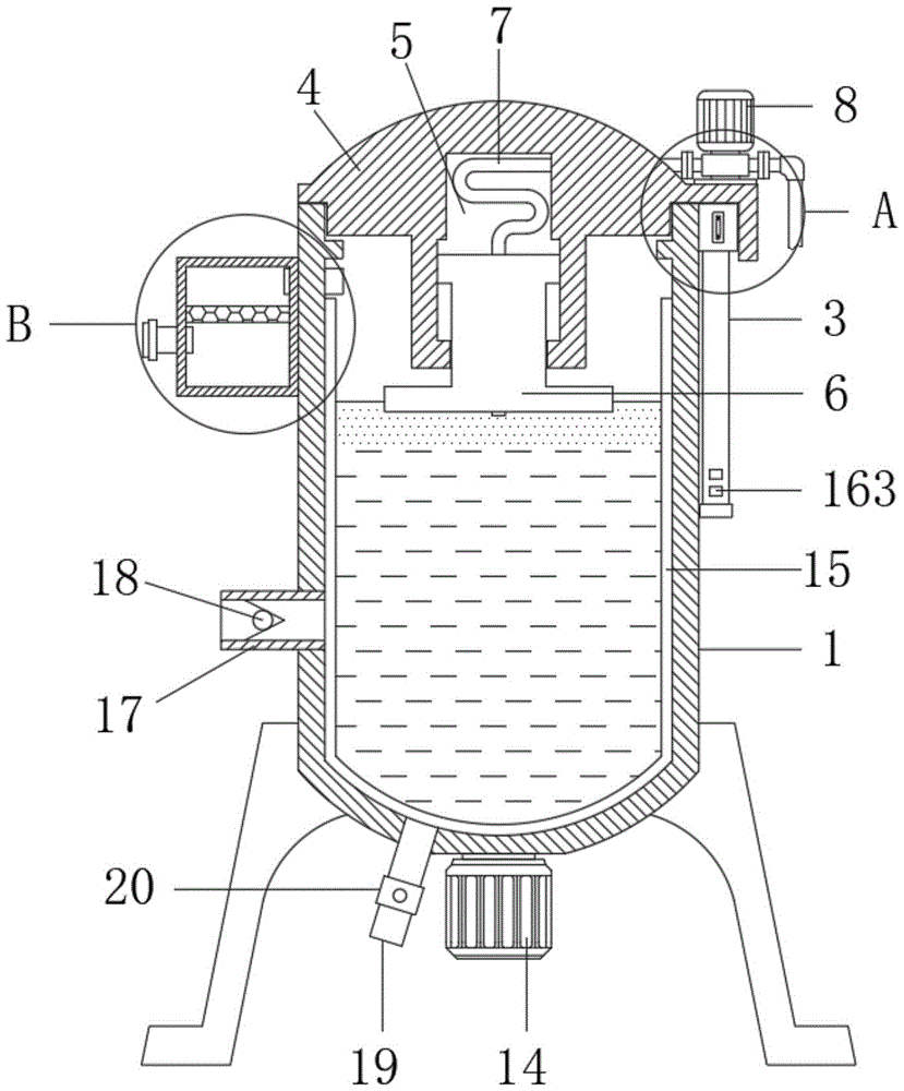
本实用新型公开了一种油水分离器,包括壳体、固定罩、顶盖、抽油泵和限位组件,壳体的外部固定连接有固定罩,固定罩的内部滑动连接有竖杆,竖杆的顶部固定连接有顶盖,顶盖的底端延伸至壳体的内部,顶盖的内部开设有安装腔,安装腔的内部滑动连接有浮板,本实用新型通过在顶盖内部设置的浮板配合抽油管进行使用,可以对漂浮在水上层的油脂进行吸收排出,从而达到油水分离的效果,通过设置的电机配合刮板进行使用,可以对壳体的内壁进行刮擦清理,从而方便工作人员进行操作,并且,通过限位组件配合竖杆进行使用,可以方便对顶盖与壳体进行固定以及拆分,从而方便工作人员对抽油管以及浮板进行清理,有利于提高设备的使用效果。
The utility model discloses an oil-water separator, which comprises a casing, a fixed cover, a top cover, an oil pump and a limit assembly. The outside of the casing is fixedly connected with a fixed cover, and the inside of the fixed cover is slidably connected with a vertical rod. The top of the roof is fixedly connected with a top cover, and the bottom end of the top cover extends to the inside of the shell. There is an installation cavity inside the top cover, and a floating plate is slidably connected to the inside of the installation cavity. The plate is used with the oil suction pipe, which can absorb and discharge the oil floating on the upper layer of the water, so as to achieve the effect of oil-water separation. The motor can be used with the scraper to scrape and clean the inner wall of the shell, so as to facilitate the work It is easy to fix and disassemble the top cover and the shell through the use of the limit assembly and the vertical rod, so that it is convenient for the staff to clean the oil suction pipe and the floating plate, which is conducive to improving the use effect of the equipment .
Description
技术领域technical field
本实用新型涉及油水分离技术领域,特别涉及一种油水分离器。The utility model relates to the technical field of oil-water separation, in particular to an oil-water separator.
背景技术Background technique
油水分离器是油和水分离的一种机器,通常是餐饮用来处理污水用的,因为环保的要求,所以排到江河湖海或地下排污管里的污水必须是经过处理的,现有的油水分离器,包括过滤分离器和利用油水分层进行油水分离的分流分离器,其是将水从油水混合物下部引出,将油从油水混合物上部引出,由于部分油脂容易附着在油水分离器壳体的内壁上,经过长时间的使用,工作人员需要对其内部进行清洁,但是目前油水分离器的拆分比较麻烦,不方便工作人员进行操作,同时,对其内部进行清理时需要外置清洁设备,从而导致清洁的效率较慢。The oil-water separator is a machine for separating oil and water. It is usually used by restaurants to treat sewage. Due to environmental protection requirements, the sewage discharged into rivers, lakes, seas or underground sewage pipes must be treated. Existing The oil-water separator includes a filter separator and a split separator that uses oil-water layering for oil-water separation. It draws water from the lower part of the oil-water mixture and oil from the upper part of the oil-water mixture. Because part of the grease is easy to adhere to the oil-water separator shell On the inner wall of the tank, after a long period of use, the staff needs to clean the inside, but the disassembly of the oil-water separator is cumbersome and inconvenient for the staff to operate. At the same time, external cleaning equipment is required to clean the inside , resulting in slower cleaning efficiency.
发明内容:Invention content:
本实用新型的目的就在于为了解决上述问题而提供一种油水分离器,解决了背景技术中提到的问题。The purpose of this utility model is to provide an oil-water separator in order to solve the above problems, which solves the problems mentioned in the background technology.
为了解决上述问题,本实用新型提供了一种技术方案:In order to solve the above problems, the utility model provides a technical solution:
一种油水分离器,包括壳体、固定罩、顶盖、抽油泵和限位组件,所述壳体的外部固定连接有固定罩,所述固定罩的内部滑动连接有竖杆,所述竖杆的顶部固定连接有顶盖,所述顶盖的底端延伸至壳体的内部,所述顶盖的内部开设有安装腔,所述安装腔的内部滑动连接有浮板,所述安装腔的内部设置有抽油管,所述抽油管的底端延伸至浮板的下方,所述顶盖的顶部固定连接有抽油泵,所述抽油管的一端与抽油泵的输入端固定连接,所述抽油泵的输出端固定连接有排油管,所述固定罩的内部设置有限位组件,所述壳体的底部固定连接有电机,所述电机的输出端延伸至壳体的内部且固定连接有刮板,所述刮板与壳体的内壁接触。An oil-water separator, comprising a housing, a fixed cover, a top cover, an oil well pump and a limit assembly, the outside of the housing is fixedly connected with a fixed cover, the inside of the fixed cover is slidably connected with a vertical rod, and the vertical The top of the rod is fixedly connected with a top cover, and the bottom end of the top cover extends to the inside of the housing. An installation cavity is opened inside the top cover, and a floating plate is slidably connected to the inside of the installation cavity. An oil suction pipe is arranged inside the oil suction pipe, and the bottom end of the oil suction pipe extends below the floating plate. The top of the top cover is fixedly connected with an oil suction pump, and one end of the oil suction pipe is fixedly connected with the input end of the oil well pump. The output end of the oil well pump is fixedly connected with an oil discharge pipe, the inside of the fixed cover is provided with a limit assembly, the bottom of the casing is fixedly connected with a motor, and the output end of the motor extends to the inside of the casing and is fixedly connected with a scraper. plate, the scraper is in contact with the inner wall of the housing.
作为本实用新型的一种优选方案,所述壳体的外部且远离固定罩的一侧固定连接有固定箱,所述固定箱的内部固定连接有滤网,所述固定箱的内部且位于滤网的下方固定连接有进液管,所述固定箱的内部且位于滤网的上方固定连接有导管,所述导管的一端延伸至壳体的内部。As a preferred solution of the present utility model, a fixed box is fixedly connected to the outside of the housing and the side away from the fixed cover, the inside of the fixed box is fixedly connected to a filter screen, and the inside of the fixed box is located at the filter A liquid inlet pipe is fixedly connected under the net, a conduit is fixedly connected inside the fixed box and above the filter screen, and one end of the conduit extends to the inside of the housing.
作为本实用新型的一种优选方案,所述限位组件包括安装槽、限位块和限位槽,所述固定罩的内部开设有安装槽,所述安装槽的内部滑动连接有限位块,所述竖杆的内部对称开设有多个与限位块配合使用的限位槽,所述安装槽的内部滑动连接有两个横杆,所述横杆的一端与限位块的一侧固定连接,两个所述横杆的一端均延伸至固定罩的外部且固定连接有连接板,所述连接板远离横杆的一侧固定连接有拉板,所述横杆的外部且位于限位块与安装槽的内壁之间套设有弹簧。As a preferred solution of the present utility model, the limiting assembly includes a mounting groove, a limiting block and a limiting groove, and the inside of the fixed cover is provided with a mounting groove, and the inside of the mounting groove is slidably connected to the limiting block, The interior of the vertical bar is symmetrically provided with a plurality of limiting grooves used in conjunction with the limiting block, and the interior of the installation groove is slidably connected with two cross bars, and one end of the horizontal bar is fixed to one side of the limiting block connection, one end of the two cross bars extends to the outside of the fixed cover and is fixedly connected with a connecting plate, and the side of the connecting plate away from the cross bar is fixedly connected with a pull plate, and the outside of the cross bar is located at a limit A spring is sheathed between the block and the inner wall of the installation groove.
作为本实用新型的一种优选方案,所述壳体的外部且位于固定箱的下方固定连接有进水管,所述进水管的内部设置有单向阀。As a preferred solution of the present invention, a water inlet pipe is fixedly connected to the outside of the housing and below the fixed box, and a one-way valve is arranged inside the water inlet pipe.
作为本实用新型的一种优选方案,所述壳体的底部且位于电机的一侧固定连接有排水管,所述排水管的外部设置有手阀。As a preferred solution of the present invention, a drainpipe is fixedly connected to the bottom of the housing and on one side of the motor, and a hand valve is arranged outside the drainpipe.
本实用新型的有益效果是:通过在顶盖内部设置的浮板配合抽油管进行使用,可以对漂浮在水上层的油脂进行吸收排出,从而达到油水分离的效果,通过设置的电机配合刮板进行使用,可以对壳体的内壁进行刮擦清理,从而方便工作人员进行操作,并且,通过限位组件配合竖杆进行使用,可以方便对顶盖与壳体进行固定以及拆分,从而方便工作人员对抽油管以及浮板进行清理,有利于提高设备的使用效果。The beneficial effect of the utility model is that: by using the floating plate inside the top cover with the oil suction pipe, the oil floating on the upper layer of the water can be absorbed and discharged, so as to achieve the effect of oil-water separation, and the oil and water can be separated by the motor and the scraper. In use, the inner wall of the housing can be scraped and cleaned, which is convenient for the staff to operate, and the use of the limit assembly with the vertical rod can facilitate the fixing and disassembly of the top cover and the housing, thereby facilitating the staff Cleaning the oil suction pipe and the floating plate is beneficial to improve the use effect of the equipment.
附图说明:Description of drawings:
为了易于说明,本实用新型由下述的具体实施及附图作以详细描述。For ease of illustration, the utility model is described in detail by the following specific implementation and accompanying drawings.
图1是本实用新型整体结构示意图;Fig. 1 is a schematic diagram of the overall structure of the utility model;
图2是本实用新型图1中A处的放大图;Fig. 2 is the enlarged view of place A in Fig. 1 of the utility model;
图3是本实用新型图1中B处的放大图;Fig. 3 is the enlarged view of the B place in Fig. 1 of the utility model;
图4是本实用新型固定罩内部结构示意图。Fig. 4 is a schematic diagram of the internal structure of the fixed cover of the present invention.
图中:1、壳体;2、固定罩;3、竖杆;4、顶盖;5、安装腔;6、浮板;7、抽油管;8、抽油泵;9、排油管;10、固定箱;11、滤网;12、进液管;13、导管;14、电机;15、刮板;16、限位组件;161、安装槽;162、限位块;163、限位槽;164、横杆;165、连接板;166、弹簧;167、拉板;17、进水管;18、单向阀;19、排水管;20、手阀。In the figure: 1. Shell; 2. Fixed cover; 3. Vertical rod; 4. Top cover; 5. Installation cavity; 6. Floating plate; 7. Oil suction pipe; 8. Oil pump; Fixed box; 11, filter screen; 12, liquid inlet pipe; 13, conduit; 14, motor; 15, scraper; 16, limit assembly; 161, installation groove; 162, limit block; 163, limit groove; 164, cross bar; 165, connecting plate; 166, spring; 167, pull plate; 17, water inlet pipe; 18, one-way valve; 19, drainage pipe; 20, hand valve.
具体实施方式:Detailed ways:
如图1-图4所示,本具体实施方式采用以下技术方案:As shown in Figures 1-4, this embodiment adopts the following technical solutions:
实施例:Example:
一种油水分离器,包括壳体 1、固定罩 2、顶盖 4、抽油泵8和限位组件16,壳体1的外部固定连接有固定罩2,固定罩2的内部滑动连接有竖杆3,竖杆3的顶部固定连接有顶盖4,顶盖4的底端延伸至壳体1的内部,可以对壳体1进行密封,从而保证设备的气密性,顶盖4的内部开设有安装腔5,安装腔5的内部滑动连接有浮板6,可以使抽油管7漂浮在液面上方,从而使其能对油脂进行吸收排出,安装腔5的内部设置有抽油管7,抽油管7的底端延伸至浮板6的下方,顶盖4的顶部固定连接有抽油泵8,抽油管7的一端与抽油泵8的输入端固定连接,抽油泵8的输出端固定连接有排油管9,通过在顶盖4内部设置的浮板6配合抽油管7进行使用,可以对漂浮在水上层的油脂进行吸收排出,从而达到油水分离的效果,固定罩2的内部设置有限位组件16,壳体1的底部固定连接有电机14,电机14的输出端延伸至壳体1的内部且固定连接有刮板15,刮板15与壳体1的内壁接触,通过设置的电机14配合刮板15进行使用,可以对壳体1的内壁进行刮擦清理,从而方便工作人员进行操作。An oil-water separator, comprising a
进一步的,壳体1的外部且远离固定罩2的一侧固定连接有固定箱10,固定箱10的内部固定连接有滤网11,固定箱10的内部且位于滤网11的下方固定连接有进液管12,固定箱10的内部且位于滤网11的上方固定连接有导管13,导管13的一端延伸至壳体1的内部,通过滤网11可以对油水混合物中的杂质进行过滤,从而防止杂质进入壳体1的内部。Further, the outside of the
进一步的,限位组件16包括安装槽161、限位块162和限位槽163,固定罩2的内部开设有安装槽161,安装槽161的内部滑动连接有限位块162,竖杆3的内部对称开设有多个与限位块162配合使用的限位槽163,安装槽161的内部滑动连接有两个横杆164,横杆164的一端与限位块162的一侧固定连接,两个横杆164的一端均延伸至固定罩2的外部且固定连接有连接板165,连接板165远离横杆164的一侧固定连接有拉板167,横杆164的外部且位于限位块162与安装槽161的内壁之间套设有弹簧166,通过限位块162与限位槽163的配合,可以对竖杆3以及顶盖4的位置进行固定,能对顶盖4与壳体1进行固定以及拆分,从而方便工作人员对抽油管7以及浮板6进行清理,有利于提高设备的使用效果。Further, the
进一步的,壳体1的外部且位于固定箱10的下方固定连接有进水管17,通过进水管17向壳体1的内部充水,能使液面上升,从而保证抽油管7可以对油脂进行抽取,进水管17的内部设置有单向阀18,在单向阀18的作用下可以防止壳体1内部的液体流出。Further, a
进一步的,壳体1的底部且位于电机14的一侧固定连接有排水管19,排水管19的外部设置有手阀20,方便对壳体1内部剩余的水排出,从而达到油水分离的效果。Further, the bottom of the
具体的,在使用该油水分离器时,先通过拉板167配合连接板165拉动安装槽161内部的横杆164移动,这时横杆164即可带动限位块162从限位槽163的内部移出并挤压弹簧166,随后通过竖杆3在固定罩2的内部滑动并带动顶盖4下移,从而使顶盖4对壳体1进行密封,与此同时,竖杆3上方的限位槽163处于限位块162的一侧,释放拉板167的拉力,这时弹簧166推动限位块162与限位槽163再次卡合,从而对顶盖4进行固定,此时浮板6在安装腔5的内部向下滑动,然后将进液管12与外部设备进行连接,此时油水混合物通过进液管12进入固定箱10的内部,并随着持续进入,油水混合物通过进液管12进入导管13中,从而将油水混合物输送至壳体1的内部,通过滤网11可以对油水混合物中的杂质进行过滤,进入壳体1内部的油水混合物经过静置,其内部的油脂漂浮在水的上层,这时将抽油泵8启动,在抽油泵8与抽油管7以及排油管9的配合下即可将油脂排出,随着油脂位面的下降,浮板6带动抽油管7继续下移,从而确保可以持续对油脂进行抽取,若浮板6移动至最下方时水的上层还有油脂,通过进水管17向壳体1的内部充水,随着壳体1内部的液位的上升,浮板6即可带动抽油管7上移,从而使抽油管7再次与液位接触,在单向阀18的作用下可以防止壳体1内部的液体流出,当油脂完全排出后,将排水管19上的手阀20开启,这时壳体1内部剩余的水即可排出,随后通过限位组件16配合竖杆3将顶盖4从壳体1的顶部移开,并向壳体1的内部加入清洗剂,通过电机14带动刮板15在壳体1的内部转动,这时刮板15即可配合清洗液对壳体1的内部进行清洁处理。Specifically, when using the oil-water separator, the
在本实用新型的描述中,需要理解的是,术语“同轴”、“底部”、“一端”、“顶部”、“中部”、“另一端”、“上”、“一侧”、“顶部”、“内”、“前部”、“中央”、“两端”等指示的方位或位置关系为基于附图所示的方位或位置关系,仅是为了便于描述本实用新型和简化描述,而不是指示或暗示所指的装置或元件必须具有特定的方位、以特定的方位构造和操作,因此不能理解为对本实用新型的限制。In the description of the present utility model, it should be understood that the terms "coaxial", "bottom", "one end", "top", "middle", "other end", "upper", "one side", " The orientation or positional relationship indicated by "top", "inner", "front", "central", "both ends" etc. is based on the orientation or positional relationship shown in the drawings, and is only for the convenience of describing the utility model and simplifying the description , rather than indicating or implying that the device or element referred to must have a specific orientation, be constructed and operated in a specific orientation, and therefore should not be construed as limiting the utility model.
此外,术语“第一”、“第二”、“第三”、“第四”仅用于描述目的,而不能理解为指示或暗示相对重要性或者隐含指明所指示的技术特征的数量,由此,限定有“第一”、“第二”、“第三”、“第四”的特征可以明示或者隐含地包括至少一个该特征。In addition, the terms "first", "second", "third" and "fourth" are used for descriptive purposes only, and should not be understood as indicating or implying relative importance or implicitly specifying the number of indicated technical features, Thus, a feature defined as "first", "second", "third" and "fourth" may explicitly or implicitly include at least one of such features.
在本实用新型中,除非另有明确的规定和限定,术语“安装”、“设置”、“连接”、“固定”、“旋接”等术语应做广义理解,例如,可以是固定连接,也可以是可拆卸连接,或成一体;可以是机械连接,也可以是电连接;可以是直接相连,也可以通过中间媒介间接相连,可以是两个元件内部的连通或两个元件的相互作用关系,除非另有明确的限定,对于本领域的普通技术人员而言,可以根据具体情况理解上述术语在本实用新型中的具体含义。In this utility model, unless otherwise clearly specified and limited, terms such as "installation", "setting", "connection", "fixation" and "rotation" should be understood in a broad sense, for example, it may be a fixed connection, It can also be detachable connection, or integrated; it can be mechanical connection or electrical connection; it can be directly connected or indirectly connected through an intermediary, and it can be the internal communication of two components or the interaction of two components Unless otherwise clearly defined, those skilled in the art can understand the specific meanings of the above terms in the present utility model according to specific situations.
尽管已经示出和描述了本实用新型的实施例,对于本领域的普通技术人员而言,可以理解在不脱离本实用新型的原理和精神的情况下可以对这些实施例进行多种变化、修改、替换和变型,本实用新型的范围由所附权利要求及其等同物限定。Although the embodiments of the present invention have been shown and described, those skilled in the art can understand that various changes and modifications can be made to these embodiments without departing from the principle and spirit of the present invention , replacements and modifications, the scope of the present utility model is defined by the appended claims and their equivalents.
Claims (5)
Priority Applications (1)
| Application Number | Priority Date | Filing Date | Title |
|---|---|---|---|
| CN202223040407.6U CN218931789U (en) | 2022-11-15 | 2022-11-15 | Oil-water separator |
Applications Claiming Priority (1)
| Application Number | Priority Date | Filing Date | Title |
|---|---|---|---|
| CN202223040407.6U CN218931789U (en) | 2022-11-15 | 2022-11-15 | Oil-water separator |
Publications (1)
| Publication Number | Publication Date |
|---|---|
| CN218931789U true CN218931789U (en) | 2023-04-28 |
Family
ID=86095123
Family Applications (1)
| Application Number | Title | Priority Date | Filing Date |
|---|---|---|---|
| CN202223040407.6U Expired - Fee Related CN218931789U (en) | 2022-11-15 | 2022-11-15 | Oil-water separator |
Country Status (1)
| Country | Link |
|---|---|
| CN (1) | CN218931789U (en) |
Cited By (1)
| Publication number | Priority date | Publication date | Assignee | Title |
|---|---|---|---|---|
| CN119528272A (en) * | 2025-01-23 | 2025-02-28 | 山东大成电子科技有限公司 | An intelligent oil removal and filtration device for oil production wastewater |
-
2022
- 2022-11-15 CN CN202223040407.6U patent/CN218931789U/en not_active Expired - Fee Related
Cited By (2)
| Publication number | Priority date | Publication date | Assignee | Title |
|---|---|---|---|---|
| CN119528272A (en) * | 2025-01-23 | 2025-02-28 | 山东大成电子科技有限公司 | An intelligent oil removal and filtration device for oil production wastewater |
| CN119528272B (en) * | 2025-01-23 | 2025-05-16 | 山东大成电子科技有限公司 | An intelligent oil removal and filtration device for oil production wastewater |
Similar Documents
| Publication | Publication Date | Title |
|---|---|---|
| CN114797206B (en) | Hydraulic engineering dredging device and dredging method | |
| CN218931789U (en) | Oil-water separator | |
| CN216191505U (en) | Integrated domestic sewage treatment equipment | |
| CN209816959U (en) | Silt cleaning device is used in construction is backfilled to pond | |
| CN108793467B (en) | Kitchen sewage purification device | |
| CN209429150U (en) | Waterproof and drainage device for water conservancy construction | |
| CN115676967A (en) | an oil-water separator | |
| CN108793466B (en) | Kitchen sewage treatment method | |
| CN114477493A (en) | A household oil and water intelligent treatment device | |
| CN220257338U (en) | A Y-type filter with remarkable filtration effect | |
| CN119080146A (en) | An air-floating oil-water separation mechanism and treatment device | |
| CN208200503U (en) | A kind of novel rotary type decanter | |
| CN218371864U (en) | An integrated wastewater lifting oil separation and degreasing tank | |
| CN218130217U (en) | Bury formula rainwater treatment facility with sludge separation function | |
| CN114573074B (en) | An easy-to-clean sewage treatment device for petroleum production | |
| CN201519492U (en) | Alkali liquor oil removing recovery device | |
| CN112900523B (en) | A kind of river channel silt cleaning equipment for water conservancy projects | |
| CN204039155U (en) | A kind of oil-water separator | |
| CN211913004U (en) | Oil field development water injection well produced sewage filter equipment | |
| CN220504017U (en) | Washing wastewater recycling system | |
| CN215310365U (en) | Novel oil-water separation device | |
| CN222151131U (en) | Fire engine water supply filter equipment | |
| CN220132990U (en) | Be used for aquatic environment to administer desilting device | |
| CN220850175U (en) | Dredge pump for ship | |
| CN200985288Y (en) | Integral oil water separator for boat |
Legal Events
| Date | Code | Title | Description |
|---|---|---|---|
| GR01 | Patent grant | ||
| GR01 | Patent grant | ||
| CF01 | Termination of patent right due to non-payment of annual fee |
Granted publication date: 20230428 |
|
| CF01 | Termination of patent right due to non-payment of annual fee |
